![]()
Black and Decker EM044KB19 Microwave Oven

RADIO INTERFERENCE
- Operation of the microwave oven may cause interference to your radio, T V or similar
- When there is interference, it may be reduced or eliminated by taking th e following
- 1) Clean door and sealing surface of the oven
- 2) Reorient the receiving antenna of radio or television.
- 3) Relocate the microwave oven with respect to the receiver.
- 4) Move the microwave oven away from the receiver.
- 5) Plug the microwave oven into a different outlet so that microwave oven are on different branch circuits.
UTENSILS
- Tightly-closed utensils could explode. Closed containers should be opened and plastic pouches should be pierced before cooking.
- See the instructions on “Materials you can use in microwave oven or to be avoided in microwave oven.”
- There may be certain non-metallic utensils that are not safe to use for microwaving. If in doubt, you can test the utensil in question following the procedure below.
Utensil Test:
- Fill a microwave-safe container with 1 cup of cold water (250ml) along with the utensil in question
- Cook on maximum power for 1 minute.
- Carefully feel the utensil. If the empty utensil i s warm, do not use it for microwave cooking
- Do not exceed 1 minute cooking time.
Materials you can use in microwave oven
| Utensils | Remarks |
| Browning dish | Follow manufacturer* instructions. The bottom of browning dish must be at least 3/16 inch (5mm) above the turntable. Incorrect usage may cause the turntable to break. |
| Dinnerware | Microwave-safe only. Follow manufacturer’s instructions. Do not use cracked or chipped dishes. |
| Glass jars | Always remove lid. Use only to heat food until just warm. Most glass jars are not heat resistant and may break. |
| Glassware | Heat-resistant oven glassware only. Make sure there is no metallic trim. Do not use cracked or chipped dishes. |
| Oven cooking bags | Follow manufacturer* instructions. Do not close with metal tie. Make slits to allow steam to escape. |
| aper plates and cups | Use for short term cooking/warming only. Do not leave oven unattended while cooking. |
| Paper towels | Use to cover food for reheating and absorbing fat. Use with supervision for a short-term cooking only. |
| Parchment paper | Use as a cover to prevent splattering or a wrap for steaming. |
| Plastic | Microwave-safe only. Follow the manufacturer* instructions. Should be labeled “Microwave Safe”. Some plastic containers soften, as the food inside gets hot. “Boiling bags” and tightly closed plastic bags should be slit, pierced or vented as directed by package. |
| Plastic wrap | Microwave-safe only. Use to cover food during cooking to retain moisture. Do not allow plastic wrap to touch food. |
| Thermometers | Microwave-safe only (meat and candy thermometers). |
| Wax paper | Use as a cover to prevent splattering and retain moisture. |
Materials to be avoided in microwave oven
| Utensils | Remarks |
| Aluminum tray | May cause arcing. Transfer food into microwave-safe dish. |
| Food carton with metal handle | May cause arcing. Transfer food into microwave-safe dish. |
| Metal or metal-trimmed utensils | Metal shields the food from microwave energy. Metal trim may cause arcing. |
| Metal twist ties | May cause arcing and could cause a in the oven. |
| Paper bags | May cause fire in the oven |
| Plastic foam | Plastic foam may melt or contaminate the liquid inside when exposed to high temperature. |
| Wood | Wood will dry out when used in the microwave oven and may split or crack. |
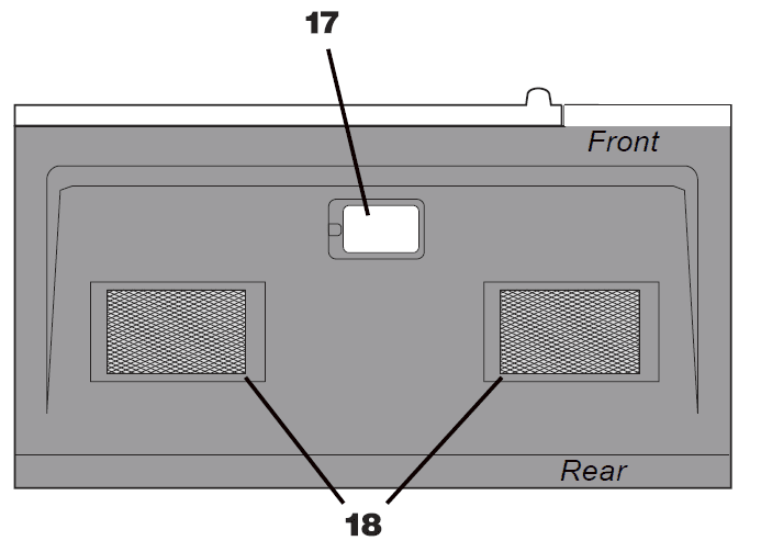
PART NAMES
FRONT VIEW

BOTTOM VIEW

- Microwave oven door with see-through window
- Door hinges
- Waveguide cover: DO NOT REMOVE.
- Turntable motor shaft
- Microwave oven light
- It will light when microwave oven is operating or door is open.
- Rack holders
- Safety door latches
- The microwave oven will not operate unless the door is securely closed.
- Handle
- Light hi/lo/off pad
- Press the light hi/lo/off pad once for high, twice for low and three times to turn off the light.
- Vent hi/lo/off pad
- Press the vent hi/lo/off pad once for high speed, twice for low speed and three times to turn off the fun.
- Auto-Touch control panel
- Time display: Digital display, 99 minutes, 99 seconds
- Ventilation openings
- Removable turntable
- The turntable will rotate clockwise or counterclockwise. Only remove for cleaning.
- Removable turntable support
- First, carefully place the turntable support in the motor shaft in the center of the microwave oven floor. Place support ring on the microwave oven floor. Then, place the turntable on the turntable support securely.
- Rack for 2-level cooking/ reheating
- Light cover
- Grease filters
CONTROL PANEL

The 7 digit interactive display spells out operating steps and show cooking hints
- Display:
The display includes a clock and indicators that show the time of day, cooking time settings, cook powers, sensor, quantities, weights and cooking functions selected- 1a. MICRO:
Icon does not display when microwave is running - 1b. TIMER:
Icon displayed when timer is being set or running. - lc. COOK:
Icon displayed when starting microwave cooking. - Id. DEFR:
- Icon displayed when defrosting food
- le. LOCK:
Icon displayed in control lock. - If. PRESS AGAIN FOR OPTIONS:
Icon displayed when additional options are available. - lg. PRESS START:
Icon displayed when a valid function can be started. - lh. kg, oz, 1b:
Icon displayed when choosing the weight.
- 1a. MICRO:
- Auto Cook
- Auto Reheat
- Pizza
- Auto Defrost
- Melt IS Often
- Potato (1-4 potatoes)
- Veggies
- Popcorn
- Snack menu
- Numeric pads (O thru 9)
- Stop/Clear
- START ENTER/+30 sec
- User pref
- Power Level (1 1 power levels available)
- Turntable (On•Off)
- Exhaust (High/Low/Off) — Use to turn the exhaust fan off, or to adjust fan speed
- Timer (On-off)
- Surface Light (High/Low/Off) — Press this pad to adjust the brightness of surface lights.
- Quick Start (9 instant key settings)
To Set the Clock
- Suppose you want to enter the correct time of day 10:59

MANUAL COOKING
Time Cooking
Your Over Range Microwave Oven can be programmed for 99 minutes 99 seconds (99 :99). Always enter the seconds after the minutes, even if they are both zeros.
- Suppose you want to cook for 5 minutes, 30 seconds at 100% power

Using One Touch Start
- This is a time saving pad that will automatically start cooking 2 seconds after selected. Numeric key 1-9 can be touched for 1-9 minute to start cooking feature

Using Add 30 Sec.
This is a time-saving pad. It is a simplified feature that lets you quickly set and start microwave cooking at 100% power
- Suppose you want to cook for one minute.

Setting Two-Stage Cooking
For best results , some recipes call for different power levels during a cook cycle . You can program your oven for two power level stages during the cooking cycle.
- Suppose you want to set a 2-stage cook cycle. The first stage is a 3 minute cook time at 80% cook power then a 7 minute cook time at 50% cook power.

Using the Rack
- The rack allows several foods to be cooked or reheated at one time. However, for the best cooking and reheating, use Turntable ON function and cook with SENSOR COOKING or AUTO COOKING without the rack. When the rack is used, set time and power level manually. Allow plenty of space around and between the dishes. Pay close attention to the cooking and reheating progress.
- Reposition the foods and reverse them from the rack to turntable and/or stir them at least once during any cooking or reheating time. After cooking or reheating, stir if possible. Using a lower power level will assist in better cooking and reheating uniformity.
- Avoid:
- Storing the rack in the microwave oven when not in use.
- Popping popcorn with the rack in the microwave oven.
- Using any browning dish on the rack.
- Using SENSOR COOKING and AUTO COOKING with the rack.
- Cooking directly on the rack—use microwave-safe cookware.
ONE TOUCH COOK
Popcorn
Press “P key and LED displays 3.3 oz. and the “PRESS AGAIN FOR OPTIONS” icon. You can press the “POPCORN” key again to select 3.0 oz. or 1.75 oz. You also can press number keys to choose the weight of pizza(1-3.3 oz., 2-3.0 oz., 3-1.75 oz. )
- Suppose you want to cook 3.3 oz. popcorn

Vegetables chart

Pizza
Press “PIZZA” key and LED displays 6 oz. and the “PRESS AGAIN FOR OPTIONS” icon. You can press “PIZZA” key again to select 8 oz. pizza or press “1” or “2” to select 6 oz. or 8 oz
- Suppose you want to cook a 6 .0 oz. pizza

AUTO COOKING
Auto Cook

AUTO DEFROST
Operating Tips
- For best results, remove fish, shell fish, meat and poultry from its original closed paper or plastic package (wrapper). Otherwise, the wrap will hold steam and juice close to the foods, which can cause the outer surface of the foods to cook.
- For best results, roll your ground meat into a ball before freezing. During the DEFROST cycle, the microwave will signal when it is time to turn themeat over. Scrape off any excess frost fromthe meat and continue defrosting.
- Place foods in a shallow container or on a microwave roasting rack to catch drippings. This table shows food type selections and the weights you can set for each type. For best results, loosen or remove covering on food.
Auto Defrost Table
- NOTE: Meat of irregular shape and large, fatty cuts of meat should have the narrow or fatty areas shielded with foil at the beginning of the defrost sequence
Meat Settings
| FOOD | SETTING | AT BEEP | SPECIAL INSTRUCTIONS |
| BEEF | |||
| Ground Beef, Bulk | MEAT | Remove thawed portions with fork. Turn over. Return remainder to oven. | Do not defrost less than 1/4 lb. Freeze in ball shape. |
| Ground Beef, Patties | MEAT | Separate and rearrange. | Do not defrost less than 2 oz. patties. Depress center when freezing. |
| Round Steak | MEAT | Turn over. Cover warm areas with aluminum foil. | Place in a microwave safe dish. |
| Tenderloin Steak | MEAT | Turn over. Cover warm areas with aluminum foil. | Place in a microwave safe dish. |
| Stew Beef | MEAT | Remove thawed portions with fork. Separate remainder. | Place in a microwave safe dish. |
| Pot Roast, Chuck Roast | MEAT | Return remainder to oven. | Place in a microwave safe dish. |
| Rib Roast | MEAT | Turn over. Cover warm areas with aluminum foil. | Place in a microwave safe dish. |
| Rolled Rump Roast | MEAT | Turn over. Cover warm areas with aluminum foil. | Place in a microwave safe dish. |
| LAMB | |||
| Cubes for Stew | MEAT | Turn over. Cover warm areas with aluminum foil. | Place in a microwave safe dish. |
| Chops (1 inch thick) | MEAT | Remove thawed portions with fork. Return remainder to oven. | Place in a microwave safe dish. |
| PORK Chops (1/2 inch thick) |
MEAT |
Separate and rearrange. |
Place in a microwave safe dish. |
| Hot Dogs | MEAT | Separate and rearrange. | Place in a microwave safe dish. |
| Spareribs Country-style Ribs | MEAT | Turn over. Cover warm areas with aluminum foil. | Place in a microwave safe dish. |
| Sausage, Links | MEAT | Separate and rearrange. | Place in a microwave safe dish. |
| Sausage, Bulk | MEAT | Remove thawed portions with fork. Turn over. Return remainder to oven. | Place in a microwave safe dish. |
| Loin Roast, Boneless | MEAT | Turn over. Cover warm areas with aluminum foil. | Place in a microwave safe dish. |
Fish Settings
| FOOD | SETTING | AT BEEP | SPECIAL INSTRUCTIONS |
| FISH Fillets | FISH | Turn over. Separate fillets when partially thawed, if possible. | Place in a microwave safe dish. Carefully separate fillets under cold water. |
| Steaks | FISH | Separate and rearrange. | Place in a microwave safe dish. Run cold water over to finish defrosting. |
| Whole | FISH | Turn ove.r | Place in a microwave safe dish. Cover head and tail with foil; do not let foil touch sides of microwave. Finish defrosting by immersing in cold water. |
| SHELLFISH | |||
| Crab meat | FISH | Break apart. Turn over. | Place in a microwave safe dish. |
| Lobster tails | FISH | Turn over and rearrange. | Place in a microwave safe dish. |
| Shrimp | FISH | Separate and rearrange. | Place in a microwave safe dish. |
| Scallops | FISH | Separate and rearrange. | Place in a microwave safe dish. |
CONVENIENT FEATURES
Setting Clock
The clock can be disabled when the microwave is first plugged in and the STOP CLEAR key is selected. To re-enable the clock follow clock instructions.
- Suppose you want to set the clock for 10:59

Setting Kitchen Timer
Your microwave oven can be used as a kitchen timer. You can set up to 99 minutes, 99 seconds. The kitchen timer can be used while the microwave oven is running.
- Suppose you want to set it for three minutes

Using Vent Fan
The pad controls the 2-speed vent fan. If the vent fan is OFF first touch of the Vent pad will turn the fan on HIGH, second touch LOW and third touch OFF.
- Suppose you want to set for three minutes.

MAINTENANCE
Troubleshooting
- Check your problem by using the chart below and try the solutions for each problem. If the microwave oven still does not work properly, contact the nearest authorized service center
TROUBLE POSSIBLE CAUSE POSSIBLE REMEDY Oven will not start
a. Electrical cord for oven is not plugged in. b. Door is open.
c. Wrong operation is set.
a. Plug into the outlet. b. Close the door and try again.
c. Check instructions.
Arcing or sparking
a. Materials to be avoided in microwave oven were used. b. The oven is operated when empty.
c. Spilled food remains in the cavity.
a. Use microwave-safe cookware only. b. Do not operate with oven empty.
c. Clean cavity with wet towel.
Unevenly cooked foods
a. Materials to be avoided in microwave oven were used. b. Food is not defrosted completely.
c. Cooking time, power level is not suitable.
d. Food is not turned or stirred.
a. Use microwave-safe cookware only. b. Completely defrost food.
c. Use correct cooking time, power level.
d. Turn or stir food.
Overcooked foods Cooking time, power level is not suitable. Use correct cooking time, power level. Undercooked foods
a. Materials to be avoided in microwave oven were used. b. Food is not defrosted completely.
c. Oven ventilation ports are restricted.
d. Cooking time, power level is not suitable.
a. Use microwave-safe cookware only. b. Completely defrost food.
c. Check to see that oven venti- lation ports are not restricted.
d. Use correct cooking time, power level.
Improper defrosting
a. Materials to be avoided in microwave oven were used. b. Cooking time, power level is not suitable.
c. Food is not turned or stirred.
a. Use microwave-safe cookware only. b. Use correct cooking time, power level.
c. Turn or stir food.
For more manuals by Black and Decker, visit ManualsLibraryy
Black and Decker EM044KB19 Microwave Oven-FAQs
How do I set the clock on my Black and Decker microwave?
1. Press the “CLOCK/PRE-SET” button to display the current clock.
2. The hour figures will flash. Enter the required time using the numeric buttons.
How do microwave power settings work?
Microwave power levels turn the microwaves off periodically to allow food to cook at a slower rate. The residual heat during the “off” period continues to cook the food evenly.
How do I change the power level on my microwave?
1. Select the cook time.
2. Press the “Power” button.
3. Adjust the power level by using the numeric keypad or dial, depending on your microwave model.
Can I use a microwave without setting the clock?
Yes, you can use the microwave without setting the clock.
How do I reset the microwave?
To reset, unplug the microwave or power cycle it at the circuit breaker for 60 seconds.
How do you lock the microwave?
1. Press and hold the “Clear/Off” or “Pause/Off” button for about 3 seconds.
2. The display will show “Lock,” and a small “L” will appear as a reminder.
What is the timer function in a microwave?
The timer allows you to set a countdown in minutes and seconds, up to 90–99 minutes, depending on the model. It can run simultaneously while the microwave operates.
Which modes are available in this microwave?
This microwave includes a standard microwave mode for cooking and heating food. If it has convection features, it also offers a convection mode for baking and evenly heating food using a fan and heating element.
Is Black & Decker a reliable brand?
Yes, Black & Decker is a trusted and reliable brand with a long history of producing quality household products and tools.
Can a 1500-watt inverter run a microwave?
Yes, a 1500-watt pure sine wave inverter is suitable for running a smaller microwave. For larger countertop models, a 2000-watt inverter is recommended.










