
Brother LX3817 Sewing Machine

IMPORTANT SAFETY INSTRUCTIONS
Please read these safety instructions before attempting to use the machine.
DANGER
To reduce the risk of electric shock:
- Always unplug the machine from the electrical outlet immediately after using, when cleaning, when making any user servicing adjustments mentioned in this manual, or if you are leaving the machine unattended.
WARNING
To reduce the risk of burns, fire, electric shock, or injury to persons.
Always unplug the machine from the electrical outlet when making any adjustments mentioned in the instruction manual:
- To unplug the machine, switch the machine to the symbol “O” position to turn it off, then grasp the plug and pull it out of the electrical outlet. Do not pull on the cord.
- Plug the machine directly into the electrical outlet. Do not use an extension cord.
- Always unplug your machine if the power is cut.
Electrical Hazards:
- This machine should be connected to an AC power source within the range indicated on the rating label. Do not connect it to a DC power source or inverter. If you are not sure what kind of power source you have, contact a qualified electrician.
- This machine is approved for use in the country of purchase only.
- Never operate this machine if it has a damaged cord or plug, if it is not working properly, if it has been dropped or damaged, or if water is spilled on the unit. Return the machine to the nearest authorized Brother dealer or service center for examination, repair, or electrical or mechanical adjustment.
- While the machine is stored or in use, if you notice anything unusual, such as an odor, heat, discoloration, or deformation, stop using the machine and immediately unplug the power cord.
- When transporting the machine, be sure to carry it by its handle. Lifting the machine by any other part may damage the machine or result in the machine falling, which could cause injuries.
- When lifting the machine, be careful not to make any sudden or careless movements; otherwise, you may injure your back or knees.
Always keep your work area clear:
- Never operate the machine with any air openings blocked. Keep ventilation openings of the machine and foot control free from the buildup of lint, dust, and loose cloth.
- Do not store objects on the foot controller.
- Do not use extension cords. Plug the machine directly into the electrical outlet.
- Never drop or insert any object into any opening.
- Do not operate where aerosol (spray) products are being used or where oxygen is being administered.
- Do not use the machine near a heat source, such as a stove or iron; otherwise, the machine, power cord, or garment being sewn may ignite, resulting in fire or an electric shock.
- Do not place this machine on an unstable surface, such as an unsteady or slanted table; otherwise, the machine may fall, resulting in injuries.
Special care is required when sewing:
- Always pay close attention to the needle. Do not use bent or damaged needles.
- Keep fingers away from all moving parts. Special care is required around the machine needle.
- Do not turn on the machine while pressing down the foot controller. The machine may start unexpectedly and cause personal injury or damage to the machine.
- Switch the machine to the symbol “O” position to turn it off when making any adjustments in the needle area.
- Do not use a damaged or incorrect needle plate, as it could cause the needle to break.
- Do not push or pull the fabric when sewing, and follow careful instructions when freehand stitching so that you do not deflect the needle and cause it to break.
This machine is not a toy:
- Your close attention is necessary when the machine is used by or near children.
- The plastic bag that this machine was supplied in should be kept out of the reach of children or disposed of. Never allow children to play with the bag due to the danger of suffocation.
- Do not use outdoors.
For a longer service life:
- When storing this machine, avoid direct sunlight and high-humidity locations. Do not use or store the machine near a space heater, iron, halogen lamp, or other hot objects.
- Use only neutral soaps or detergents to clean the case. Benzene, thinner, and scouring powders can damage the case and machine, and should never be used.
- Always consult the operation manual when replacing or installing any assemblies, the presser feet, needle, or other parts, to assure correct installation.
For repair or adjustment:
- If the light unit (light-emitting diode) is damaged, it must be replaced by an authorized Brother Service Center.
- In the event a malfunction occurs or adjustment is required, first follow the troubleshooting table in the back of the operation manual to inspect and adjust the machine yourself. If the problem persists, please consult your local authorized Brother Service Center.
KNOWING YOUR SEWING MACHINE
ACCESSORIES
We have designed these accessories to help you easily perform most sewing tasks.
Note: The included accessories vary depending on the machine model.
Optional accessories
The following are available as optional accessories to be purchased separately. Depending on the model you purchased, the following accessory may be included with your machine.
Note: The quilting guide can be inserted into the holes at the back of the walking foot or the black plastic hole at the top of the sewing ankle.
THE MAIN PARTS
- Bobbin winder: This winds the thread onto the bobbin for use as the lower thread.
- Spool pin: This holds the spool of thread.
- Thread guide: This is used when winding the thread onto the bobbin and then threading the machine.
- Thread take-up lever
- Hole for extra spool pin: This holds a second spool of thread for sewing with the twin needle.
- Upper tension-control dial: This controls the tension of the upper thread.
- Thread cutter: Pass the threads through the thread cutter to cut them.
- Needle threader: (This is only available on certain models.)
- Quick-set bobbin: (This is only available on certain models.)
- Flat bed attachment with accessory compartment
- Presser foot
- Reverse sewing lever: Push this lever to stitch in the reverse direction.
- Buttonhole fine-adjustment screw
- Pattern selection dial: Rotate the dial in either direction to choose the stitch you want.
- Handwheel: Used to manually raise and lower the needle.
- Air vent: The air vent allows the air surrounding the motor to circulate. Do not cover the air vent while the machine is being used.
- Main power and sewing light switch: You can turn the main power and sewing light switch on and off.
- Foot controller jack/socket: Plug in the foot controller plug and connect the machine to the power supply.
- Presser foot lever: Used to raise and lower the presser foot.
- Handle: Carry the machine by its handle when transporting.
- Foot controller: You can use this to control the sewing speed and to start and stop sewing.
Foot Controller:
Model KD-1902 for 110-120V area
KD-1902 for 110-127V area (Brazil only)
Model KD-2902 for 220-240V area
The foot controller part code differs depending on the country or region. Contact your Brother dealer or the nearest authorized Brother Service Center.
Flat bed attachment
The accessories can be stored in a compartment inside the flat bed attachment.
Slide the flat bed attachment to the left to open it.
- Flat bed attachment
- Storage compartment
USING YOUR SEWING MACHINE
WARNING
- Use only regular household electricity for the power source. Using other power sources may result in fire, electric shock, or damage to the machine.
- Make sure that the plugs on the power cord are firmly inserted into the electrical outlet and the power supply jack on the machine. Otherwise, a fire or electric shock may result.
- Do not insert the plug on the power cord into an electrical outlet that is in poor condition.
- Turn off the main power and remove the plug in the following circumstances:
- When you are away from the machine
- After using the machine
- When the power fails during use
- When the machine does not operate correctly due to a bad connection or a disconnection
- During electrical storms
CAUTION
- Use only the power cord included with this machine.
- Do not use extension cords or multi-plug adapters with many other appliances plugged into them. Fire or electric shock may result.
- Do not touch the plug with wet hands. Electric shock may result.
Connecting plugs
- Connect the foot controller plug to the machine.
- Connect the power supply plug to a wall outlet.
Main power and sewing light switch
This switch turns the main power and sewing light on or off.
- Turn on (toward the ‘I’ mark)
- Turn off (toward the O mark)
Do not turn on the machine while pressing down the foot controller. The machine may start unexpectedly and cause personal injury or damage to the machine.
Foot controller
When you press the foot controller down lightly, the machine will run at a low speed. When you press harder, the machine’s speed will increase. When you take your foot off the foot controller, the machine will stop.
You should make sure that nothing is placed on the foot controller when the machine is not in use.
Do not allow pieces of cloth and dust to build up on the foot controller. Doing so could cause a fire or an electric shock.
Checking the needle
The sewing needle must always be straight and sharp for smooth sewing.
Checking the needle correctly
- Put the flat side of the needle on a flat surface.
- Check the needle from the top and the sides.
- Dispose of any bent needles safely.
Replacing the needle
CAUTION
- Always turn off the machine before you change the needle. Otherwise, injuries may occur if the foot controller is accidentally pressed and the machine starts sewing.
- Only use sewing machine needles for home use. Other needles may bend or break and cause injury.
- Never sew with a bent needle. A bent needle will easily break and cause injury.
- Turn off the machine.
- Raise the needle by turning the handwheel toward you (counterclockwise) so that the mark on the wheel points up.
- Lower the presser foot lever.
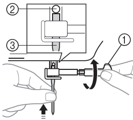
- Hold the needle with your left hand, and then use a screwdriver to turn the needle clamp screw counterclockwise to remove the needle.
- With the flat side of the needle toward the back of the machine, insert the needle until it touches the needle stopper. Next, tighten the needle clamp using a screwdriver.

- Use a screwdriver
- Needle stopper
- Needle
Install the twin needle in the same way.
CAUTION: Make sure you insert the needle until it touches the stopper, and securely tighten the needle clamp screw with a screwdriver; otherwise, the needle may break or the machine may be damaged.
THE CONTROLS
Pattern selection dial
CAUTION: When you use the pattern selection dial to choose a pattern, raise the needle by turning the handwheel toward you (counterclockwise) so that the mark on the wheel points up. If the needle is in the down position when you turn the pattern selection dial, the needle, presser foot, or fabric may be damaged.
To choose a stitch, simply turn the pattern selection dial in either direction.
Reverse sewing lever
You can use reverse sewing for back tacking and reinforcing seams.
To sew in reverse, push the reverse sewing lever in as far as possible and hold it in that position while you lightly push the foot controller. To sew forward, release the reverse sewing lever. The machine will then sew forward.
The length of reverse stitches is fixed at 2 mm (1/16 inch).
SEWING BASICS
Please read before sewing
CAUTION
- To avoid being injured, watch the needle carefully while you are using the machine. Keep your hands away from moving parts.
- Do not stretch or pull the fabric during sewing; otherwise, the needle may be damaged and you may be injured.
- Do not use bent or broken needles; otherwise, you may be injured.
- Take care that the needle does not hit basting pins or other objects during sewing. The needle may break, and you may be injured.
- Always use the correct presser foot. If you use the wrong presser foot, the needle may hit the presser foot and bend or break, and you may be injured.
- When you turn the handwheel by hand, always turn it toward you (counterclockwise). Turning it the other way may cause the thread to tangle and damage the needle or fabric, and you may be injured.
- Do not start sewing without placing the fabric under the presser foot; otherwise, the presser foot may be damaged.
Starting sewing
- Turn on the machine.
- Raise the needle by turning the handwheel toward you (counterclockwise) so that the mark on the wheel points up.
- Turn the pattern selection dial to select a stitch.
- Change the presser foot.
- Raise the presser foot lever.
- Place the fabric under the presser foot, pass the thread under the presser foot, and then pull out about 5 cm (2 inches) of thread toward the rear of the machine.
- While holding the end of the thread and the fabric with your left hand, turn the handwheel toward you (counterclockwise) with your right hand to lower the needle to the starting point of the stitching.
- Lower the presser foot lever.
- Slowly press down on the foot controller.
- Take your foot off the foot controller.
- Raise the needle by turning the handwheel toward you (counterclockwise).
- Raise the presser foot lever.
- Pull the fabric to the left side of the machine, and then pass the threads through the thread cutter to cut them.
APPENDIX
MAINTENANCE
Restrictions on oiling
In order to prevent damaging this machine, it must not be oiled by the user.
This machine was manufactured with the necessary amount of oil applied to ensure correct operation, making periodic oiling unnecessary.
If problems occur, such as difficulty turning the handwheel or an unusual noise, immediately stop using the machine and contact your authorized Brother Service Center or the nearest authorized Brother Service Center.
Precautions for storing the machine
Do not store the machine in any of the locations described below; otherwise, damage to the machine may result, for example, rust caused by condensation.
- Exposed to extremely high temperatures
- Exposed to extremely low temperatures
- Exposed to extreme temperature changes
- Exposed to high humidity or steam
- Near a flame, heater, or air conditioner
- Outdoors or exposed to direct sunlight
- Exposed to extremely dusty or oily environments
Note
In order to extend the life of this machine, periodically turn it on and use it.
Storing this machine for an extended period of time without using it may reduce its efficiency.
Cleaning
CAUTION: Make sure you unplug the machine before you clean it, otherwise you risk getting an electric shock or being injured.
- Turn off the machine and unplug it.
- Raise the needle and the presser foot.
- Loosen the presser foot screw and the needle clamp screw to remove the presser foot holder and the needle.
- Using the screwdriver, remove the two screws. Lift up the needle plate as shown in the illustration, and then slide the needle plate to the left to remove it.
- Grasp the bobbin case, and then lift it out to the left.
- Use the cleaning brush or a vacuum cleaner to remove any dust from the bobbin race and its surrounding area.
- Insert the bobbin case so that the ▲ mark on the bobbin case aligns with the ● mark on the machine.
- Install the needle plate, and then tighten the screws.
TROUBLESHOOTING
If the machine stops operating correctly, check the following possible problems before requesting service. You can solve most problems by yourself. If you need additional help, the Brother Solutions Center offers the latest FAQs and troubleshooting tips. Visit us at “ http://support.brother.com ”. If the problem persists, contact your Brother dealer or the nearest authorized Brother Service Center.

For more Manuals by Brother, visit ManualsLibraryy
Brother LX3817 Sewing Machine-FAQs
How do I thread the Brother LX3817 sewing machine?
Raise the presser foot and needle to the highest position.
Place the spool on the spool pin.
Guide the thread through the thread guides as shown in the manual.
Thread the needle from front to back.
Pull the thread under the presser foot.
Can I use any needle in my Brother sewing machine?
Yes, but SCHMETZ needles (system 130/705 H) are recommended. Suitable types:
Universal
Quilting
Microtex
Embroidery
Can the Brother LX3817 sew denim?
Yes! It can handle light to medium denim. Use:
A denim needle (size 90/14 or 100/16)
A longer stitch length (2.8–3.0 mm)
A strong thread (polyester or heavy-duty)
How do I wind a bobbin on the LX3817?
Place the spool on the spool pin.
Thread through the bobbin winding guide.
Insert an empty bobbin onto the bobbin winder.
Hold the thread end and press the foot pedal to wind.
Why is my sewing machine skipping stitches?
Possible causes:
Wrong needle size (use the correct needle for fabric).
Dull or bent needle (replace it).
Incorrect threading (rethread the machine).
Low-quality thread (use a stronger thread)
How do I make a buttonhole with the LX3817?
Attach the buttonhole foot.
Select the 4-step buttonhole stitch.
Mark the buttonhole length on the fabric.
Sew each side following the machine’s guide.
What is the best stitch length for beginners?
Attach the buttonhole foot.
Select the 4-step buttonhole stitch.
Mark the buttonhole length on the fabric.
Sew each side following the machine’s guide.
How do I clean my Brother sewing machine?
Unplug the machine.
Remove lint with a small brush.
Wipe the bobbin area with a dry cloth.
Oil moving parts if needed (check the manual).


