
DS18 DSP4 8BTM Digital Sound Processor

ELEMENT’S DESCRIPTION

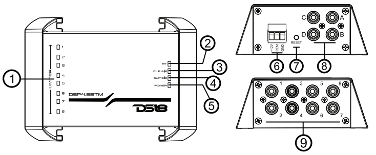
- Clip LEDs and Output Limiter: When lit, it indicates that the audio output is reaching its maximum level and generating distortion or signal, activating the limiter. If the limiter is deactivated, then it will function as an output clip; if the limiter is activated, it will function both as an output clip and as a limiter indicator.
- BT Connection Indicator Light: This indicates that the BT device is connected
- Clip the LED of A/B and C/D Inputs. When lit
- It indicates that audio input is reaching its maximum level.
- Processor Indicator Led On When lit, it indicates that the processor is turned on.
- Power Connector: The connector is responsible for supplying +12V, REM, and GND to the processor.
- RESET Key: Returns all the parameters of the processor to those defined by the factory. To reset, just keep the key pressed for 5 seconds.
- Audio Input RCA: Receives high impedance signals from the Player, Mixer, Smartphone, Etc…
- Audio Output RCA: Sends properly processed signals to the amplifiers.
INSTALLATION

- Read the entire product manual carefully before beginning installation.
- For safety, disconnect the negative from the battery before beginning installation.
- Keep all RCA cables away from power cables.
- Use high-quality cables and connectors to minimize loss and noise.
- If the equipment is grounded on the vehicle chassis, scrape all the paint off the grounding point to ensure a good connection.
NOISE PROBLEMS:
- Check that all equipment in the system is grounded at the same point to avoid ground loops.
- Check the processor output RCA cables, the shorter and better quality, the lower the noise.
- Make a correct gain structure, making the gain of the amplifiers as small as possible.
- Use quality cables and keep away from any potential sources of noise.
- Contact our technical support and/or check the tips on our social networks
BT CONNECTION
- Download the app from the Google Play Store or App Store.
- Activate BT on your Smartphone.
- Activate the location of your Smartphone.
- Open the DSP4.8BTM app, and it will display the following information
- Select the processor and enter the password. The factory password is 0000. To set a new password, just enter any password other than 0000.
- If you want to reset your password, you will need to reset the processor to its factory default. 
- Congratulations, you are connected to your DS18 processor. Now, with a simple and intuitive interface, you can manage your sound system completely using the following settings:- Routing Channel
- General Gain
- Channel Gain
- Frequency Cuts
- Limiter
- Input Equalizer
- Output Equalizer
- Phase Selector
- Time Alignment
- Configurable Memories
- Battery Monitoring
- Limiter Monitoring
 
Compatible with Android 7 or higher /iOS 13 or higher
SPECIFICATIONS
- ROUTING CHANNEL /Routing Options:………….A / B / C / D / A+B / A+C / B+C
- GAIN /General Gain /General:……………………………………… -53 to 0dB / -53 a 0dB
- Channel Gain…………………………………………………………..-33 to +9dB / -33 a +9dB
- FREQUENCY CUTS (CROSSOVER) / (CROSSOVER) Cutoff Frequency / …………………………………….20Hz to 20kHz / de 20 Hz a 20 kHz
- Types of Cuts / …………………………………………………………. / Butterworth / Bessel
 Attenuations / ………………………………………………6 / 12 / 18 / 24 / 36 / 48dB/OCT
- INPUT EQUALIZER (EQ IN) / ECUALIZADOR DE ENTRADA (EQ IN)
 Equalization Bands…………………………………………………………. 15 Bands / Bandas
 Gain ……………………………………………………………………..-12 to +12dB / -12 a +12dB
- CHANNEL EQUALIZER (EQ CHANNEL) /Equalization Bands ………………………8 Parametric per Channel…………………………………-12 to +12dB Q Factor / Factor Q …………………………………………………………………………………. 0.6 to 9.9 / 0.6 a 9.9
- TIME ALIGNMENT (DELAY) /(RETARDO)
 Time /…………………………………………………………….. 0 to 18,95ms / 0 a 18,95ms
- Distance / ………………………………………………………. 0 to 6500mm / 0 a 6500mm
 LIMITER / Threshold / Umbral ………………………………..-54 to +6dB / -54 a + 6dB
- Attack ………………………………………………………………….1 to 200ms / de 1 a 200ms
- Release /……………………………………………………………….. 1 to 988ms / 1 a 988ms
 POLARITY INVERSION (PHASE) / Fase……………………….0 or 180º / 0 o 180º
- MEMORIES (PRESETS) /Memories / ………………………………………………. 3 – 100% Configurable
- INPUT A/B/C/D /Input Channels  ………………………………………………………4
 Type …………………………………………….. Electronically Symmetrical Connectors / ………………………………………………………………. RCA
- Max Input Level ……………………………………………………………. 4,00Vrms (+14dBu)
- Input Impedance ………………………………………………………………… 100KΩ
- OUTPUT/Output …………………………………………………………………… 8 Connectors /………………………………………………………………………… RCA
- Type …………………………………………………………………… Electronically Symmetrical /
- Max Input Level…………………………………………………………… 3,50Vrms (+13dBu)
- Output Impedance …………………………………………………………………………… 100Ω

FOR MORE MANUALS BY DS18, VISIT MANUALSLIBRARYY
DS18 DSP4 8BTM Digital Sound Processor-FAQs
Q1. What is the DS18 DSP4 8BTM?
It’s a digital sound processor designed to fine-tune and optimize car audio systems, giving you more control over sound quality and speaker performance.
Q2. How many channels does it support?
The DSP4 8BTM provides 8 output channels, allowing you to connect and manage multiple speakers or subwoofers.
Q3. How do I connect it to my system?
Connect power to the DSP, link input signals from your head unit, wire outputs to your speakers or amplifiers, and pair via USB or Bluetooth for control.
Q4. Does it have Bluetooth connectivity?
Yes. The DSP4 8BTM includes Bluetooth, so you can connect wirelessly to your smartphone for tuning and adjustments.
Q5. Can I control it with an app?
Yes. DS18 offers a mobile app that lets you manage EQ, crossover points, and other settings directly from your phone.
Q6. What adjustments can I make with the DSP?
You can control equalization, bass, mids, treble, crossover frequencies, and time alignment for a fully customized sound experience.
Q7. Does using a DSP improve sound quality?
Yes. It cleans up audio signals, balances tones, reduces distortion, and enhances overall clarity and power in your system.
Q8. What power does the DSP require?
It runs on standard 12V DC power, which is commonly used in car audio systems.
Q9. Is installation complicated?
Basic installation is straightforward, but professional installation is recommended if you are not experienced with car audio wiring.
 

