
Frigidaire GRMC2273CF-C1 4-Door French Door Refrigerator

FEATURES
External Water Dispenser Model
- A Anti-tip Leg
- B Lower Freezer Basket
- C Upper Freezer Basket
- D Custom-Flex™ Temp Drawer
- E Ice/Water Dispenser
- F External Appliance Control Display
- G Adjustable Hinges
- H Door Bin
- I Flipper Mullion
- J Ice Chute
- K Ice Maker
- L Flipper Guide
- M Water Filter
- N Dairy Compartment
- O Air Filter
- P Shelves
- Q Adjustable Door Bin
- R CrispSeal Fresh Crispers
- S Gallon Door Bins

Internal Water Dispenser Model
- A Anti-tip Leg
- B Lower Freezer Basket
- C Upper Freezer Drawer
- D Ice Bin
- E Ice Maker
- F Custom-Flex™ Temp Drawer
- G Adjustable Hinges
- H Door Bin
- I Internal Water Dispenser
- J Appliance Control Display
- K Flipper Mullion
- L Flipper Guide
- M Air Filter
- N Water Filter
- O Dairy Compartment
- P Shelf
- Q Adjustable Door Bin
- R CrispSeal® Fresh Crispers
- S Gallon Door Bins

INSTALLATION
This Use & Care Manual provides general installation and operating instructions for this model. We recommend using a service or kitchen contracting professional to install the refrigerator. Use the refrigerator only as instructed in this Use & Care Manual. Before starting the refrigerator, follow these important first steps.
Location
- Choose a place near a grounded, non-GFCI electrical outlet. Do not use an extension cord or an adapter plug.
- If possible, place the refrigerator out of direct sunlight and away from the range, dishwasher, or other heat sources.
- You must install the refrigerator on a floor that is level and strong enough to support a fully loaded refrigerator.
- Consider water supply availability for models equipped with an automatic ice maker.
Door opening
Position the refrigerator to allow easy access to the counter when removing food. For best use of the refrigerator drawers and freezer baskets, position the refrigerator where you can fully open both.
Cabinet Leveling & Refrigerator Door Alignment (if necessary)
Guidelines for final positioning of the refrigerator:
- Rest all 4 corners of the cabinet firmly on the floor.
- Slightly elevate the front to ensure the doors close and seal properly.
- Align and level the doors with each other.
- Meet most of these conditions by raising or lowering the adjustable anti-tip legs.
To level the cabinet using the anti-tip legs:
- Slightly open freezer drawer.
- Lower the anti-tip legs until they are both touching the floor. Use a pair of pliers to adjust.
- To raise the unit: turn the leg clockwise (as shown).
- To lower the unit: turn the leg counterclockwise.

- Ensure both doors are bind-free, with their seals touching the cabinet on all 4 sides, and that the cabinet is stable.

To make final door height adjustments:
- Open the Custom-Flex Temp drawer to make the lower hinge visible.
- Insert a 6 mm Allen™ wrench into the shaft of the lower hinge.
- To lower the door: turn the adjustment screw clockwise.
- To raise the door: turn the adjustment screw counterclockwise (as shown below).

Flipper Mullion
Adjust the flipper mullion for proper connection with the mullion guide by ensuring the flipper mullion is folded and perpendicular to the fresh food door. If the mullion guide is not in the correct position, it could prevent the door from closing completely.
DOOR REMOVAL
Getting through narrow spaces
If your refrigerator will not fit through an entrance area, you can remove the doors. Check first by measuring the entrance.
To prepare for removing the doors:
- Unplug the electrical power cord from the wall outlet.
- Remove any food from the door shelves and close the doors.
To remove the refrigerator doors:
- Open doors to 90°.
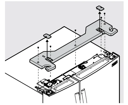
- Remove all 5 Phillips™ screws from the top hinge cover and lift. You can easily access 3 Phillips screws. You can access the other 2 screws by removing the 2 panels from the top hinge cover, as shown.

- Trace lightly around the door’s top hinges with a pencil. This makes reinstallation easier.
- Disconnect any electrical harnesses running from the doors to the hinge cover.

- Pull up on the water line gently to remove it from the door.

- Remove three 8 mm bolts from both top hinges. Lift doors off the lower hinges and carefully set them aside.

- In certain circumstances, you may need to remove the lower hinges for clearance purposes. To gain access to the lower hinges, first extend the Custom-Flex Temp Drawer. Unscrew the 3 lower hinge screws and slide the hinge inward.

- To reinstall the doors, reverse the procedure.
IMPORTANT
Make sure the water line tubing goes through the hole at the top of the dispenser pocket. A metal wrap on the tubing prevents damage from the hinge rubbing against it. You need to fix this back around the tube in the proper location upon reinstallation to protect the tube from the hinge.
To remove the Custom-Flex Temp Drawer
- Fully open the drawer.
- Remove the basket from the drawer.

- Unsnap the 4 cable ties by pressing the clip sides together and pushing them through the opening.

- Remove the screw and the retaining clip, and disconnect the harness.

- To fully remove the drawer from the cabinet, press the tabs on both sides and slide the rails past the clips on both sides.

To reinstall the Custom-Flex Temp Drawer
- Place the drawer with the brackets and sliders inside the compartment and click the sliders into place on each side.

- Reconnect the cabinet harness.
- Replace the retaining clip and secure it with the screw.

- Reattach the electrical harness by positioning the cable clips over the black markings on the harness and pushing the 4 cable clips through the openings in the rail to secure the harness in place.

- Slide the basket into place.
- Close the drawer.
To remove the freezer drawer
- Open the drawer and fully extend it.
- Remove the upper freezer drawer.
- Remove the lower freezer basket.
- Inside the cabinet, press the tab on both sides to release the sliders.
- Remove the drawer with brackets and sliders.

To reinstall the freezer drawer
- Place the drawer with brackets and sliders inside the cabinet and click into place.
- Replace the lower freezer basket first, and then the upper freezer basket. Ensure the upper freezer basket rollers are seated correctly in the tracks before closing the freezer drawer.
DOOR HANDLE INSTALLATION
Door Handle Mounting Instructions
- Remove the handles from the carton and any other protective packaging.
- Position the fresh food handle end caps over the upper and lower pre-installed shoulder bolts (A) fastened into the door, ensuring the holes for the set screws are facing toward the opposite door.
- While holding the handle firmly against the door, fasten the upper and lower Allen set screws (B) with the supplied Allen wrench.
- Repeat steps 2 and 3 to install the opposite handle. Ensure the holes for the set screws are facing toward the first door.

NOTE
Tighten all set screws so the screw is below the surface of the handle. Draw the handles tight to the doors/drawer with no gaps. Open the opposite door while tightening the Allen screw to make installation easier. The door handle may loosen over time if you installed it improperly. If this happens, tighten the set screws on the handles.
WATER SUPPLY CONNECTION
CAUTION
To avoid property damage:
- We recommend copper or stainless steel braided tubing for the water supply line. We do not recommend using water supply tubing made of ¼ in. plastic. Plastic tubing greatly increases the potential for water leaks, and the manufacturer will not be responsible for any damage if you use plastic tubing for the supply line.
- Do not install water supply tubing in areas where temperatures fall below freezing.
- Chemicals from a malfunctioning water softener can damage the ice maker. If a water softening system is present, ensure you maintain the softener and that it is working properly.
IMPORTANT: Ensure the water supply line connections comply with all local plumbing codes.
To install the water supply line, you need the following:
- Basic tools: adjustable wrench, flat-blade screwdriver, and Phillips screwdriver
- Access to a household cold water line with water pressure between 30 and 100 psi
- A water supply line made of ¼” (6.4 mm) OD copper or braided stainless steel tubing. To determine the length of tubing needed, measure the distance from the main water inlet valve at the back of the refrigerator to the cold water pipe. Then add approximately 6′ (1.8 m) so you can move the refrigerator out for cleaning.
- A shutoff valve to connect the water supply line to the household water system. Do not use a self-piercing type shutoff valve.
- Do not reuse a compression fitting or use thread seal tape.
- A compression nut and ferrule (sleeve) for connecting a copper water supply line to the main water inlet valve.

NOTE
Check with the local building authority for recommendations on water lines and associated materials before installing the refrigerator. Depending on local or state building codes, we recommend for homes with existing valves its Smart Choice® water line kit 5304437642 with a 6′ (1.8 meters) braided stainless steel water line. Please refer to Frigidaire.com for more information.
To connect the water tube to the household water supply:
- Disconnect the refrigerator from the electrical power source.
- Place the end of the water supply line into a sink or bucket. Turn on the water supply and flush the supply line until the water is clear. Turn off the water supply at the shutoff valve.

- Open the locking clips and grab the water line coming from the refrigerator. Remove the plastic cap from the water inlet fitting and discard the cap.

- If using (recommended) stainless steel braided tubing, the nut and ferrule are already assembled on the tubing. Slide the compression nut onto the water inlet fitting and finger-tighten.
- Using two ½” wrenches (one to hold the household water line nut and the other to hold the water inlet fitting nut), tighten a half turn with the wrench. Do not over-tighten.

- Replace the connected tubes into the clips and lock the clips back in place to keep the tubing in the right position.
- Turn on the water supply at the shutoff valve and tighten any leaky connections.
- Reconnect the refrigerator to an electrical power source.
- Ensure the ice maker is turned on.
- Purge air from the ice and water dispenser system by operating the water dispenser for 3–4 minutes. This will require dispensing several glasses of water.
STORING FOOD AND SAVING ENERGY
Ideas for storing food
Fresh food storage
- Keep the fresh food compartment between 34°F and 44°F, with an optimum temperature of 37°F.
- Avoid overcrowding the refrigerator shelves, which reduces air circulation and causes uneven cooling.
- Avoid placing food in front of air ports. (See CONTROLS AND SETTINGS for illustration.)
Fruits and vegetables
- Store fruits and vegetables in crisper drawers, where trapped moisture helps preserve food quality for longer time periods.
- Do not wash items until ready to use. Remove excess water before placing it inside the unit.
- Wrap any items that have strong odors or high moisture content.
Meat
- Wrap raw meat and poultry separately and securely to prevent leaks and contamination of other foods or surfaces.
- Use the Custom-Flex™ Temp Drawer to store meat/poultry for short-term storage. Any meat to be kept longer than two days should be frozen.
Frozen food storage
- Keep the freezer compartment at 0°F (-18°C) or lower.
- A freezer operates most efficiently when it is at least ⅔ full.
Packaging foods for freezing
- To minimize food dehydration and quality deterioration, use aluminum foil, freezer wrap, freezer bags, or airtight containers. Force as much air out of the packages as possible and seal them tightly. Trapped air can cause food to dry out, change color, and develop an off-flavor (freezer burn).
- Wrap fresh meats and poultry with suitable freezer wrap before freezing.
- Do not refreeze meat that has completely thawed.
Loading the freezer
- Before grocery shopping, activate Freeze Boost so newly purchased food designated for the freezer will be preserved as quickly as possible.
- Activating Freeze Boost will also help the freezer more efficiently maintain the selected temperature after placing new purchases with pre-existing frozen foods.
- Avoid adding too much warm food to the freezer at one time. This overloads the freezer, slows the rate of freezing, and can raise the temperature of frozen foods.
- Leave a space between packages so cold air can circulate freely, allowing food to freeze as quickly as possible.
Ideas for saving energy
Installation
- Locate the refrigerator in the coolest part of the room, out of direct sunlight, and away from heating ducts or registers.
- Do not place the refrigerator next to heat-producing appliances such as a range, oven, or dishwasher. If this is not possible, a section of cabinetry or an added layer of insulation between the two appliances will help the refrigerator operate more efficiently.
- Level the refrigerator so the doors close tightly.
Temperature settings
- Refer to CONTROLS AND SETTINGS for illustration and recommended settings.
Food storage
- Avoid overcrowding the refrigerator or blocking cold air vents. Doing so causes the refrigerator to run longer and use more energy.
- Cover foods and wipe containers dry before placing them in the refrigerator. This cuts down on moisture build-up inside the unit.
- Organize the refrigerator to reduce door openings. Remove as many items as needed at one time and close the door as soon as possible.
- Do not place a hot container directly on a cold shelf. Remember, such an extreme temperature change may damage the glass.
TROUBLESHOOTING
Let us help you troubleshoot your concern! This section will help you with common issues. If you need us, visit our website, chat with an agent, or call us. We may be able to help you avoid a service visit. If you do need service, we can get that started for you!
- 1-800-265-8352 (Canada), Frigidaire.ca
- 1-800-374-4432 (United States), Frigidaire.com









LIMITED WARRANTY
Your appliance is covered by a one-year limited warranty. For one year from your date of delivery, Electrolux will pay all costs for repairing or replacing any parts of this appliance that prove to be defective in materials or workmanship when such appliance is installed, used, and maintained in accordance with the provided instructions.
Exclusions
This warranty does not cover the following:
- Products with original serial numbers that have been removed, altered, or cannot be readily determined.
- Products that have been transferred from their original owner to another party or removed outside the USA or Canada.
- Rust on the interior or exterior of the unit.
- Products purchased “as-is” are not covered by this warranty.
- Food loss due to any refrigerator or freezer failures.
Products used in a commercial setting. - Service calls which do not involve malfunction or defects in materials or workmanship, or for appliances not in ordinary household use, or used other than in accordance with the provided instructions.
- Service calls to correct the installation of your appliance or to instruct you on how to use your appliance.
- Expenses for making the appliance accessible for servicing, such as removal of trim, cupboards, shelves, etc., which are not a part of the appliance when it is shipped from the factory.
- Service calls to repair or replace appliance light bulbs, air filters, water filters, other consumables, or knobs, handles, or other cosmetic parts.
- Surcharges, including, but not limited to, any after-hour, weekend, or holiday service calls, tolls, ferry trip charges, or mileage expense for service calls to remote areas, including the state of Alaska.
- Damages to the finish of the appliance or home incurred during installation, including but not limited to floors, cabinets, walls, etc.
- Damages caused by: services performed by unauthorized service companies; use of parts other than genuine Electrolux parts or parts obtained from persons other than authorized service companies; or external causes such as abuse, misuse, inadequate power supply, accidents, fires, or acts of God.
DISCLAIMER OF IMPLIED WARRANTIES; LIMITATION OF REMEDIES
Customer’s sole and exclusive remedy under this limited warranty shall be product repair or replacement as provided herein. Claims based on implied warranties, including warranties of merchantability or fitness for a particular purpose, are limited to one year or the shortest period allowed by law, but not less than one year.
Electrolux shall not be liable for consequential or incidental damages, such as property damage and incidental expenses, resulting from any breach of this written limited warranty or any implied warranty. Some states and provinces do not allow the exclusion or limitation of incidental or consequential damages, or limitations on the duration of implied warranties, so these limitations or exclusions may not apply to you. This written warranty gives you specific legal rights. You may also have other rights that vary from state to state.
If You Need Service
Keep your receipt, delivery slip, or some other appropriate payment record to establish the warranty period should service be required. If service is performed, it is in your best interest to obtain and keep all receipts. Service under this warranty must be obtained by contacting Electrolux at the addresses or phone numbers below.
This warranty only applies in the USA and Canada. In the USA, your appliance is warranted by Electrolux Major Appliances North America, a division of Electrolux Home Products, Inc. In Canada, your appliance is warranted by Electrolux Canada Corp. Electrolux authorizes no person to change or add to any obligations under this warranty. Obligations for service and parts under this warranty must be performed by Electrolux or an authorized service company. Product features or specifications as described or illustrated are subject to change without notice.
For More Manuals By Frigidaire, Visit ManualsLibraryy
Frigidaire GRMC2273CF-C1 4-Door French Door Refrigerator-FAQS
Is the Frigidaire French Door Refrigerator reliable?
Yes. Users appreciate its large storage capacity, sleek look, and useful features like the internal water dispenser and efficient ice maker. Some note that ice production can be a bit slow.
What are the main benefits of the GRMC2273CF-C1 model?
This model offers spacious storage, a PurePour Connect™ water filter, TwinTech™ cooling, ENERGY STAR® efficiency, OpenAccess™ door design, smudge-proof stainless steel, and flexible bins in a counter-depth form.
What common issues occur with Frigidaire refrigerators?
Typical problems include dirty condenser coils, weak door seals, cooling issues, evaporator fan failures, thermostat problems, defrost system faults, and occasional water leaks.
Which is better: Frigidaire or LG refrigerators?
Frigidaire is known for durability and affordability, while LG stands out for advanced features and modern styling. Frigidaire may be louder than LG models.
Which refrigerator brand is ranked number one globally?
LG is often rated the top refrigerator brand thanks to strong performance, user satisfaction, and innovative features.
Which refrigerator brand has the fewest problems?
LG, Whirlpool, Frigidaire, and KitchenAid consistently receive strong consumer reliability ratings.
Where are Frigidaire refrigerators manufactured?
Frigidaire appliances are produced in the USA, Mexico, and China. Many units are assembled in Tennessee and other U.S. plants.
What are the disadvantages of a French door refrigerator?
French door models may have slightly less freezer space and are often pricier than top-freezer and side-by-side designs.























