
GreenPan CC010322-001 Frost Ice Cream Maker

IMPORTANT SAFEGUARDS
When using an electrical appliance, basic safety precautions should always be followed to reduce the risk of fire, electric shock, and or injury, including the following:
- Read all instructions before using.
- If the supply cord is damaged, it must be replaced by the manufacturer, its service agent, or a similarly qualified person to avoid a hazard.
- This appliance is not intended for use by persons (including children) with reduced physical, sensory, or mental capabilities, or a lack of experience and knowledge, unless they have been given supervision or instruction concerning use of the appliance by a person responsible for their safety. Children should be supervised to ensure that they do not play with the appliance.
- This appliance can be used by children aged 8 years and above and persons with reduced physical, sensory, or mental capabilities or lack of experience and knowledge if they have been given supervision or instruction concerning the use of the appliance in a safe way and understand the hazards involved. Children shall not play with the appliance. Cleaning and user maintenance shall not be made by children without supervision.
- Turn the appliance OFF, then unplug the appliance from the outlet when not in use, before assembling or disassembling parts, and before cleaning. To unplug, grasp the plug by the body and pull from the outlet. NEVER unplug by grasping and pulling the flexible cord.
- ALWAYS use the appliance on a dry and level surface.
- Keep hands, hair, and clothing out of the mixing container when loading and operating.
- During operation and handling of the appliance, avoid contact with moving parts.
- Before the operation, ensure all utensils are removed from containers. Failure to remove utensils can cause containers to shatter and potentially result in personal injury and property damage.
- DO NOT carry the unit by the handle. ONLY lift when grasping both sides of the bottom of the unit.
WARNING:
- Do not store explosive substances such as aerosol cans with a flammable propellant in this appliance.
- Keep ventilation openings in the appliance enclosure or in the built-in structure clear of obstruction.
- Do not use mechanical devices or other means to accelerate the defrosting process, other than those recommended by the manufacturer.
- Do not damage the refrigerant circuit.
- Do not use electrical appliances inside the food storage compartments of the appliance, unless they are of the type recommended by the manufacturer.
- When positioning the appliance, ensure the supply cord is not trapped or damaged.
- Do not locate multiple portable socket-outlets or portable power supplies at the rear of the appliance.
- When disposing of the appliance, do so only at an authorized waste disposal center. Do not expose to flame.
DANGER:
- Risk of fire or explosion. Flammable refrigerant used. Do not use mechanical devices to defrost the refrigerator. Do not puncture refrigerant tubing.
- Risk of fire or explosion. Flammable refrigerant is used. To be repaired only by trained service personnel. Use only manufacturer-authorized service parts. Any repair equipment used must be designed for flammable refrigerants. Follow all manufacturer repair instructions. Do not puncture refrigerant tubing.
BEFORE FIRST USE & PARTS
- Read all instructions and important safeguards.
- Remove all packaging materials and check that all items have been received in good condition.
- Tear up all plastic bags and dispose of them properly, as they can pose a suffocation or choking risk to children.
- Wash all accessories in warm, soapy water. Rinse and dry thoroughly.
- Ensure the main body is level on a flat, solid, and dry surface.
NOTE: Do not use harsh abrasive cleaners. If washing accessories in the dishwasher, a slight discoloration to the accessories may occur. This is cosmetic only and will not affect performance.
WHAT’S INSIDE
- Ice Cream Cone Holder
- Main Body
- Control Dial
- Cooling Rod
- Stirring Blade
- Mixing Bowl
- Two-Part Removable Drip Tray
- Mixing Bowl Cover
- Removable Decorative Cover
- Extrusion Head
- Handle
- Handle Fixing Pin
- Extrusion Head Slot
- Mode Button
- Accessory Bag
- Extrusion Head Gaskets (x2)
- Swirl Extrude Cover Accessory (x2)
- Bristle Cleaning Brush
- Silicone Cleaning Brush/Installation Rod

GUIDE TO INCLUDED ACCESSORIES

PIECES
- A. Silicone Cleaning Brush/Installation Rod: Used to clean the extrusion head slot. The handle can be used to push the extruder head in and out of the extrusion head slot.
- B. Bristle Cleaning Brush: Used to clean the mixing bowl and attachments.
- C. Accessory Bag
- D. Extrusion Head Gaskets (x2): These 2 extra replacement gaskets for the extrusion head are included if they are ever lost or damaged. NOTE: Damaged gaskets can cause minor leaks from the extrusion head.
- E. Swirl Extrude Cover Accessories (x2): These extruder cover accessories are included to add a classic swirl pattern to your ice cream, sorbet, frozen custards, frozen yogurts, and more. An additional piece is included if one is ever lost or damaged.
CONTROLS
CONTROL PANEL
- Slushie: Use slushie mode to make icy treats and more.
- Soft Ice Cream: Use for ice cream, frozen custards, frozen yogurts, sherbet, and more.
- Spiked Slushies: Use spiked slushie mode to make delicious icy drinks with alcohol.
- Sorbet: Make fresh fruit sorbets for healthier alternatives.
- Milkshake: Make soft or thick milkshakes with milkshake mode.
- Extrude/Clean: Use the extrude mode to clear the mixing bowl of ingredients when ready. Once done, add warm water and soap to the previously extruded mixing bowl for a quick clean.

CONTROL DIAL:
Turn the control dial to cycle between textures on specified modes. Press the control dial to start the mode. Press and hold the control dial to stop a mode.
MODE BUTTON:
Use the mode button to cycle between the 6 modes. Tip: Once the unit is in COOL, press the mode button to begin extrude mode. Press again to go back to cool mode.
ASSEMBLY INSTRUCTIONS
NOTICE: Keep the unit upright for at least 2 hours before first use.
- Ensure all parts are fully cleaned, and the Ice Cream & Frozen Drink Maker is level on a flat, solid surface. (Fig. 1).

- Insert the two-part removable drip tray in front of the motor base. Insert the drip tray from the wider side and slide it under the main body. (Fig. 2)

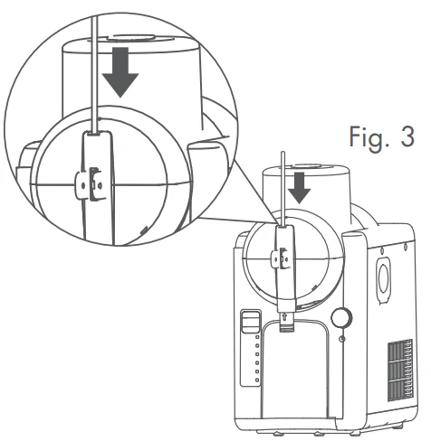
- Install the stirring blade on the cooling rod by aligning the square end of the cooling rod with the opening of the stirring blade. Make sure the bottom of the stirring blade is affixed to the cooling rod. (Fig. 3)

- Attach the removable decorative cover to the end of the mixing bowl and turn to the right to lock in place. (Fig. 4)

- Insert the mixing bowl onto the main body with the decorative cover facing outward. Once in the correct position, turn the mixing bowl clockwise to lock into place. Please reference the icons on the main body of the unit for further reference.
- Put the removable extrude head into the extrude head slot and install the latch sleeve to tighten it. This part must be in place to operate. The back end of the silicone cleaning brush/installation rod can be used here to insert properly. See insertion directions below.
REMOVABLE EXTRUDE HEAD & HANDLE INSTALLATION
- Insert the extrusion head into the extrude head slot right side up (as shown below). Use the back end of the Silicone Cleaning Brush/Installation Rod to push the extrusion head into the correct place. This will allow the handle to be inserted. (Fig. 1)

- Once the extrusion head is in place, insert the handle into the opening of the extrusion head slot. Make sure the handle is facing upward. (Fig. 2)

- Hold this handle in place and thread the handle fixing pin through the hole on the mixing bowl and the hole on the handle. Make sure that the pin latch is in the correct position and is placed all the way through. Lock the extrusion pin in the up position to continue.
- To disassemble for cleaning, remove the pin and handle, and thread the backside of the Silicone Cleaning Brush/Installation Rod through the top of the extrude head slot to slide out the removable extrude head. (Fig. 3)

OPERATION
- Plug the Ice Cream & Frozen Drink Maker into an outlet. Once this is done, the screen will illuminate. If a texture or new mode is not selected in 1 minute, the unit will go into standby mode.
- To select a mode, press the Mode Button below the dial until you select your desired mode. The control panel indicator will illuminate in the current mode selected. (Fig. 1)

- Once the correct mode is chosen, use the control dial to select the desired texture of your frozen treat. Each mode has its own texture level. For reference, Level 1 is thinner and softer, and higher levels are firmer or thicker. Press the control dial to begin the mixing process.
- PLEASE NOTE: Always make sure the handle is in the up position before adding ingredients into the mixing bowl. After the desired texture is selected and mixing has begun, open the mixing bowl cover and add your ingredients to the mixing bowl. (Fig. 2) IMPORTANT: If adding very cold premixed ingredients from the refrigerator to the Frost, use texture level 3 to help prevent jamming. If you want a firmer texture after this has completed, increase the texture level after the COOL Mode has started.

- The Ice Cream & Frozen Drink Maker will begin to make your frozen treat. Time will vary depending on the mode selected, the temperature of the mix, and the amount of content in the mixing bowl.
- Once the Ice Cream & Frozen Drink Maker determines the mixture is ready, the unit will beep, and COOL will display on the screen.
- You can extrude your frozen treats while in COOL mode by pulling the handle down, as the stirring blade will continue to spin. If you want to extrude more quickly, simply press the mode button, and the program will change to extrude/clean. After 1 minute, this will return to the cool mode, or you can press the mode button again to return to the previous mode. (Fig. 3)

- If you notice the mixture is not to your desired texture or firmness in cool mode, increase the texture level by turning the control dial to a higher setting. A texture cannot be decreased, ONLY increased once in COOL mode. After a higher setting is selected, press the control dial to confirm.
- If you want to stop the cooling/mixing process at any time, hold down the control dial for 3 seconds. This will cancel the selected mode and texture.
EXTRUDE/CLEAN MODE
In this mode, the stirring blade rotates at a high speed without cooling to extrude or clean all contents from the unit.
EXTRUDE
- Select Extrude/Clean mode by pressing the mode button. Confirm mode by pressing the control dial.
- The stirring blade will begin to spin. Put a large bowl or storage container under the removable extrusion head. Once ready, pull the handle down.
CLEAN
- Once all of the ingredients are extruded from the mixing bowl, put the handle into the up position, add warm water, and a small amount of soap. Fill up to the bowl’s max fill line.
- The stirring blades will continue to rotate to clean the mixing bowl, cooling rod, and stirring blade.
- The Extrude/Clean mode will work for a total of 5 minutes. Let the soapy water stir for approximately one minute. Add a large bowl or pitcher under the Ice Cream & Frozen Drink Maker and pull the handle down to extrude the contents of the mixing bowl. We recommend repeating this 1 or 2 times to completely clean the unit. Please reference cleaning & maintenance instructions on page 13 for more details.
- Press and hold the control dial to exit this mode or let the 5 minutes elapse.
TIP: Adding warm water and soap more than once will clean the inner parts more.
CLEANING & MAINTENANCE
IMPORTANT: For easier cleaning of internal parts, always use extrude/clean mode before removing the mixing bowl. The Extrude/Clean mode will work for a total of 5 minutes. Let the soapy water stir for approximately one minute. Add a large bowl or pitcher under the Ice Cream & Frozen Drink Maker and pull the handle down to extrude the contents of the mixing bowl. We recommend repeating this 1 or 2 times to completely clean the unit.
The stirring blade, mixing bowl, two-part removable drip tray, extrusion head, cleaning brush, and removable decorative cover are top rack dishwasher safe.
DISASSEMBLY FOR CLEANING
- Pull out the pin, remove the handle, and rotate counterclockwise to remove the decorative cover. (Fig. 1)

- Use the back end of the silicone cleaning brush/installation rod to push out the removable extrusion head for cleaning, and then use the cleaning brush to clean the extrusion head slot. (Fig. 2)

- Rotate the mixing bowl counterclockwise, then gently remove the mixing bowl from the main unit and set it aside. (Fig. 3)

- Remove the stirring blade from the cooling rod and wipe the remaining liquid on and around the cooling rod with a dry dishcloth. (Fig. 4)

- Slide the two-part removable drip tray out of the main body and clean the parts with wet, soapy water. Dry before using again. (Fig. 5). All dishwasher-safe parts should NOT be cleaned with a heated dry cycle.

TIP: When cleaning the mixing bowl in the dishwasher, remove the bowl’s bottom cover before putting it into the dishwasher. Once the cycle is complete, let the mixing bowl dry without the bottom cover.
TROUBLESHOOTING


LIMITED WARRANTY
GreenPan Electrics are covered by a limited warranty against defects in materials and workmanship, beginning on the date you receive the product and lasting for two years. If your GreenPan Electrics product has a defect covered by the limited warranty during the warranty period, The Cookware Company (USA), LLC will, at its sole option, replace the product or provide a refund. Further information on the warranty claim process, exclusions from warranty coverage, and other terms can be found in the complete limited warranty for this product, available online at greenpan.us/warranty.
TERMS OF SALE; ARBITRATION
The terms on which The Cookware Company (USA), LLC sells GreenPan Electrics are available online at greenpan.us/pages/terms-of-sale (the “Terms”). The Terms contain very important information regarding your rights and obligations, as well as conditions, limitations, and exclusions that may apply to you. Please read them carefully.
In particular, the Terms provide that, by your purchase of this product, you and The Cookware Company (USA), LLC are agreeing to give up any rights to litigate in a court or before a jury, or to participate in a class action or representative action with respect to a claim. Other rights that you would have if you went to court may also be unavailable or limited in arbitration. Any claim, dispute, or controversy between you and The Cookware Company (USA), LLC arising from or relating in any way to your purchase of products or services will be resolved exclusively and finally by binding arbitration.
The arbitration will be administered by the American Arbitration Association (“AAA”) in accordance with the Consumer Arbitration Rules (the “AAA Rules”) then in effect, except as modified hereby. (The AAA Rules are available at adr.org or by calling the AAA at 1-800-778-7879.) The Federal Arbitration Act will govern the interpretation and enforcement of this arbitration and waiver provision.
The Cookware Company (USA), LLC will be responsible for the AAA filing fee of any such proceeding. Other than your right to pursue a claim in small claims court, as described in the Terms, the arbitrator will have exclusive authority to resolve any dispute relating to arbitrability and/or enforceability of this arbitration provision, including any unconscionability challenge or any other challenge that the arbitration provision or these Terms are void, voidable, or otherwise invalid.
The arbitrator will be empowered to grant whatever relief would be available in court under law or in equity. Any award of the arbitrator(s) will be final and binding on each of the parties and may be entered as a judgment in any court of competent jurisdiction. Attorney fee shifting in this case is governed by the Terms.
You agree to an arbitration on an individual basis. In any dispute, NEITHER YOU NOR THE COOKWARE COMPANY (USA), LLC WILL BE ENTITLED TO JOIN OR CONSOLIDATE CLAIMS BY OR AGAINST OTHER CUSTOMERS IN COURT OR IN ARBITRATION OR OTHERWISE PARTICIPATE IN ANY CLAIM AS A CLASS REPRESENTATIVE, CLASS MEMBER, OR IN A PRIVATE ATTORNEY GENERAL CAPACITY.
The arbitral tribunal may not consolidate more than one person’s claims and may not otherwise preside over any form of representative or class proceeding. The arbitral tribunal has no power to consider the enforceability of this class arbitration waiver, and any challenge to the class arbitration waiver may only be raised in a court of competent jurisdiction. If any provision of the arbitration agreement described herein and in the Terms is found unenforceable, the unenforceable provision will be severed, and the remaining arbitration terms will be enforced.
For More Manuals By GreenPan, Visit ManualsLibraryy.
GreenPan CC010322-001 Frost Ice Cream Maker-FAQs
Does the GreenPan Frost Ice Cream Maker require sugar?
Yes, recipes made in the GreenPan Frost must contain at least 4% sugar for proper churning and texture. Sugar is essential because it lowers the freezing point of the mixture, preventing it from becoming too hard or icy during the process. Without enough sugar, the machine may struggle to churn effectively, and the final texture can turn grainy instead of smooth and creamy.
How long does the GreenPan Frost take to make ice cream?
The GreenPan Frost typically takes between 25 and 30 minutes to produce traditional ice cream. Lighter mixtures, such as protein milkshakes or softer frozen drinks, may be ready in about 15 minutes. The total time can vary depending on the recipe, ingredient temperature, and desired consistency. For best results, start with well-chilled ingredients to ensure a smoother and faster freezing process.
What ingredients do I need to use the GreenPan Frost?
Most classic ice cream recipes require simple ingredients such as cream, milk or half-and-half, sugar, and flavoring like vanilla extract. Some recipes may include eggs for a custard base, while others skip them entirely. The key requirement is maintaining the minimum sugar content for proper freezing. You can also experiment with frozen yogurt, sorbet, or dairy-free alternatives as long as the recipe balances sweetness and fat.
How do I use the GreenPan Frost Ice Cream Maker?
To use the GreenPan Frost, prepare and chill your mixture in advance. Pour it into the machine according to the fill guidelines, then select the appropriate setting if available. The machine churns and freezes the mixture simultaneously until it reaches a soft-serve consistency. For firmer ice cream, you can transfer it to a freezer-safe container and freeze it for an additional hour or two before serving.
How do I clean the GreenPan Frost Ice Cream Maker?
After each use, unplug the machine and allow any removable parts to warm slightly before cleaning. Wash detachable components with warm, soapy water and dry them thoroughly before reassembling. Avoid immersing the motor base in water. Regular cleaning prevents residue buildup and maintains performance. Always consult the official care and use instructions to ensure you are following the manufacturer’s recommendations properly.
What are common mistakes when making homemade ice cream?
Common mistakes include not chilling the mixture beforehand, using too little sugar, or overfilling the machine. Another issue is stopping the churn cycle too early, which can result in a runny texture. Using warm ingredients also slows the freezing process and affects consistency. Following recipe ratios carefully and allowing adequate churning time helps produce a smoother, creamier result with better structure.
Is it worth buying the GreenPan Frost Ice Cream Maker?
If you enjoy customizing flavors and controlling ingredients, the GreenPan Frost can be a worthwhile investment. It allows you to experiment with healthier options, dairy-free recipes, or high-protein blends at home. While it requires some preparation time, many users find the convenience and flavor flexibility valuable. The relatively quick churn time also makes it practical for regular use.
Can I make frozen yogurt in the GreenPan Frost?
Yes, you can make frozen yogurt in the GreenPan Frost as long as your recipe meets the minimum sugar requirement. Frozen yogurt often contains less fat than traditional ice cream but may still include comparable sugar levels for balance and texture. Ensure your yogurt mixture is well chilled before churning to achieve a creamy consistency rather than an icy result.
Why is my ice cream not thickening properly?
If your ice cream remains too soft, the mixture may not contain enough sugar or fat, or it may not have been chilled sufficiently before churning. Room-temperature ingredients slow down the freezing process. Overloading the machine can also affect performance. Ensuring proper ingredient ratios and starting with cold liquid significantly improves the final thickness and texture.
Can I make dairy-free or low-sugar recipes in the GreenPan Frost?
You can prepare dairy-free recipes using alternatives like coconut milk, almond milk, or oat milk, provided the sugar content stays above the minimum threshold. Low-sugar recipes require careful formulation, since too little sugar affects freezing and texture. Some natural sweeteners can work if they maintain a proper balance. Always adjust recipes thoughtfully to preserve smoothness and prevent icy results.

















