
Hoover SteamVac SpinScrub Carpet Cleaner

Important Safeguards!
- Use indoors only.
- Use only on surfaces moistened by the cleaning process or small spills. Do not immerse the product.
- Connect to a properly grounded outlet only. See “Grounding Instructions”.
- Do not clean over-floor electrical outlets.
- Do not use without tanks in place.
- Use extra care when cleaning on stairs. Do not place deep cleaner on stairs.
- Use deep cleaner only for its intended use as described in the instructions.
- Use only attachments recommended by The Hoover Company; others may cause hazards.
- The use of an extension cord is not recommended. If an extension cord is absolutely necessary, use at least a 16 gauge 3-wire cord which has a 3-prong grounding type plug and a 3-pole receptacle that accepts the machine plug.
- Unplug the deep cleaner when not in use. Turn off all controls before unplugging.
- Unplug before connecting the powered hand tool.
- Always disconnect the cord from the electrical outlet before servicing the deep cleaner.
- Do not unplug by pulling on the cord. To unplug, grasp the plug, not the cord.
- Never handle a plug or appliance with wet hands.
- Do not pull or carry by cord, use the cord as a handle, close the door on the cord, or pull the cord around sharp edges or corners. Do not run the appliance over the cord. Keep the cord away from heated surfaces.
- Do not use a damaged cord or plug. If an appliance is not working as it should, has been dropped, damaged, left outdoors, or dropped into water, take it to a Hoover Factory Service Center or Authorized Hoover Warranty Service Dealer.
- Close supervision is necessary when any appliance is used by or near children. Do not allow the deep cleaner to be used as a toy or to run unattended at any time.
- Do not point tools toward people or pets.
- Use only commercially available floor cleaners intended for machine application. Do not use any type of wax with deep cleaner.
- To assist In reducing drying time, be certain the area is well-ventilated when using detergents and other cleaners with this machine.
- Keep detergents and other cleaners out of children’s reach.
- Do not use to pick up flammable or combustible liquids such as gasoline or use in areas where they may be present.
- Do not pick up chlorine bleach, drain cleaner, gasoline or any other toxic material with this appliance.
- Do not pick up anything that is burning or smoking, such as cigarettes, matches, or hot ashes.
- Avoid picking up hard, sharp objects with the deep cleaner. They may damage the machine.
- Keep hair, loose clothing, fingers, feet, and all parts of the body away from openings and moving parts.
- Do not put any objects into openings. Do not use any opening blocked; keep free of dust, lint, hair, and anything that may reduce airflow.
- To help prevent matting and re-soiling, avoid contact with carpets until they are dry. Keep children and pets away from carpets until they are completely dry.
- Store in a dry place. Do not expose the machine to freezing temperatures.
Grounding Instructions
This appliance must be grounded. If it should malfunction or break, grounding provides a path of least resistance for electrical current to reduce the risk of electric shock. This appliance is equipped with a cord having an equipment grounding conductor (C) and grounding plug (A). The plug must be plugged into an appropriate outlet (B) that is properly installed and grounded in accordance with all local codes and ordinances.
DANGER
Improper connection of the equipment grounding conductor can result in the risk of electric shock. Check with a qualified electrician or service person if you are in doubt as to whether the outlet is properly grounded. Do not modify the plug provided with the appliance – if it will not fit the outlet, have a proper outlet installed by a qualified electrician. This appliance is for use on a nominal 120-volt circuit and has a grounding plug that looks like the plug illustrated in sketch (A).
A temporary adapter (D) may be used to connect this plug to a 2-pole receptacle (E) if a properly grounded outlet is not available. The temporary adapter should be used only until a properly grounded
outlet (B) can be installed by a qualified electrician. The green-colored rigid ear, lug, or the like (E) extending from the adapter must be connected to a permanent ground (G) such as a properly grounded outlet box cover. Whenever the adapter is used, it must be held in place by a metal screw.
NOTE: In Canada, the use of a temporary adapter is not permitted by the Canadian Electrical Code.
ASSEMBLY
Carton contents

Unpack deep cleaner from the carton and identify the parts shown. Remove and dispose of the packing.
- A. Deep cleaner
- B. Upper handle with a powered hand tool and scrub module
- C. Bolts (2)
- D. Nuts (3 – one extra included)
- E. Carpet/Upholstery Detergent
- F. Bare Floor Cleaner
- G. Bare floor attachment
- H. Hose holder
- I. Crevice tool
- J. Nozzle cleanout-tool Contained in the carton with hose:
- K. Hose
- L. Stair/upholstery nozzle
- M. Tool holder and screw (taped on the rack under nozzle)
The assembled cleaner will look like this drawing
Assemble handle

- Attach the upper handle Remove the clean solution tank (upper tank) from the deep Gleaner.

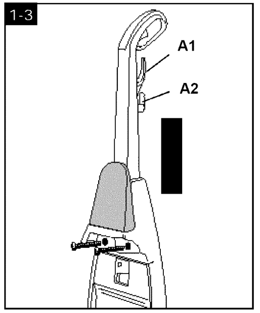
With a hose hook (A1) and cord hook (A2) to the back of the deep Gleaner, push the upper handle down onto the lower handle. Push bolts into holes on the front of the handle. If bolts will not go through h01e easily handle is not pushed completely down.
Attach hose holder
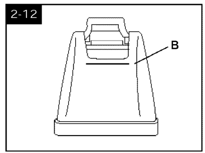
Position the hose holder (B) onto the handle by matching tabs on a rack with openings on the back of the handle. Make sure holes for bolts are aligned.
- Place nuts in recessed areas on the back of the handle. Hold each nut in place while tightening each bolt securely (from the front or the handle) with a Phillips screwdriver. Only two nuts are needed in this model. The extra nut is not required but has been provided for your convenience.

- When handle sections are completely together, squeeze the trigger (C) and depress the Clean Surge TM Button (D) on the upper handle. You will hear a “snap” when the trigger rod is in place.

- Replace the clean solution tank (upper tank) by positioning the bottom first. Press on the tank handle to snap the top of the tank into place.
Attach tool holder

- Remove tool and taped screw from the holder. Insert projections on the holder into slots on the back of the Gleaner.

- Slide rack down into place. Insert screw at (E) and tighten with a Phillips screwdriver.

- Press the cord into the cord clip on the back of the handle. Pull the cord tight and wrap the cord around hooks (A2).
Storing hose and tools

- Store the hose on the rack by first positioning the hose in the front section of the clip.

- Continue wrapping the hose over the upper hose hook (F) and under the lower hook (G). Snap hose end fully into the holder (H). Ensure that the hose end is pushed down completely into the holder (H).

- Slide crevice tool (a)into the holder. Position the stair/upholstery nozzle in the holder at the base of the cleaner and snap it into place as shown in the arrow.

- Insert end of the bare floor attachment into the holder and snap it into the clip as shown.
Powered hand tool 
- The powered hand tool is shipped in a plastic bag for protection. Remove the bag before using the tool by first opening tool door.

- To remove the powered hand tool (J), pull it down and outward. To reposition the tool, reverse this procedure. To remove the scrub module (K), grasp it at the sides and pull it forward. To reposition the module, fit tabs in the storage area into holes on the back of the module. Push the module to snap it securely into position.
How to reattach tool cover

- The tool cover is designed with a breakaway feature which allows it to snap free if it is pushed open to a fan To reattach, align the edges of the cover with holes on the sides of the tool storage area.
HOW TO USE
Deep Cleaner Description
The assembled deep cleaner will look like the drawing.
- Hand grip
- Solution trigger: press to release a clean solution.
- Clean Surge TM button
- Hose
- Hose holder: wrap the hose around the holder and top hose hook (6) for storage.
- Hose hook
- Cord hooks: wrap the cord around hooks for storage. The top hook can be rotated right or left for quick and easy cord release.
- Scrub module
- Powered hand tool
- Carrying handle
- Clean solution tank handle
- Clean solution tank cap/measuring cup
- Clean solution tank: holds cleaning solution.
- Recovery tank handle: raise the handle to unlock the tank for removal; lower the handle forward to lock the tank into position.
- Recovery tank: holds the dirty solution.
- Brush speed selector: slide selector to set brush speed on HI, LO, or OFF.
- MAX Extract TM Indicator
- Hood
- Headlight: on both sides of the hood
- Edge bristles: on both sides of the hood for cleaning close to the edges of the carpet.
- Nozzle
- Cleaning mode indicator: shows either floor or tool usage
- ON/OFF pedal
- Handle release pedal: step on the pedal to lower the handle to the operating (floor) position;
- Stair/upholstery nozzle
- Crevice tool
- Bare floor attachment This deep cleaner is intended for household use.
Operate deep cleaner only at the voltage specified on the data plate on the back of the cleaner. Plug deep cleaner into a properly grounded outlet.
ON/OFF pedal Handle release pedal

- Step on the pedal (A) to turn deep cleaner on. Step on the pedal again to turn the deep cleaner off.
Step on pedal (B) to lower the handle to the operating position. The handle does not lock into a single position but “floats” to allow convenient operation.
Cleaning mode indicator

- The indicator will show a green window next to FLOOR (C) when the handle is in the operating position for cleaning carpet rugs and bare floors. Indicator will show a green window next
to TOOL (D) when the handle is in the upright position for tool use on stairs, upholstery, etc. Deep cleaner automatically diverts suction from FLOOR toTOOL when the handle is raised from the operating to the upright position.
To transport
- To move your deep cleaner from room to room put the handle upright and locked position tilt deep cleaner back on wheels and push forward.

The deep cleaner may also be lifted by placing a hand under the upper clean solution tank handle as shown.
MAX Extract TM feature

The ‘MAX Extract’ lights tell you two things.
- When the recovery tank is full and needs to be emptied.
- When the deep cleaner is no longer picking up dirty solution from an area.
The ‘MAX Extract’ feature will function for both carpet cleaning and tool use.
Red light
When the red light (E) flashes, the recovery tank is full and needs to be emptied. The Automatic “shut off” will also activate when the tank is full (see following section).
Amber and green lights
When the deep Gleaner senses that dirty solution is being picked up, the amber light (F)will come on.
When the deep Gleaner senses that little or no dirty solution is being picked up, the green light (O) will come on. When the amber light is on, continue taking dry Gleaning strokes until the green light comes on. Then move on to the next area to be cleaned. (See “How to clean” section for further instructions.)
Automatic “shut off”

When the recovery tank (lower tank) is full the automatic shutoff mechanism will shut off the deep cleaner suction (suction will be noticeably reduced). At that time the yellow float disk will rise to the top of the recovery tank lid (m). The deep cleaner will no longer pick up dirty solution, the motor sound will
become noticeably higher in pitch and the red ‘MAX Extract’ light will come on. When this happens turn the deep cleaner off and empty the recovery tank before continuing use.
Check the Glean solution tank also; it may need to be refilled. Do not use without float and float retainer in place. If broken or dislodged, take it to an Authorized Hoover Service Center or Dealer for repair.
Brush speed selector

Your ‘SteamVac deep cleaner has three agitator brush settings.
- HI – for normal cleaning or carpet and bare floors
- LO – for gentle Gleaning of carpets and bare floors
- OFF – for cleaning carpets and bare floors when brushing is not desired. (Such as when picking up liquid spills. See page 10.)
Slide the selector button to the desired setting before Gleaning.
The tanks

Clean solution tank (upper tank). The clean solution tank holds the Gleaning solution that is to be dispersed onto the surface to be cleaned.
How to fill
Disconnect the deep cleaner from the electrical outlet. Place deep cleaner handle in the upright, locked position. To remove the tank, press down on the tank handle and pull forward.
- Carry the tank to a sink. Rotate the tank cap counterclockwise and lift up to remove the cap.

- Turn cap (A) upside down to serve as a measuring cup. Using a cap, measure detergent following
the chart below.
- Pour detergent into the tank. Fill tank to fill line (B) (1 gallon) with hot tap water. To ensure proper performance, use only HOOVER cleaning detergent.

- If the rubber ring (C) on the cap has become dislodged, reposition it with an uneven side against the ledge (D) as shown.

- Replace cap. Rotate cap clockwise until it locks In place. Cap must be locked In place for proper performance and to prevent leaking.

- Position the bottom of the tank into the unit and press on the tank handle to snap the tank into place.
HOW TO CLEAN
Before you begin cleaning
- Vacuum thoroughly – For carpet, use a HOOVERvacuum cleaner with an agitator for best results. Vacuum upholstery with a vacuum cleaner with cleaning tool attachments. Use a crevice tool to
reach into tufts and folds. Do not use the ‘SteamVac’deep cleaner as a dry vacuum cleaner. - For upholstery, check cleaning code – Use your HOOVER ‘SteamVac’ ‘Spin Scrub’ deep cleaner only if the upholstery fabric is marked with a “W” (for “wet” clean) or “S/W” (for “solvent/dry” or “wet” clean). Do not clean fabric marked “S” (“solvent/dry” clean only). If your upholstery does not
have a code, and seek professional assistance. - Test for colorfastness – Mix detergent and water according to the instructions under “Fill clean solution tank”, Figs. 2-9 to 2-15. Wet a white absorbent cloth with the solution. In a small, hidden area, gently rub the surface with the dampened cloth. Wait ten minutes and check for color removal or bleed with wa hite paper towel or cloth. If the surface has more_ than one color, check all colors.
- When cleaning the entire floor, move furniture out of the area to be cleaned (may not be necessary if only high-traffic areas are to be cleaned). For furniture too heavy to move, place aluminum foil
or wax paper under the legs. This will prevent wood finishes from staining the carpet. Pin up furniture skirts and draperies. - Pretreat spots and heavy traffic areas with HOOVER® PreCleaner* Test PreOleaner for colorfastness by first spraying it on a hidden area; wait ten minutes and blot with white paper towels or cloth. If no color change is visible, spray PreCleaner onto spots and traffic areas. Wait at least ten minutes. Use your ‘StearnVac’ ‘Spin Scrub’ deep cleaner to pick up PreCleaner and spot. Repeat until spot is removed; carefully scrub with a household scrub brush if necessary.
After cleaning
- Allow carpet or upholstery to dry. To help prevent matting and re-soiling the carpet, keep children and pets away from the surface until it is completely dry. If it is necessary to walk on damp carpet, place towels or white cloths in the traffic areas. If furniture must be replaced before the carpet is dry, place plastic or aluminum foil under the legs of the furniture so metal slides or wood finishes will not stain the carpet.
- If desired, the carpet may be rinsed. Rinsing is not necessary for cleaning, but it may improve the surface’s appearance after it is dry. If rinsing is desired, be careful not to over-wet the carpet or upholstery. Allow time for carpet or upholstery to dry completely between cleaning and rinsing. To rinse, follow the same procedure for cleaning only using hot tap water with no detergent in the upper clean solution tank.
- Ernpty tanks, rinse with clear water, and let air dry. Rinse the solution tank cap and recovery tank lid and let air dry.
Carpet Cleaning
Read “Before you begin cleaning” instructions on page 9.
- Fill Glean solution t_lnk (upper tank) with HOOVERCarpet/Upholstery Detergent according to instructions for Figs. 2-9 to 2-15.
- Move the speed selector to LO for gentle cleaning or HI for normal cleaning.
- Dry h_lnds and plug the cord into a properly grounded outlet. Do not clean over-floor electrical outlets.
- To avoid walking on damp carpet, start at the end of the room farthest from the door or path to the sink where tanks will be emptied and filled. Step on the handle release the pedal and lower the
handle to the operating position; turn deep cleaner ON. - Squeeze the trigger to release the cleaning solution and slowly push the deep cleaner forward (equals one wet stroke).
- Continue to squeeze the trigger and slowly pull deep cleaner back toward you (second wet stroke). Release the trigger and slowly push the deep Gleaner forward over an area just sprayed with solution (dry stroke). Then slowly pull the deep cleaner back toward you without squeezing the trigger (dry stroke). Continue going over the area with dry strokes until the green ‘MAX Extract’ light comes on.

- Overlap strokes by 1 inch to help prevent streaking. Keep the nozzle flat on the floor for both forward and reverse strokes.
- For heavily soiled areas, repeat steps 5-7. Avoid saturating the carpet, as noted below.
- For particularly soiled carpets or spots, use the Clean Surge TM button (see the following section). Avoid saturating the carpet, as noted below. It is best to alternate wet and dry strokes as described above. For best cleaning results and to aid in faster drying of carpet, end with more dry strokes. (Continue using dry strokes until little water is visible passing through the recovery tank lid and the green ‘MAX Extract’ light comes on.)
- Empty the recovery tank when the red The ‘MAX Extract’ light comes on and the motor sound becomes higher pitched and there is a loss in suction (see “Automatic shut-off”, Fig. 2-7) When finished cleaning, follow “After cleaning” instructions on pages 9 & 10.
Maintenance
Headlight replacement
What to buy
The deep cleaner uses a 7 volt, wedge base type bulb, HOOVIER part no. 27313106.
Where to buy
Bulbs may be purchased from authorized Hoover dealers (Depot), Hoover Factory Service Centers, or through The Hoover Company online at www.hoover.com.
How to replace

Turn the cleaner off and with dry hands, disconnect the deep cleaner from an electrical outlet.
- Using a Phillips screwdriver, remove the screw as shown and lift off the lens.

- Pull the old bulb straight out of the socket.
- Push the new bulb straight into the socket until locked into place. Excessive force is not required. Reposition the lens and secure it with the screw.
Grasp the inner portion of the brush (A) and pull the brush assembly out slightly to reveal latches (B).
Press both latches (B) and pull the brush block out. The brushes can be cleaned under running water.
To replace brushes

Align posts (C) on both ends of the brush assembly with slots (U) in cleaner housing. Make sure that the square post (E) also aligns with the square hole (F). Turn brushes slightly until the post fits easily into
hole.
IF YOU HAVE A PROBLEM
If a minor problem occurs, it usually can be solved quite easily when the cause is found by using the checklist below,
Machine: Won’t Run
Possible cause
Possible Solution
- Not firmly plugged in
- Plug the unit in firmly
- No voltage in the wall plug
- Check the fuse or breaker
- Blown fuse/tripped breaker
- Replace fuse/reset breaker
Problem: Low Suction
Possible cause
Possible Solution
- Recovery tank full/automatic shut-off engaged
- Remove and empty the recovery tank
- Blockage in tool on end of hose
- Remove the tool and clear the blockage
- The recovery tank lid is not on correctly
- Make sure the lid is on securely
Service
To obtain approved HOOVER service and genuine HOOVER parts, locate the nearest Hoover Factory Service Center or Authorized Hoover Warranty Service Dealer (Depot) by:
- checking the Yellow Pages under Vacuum Cleaners – Household” OR
- checking the list of Factory Service Centers provided with this Gleaner
OR- - calling 1-800-944-9200 for an automated referral of authorized service outlet locations (U.S. only)
OR- ” checking the Service section of The Hoover Company on-line at www.hoover.com
For more manuals by HOOVER, visit ManualsLibraryy
Hoover SteamVac SpinScrub Carpet Cleaner-FAQs
Can I use any cleaning solution in my Hoover carpet cleaner?
Yes, but using a non-Hoover cleaning solution may void your machine’s warranty.
Can I use a Hoover carpet cleaner on hardwood floors?
It is not recommended to use a carpet cleaner on hardwood floors, as excess moisture can cause damage.
Can the Hoover Power Scrub be used on tile?
Yes, the Hoover Power Scrub can clean tile safely. It has non-scratching brushes and a strong cleaning solution to remove stains.
How does Hoover HeatForce technology work?
HeatForce™ Technology blows hot air onto the carpet while the Dry-Only Mode extracts excess water, speeding up drying time.
Can I use a Hoover vacuum on hard floors?
Yes, Hoover hard floor vacuums are designed to clean laminate, linoleum, and hardwood without scratching.
How do I clean my carpet with a wet vacuum?
Apply a carpet cleaning solution to the spot, gently dab with a towel, then use a wet/dry vacuum to extract the dirt and liquid.
Is vacuuming effective for tile floors?
Yes, using a soft brush attachment on your vacuum helps clean tiles effectively without scratching them.
What is the easiest way to clean a carpet?
Sprinkle baking soda, spray a mix of warm water and carpet shampoo, scrub, then blot dry. Rinse with water and blot again to remove residue.
Which Hoover vacuum setting should I use for carpets?
1. High setting: For deep-pile carpets like shag or plush.
2. Low setting: For low-pile carpets and rugs to avoid damage.
How do I use Hoover carpet cleaning solution?
Fill the water tank to the fill line, then add the cleaning solution. Depending on your Hoover model, the solution may go in a separate compartment or mixed into the water tank.



Position the hose holder (B) onto the handle by matching tabs on a rack with openings on the back of the handle. Make sure holes for bolts are aligned.

















