
PreciseFit DC0001N Steel Utility Dump Cart

SAFETY INFORMATION
SAFETY RULES
Remember, any power equipment can cause injury if operated. Understand how to operate the equipment. Exercise caution at improperly or if the user does not attend when using power equipment
CAUTION: Vehicle braking and stability may be affected with the addition of an accessory or an attachment. Be aware of changing conditions on slopes.
- Read this owner’s manual before attempting to assemble or operate the cart.
- Read the vehicle owner’s manual and know how to operate your tractor before using the cart attachment.
- Do not at any time carry passengers in this cart. It has not been designed to carry passengers.
- Never allow children to operate the tractor or the cart attachment.
- Do not allow adults to operate the tractor or cart attachment without proper instructions.
- Always begin with the transmission in first (low) and gradually increase speed as conditions permit.
- Tow the cart at reduced speed over rough terrain and hillsides or near creeks and ditches to prevent tipping over and loss of control. Do not drive too close to a creek or ditch.
- Attaching this cart may affect the vehicle’s braking and stability. Do not fill the cart to maximum weight capacity without checking the capability of the vehicle to safely pull and stop with the cart attached.
- Do not tow this cart on highways or public thoroughfares.
- The maximum towing speed is 10 mph.
PACKAGE CONTENTS



HARDWARE PACK CONTENTS



PREPARATION
Before beginning assembly or operation of the product, make sure all parts are present. Compare parts with the package contents list and the diagram above. If any part is missing or damaged, do not attempt to assemble or operate the product. Contact customer service for a replacement.
Estimated assembly time: 120 minutes.
Tools Required for Assembly
- 6 mm & 8 mm Open-end wrench (included)

- Spring assembly tool (included)

- Phillips screwdriver (not included)

- Adjustable wrench (not included)

ASSEMBLY INSTRUCTIONS
CAUTION
Do not leave the cart unattended in an upright position during assembly. A falling cart can cause personal injury. Pay close attention to the stability of the cart while it remains in an upright position. For stability, assemble on a smooth, level surface.
- Position cart beds (L) and side panels (M) upright on a smooth, level surface such as a garage floor or a paved driveway. See figure 1.
- Assemble halves using ten 6 mm x 12mm bolts (DD) and 6 mm nylock hex nuts (FF). Make sure the two bottom holes on the side panels (M) are left for step 6. Tighten. See figure 1.


- Position the tailgate reinforcement bracket (F) on the outside of the cart as shown in Figure 2. Assemble to the bottom of the cart body using six 6 mm x 12 mm bolts (DD) and 6 mm nylock hex nuts (FF). See figure 2.
- Position the tailgate guides (A) on the inside of the cart body with guide channels facing front as shown in Figure 2. Assemble using four 6 mm x 12 mm bolts (DD) and 6 mm nylock hex nuts (FF). See figure 2.

- Carefully reverse the position of the cart so that it rests on the tailgate reinforcement bracket, as shown in Figure 3.
- Assemble the front panel (H) over the end of the cart using fourteen 6 mm x 12 mm bolts (DD) and 6 mm nylock hex nuts (FF) as shown in Figure 3.


- Assemble two corner caps (B) to the front corners of the cart using four 6 mm x 12 mm bolts (DD) and 6 mm nylock hex nuts (FF). Tighten. See figure 3.
- Attach two 6 mm x 12 mm bolts (DD) and 6 mm nylock hex nuts (FF) to the two rear corners of the cart. Tighten. See figure 3.
- Turn the bed upside down. If necessary, use the cardboard from the carton to prevent scratching and damage to the finish.
- Assemble the wheel supports (l) to the cart bed using eight I mm x 16 mm bolts (EE) and 8 mm nylock hex nuts (GG). See figure 4.

- Assemble the latch stand bracket (E) to the cart bed so the aligning t3b is facing the way shown in Figure 5. Use four 8 mm x 16 mm bolts (EE) and 8an mm nylock hex nut (GG). See figure 5.

- Place the latch lock lever (C) through the slot in the draw bar tongue (K) as shown in Figure 3. Assemble the 8 mm x 95 mm bolt (BB) through the tongue, the lever, and two 8 mm jam nuts (HH) (one on each side of the lever). Assemble the 8 mm hex lock nut (GG) onto the end of the bolt and tighten so that the bolt can still rotate freely. Tighten the two jam nuts (HH) against the sides of the lever, centering it in the slot. See figure 6.
- Attach the spring (LL) to the end hole in the latch lock lever (C) and the center hole in the draw bar tongue (K) with the spring assembly tool (NN), as shown in Figure 6.

- Assemble the end of the hitch bracket (D) (smaller hole) through the slot at the front of the draw bar tongue (K). Fasten it to the tongue using the 8 mm x 25 mm bolt (AA) and 8 mm nylock nut (GG).
- Assemble the hitch pin (OO) to the hitch bracket (D) by using the hair cotter pin (KK). See figure 7.

- Lay the draw bar tongue (open side facing up) onto the wheel support (I) and the latch stand bracket (i Slice the raw ear tongue the wheel Figure 8.
- Attach the draw bar tongue to the axle (J) using an Mx25 mm bolt (CC) and a 6 mm nylock hex nut (FF). Tighten. See figure 8

- Assemble a wheel (N) (with the valve stem facing out) to the axle (J) by using two 15 mm flat washers (ll) and one 3 mm x 40 mm hair cotter pin (JJ). Repeat on the other side. See figure 9.

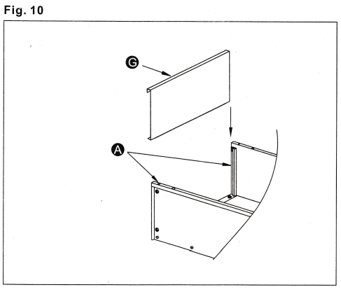
- Turn the cart right side up, slide the tailgate (G) down into the tailgate guides (A). See figure 10.

OPERATION INSTRUCTIONS
OPERATION
CAUTION: Vehicle braking and stability may be affected with the addition of an accessory or an attachment. Be aware of changing conditions on slopes.
- Refer to the vehicle owner’s manual for instructions on safe operation on slopes.
- For best handling and traction, distribute the weight of the load evenly in the cart.
- Always test to make sure your tractor has adequate towing and braking capabilities whenever hauling a substantial amount of weight in your cart. Use extra caution when operating on slopes.
CAUTION: Do not exceed the towing capacity of the vehicle. Follow any weight limitations listed in the vehicle operator’s manual. - To dump material from the cart, remove the tailgate by lifting it straight up and out from between the guides. Release the spring latch on the tongue by pulling the latch lock lever forward, away from the cart. The cart bed will then tilt backwards to empty its contents. After emptying, pull the front of the bed down toward the cart tongue until the latch snaps into place. Replace the tailgate if desired.
- The maximum towing speed for this cart is 10 mph.
CAUTION: To avoid possible injury, before releasing the latch, be sure that no one is near the cart.
MAINTENANCE

- At the beginning of each season, lubricate the latch, the latch pivot bolt, and the area of the axle where the drawbar tongue pivots with light machine oil.
- Grease or oil the wheel bearings periodically. Use automotive wheel bearing type grease or 20-weight oil.
- Keep tires filled to the recommended tire pressure of 30 psi.
HOW TO LUBRIGATE YOUR WHEELS
To enhance the function and longevity of your wheels, periodically lubricate the bearings.
To lubricate, follow these steps:
- Take off the wheels.
- If you have a grease gun at hand, insert the nozzle into the hub and inject 3-4 drops of bearing-type grease lubricant onto the opposite bearing. Make sure the wheel is standing upright and the nozzle reaches deep enough so the drops are squeezed on the orbit of the opposite bearing.
- If you have no grease gun at hand, you can also lubricate your wheels with a brush. Dip a brush in bearing-type grease lubricant, and thread the brush into the hub till it reaches the bearing on the opposite end of the hub. Trace the orbit of the bearing to spread lubricant evenly. To ensure the bearing is soaked with enough lubricant, repeat 5-6 times.
- Follow the same steps to lubricate the bearing on the other end of the hub on the wheel.
- Reattach the wheels.
1-YEAR LIMITED WARRANTY
The manufacturer warrants to the original purchaser for one (1) year that this product is free from defects in material and workmanship. Warranty is void if the product is used for commercial purposes.
This warranty is not transferable and does not cover products sold damaged or incomplete, sold “as is,” sold reconditioned, or used as rental equipment. It does not cover damage caused by misuse, neglect, accident, alterations, or use and maintenance other than that specified in the owner’s manual.
The manufacturer will provide replacement parts or replace the unit at its option. For warranty service, call customer service at 1-800-643-0067, 8:00 a.m. – 6 р.m. Monday – Thursday; 8:00 a.m. – 5 p.m., Friday, EST. DO NOT RETURN PRODUCT TO THE STORE.
The manufacturer will not be held liable for any direct, indirect, incidental, or consequential damages. Some states do not allow limitations on how long an implied warranty lasts, or the exclusion or limitation of incidental or consequential damages, so the above limitations may not apply to you. This warranty gives you specific rights, and you may also have other rights which vary from state to state.
REPLACEMENT PARTS LIST
For replacement parts, call our customer service department at 1-800-643-0067, 8 a.m. – 6 p.m., Monday – Thursday; 8 a.m. – 5 p.m., Friday, EST.


PLEASE DO NOT RETURN THIS PRODUCT TO THE STORE.
Our Customer Service Department can help with:
- Assembly or operation questions
- Missing or damaged parts
- Troubleshooting
For assistance, please call:
1-800-643-0067
8:00 am to 6:00 EST, Monday r Thursday.
8:00 am to 5:00 pm EST, Friday.
For more manuals by PreciseFit, visit ManualsLibraryy












