
Vremi 6250 BTU Portable Air Conditioner

Important Safety Instructions
- This appliance can be used by children aged 8 years and above and persons with reduced physical, sensory, or mental capabilities or lack of experience and knowledge if they have been given supervision or instruction concerning the use of the appliance in a safe way and understand the hazards involved.
- Children shall not play with the appliance.
- Cleaning and user maintenance shall not be made by children without supervision.
- Disconnect the appliance from its power source during service and when replacing parts.
- The appliance shall be installed in accordance with national wiring regulations.
- Warning: Before obtaining access to terminals, all supply circuits must be disconnected.
- If the supply cord is damaged, it must be replaced by the manufacturer, its service agent, or a similarly qualified person in order to avoid a hazard.
- Disconnect the power supply before cleaning and maintenance.
- The appliance shall not be installed in the laundry.
- Please note: Check the nameplate for the type of refrigerant gas used in your appliance.
- Specific information regarding appliances with refrigerant gas. R410A, R134a, and R290 a refrigerant that complies with European ecological standards; nevertheless, it is recommended not to pierce the cooling circuit of the machine. At the end of its useful life, deliver the appliance to a special waste collection centre for disposal.
- This hermetically sealed system contains fluorinated greenhouse gases.
- ENVIRONMENTAL INFORMATION: This unit contains fluorinated greenhouse gases covered by the Kyoto Protocol.
- The maintenance and disposal operations must be carried out by qualified personnel only. (For more details on the refrigerant, see back cover.) GWP (Global Warming Potential): R410A: 2088, R134a: 1430, R290: 3.
- Do not use this unit for functions other than those described in this instruction manual.
- If the power cord becomes worn or damaged, the cord should only be replaced by a qualified service technician using genuine replacement parts.
- Make sure the plug is plugged firmly and completely into the outlet. It can result in the risk of electric shock or fire.
- Do not plug other appliances into the same outlet, as it can result in the risk of electric shock.
- Do not disassemble or modify the appliance or the power cord; this can result in the risk of electric shock or fire. All other services should be referred to a qualified technician.
- Do not place the power cord or appliance near a heater, radiator, or other heat source. It can result in the risk of electric shock or fire.
- This unit is equipped with a cord that has an earthed wire connected to an earthed pin or grounding tab. The plug must be plugged into a socket that is properly installed and earthed. Do not, under any circumstances, cut or remove the earthed pin or grounding tab from this plug.
- The unit should be used or stored in such a way that it is protected from moisture, e.g., condensation, splashed water, etc. Unplug the unit immediately if this occurs.
- Always transport your appliance in a vertical position and place it on a stable, level surface during use. If the unit is transported lying on its side, it should be stood up and left unplugged for 6 hours.
- Always use the switch on the control panel or remote control to turn the unit off, and do not start or stop operation by plugging in or unplugging the power cord. It can result in the risk of an electric shock.
- Do not touch the buttons on the control panel with your wet and damp fingers.
- Do not use hazardous chemicals to clean or come into contact with the unit. To prevent damage to the surface finish, use only a soft cloth to clean the appliance. Do not use wax, thinner, or a strong detergent. Do not use the unit in the presence of inflammable substances or vapours such as alcohol, insecticides, gasoline, etc.
- Young children should be supervised to ensure that they do not play with, operate, or climb on the appliance.
- If the appliance is making unusual sounds or is emitting smoke or an unusual odor, unplug it immediately.
- Do not clean the unit with water. Water can enter the unit and damage the insulation, creating a shock hazard. If water enters the unit, unplug it immediately and contact Customer Service.
- Utilize two or more people to lift and install the unit.
- Be sure all accessories are removed from the packaging before use.
- To avoid possible cuts, avoid contacting the metal parts of the appliance when removing or reinstalling the filter. It can result in the risk of personal injury.
- Do not block the air inlet or outlet of the appliance. Reduced air flow will result in poor performance and could damage the unit.
- Always grasp the plug when plugging in or unplugging the appliance. Never unplug by pulling on the cord. It can result in the risk of electrical shock and damage.
- Install the appliance on a sturdy, level floor capable of supporting up to 110lbs (50kg). Installation on a weak or unlevel floor can result in the risk of property damage and personal injury.
- Close all doors and windows to the room for the most efficient operation.
Parts Description
- Control panel
- Deflector
- Display screen
- Handle (both sides)
- Castors
- Intake grille
- Remote control holder
- Power cable
- Intake grille
- Hooks
- Condenser drain
- Plug fixer
- Air outlet grille
- Middle drainage

ACCESSORIES

NOTE: All the illustrations in this manual are for explanatory purposes only. Your appliance may be slightly different.
Installation Instructions
EXHAUSTING HOT AIR
In the Cool Mode, the appliance must be placed close to a window or opening so that the warm exhaust air can be ducted outside. First, position the unit on a flat floor and make sure there’s a minimum of 12” (30cm) clearance around the unit, and it is within the vicinity of a single circuit outlet power source.
- Extend either side of the hose (Fig.1) and screw the hose inlet (Fig.2).


- Extend the other side of the hose and screw it to the hose outlet (Fig.3).

- Install the hose inlet into the unit (Fig.4).

- Attach the hose outlet to the window slider kit and seal (Fig.5&6).

- The window slider kit has been designed to fit most standard vertical and horizontal window applications. However, it may be necessary for you to modify some aspects of the installation procedures for certain types of windows. The Window slider kit can be fastened with screws.
Operating Instructions
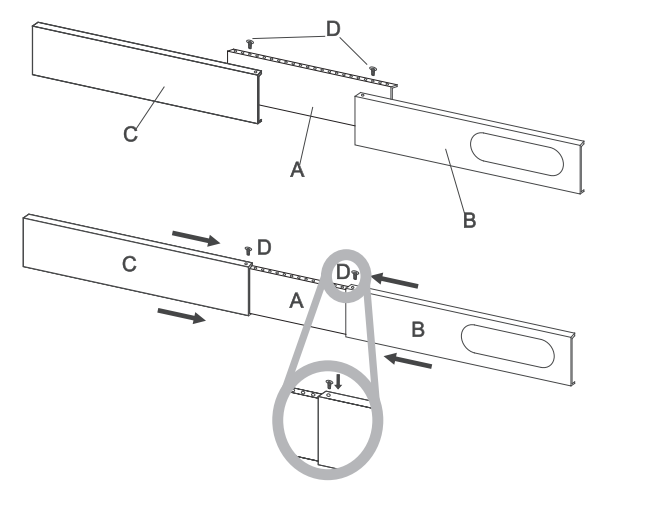
WINDOW SLIDER KIT INSTALLATION
Parts:
- A Panel (The second panel may not be supplied)
- B Panel with one hole
- C Panel without hole (may not be supplied)
- D Screw to lock the window kit in place
Assembly:
- Slide Panel B and C into Panel A to the window width. When adjusting the window width, make sure that the Window kit assembly is free from gaps and/or air pockets when taking measurements.
- Lock the holes with screws. Make sure that there are no gaps or air pockets in the Window kit assembly after installation.

LOCATION
- The unit should be placed on a firm ground to minimize noise and vibration. For safe and secure positioning, place the unit on a smooth, level floor to support the unit.
- To move the unit with casters, make sure to move on smooth and flat surfaces. Be careful when moving on carpeted surfaces. Protect the floor when moving over wood floors. Do not attempt to move the unit over objects.

- The unit must be placed within reach of a properly rated grounded socket.
- Never place any obstacles around the air inlet or outlet of the unit.
- Allow at least 18 inches (45cm) of free space against the wall to work efficiently.

- The hose can be extended, but it is best to keep the length to the minimum required. Also, make sure that the hose does not have any sharp bends or sags.
DOUBLE-HUNG SASH / SLIDING CASEMENT WINDOW INSTALLATION
- Cut the foam seal (adhesive type) to the proper length and attach it to the window sash.

- Attach the window slider kit to the window sash. Adjust the length of the window slider kit according to the width of the window. The width of the window should be more than 20 inches but less than 53 inches.

- Cut the foam seal (adhesive type) to the proper length and attach it to the top of the window.

- Close the window securely against the window slider kit.

- Secure the window slider kit to the window sash.
- Cut the foam seal to an appropriate length and seal the open gap between the top window frame and outer window frame.
DESCRIPTION OF THE DISPLAY SCREEN
- COOL symbol
- FAN Speed indicator
- TIMER symbol
- Temperature symbol
- Temperature indicator

OPERATING FROM THE CONTROL PANEL
- ON/OFF button
- MODE button
- FAN button
- INCREASE button
- DECREASE button

TURNING THE APPLIANCE ON
- Plug into the mains socket, and the appliance is now in standby mode.
- Press the button
to turn on the appliance. The last active setting when it was turned off will appear. - Never turn the appliance off by unplugging it from the mains. Always press the
button, then wait for a few minutes before unplugging. This allows the appliance to perform a cycle of checks to verify operation.
COOL MODE
To cool and dehumidify the room, follow the settings below:
- Press the
button a number of times until the
symbol appears. - Select the target temperature 18℃-32℃ (64℉-90℉) by pressing the ↑ or ↓ button until the desired value is displayed.
- Select the required fan speed by pressing the
button. - Fan speed can be selected in: High, Med, Low, Auto
High speed: for maximum fan power
Med speed: reduces noise levels but still maintains a good level of comfort
Low speed: for silent operation
Auto speed: The appliance automatically selects the most suitable fan speed based on the temperature setting.
Tips
The most suitable temperature for the room during the summer varies from 24℃ to 27℃ (75℉ to 81℉). You are recommended, however, not to set the temperature much lower than the outdoor temperature.
FAN MODE
When using the appliance in this mode, the air hose does not need to be attached.
- Press the
button a number of times until the
symbol appears. - Select the required fan speed by pressing the
button. - Fan speed can be selected: High, Med, Low
DRY MODE
Ideal to reduce room humidity (damp rooms in rainy seasons, etc). In dry mode, the appliance should be prepared in the same way as for cool mode, with the air exhaust hose attached to enable the moisture to be discharged outside. To set this mode correctly:
- Press the
button a number of times until the
symbol appears. - In this mode, fan speed is selected automatically by the appliance and cannot be set manually.
SWING FUNCTION
This function is useful for selecting the up/down swing of air delivery. To set this function correctly:
- Select the operating mode (cool, dry, fan) as described above.
- Press the
button several times, and the deflector will start or stop swinging.
SLEEP FUNCTION
This function is useful at night as it gradually reduces the operation of the appliance. To set this function correctly:
- Select the COOL mode as described above.
- Press the
button. The screen light will dim and turn off in about 1 minute. If you want to check the status, press any of the buttons below. The light will turn off in 5 seconds.
- The appliance operates in the previously selected mode. When you choose the SLEEP function, the screen will reduce the brightness. The SLEEP function maintains the room at optimum temperature without excessive fluctuations in either temperature or humidity, with silent operation. Fan speed is always at Low.
- When in COOL mode, the selected temperature will increase by 1℃ (1℉) per hour in a 2-hour period. This new temperature will be maintained for the next 6 hours. Then the appliance turns off. The SLEEP function can be canceled at any time during operation by pressing the “Sleep”, “Mode”, or “Fan speed” button.
- In FAN or DRY mode, the SLEEP function cannot be set.
SWITCH THE UNIT OF TEMPERATURE
When the appliance is in standby mode, press and hold the
button for 20 seconds. Temperature will toggle between ℃ and ℉. For example, in cool mode, the screen displays as in Fig. 7 will change to Fig. 8.
SELF-DIAGNOSIS
The appliance has a self-diagnosis system to identify a number of malfunctions. Error messages are displayed on the appliance display.
SETTING THE TIMER
Programming Start Up
- Turn on the appliance. Choose the mode you want, for example, cool, 24℃, high fan speed. Turn off the appliance.
- Press the
button, and the screen will display 1–24 hours, and
and symbol
, and the
symbols will flash together. (fig.9)
- Press several times until the corresponding time is displayed. Wait about 5 seconds, the timer will be active, then only the TIMER symbol is displayed on screen. (fig.10)

- Press the
button again, or the
button, and the timer will be canceled, and the
symbol will disappear from the screen.
Programming Shut Down
- When the appliance is running, press the
button, and the screen will display hours, and several symbols will flash together. (fig.11)
- Press several times until the corresponding time is displayed. Wait about 5 seconds, the timer will be active, then only the
symbol will be displayed on the screen. (fig.12)
- Press the
button or the
button, and the timer will be canceled, and the
symbol will disappear from the screen. (fig.13)
ABOUT REMOTE CONTROL
- Point the remote control at the receiver on the appliance.
- The remote control must be no more than 23 feet (7 meters) away from the appliance (without obstacles between the remote control and the receiver).

- The remote control must be handled with extreme care. Do not drop it or expose it to direct sunlight or sources of heat. If the remote control does not work, take out the battery and put it back in.

- The remote control function will only come with a battery already installed. To use the remote control for the first time, remove the transparent insulating strip from the battery housing by gently pulling it out.

REPLACING THE BATTERY
To replace the battery, follow the steps below:
- Press down the pin and remove the battery cover.
- Replace the battery and reinstall the battery cover on the remote control.

WARNING
Chemical Burn Hazard. Keep batteries away from children. This product contains a lithium button/coin cell battery. If a new or used lithium button/coin cell battery is swallowed or enters the body, it can cause severe internal burns and can lead to death in as little as 2 hours. Always completely secure the battery compartment. If the battery compartment does not close securely, stop using the product, remove the batteries, and keep it away from children. If you think batteries might have been swallowed or placed inside any part of the body, seek immediate medical attention. The cells shall be disposed of properly, including keeping them away from children; even used cells may cause injury.
Cleaning and Maintenance
CLEANING THE AIR FILTERS
- To keep your appliance working efficiently, you should clean the filter every week of operation. The evaporator filter can be taken out as shown in fig.25.

- Use a vacuum cleaner to remove dust accumulations from the filter. If it is very dirty, immerse it in warm water and rinse it a number of times. Water should never be hotter than 40℃ (104℉). After washing, leave the filter to dry, then attach the intake grille to the appliance.
START-END OF SEASON OPERATIONS
START OF SEASON CHECKS
- Make sure the power cable and plug are not damaged and the earth system is efficient. Follow the installation instructions precisely.
END OF SEASON OPERATIONS
- To empty the internal circuit completely of water, remove the cap (fig.26). Run off all water into a basin. When all the water has been drained, put the cap back in place. Clean the filter and dry thoroughly before putting it back.

Troubleshooting
LIMIT CONDITIONS
Temperature of room: 18℃–35℃ (64℉–95℉) (Cooling)

Warranty Information
Vremi offers a 12-month warranty on all of our products purchased new and unused from Vremi LLC or an authorized reseller, with an original proof of purchase, and where a defect has arisen, wholly or substantially, as a result of faulty manufacturing, parts, or workmanship during the Warranty Period. The warranty does not apply where damage is caused by other factors, including but without limited to:
- normal wear and tear;
- abuse, mishandling, accident, or failure to follow operating instructions;
- exposure to liquid or infiltration of foreign particles;
- Servicing or modification of the product other than by Vremi.
These are our general terms for the warranty service, but we always urge our customers to reach out to us with any issue, regardless of warranty terms. If you experience an issue with a Vremi product, please contact us at [email protected], and we will do our best to resolve it for you.
Drop Us A Line
- CHAT WITH US: vremi.com/chat
- CALL US: (646)-490-9904
- EMAIL US: [email protected]
For More Manuals By Vremi, Visit ManualsLibraryy.
Vremi 6250 BTU Portable Air Conditioner-FAQs
Q1. Why does a portable air conditioner need to be drained?
Portable ACs collect condensation as they cool the air. If the tank isn’t drained, water may overflow, causing leaks and even mold growth.
Q2. What happens if I don’t drain my portable AC?
When the tank fills up, water can leak from the unit and create a damp environment where mold and bacteria thrive.
Q3. Where does the water go in a portable AC?
Most portable ACs either collect water in an internal tank or expel it through a drain hose. Some newer models evaporate most of the water automatically.
Q4. Why is my portable AC not cooling properly?
Check for clogged air filters, dirty coils, low refrigerant, or a blocked exhaust hose. These issues restrict airflow and reduce cooling efficiency.
Q5. Why does my portable AC take so long to cool?
A dirty filter, restricted airflow, or using the unit in a room that’s too large can cause longer cooling times.
Q6. How long does it take to cool a room?
Typically, a portable AC takes 20–30 minutes to lower a room’s temperature by 5°F. Larger spaces may take longer.
Q7. What’s the best place to put a portable AC?
Position it near a window or door for proper venting, with at least 20 inches of clearance around the unit for airflow.
Q8. Can I use a portable AC without a window?
Not recommended. Without proper venting, hot air will circulate back into the room, reducing cooling efficiency. If no window is available, vent through a door or into another room with a window.
Q9. Can I run a portable AC all night?
Yes, most models are designed to run safely overnight. This can even improve sleep by keeping the room cool.
Q10. Is it safe to sleep with a portable AC on?
Yes. Running your AC at night is safe and helps maintain a comfortable sleeping temperature.


























