Blog Post

Weider Pro 6900 Home Gym featured image

Weider Pro 6900 Home Gym User Manual

Weider logo

Weider Pro 6900 Home Gym

Weider Pro 6900 Home Gym product image

WARNING DECAL PLACEMENT

This drawing shows the location(s) of the warning decal(s). If a decal is missing or illegible, call 1-877-992=5999 and request a free replacement decal. Apply the decal in the location shown.

Note: The decal(s) may not be shown at actual size.Weider Pro 6900 Home Gym 1

IMPORTANT PRECAUTIONS

WARNING: To reduce the risk of serious injury, read all important precautions and instructions in this manual and all warnings on your weight system before using your weight system. ICON assumes no responsibility for personal injury or property damage sustained by or through the use of this product.

  1. It is the responsibility of the owner to ensure that all users of the weight system are adequately informed of all precautions.
  2. Before beginning any exercise program, consult your physician. This is especially important for persons over age 35 or persons with pre-existing health problems.
  3. Use the weight system only as described in this manual.
  4. The weight system is intended for home use only. Do not use the weight system in a commercial,
    rental, or institutional setting.
  5. Use the weight system only on a level surface. Cover the floor beneath the weight system to protect the floor.
  6. Inspect and properly tighten all parts regularly. Replace any worn parts immediately.
  7. Keep children under age 12 and pets away from the weight system at all times.
  8.  The weight system should not be used by persons weighing more than 300 lbs. (136 kg).
  9. Wear appropriate exercise clothes while exercising; do not wear loose clothes that could become. caught on the weight system. Always wear athletic shoes for foot protection.
  10. Keep hands and feet away from moving parts.
  11. Always secure the weight stack with the lock pin and the lock after exercising to prevent unauthorized use of the weight system (see LOCKING THE WEIGHT STACK on page 23).
  12. Make sure that the cables remain on the pulleys at all times. If the cables bind while you are exercising, stop immediately and ensure the cables are on the pulleys.
  13. Always stand on the footplate when performing an _exercise that could cause the weight system to tip.
  14. Never release the arms, leg lever, lat bar, or handle strap while weights are raised. The weights will fall with great force.
  15. Always disconnect the lat bar from the weight- system when performing an exercise that does not require the lat bar.
  16. Over-exercising may result in serious injury or death. If you feel faint or if you experience pain while exercising, stop immediately and cool down.

BEFORE YOU BEGIN

Thank you for selecting the versatile WELDER PRO” R_ 6900 weight system. The weight system offers a selection of weight stations designed to develop every major muscle group of the body. Whether your goal is to tone your body, build dramatic muscle size and strength, or improve your cardiovascular system, the weight system will help you achieve the specific desired results.

For your benefit, read this manual carefully before using the weight system. If you have questions after
reading this manual, please see the front cover of this manual. To help us assist you, note the product model number and serial number before contacting us. The model number and the serial number decal’s location are shown on this manual’s front cover. Before reading further, please review the drawing below and familiarize yourself with the labeled parts.

Weider Pro 6900 Home Gym 2

PART IDENTIFICATION CHART

Refer to the drawings below to identify small parts used in assembly. The number in parentheses by each drawing is the key number of the part, from the PART LIST near the end of this manual, iMPORTANT: If you cannot find a part in the hardware kit, check to see if it has been preassembled. If a part is missing, please call 1-877-992-5999. To avoid damaging parts, do not use power tools for assembly.Weider Pro 6900 Home Gym 3

ASSEMBLY

  • Assembly requires two persons.
  • Because of its weight and size, assemble the weight system in the location where it will be used. Make sure that there is enough clearance to walk around the weight system.
  • Place all parts in a cleared area and remove the packing materials. Do not dispose of the packing
    materials until assembly is completed.
  • For help identifying small parts, use the PART IDENTIFICATION CHART on page 5.
  • The following tool(s) (not included) may be required for assembly:Weider Pro 6900 Home Gym 4
  • Assembly may be easier if you have a set of wrenches. To avoid damaging parts, do not use power tools.

The Four Stages of the Assembly Process

  • Frame Assembly–You will begin by assembling the base and the uprights that form the skeleton of the weight system.
  • Arm Assembly–During this stage, you will assemble the arms and the leg lever.
  • Cable Assembly–During this stag,e you will attach the cables and pulleys that connect the arms to the weights.
  • Seat Assembly–During the final stage you will assemble the seat and the backrest.

FRAME ASSEMBLY

Weider Pro 6900 Home Gym 5

  • Attach the Foot Plate (38) to the Base (1) with an M10 x 130mm Bolt (72) and an M10 Locknut (56). Do not overtighten the Locknut; the Foot Plate must pivot easily.Weider Pro 6900 Home Gym 6
  • Attach the Weight Guides (21) and the Base (1) to the Stabilizer (2) with two M10 x 67mm Bolts (71), two M10 Washers (57), and two M10 Locknuts (56). Do not tighten the Locknuts yet.Weider Pro 6900 Home Gym 7
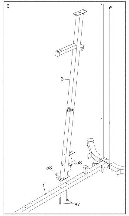
  • Attach the Upright (3) to the Base (1) with two M8 x 63mm Carriage Bolts (87) and two M8 Locknuts (58). Do not tighten the Locknuts yet.Weider Pro 6900 Home Gym 8
  • Attach the Front Leg (7) to the Base (1) with two M8 x 63mm Carriage Bolts (87) and two M8 Locknuts (58). Do not tighten the Locknuts yet.Weider Pro 6900 Home Gym 5a
  • Attach the Seat Tube (6) to the Upright (3) with two M8 x 65mm Bolts (68), two M8 Washers (59), and two M8 Locknuts (58). Do not tighten the Locknuts yet. Attach the Seat Tube (6) to the Front Leg (7) in the same way.Weider Pro 6900 Home Gym 9
  • Slide the two Weight Bumpers (27) onto the Weight Guides (21). Orient nine Weights (22) so that the pin holes are on the bottom as shown. Slide the Weights onto the Weight Guides (21). Insert the Weight Selector (24) into the nine Weights (22). Make sure that the pin on the Weight Selector is oriented as shown. Apply some of the included grease inside the indicated holes in the remaining Weight (22). Then, slide the Weight onto the Weight Guides (21).Weider Pro 6900 Home Gym 10
  • Attach the Top Frame (4) to the Upright (3) with two M10 x 67mm Bolts (71), two M10 Washers (57), and two M10 Locknuts (56). Do not tighten the Locknuts yet. Attach the Top Frame (4) to the Weight Guides (21) with two M10 x 25mm Screws (74). Do not tighten the Screws yet. See steps 2 to 7. Tighten the M10 Locknuts (56) and the M8 Locknuts (58).Weider Pro 6900 Home Gym 11
  • Attach the Leg Bumper (60) to the Front Leg (7) with an M4 x 20mm Self-tapping Screw (69) and
    an M4 Washer (33). Make sure that the end of the Leg Bumper is pointing upward.Weider Pro 6900 Home Gym 12
  • Apply grease to an M10 x 64mm Bolt Set (76). Attach the Leg Lever (8) to the Front Leg (7) with the M10 x 64mm Bolt Set (76). Make sure that the barrel of the Bolt Set is inserted through both sides of the bracket on the Front Leg.Weider Pro 6900 Home Gym 13
  • Apply grease to an M10 x 77mm Bolt (79). Attach the Pivot Frame (5) to the Top Frame (4) with the M10 x 77mm Bolt (79) and an M10 Locknut (56). Do not overtighten the Locknut; the Pivot Frame must pivot easily.

Arm Assembly

Weider Pro 6900 Home Gym 14

  • Attach the two Arm Pins (40) to the Pivot Frame (5) with two M4 x 20mm Self-tapping Screws (69). See the inset drawing. Insert the Arm Pins (40) into the indicated holes in the Upright (3).Weider Pro 6900 Home Gym 15
  • Apply grease to an M10 x 51mm Bolt (66). Attach a Cable Pivot (39)to the Left Arm (10) with the M10 x 51mm Bolt (66) and an M10 Locknut (56). Do not overtighten the Locknut; the Cable Pivot must pivot easily. Wet the inside of a Large Foam Pad (42) with soapy water. Slide the Large Foam Pad onto the Left Arm (10). Attach a Handle (11) to the Left Arm (10) with two M10 x 25mm Button Screws (77) and two M10 Washers (57). Assemble the Right Arm (9) in the same way.Weider Pro 6900 Home Gym 16
  • Apply grease to an M10 x 86mm Carriage Bolt (67) and to two Arm Bushings (44). Attach the Left Arm (10) to the Pivot Frame (5) with the M10 x 86mm Carriage Bolt (67), a Carriage Bolt Bushing (20), the two Arm Bushings (44), an M10 Washer (57), and an M10 Locknut (56). Do not overtighten the Locknut; the Left Arm must pivot easily. Attach the Right Arm (9) to the Pivot Frame (5) in the same way.

Cable Assembly

Weider Pro 6900 Home Gym 17

  • See the CABLE DIAGRAM on page 24 to identify the cables as you assemble them. Identify the Arm Cable (54). Apply grease to an M8 x 22mm Shoulder Bolt (65). Attach the Arm Cable (54) to the left Cable Pivot (39) with the M8 x 22mm Shoulder Bolt (65) and an M8 Locknut (58).Weider Pro 6900 Home Gym 18
  • Identify the two V-pulleys (46), the nine Thick Pulleys (not shown), and the two Thin Pulleys (not shown). Route the Arm Cable (54) over a V-pulley (46). Attach the V-pulley (46), a Large Cable Trap (50), two Full Guards (41), and an M10 Washer (57) to the Upright (3) with an M10 x 63mm Bolt (75) and an M10 Locknut (56). Make sure that the Large Cable Trap (50) is oriented to hold the Arm Cable (54) in the groove of the V-pulley (46).Weider Pro 6900 Home Gym 19
  • Route the Arm Cable (54) around a Thick Pulley (48). Attach the Thick Pulley (48) and two Half Guards (43) to the Double U-bracket (63) with an M10 x 46mm Bolt (81) and an M10 Locknut (56). Make sure that the Half Guards are on the outside of the Double U-bracket as shown.Weider Pro 6900 Home Gym 20
  • Route the Arm Cable (54) over a V-pulley (46). Attach the V-pulley (46), a Large Cable Trap (50), two Full Guards (41), and an M10 Washer (57) to the Upright (3) with an M10 x 63mm Bolt (75) and an M10 Locknut (56). Make sure that the Large Cable Trap (50) is oriented to hold the Arm Cable (54) in the groove of the V-pulley (46).Weider Pro 6900 Home Gym 21
  • Apply grease to an M8 x 22mm Shoulder Bolt (65). Attach the Arm Cable (54) to the right Cable
    Pivot (39) with the M8 x 22mm Shoulder Bolt (65) and an M8 Locknut (58).Weider Pro 6900 Home Gym 22
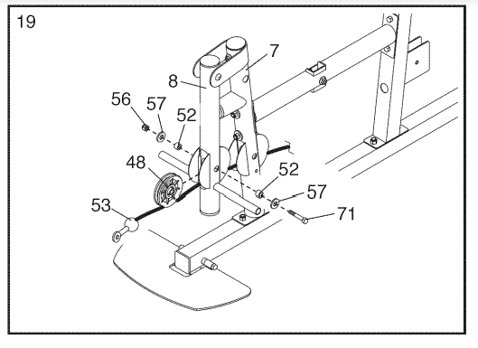
  • Identify the Low Cable (53). Route the Low Cable through the Leg Lever (8) and the Front
    Leg (7). Attach a Thick Pulley (48) inside the Leg Lever (8), above the Low Cable (53), with an M10 x 67mm Bolt (71), two M10 Washers (57), two 13mm Spacers (52), and an M10 Locknut (56).Weider Pro 6900 Home Gym 23
  • Attach a Thick Pulley (48) inside the Front Leg (7), above the Low Cable (53), with an M10 x 67mm Bolt (71), two M10 Washers (57), two 13mm Spacers (52), and an M10 Locknut (56).Weider Pro 6900 Home Gym 24
  • Route the Low Cable (53) through the Upright (3) and under a Thick Pulley (48). Attach the Thick Pulley (48) inside the Upright (3) with an M10 x 46mm Bolt (81) and an M10 Locknut (56).Weider Pro 6900 Home Gym 25
  • Route the Low Cable (53) over a Thick Pulley (48). Attach the Thick Pulley (48) and two Half Guards (43) to the Double U-bracket (63) with an M10 x 46mm Bolt (81) and an M10 Locknut (56). Make sure that the Half Guards are on the outside of the Double U-bracket as shown.Weider Pro 6900 Home Gym 26
  • Route the Low Cable (53) under a Thick Pulley (48). Attach the Thick Pulley (48) and two Half Guards (43) to the Base (1)with an M10 x 46mm Bolt (81) and an M10 Locknut (56). Make sure that the Half Guards are on the outside of the bracket as shown.Weider Pro 6900 Home Gym 27
  • Attach the Low Cable (53) to the U-bracket (45) with an M8 Washer (59) and an M8 Locknut (58).
    See the inset drawing. Do not overtighten the M8 Locknut (58); it should be threaded onto the end of the Low Cable (53) so that only two threads are showing above the Locknut.Weider Pro 6900 Home Gym 28
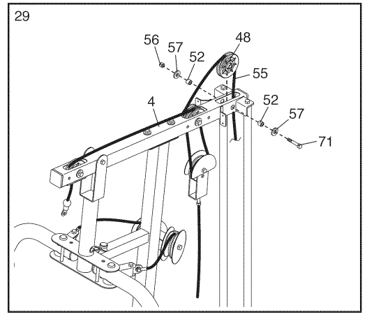
  • identify the High Cable (55). Route the High Cable upward through the Top Frame (4) and over a Thick Pulley (48). Attach the Thick Pulley (48) inside the Top Frame (4) with an M10 x 67mm Bolt (71), two 10 Washers (57), two 13mm Spacers (52), and an M10 Locknut (56).Weider Pro 6900 Home Gym 29
  • Route the High Cable (55) over a Thin Pulley (47) and downward through the Top Frame (4).  Attach the Thin Pulley (47) inside the Top Frame (4) with an M10 x 67mm Bolt (71), an M10 Washer (57), and an 11mm Spacer (86). Make sure that the Thin Pulley does not fall out of the Top Frame while you complete steps 27 and 28.Weider Pro 6900 Home Gym 30
  • Wrap the High Cable (55) under a Thick Pulley (48). Attach the Thick Pulley (48), a Small Cable Trap (51), and two Half Guards (43) to the upper hole in the U-bracket (45) with an M10 x 51mm Bolt (66) and an M10 Locknut (56). Make sure that the Small Cable Trap (51) is oriented to hold the High Cable (55) in the groove of the Thick Pulley (48) and that the Half Guards (43) are on the outside of the U-bracket (45).Weider Pro 6900 Home Gym 31
  • Route the High Cable (55) upward through the Top Frame (4) and over a Thin Pulley (47). Attach the Thin Pulley (47) inside the Top Frame (4) with the M10 x 67mm Bolt (71) used in step 26, an 11mm Spacer (86), an M10 Washer (57), and an M10 Locknut (56).Weider Pro 6900 Home Gym 32
  • Route the High Cable (55) over a Thick Pulley (48) and downward through the Top Frame (4). Attach the Thick Pulley (48) inside the Top Frame (4) with an M10 x 67mm Bolt (71), two M10 Washers (57), two 13mm Spacers (52), and an M10 Locknut (56).Weider Pro 6900 Home Gym 33
  • Thread an M12 Nut (84) all the way onto the High Cable (55). Place a Large Washer (85) on top of the Weight Selector (24). Tighten the High Cable (55) into the Weight Selector (24) until all the slack is removed from the cables. Tighten the M12 Nut (84) against the Large Washer (85).

Seat Assembly

Weider Pro 6900 Home Gym 34

  • Attach the Backrest (16) to the Backrest Frame (61) with two M6 x 16mm Screws (62), an M6 x 32mm Screw (64), and an M6 Washer (82). Insert the Backrest Frame (61) into the Upright (3) and tighten a Long Knob (91) into the Upright and one of the holes in the Backrest Frame.Weider Pro 6900 Home Gym 35
  • Attach the Seat (15) to the Seat Frame (73) with two M6 x 16mm Screws (62), an M6 x 38mm
    Screw (95), and an M6 Washer (82). Insert the Seat Frame (73) into the Seat Tube (6) and tighten a Long Knob (91) into the Seat Tube and one of the holes in the Seat Frame.Weider Pro 6900 Home Gym 36
  • Insert the Pad Tube (29) into the Front Leg (7). Slide a Small Foam Pad (28) onto each side of
    the Pad Tube (29). Then, press a Pad Cap (34) into each Small Foam Pad. Slide a Small Foam Pad (28) onto each end of the Leg Lever (8). Then, press a Pad Cap (34) into each Small Foam Pad.Weider Pro 6900 Home Gym 37
  • Attach a Shroud Support (19) and the top of the Left Shroud (17) to the left side of the Top Frame
    (4) with two M4.2 x 16mm Self-tapping Screws (49) and two M4 Washers (33). Do not tighten
    the Screws yet. Then, attach a Shroud Clamp (90) to the top of the Left Shroud (17) and the Shroud Support (19) with two M4 x 12mm Screws (78) and two M4 Washers (33). Do not tighten the Screws yet.Weider Pro 6900 Home Gym 38
  • Attach a Shroud Support (19) and the bottom of the Left Shroud (17) to the Base (1) and the Stabilizer (2) with four M4.2 x 16mm Self-tapping Screws (49) and four M4 Washers (33). Do not
    tighten the Screws yet. Repeat steps 34 and 35 to attach the Right Shroud (not shown). See steps 34 and 35. Tighten the M4.2 x 16mm Self-tapping Screws (49) and the M4 x 12mm Screws (78).Weider Pro 6900 Home Gym 39
  • Attach the Curl Pad (14) to the Curl Post (13) with two M6 x 16mm Screws (62).
  • Make sure that all parts have been properly tightened. The use of the remaining parts will be explained in ADJUSTMENT, beginning on page 21. Before using the weight system, pull each cable a few times to make sure that the cables move smoothly around the pulleys. If one of the cables does not move smoothly, find and correct the problem.

IMPORTANT: if the cables are not properly installed, they may be damaged when heavy weight is
used. See the CABLE DIAGRAM on page 24 for proper cable routing, if there is any slack in the cables, you will need to remove the slack by tightening the cables. See MAINTENANCE on page 25.

ADJUSTMENT

This section explains how to adjust the weight system. See the EXERCISE GUIDELINES on page 26 for important information about how to get the most benefit from your exercise program. Also, refer to the accompanying exercise guide to see the correct form for several exercises. Make sure that all parts are properly tightened each time the weight system is used. Replace any worn parts immediately.

CHANGING THE WEIGHT SETTINGWeider Pro 6900 Home Gym 40
To change the setting of the weight stack, insert a Weight Pin (26) under the desired Weight (22). Insert the Weight Pin so that the bent end touches the weight stack. Turn the bent end downward.

Note: Due to the cables and pulleys, the amount of resistance at each exercise station may vary from the weight setting. Use the WEIGHT RESISTANCE CHART on page 23 to find the approximate amount of resistance at each weight station.

ATTACHING THE ACCESSORIESWeider Pro 6900 Home Gym 41Attach the Lat Bar (35) to the High Cable (55) at the high pulley station with a Cable Clip (37). For some exercises, attach the Chain (83) between the Lat Bar (35) and the High Cable (55) with two Cable Clips (37). Adjust the length of the Chain between the Lat Bar and the High Cable so that the Lat Bar is in the correct starting position for the exercise to be performed. The Lat Bar (35) or the Handle Strap (not shown) can be attached at either pulley station in the same way.

CONVERTING THE ARMSWeider Pro 6900 Home Gym 42To use the Arms (9, 10) as butterfly arms, insert the Arm Pins (40) into the holes in the Upright (3) as
shown. To use the Arms (9, 10) as press arms, insert the Arm Pins (40) into the holes in the Pivot Frame (5) and the Arms.

CONVERTING THE FOOTPLATEWeider Pro 6900 Home Gym 43To use the Foot Plate (38) as a footrest while using the low pulley station, rotate the Foot Plate upward.
When you are not using the Foot Plate (38) as a footrest, rotate the Foot Plate downward so that it is flat on the floor.

USING THE CURL PADWeider Pro 6900 Home Gym 44To use the Curl Pad (14), first remove the 50mm Round Inner Cap (30) from the Front Leg (7). Insert
the Curl Post (13) into the Front Leg and secure it in place with the Short Knob (25). When performing an exercise that does not require the Curl Pad (14), remove the Curl Pad and replace the 50mm Round Inner Cap (30) into the Front Leg (7). Store the Curl Pad away from the weight system.

LOCKING THE WEIGHT STACKWeider Pro 6900 Home Gym 45To lock the weight stack after each workout, insert the Lock Pin (89) through one of the Weight Guides
(21), and secure the Lock (88) on the Lock Pin.

WEIGHT RESISTANCE CHART

The chart below shows the approximate weight resistance at each exercise station. The numbers in the left column refer to the 12.5-1b. weights. Note: The weight resistance shown for the butterfly arms station is for each arm. The actual resistance at each station may vary due to differences in individual weights as well as friction between the cables, pulleys, and weight guides.Weider Pro 6900 Home Gym 46

CABLE DIAGRAM

The drawings below shows the proper routing of the cables. The numbers in each drawing show the proper route of that cable. Use the drawings to make sure that the cables, cable traps, and guards are assembled correctly. If the cables are not assembled correctly, the weight system will not function properly and damage may occur. Make sure that the cable traps do not touch or bind the cables.Weider Pro 6900 Home Gym 47

MAINTENANCE

Make sure that all parts are properly tightened each time the weight system is used. Replace any worn parts immediately. To clean the weight system, use a damp cloth and a mild, non-abrasive detergent; do not use solvents to clean the weight system.

TIGHTENING THE CABLES
Woven cable, the type of cable used on the weight system, can stretch slightly when it is first used. If there is slack in the cables before resistance is felt, the cables should be tightened. To tighten the cables, first, insert the weight pin into the middle of the weight stack. Slack can be removed from the cables in several ways:Weider Pro 6900 Home Gym 48

See the inset drawing. Tighten the M8 Locknut (58) that connects the end of the Low Cable (53) to the
U-bracket (45). Remove the M10 Locknut (56) and the M10 x 51mm Bolt (66) from the two Half Guards (43), the U-bracket (45), the Small Cable Trap (51), and the Thick Pulley (48). Reattach the Thick Pulley (48), Small Cable Trap (51), and Half Guards (43) to the other hole in the U-bracket (45). Make sure that the Small Cable trap is in the proper position and that the Low Cable (53) and the Thick Pulley move smoothly.Weider Pro 6900 Home Gym 49

Loosen the M12 Nut (84) on the High Cable (55). Tighten the High Cable (55) into the Weight Selector
(24) until the slack is removed from the High Cable. Then, retighten the M12 Nut (84) against the Large
Washer (85).

Do not over tighten the cables. If the cables are overtightened, the top weight will be lifted off the weight stack. If a cable tends to slip off the pulleys often, it may have become twisted. Remove the cable and reinstall it. if the cables need to be replaced, see the back cover of this manual.

EXERCISE GUIDELi=INES

FOUR TYPES OF STRENGTH WORKOUTS

Note: A “repetition” is one complete cycle of an exercise, such as one sit-up. A “set” is a series of
repetitions.

Muscle Building–Work your muscles near their maximum capacity and progressively increase the intensity of your exercise. Adjust the intensity level of an individual exercise as follows:

  • Change the amount of resistance used.
  • Change the number of repetitions or sets performed.

Use your own judgment to determine the amount of resistance that is right for you. Begin with 3 sets of 8
repetitions for each exercise you perform. Rest for 3 minutes after each set. When you can complete 3 sets of 12 repetitions without difficulty, increase the amount of resistance.

Toning–Tone your muscles by working them to a moderate percentage of their capacity. Select a moderate amount of resistance and increase the number of repetitions in each set. Complete as many sets of 15 to 20 repetitions as possible without discomfort. Rest for 1 minute after each set. Work your muscles by completing more sets rather than by using high amounts of resistance.

Weight Loss–To lose weight, use a low amount of resistance and increase the number of repetitions in
each set. Exercise for 20 to 30 minutes, resting for a maximum of 30 seconds between sets.

Cross Training–Combine strength training and aerobic exercise by following this type of program

  • Strength training workouts on Monday, Wednesday, and Friday.
  • 20 to 30 minutes of aerobic exercise on Tuesday and Thursday.
  • One full day of rest each week to give your body time to regenerate.

STAYING MOTIVATED
For motivation, keep a record of each workout. Write the date, the exercises performed, the resistance used, and the number of sets and repetitions completed. Record your weight and key body measurements once a month. To achieve good results, make exercise a regular and enjoyable part of your life.

For more manuals by Weider, visit ManualsLibraryy

Weider Pro 6900 Home Gym-FAQs

Is the Weider home gym a good choice?

Yes, Weider home gyms are affordable, space-efficient, and versatile, offering a wide range of exercises. While they are great for home workouts, they are considered economy gyms, so they may not be as heavy-duty as premium models.

How much weight does the Weider Pro 6900 have?

The Weider Pro 6900 comes with a 125-pound vinyl weight stack, but some stations provide up to 300 pounds of resistance when combined with the user’s body weight.

Who manufactures Weider gym equipment?

Weider gym equipment is manufactured by Icon Health and Fitness, which acquired the Weider brand in 1994.

How much weight can a Weider bar hold?

The Weider Olympic barbell is rated to support up to 310 pounds, making it suitable for exercises like squats, deadlifts, and bench presses.

What are some of the best gym equipment brands?

Popular and trusted gym equipment brands include Life Fitness, Precor, Nautilus, Cybex, Technogym, Matrix, Hammer Strength, Star Trac, True Fitness, and Hoist Fitness.

How much does the MAXPRO weigh?

The MAXPRO is lightweight and portable, weighing under 10 pounds, yet provides up to 300 pounds of resistance for a full-body workout anywhere.

How much do two weight plates weigh in kilograms?

A standard weight plate weighs 45 pounds (20.4 kg), so two plates (one on each side of a barbell) add up to 90 pounds (40.8 kg).

What does 90-90-225 mean in gym terms?

This refers to a barbell loaded with 90 pounds on each side, plus the 45-pound barbell, totaling 225 pounds.

What does “gym” stand for?

“Gym” is short for gymnasium, which refers to an indoor space for exercise and sports.

Leave a comment

Your email address will not be published. Required fields are marked *