
Singer 50T8-E99670 Sewing Machine

IMPORTANT SAFETY INSTRUCTIONS
When using an electrical appliance, basic safety should always be followed, including the following: Read all instructions before using this sewing machine.
DANGER – To reduce the risk of electric shock:
- An appliance should never be left unattended when plugged in.
- Always unplug this appliance from the electric outlet immediately after using and before cleaning.
- Always unplug before re-lamping. Replace bulb with the same type rated 10 watts (110-120V area) or 15 watts (220-240V area).
WARNING – To reduce the risk of burns, fire, electric shock, or injury to persons:
- Do not allow it to be used as a toy. Close attention is necessary when this appliance is used by or near children.
- Use this appliance only for its intended use as described in this manual. Use only attachments recommended by the manufacturer as contained in this manual.
- Never operate this appliance if it has a damaged cord or plug, if it is not working properly, if it has been dropped or damaged, or dropped into water. Return the appliance to the nearest authorized dealer or service center for examination, repair, or electrical or mechanical adjustment.
- Never operate the appliance with any air openings blocked. Keep the ventilation openings of the sewing machine and foot controller free from accumulation of lint, dust, and loose cloth.
- Keep fingers away from all moving parts. Special care is required around the sewing machine needle.
- Always use the proper needle plate. The wrong plate can cause the needle to break.
- Do not use bent needles.
- Do not pull or push fabric while stitching. It may deflect the needle, causing it to break.
- Switch the sewing machine off (“O”) when making any adjustments in the needle area, such as threading the needle, changing the needle, threading the bobbin, or changing the presser foot, and the like.
- Always unplug the sewing machine from the electrical outlet when removing covers, lubricating, or making any other servicing adjustments mentioned in the instruction manual.
- Never drop or insert any object into any opening.
- Do not use outdoors.
- Do not operate where aerosol spray products are being used or where oxygen is being administered.
- To disconnect, turn all controls to the off (“O”) position, then remove the plug from the outlet.
- Do not unplug by pulling on the cord. To unplug, grasp the plug, not the cord.
- The sound pressure level under normal operating conditions is 75dB(A).
- Please turn off the machine or unplug it when the machine is not properly operated.
SAVE THESE INSTRUCTIONS
This sewing machine is intended for household use only.
Principal parts of the machine
- Thread tension dial
- Presser foot pressure adjustment
- Thread take-up lever
- Thread cutter
- Presser foot
- Needle plate
- Removable sewing table/accessory storage
- Reverse sewing lever
- Bobbin stopper
- Stitch length dial
- Pattern indicator window
- Drop feed control
- One-step buttonhole lever
- Automatic threader

- Horizontal spool pin
- Bobbin winder
- Handwheel
- Pattern selector dial
- Power and light switch
- Main plug socket
- Bobbin thread guide
- Upper thread guide
- Face plate
- Handle
- Presser foot lever
- Buttonhole stitch balance adjustment slot
- Foot speed control
- Power cord

Accessories
Standard accessories (1)
- All-purpose foot
- Zipper foot
- Buttonhole foot
- Button sewing foot
- Seam ripper/brush
- Seam guide
- Pack of needles
- Spool holder
- Bobbin (3x)
- L-screwdriver

Optional accessories (2)
These 10 accessories are not supplied with this machine (they are, however, available as special accessories from your local dealer).
- Second spool pin
- Satin stitch foot
- Overcasting foot
- Hemmer foot
- Cording foot
- Blind hem foot
- Darning foot
- Gathering foot, Quilting foot
- Even feed foot

Installing the snap-in sewing table
- Keep the snap-in sewing table horizontal, and push it in the direction of the arrow (1).

- The inside of the snap-in sewing table can be utilized as an accessory box. To open, lift up at the point of the arrow (2).

Connecting the machine to the power source
- Connect the machine to a power source as illustrated (1).

- This appliance is equipped with a polarized plug, which must be used with the appropriate polarized outlet (2).

Attention: Unplug the power cord when the machine is not in use.
Foot control
- The foot control pedal regulates the sewing speed (3).

Attention: Consult a qualified electrician if in doubt as to connecting the machine to the power source. Unplug the power cord when the machine is not in use. The foot control must be used with the appliance by 4C-316B (110-120V area) / 4C-326G (230V area) / 4C-316C or 4C-326C (220-240V area) manufactured by Panasonic Co., Ltd. (TW).
Sewing light
- Press the main switch (A) for power and light on “I”.
IMPORTANT NOTICE
For an appliance with a polarized plug (one blade is wider than the other). To reduce the risk of electric shock, this plug is intended to fit in a polarized outlet only one way. If it does not fit fully in the outlet, reverse the plug. If it still does not fit, contact a qualified electrician to install the proper outlet. Do not modify the plug in any way.
- Polarized attachment plug
- The conductor is intended to be grounded
Changing the bulb
Disconnect the machine from the power supply by removing the plug from the main socket. Replace bulb with the same type rated 10 watts (110-120V area) or 15 watts (220-240V area).
- Loosen screw (A) as illustrated (1).

- Remove the face plate (B).
- Unscrew the bulb and install a new one (C) (2).

- Replace the face plate and tighten the screw.
- Should there be any problem, ask your local dealer for advice.
Two-step presser foot lifter
When sewing several layers or thick fabrics, the presser foot can be raised to a high rise position for easy positioning of the work (A).
Adjusting presser foot pressure
- The presser foot pressure of the machine has been pre-set and requires no particular readjustment according to the type of fabric (light or heavyweight).
- However, if you need to edit the presser foot pressure, turn accordingly.
- For sewing very thin fabric, loosen the pressure by turning. By turning it clockwise, and for heavy fabric, tighten.

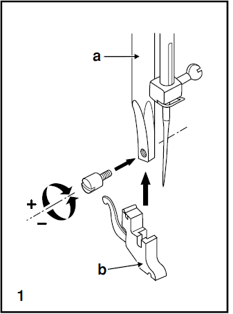
Attaching the presser foot shank
- Raise the presser bar (a). Attach the presser foot shank (b) as illustrated (1).

Attaching the presser foot
- Lower the presser foot shank (b) until the cut-out (c) is directly above the pin (d) (2).

- Raise the lever (e).
- Lower the presser foot shank (b) and the presser foot (f) will engage automatically.
Removing the presser foot
- Raise the presser foot (3).

- Raise the lever (e) and the foot disengages.
Attaching the seam guide
- Attach the seam guide (g) in the slot as illustrated. Adjust according to need for hems, pleats, etc. (4).

Winding the bobbin

- Place the thread and spool holder onto the spool pin (1). For smaller spools of thread, place the spool holder with the small side next to the spool (2).

- Snap the thread into the thread guide (3).

- Wind the thread clockwise around the bobbin winder tension discs (4).

- Thread the bobbin as illustrated and place it on the spindle (5).

- Push the bobbin to the right (6).

- Hold the thread end (7). Step on the foot control pedal (8).

- Cut thread (9). Press the bobbin to the left (10) and remove.

Please Note: When the bobbin winder spindle is in “bobbin winding” position, the machine will not sew and the hand wheel will not turn. To start sewing, push the bobbin winder spindle to the left (sewing position).
Inserting the bobbin
When inserting or removing the bobbin, the needle must be fully raised.
- Open the hinged cover (1).

- Pull the bobbin case tab (a) and remove the bobbin case (2).

- Hold the bobbin case with one hand. Insert the bobbin so that the thread runs in a clockwise direction (arrow) (3).

- Pull the thread through the slit and under the finger (4).

- Hold the bobbin case by the hinged latch (5).

- Insert it into the shuttle (6).

Inserting and changing needles
Change the needle regularly, especially if it is showing signs of wear and causing problems. For the best sewing results, always use SINGER Brand Needles. Insert the needle as illustrated as follows:
- Loosen the needle clamp screw and tighten it again after inserting the new needle (1).

- The flat side of the shaft should be towards the back.
- Insert the needle as far up as it will go.
Needles must be in perfect condition (2).
Problems can occur with:
- Bent needles
- Blunt needles
- Damaged points
Threading the upper thread
This is a simple operation, but it is important to carry out correctly, as by not doing so, several sewing problems could result.
- Start by raising the needle to its highest point (1), and also raise the presser foot to release the tension discs (2). Note: For safety, it is strongly suggested that you turn off the power before threading.

- Lift up the spool pin. Place the spool of thread on the holder with the thread coming off the spool as shown. For small thread spools, place the small side of the spool holder next to the spool (3).

- Draw thread from spool through the upper thread guide (4).

- Guide thread around thread guide (5), pulling thread through pre-tension spring as illustrated.
![50T8-E99670 Sewing Machine User Manual Singer 50T8-E99670 Sewing Machine User Manual 36]](data:image/svg+xml;base64,PHN2ZyB4bWxucz0iaHR0cDovL3d3dy53My5vcmcvMjAwMC9zdmciIHdpZHRoPSIzNDYiIGhlaWdodD0iMjg3IiB2aWV3Qm94PSIwIDAgMzQ2IDI4NyI+PHJlY3Qgd2lkdGg9IjEwMCUiIGhlaWdodD0iMTAwJSIgc3R5bGU9ImZpbGw6I2NmZDRkYjtmaWxsLW9wYWNpdHk6IDAuMTsiLz48L3N2Zz4=)
- Thread tension module by leading thread down the right channel and up the left channel (6). During this process, it is helpful to hold the thread between the spool and the thread guide (4).

- At the top of this movement, pass the thread from right to left through the slotted eye of the take-up lever and then downwards again (7).

- Pass the thread behind the flat, horizontal thread guide (8).

- Now take the thread behind the thin wire needle clamp guide and then down to the needle, which should be threaded from front to back. Pull about 6-8 inches of thread to the rear beyond the needle eye (9).

Automatic needle threader
- Raise the needle to its highest position.
- Press lever (A) down as far as it will go.
- The threader automatically swings to the threading position (B).
- Pass the thread around the thread guide (C).
- Pass the thread in front of the needle around the hook (D) from bottom to top.
- Release lever (A).

- Pull the thread through the needle eye.

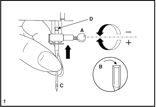
Thread tension
Upper thread tension
Basic thread tension setting: “4”. To increase the tension, turn the dial to the next number up. To reduce the tension, turn the dial to the next number down.
- Normal thread tension for straight stitch sewing.

- The Thread tension is too loose for straight stitch sewing. Turn the dial to a higher number.

- The Thread tension is too tight for straight stitch sewing. Turn the dial to a lower number.

- Normal thread tension for zig-zag and decorative sewing. Correct thread tension is when a small amount of the upper thread appears on the bottom side of the fabric.

Lower thread tension
To test the bobbin thread tension, remove the bobbin case and bobbin and hold it by suspending it by the thread. Jerk it once or twice. If the tension is correct, the thread will unwind by about an inch or two. If the tension is too tight, it does not unwind at all. If the tension is too loose, it will drop too much. To adjust, turn the small screw on the side of the bobbin case.
Please note:
- Proper setting of tension is important to good sewing.
- There is no single tension setting appropriate for all stitch functions, thread, or fabric.
- A balanced tension (identical stitches both top and bottom) is usually only desirable for straight stitch construction sewing.
- 90% of all sewing will be between “3” and “5”.
- For zig-zag and decorative sewing stitch functions, thread tension should generally be less than for straight stitch sewing.
- For all decorative sewing, you will always obtain a nicer stitch and less fabric puckering when the upper thread appears on the bottom side of your fabric.
Raising the bobbin thread
- Hold the upper thread with the left hand. Turn the handwheel (1) towards you (counterclockwise), lowering, then raising the needle.

- Gently pull on the upper thread to bring the bobbin thread up through the needle plate hole (2). Lay both threads to the back under the presser foot (3).

Reverse sewing
To secure the beginning and the end of a seam, press down the reverse sewing lever (A). Sew a few reverse stitches. Release the lever, and the machine will sew forward again (1).
Removing the work
Turn the handwheel counterclockwise to bring the thread take-up lever to its highest position, raise the presser foot, and remove work behind the needle and presser foot (2).
Cutting the thread
Pull the threads behind the presser foot. Guide the threads to the side of the face plate and into the thread cutter (B). Pull threads down to cut (3).
How to choose your pattern
For straight stitch, select the pattern
with the pattern selector dial. Adjust the stitch length with the stitch length dial.
For zigzag stitch, select the pattern
with the pattern selector dial. Adjust the stitch length according to the fabric being used.
To obtain any of the other patterns shown on the stitch selection panel, select the stitch with the pattern selector dial. Adjust the stitch length with the stitch length dial.
- Reverse lever
- Stitch length dial
- Stitch display
- Stitch pattern selector dial


Straight stitching
Turn the stitch selection dial so that the pointer is set to the straight stitch position. Generally speaking, the thicker the fabric, thread, and needle, the longer the stitch should be. For a fine stitch, set length at “1” or “2”. For gathering, set to straight stitch, with stitch length at “4”. Do 2 rows of stitching ¼ of an inch apart. Remove from the machine, hold the bobbin thread, and gather the fabric to the desired fullness.
Zigzag stitching
Turn the pattern selector dial so that the stitch display shows “zig-zag”
. Turning the pattern selector dial will increase or decrease the zig-zag width (1).
Function of the stitch length dial while zigzag
The density of zigzag stitches increases as the setting of the stitch length dial approaches “0”. Neat zigzag stitches are usually achieved at “2.5” or below. Closed up zigzag stitches (close together) are referred to as a satin stitch (2).
GB Blind hem/Lingerie stitch
The blind hem foot is an optional accessory not supplied with this machine.
- For hems, curtains, trousers, skirts, etc.
Blind hem/lingerie for firm fabrics.- Set the machine as illustrated in a, b, and c.
Note: It takes practice to sew blind hems. Always make a sewing test first.
- Fold the fabric as illustrated with the wrong side uppermost (1).
- Place the fabric under the foot. Turn the handwheel forward by hand until the needle swings fully to the left. It should just pierce the fold of the fabric. If it does not, adjust the stitch width accordingly (2).
- If using the optional blind hem foot, adjust the guide (3) by turning the knob (4) so that the guide just rests against the fold. Sew slowly, guiding the fabric carefully along the edge of the guide. It takes practice to sew blind hems. Always make a sewing test first.

Overedge stitches
The overcasting foot is an optional accessory not supplied with your machine.
- Seams, neatening, visible hems.
Standard overlock: ![]()
- For fine knits, jerseys, neck edges, and ribbing (a).
Double overlock stitch: ![]()
- For fine knits, handknits, seams (b).
All overedge stitches are suitable for sewing and overcasting edges and visible seams in one operation. When overcasting, the needle should just go over the edge of the fabric.
Attention: Use new needles or ball-point needles, or stretch needles!
Troubleshooting Guide


For more details, please visit singer.com.
For More Manuals By Singer, Visit ManualsLibraryy.
Singer 50T8-E99670 Sewing Machine-FAQs
Q1. What accessories come with the Singer 50T8-E99670?
It includes multiple presser feet (all-purpose, zipper, buttonhole, and button sewing foot), needles, bobbins, seam ripper/brush, quilting guide, screwdriver, auxiliary spool pin, spool pin felt, and a soft dust cover.
Q2. Is the Singer 50T8-E99670 easy to use?
Yes, it is designed with user-friendly controls, an automatic needle threader, and simple stitch settings, making it suitable for beginners and regular users.
Q3. Why is my Singer sewing machine not stitching?
Common causes include incorrect threading, bobbin issues, a bent needle, or improper tension. Re-check threading, replace the needle if damaged, and clean lint buildup.
Q4. How can I control the speed of this sewing machine?
Speed is controlled with the foot pedal. For more precise sewing, apply gentle pressure for slow stitching and firmer pressure for faster operation.
Q5. How do I adjust the thread tension?
Turn the tension dial—higher numbers tighten the thread, lower numbers loosen it. The standard setting is usually around “4” for most fabrics.
Q6. How often should I oil my Singer sewing machine?
Oil it after every few projects or when you notice dryness or noise. Always clean lint and dust before oiling, and avoid over-oiling.
Q7. What needle size should I use?
Use smaller needles (size 9–11) for lightweight fabrics like cotton, and larger sizes (14–16 or above) for heavy fabrics like denim or canvas.
Q8. What are common problems with Singer machines?
Frequent issues include skipped stitches, thread bunching, bobbin thread breaking, and needle bending. Most are solved by correct threading, tension adjustment, or replacing the needle.


































![50T8-E99670 Sewing Machine User Manual Singer 50T8-E99670 Sewing Machine User Manual 36]](https://manualslibraryy.com/wp-content/uploads/2025/08/Singer-50T8-E99670-Sewing-Machine-User-Manual-36.png)














