
Hobart Handler 210MVP MIG Wire Welder

Arc Welding Hazards
ELECTRIC SHOCK can kill.
Touching live electrical parts can cause fatal shocks or severe burns. The electrode and work circuit is electrically live whenever the output is on. The input power circuit and machine internal circuits are also live when power is on. In semiautomatic or automatic wire welding, the wire, wire reel, drive roll housing, and all metal parts touching the welding wire are electrically live. Incorrectly installed or improperly grounded equipment is a hazard.
ELECTRIC SHOCK can kill.
- Do not touch live electrical parts.
- Wear dry, hole-free insulating gloves and body protection.
- Insulate yourself from work and ground using dry insulating mats or covers big enough to prevent any physical contact with the work or ground.
- Do not use AC output in damp areas, if movement is confined, or if there is a danger of falling.
- Use AC output ONLY if required for the welding process.
- If AC output is required, use the remote output control if present on the unit.
- Additional safety precautions are required when any of the following electrically hazardous conditions are present: in damp locations or while wearing wet clothing; on metal structures such
as floors, gratings, or scaffolds; when in cramped positions such as sitting, kneeling, or lying; or when there is a high risk of unavoidable or accidental contact with the workpiece or ground. For these conditions, use the following equipment in the order presented:- a semiautomatic DC constant voltage (wire) welder,
- a DC manual (stick) welder, or 3) an AC welder with reduced open-circuit voltage. In most situations, the use of a DC, constant voltage wire welder is recommended. And, do not work alone!
- Disconnect the input power or stop the engine before installing or servicing this equipment. Lockout/tagout input power according to OSHA 29 CFR 1910.147 (see Safety Standards).
- Properly install and ground this equipment according to its Owner’s Manual and national, state, and local codes.
- Always verify the supply ground — check and be sure that the input power cord ground wire is properly connected to the ground terminal in the disconnect box or that the cord plug is connected to a properly grounded receptacle outlet.
- When making input connections, attach proper grounding conductor first − double-check connections.
- Keep cords dry, free of oil and grease, and protected from hot metal and sparks.
- Frequently inspect the input power cord for damage or bare wiring —replace the cord immediately if damaged — bare wiring can kill.
- Turn off all equipment when not in use.
- Do not use worn, damaged, undersized, or poorly spliced cables.
- Do not drape cables over your body.
- If earth grounding of the workpiece is required, ground it directly with a separate cable.
- Do not touch the electrode if you are in contact with the work, ground, or another electrode from a different machine.
- Use only well-maintained equipment. Repair or replace damaged parts at once. Maintain unit according to manual.
- Do not touch electrode holders connected to two welding machines at the same time since double open-circuit voltage will be present.
- Wear a safety harness if working above floor level
- Keep all panels and covers securely in place.
- Clamp work cable with good metal-to-metal contact to workpiece or worktable as near the weld as practical.
- Insulate the work clamp when not connected to the workpiece to prevent contact with any metal object.
- Do not connect more than one electrode or work cable to any single weld output terminal.
SIGNIFICANT DC VOLTAGE exists in inverters after stopping the engine.
- Stop the engine on the inverter and discharge input capacitors according to instructions in the Maintenance Section before touching any parts.
HOT PARTS can cause severe burns.
- Do not touch hot parts bare-handed.
- Allow a cooling period before working on equipment.
- To handle hot parts, use proper tools and/or wear heavy, insulated welding gloves and clothing to prevent burns.
FLYING METAL or DIRT can injure the eyes.
- Welding, chipping, wire brushing, and grinding cause sparks and flying metal. As welds cool, they can throw off slag.
- Wear approved safety glasses with side shields even under your welding helmet.
FUMES AND GASES can be hazardous.
Welding produces fumes and gases. Breathing these fumes and gases can be hazardous to your health.
- Keep your head out of the fumes. Do not breathe the fumes
- If inside, ventilate the area and/or use local forced ventilation at the arc to remove welding fumes and gases.
- If ventilation is poor, wear an approved air-supplied respirator.
- Read and understand the Material Safety Data Sheets (MSDSs) and the manufacturer’s instructions for metals, consumables, coatings, cleaners, and degreasers.
- Work in a confined space only if it is well ventilated, or while wearing an air-supplied respirator. Always have a trained watchperson nearby. Welding fumes and gases can displace air and lower the oxygen level causing injury or death. Be sure the breathing air is safe.
- Do not weld in locations near degreasing, cleaning, or spraying operations. The heat and rays of the arc can react with vapors to form highly toxic and irritating gases.
- Do not weld on coated metals, such as galvanized, lead, or cadmium-plated steel, unless the coating is removed from the weld area, the area is well-ventilated, and while wearing an air-supplied
respirator. The coatings and any metals containing these elements can give off toxic fumes if welded.
BUILDUP OF GAS can injure or kill.
- Shut off the shielding gas supply when not in use.
- Always ventilate confined spaces or use an approved air-supplied respirator.
ARC RAYS can burn eyes and skin.
Arc rays from the welding process produce intense visible and invisible (ultraviolet and infrared) rays that can burn eyes and skin. Sparks fly off from the weld.
- Wear an approved welding helmet fitted with a proper shade of filter lenses to protect your face and eyes from arc rays and sparks when welding or watching (see ANSI Z49.1 and Z87.1 listed in
Safety Standards). - Wear approved safety glasses with side shields under your helmet.
- Use protective screens or barriers to protect others from flash, glare, and sparks; warn others not to watch the arc.
- Wear protective clothing made from durable, flame-resistant material (leather, heavy cotton, or wool) and foot protection.
Miscellaneous Symbols And Definitions
- Some symbols are found only on CE products.

Serial Number And Rating Label Location
The serial number and rating information for this product is located on the back. Use a rating label to determine input power requirements and/or rated output. For future reference, write the serial number in the space provided on the back cover of this manual.
Unit Specifications For 230 VAC
| Rated Welding Output | Amperage Range | Maximum Open- Open-Circuit voltage DC | Amperes Input at Rated Load Output 230 V, 60 Hz, Single-Phase | KVA | KW | Weight W/ Gun | Overall Dimensions |
|
150 A @ 23 Volts DC, 30% Duty Cycle |
25 − 210 |
34 |
24 |
5.54 |
4.72 |
79 lb (36 kg) | Length: 19-1/2 in. (495 mm) Width: 10-5/8 in. (273 mm) Height: 12-3/8 in. (314 mm) |
| Wire Type And Diameter | Solid/ Stainless | Flux Cored | Aluminum | Wire Feed Speed Range | |||
| .023 − .035 in. (0.6 − 0.9 mm) | .030 − .045 in. (0.8 − 1.2 mm) | .030 − .035 in. (0.8 − 0.9 mm) | 70 − 750 IPM (1.8 − 19.0 m/min) At No Load 40 − 680 IPM (1.0 − 17.3 m/min) Feeding Wire | ||||
Unit Specifications For 115 VAC
| Rated Welding Output | Amperage Range | Maximum Open-Circuit Voltage DC | Amperes Input at Rated Load Out- put 120 V, 60 Hz, Single-Phase | KVA | KW | Weight W/ Gun | Overall Dimensions | |
|
90 A @ 19 Volts DC, 20% Duty Cycle |
25 − 140 |
28 |
20 |
2.84 |
2.41 |
79 lb (36 kg) | Length: 19-1/2 in. (495 mm) Width: 10-5/8 in. (273 mm) Height: 12-3/8 in. (314 mm) | |
|
Wire Type And Diameter | Solid/Stainless | Flux Cored | Aluminum | Wire Feed Speed Range | ||||
| .023 – .035 in. (0.6 – 0.9 mm) | .030 – .035 in. (0.8 – 0.9 mm) | .030 in. (0.8 mm) | 60 − 740 IPM (1.5 − 18.8 m/min) At No Load 40 − 600 IPM (1.0 − 15.2 m/min) Feeding Wire | |||||
INSTALLATION
Selecting A Location

- Special installation may be required where gasoline or volatile liquids are present − see NEC Article 511 or CEC Section 20.
- Do not move or operate a unit where it could tip.
- Line Disconnect Device: Locate the unit near the correct input power supply.
Installing Nozzle, Contact Tip, And Adapter

- Turn off the welding power source.
- Nozzle
- Contact Tip
- Tip Adapter
- Wire size stamped on tip − check and match wire size.
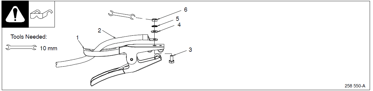
Installing Work Clamp

- Work Clamp
- Work Cable From Unit
- Screw
- Flat Washer
- Lock Washer
- Nut
Route work cable through the hole in the clamp handle. Secure the cable with hardware as shown.
- Connection hardware must be tightened with proper tools. Do not just hand-tighten the hardware. A loose electrical connection will cause poor weld performance and excessive heating of the work clamp.
Process/Polarity Table
| Process | Polarity | Cable Connections | |
| Cable To Gun | Cable To Work | ||
| GMAW − Solid wire with shielding gas | DCEP − Reverse polarity | Connect to positive (+) output terminal | Connect to negative (−) output terminal |
| FCAW − Self-shielding wire − no shielding gas | DCEN − Straight Polarity | Connect to negative (−) output terminal | Connect to positive (+) output terminal |
OPERATION
Controls

- Wire Speed Control: Control varies the rate of wire being fed through the welding gun.
- Power Switch/Supplementary Protector: Turns the power on and off. Also, this switch functions as a supplementary protector CB1. CB1 protects the unit from overload. If CB1 opens, the unit shuts down. Reset the power switch/supplementary protector.
- Voltage Control: Control varies the voltage level of the welding arc. The voltage range is 4 (minimum) to 7 (maximum) on 115 VAC and 1 (minimum) to 7 (maximum) on 230 VAC.
- The switch must “click” into the detent position. DO NOT switch under load.
- Over Temperature Light: Light illuminates if the main transformer overheats.
- Gun Trigger Receptacle
- Trigger Switch: When pressed, energizes wire feed motor and gas valve for shielding gas flow.
Overload Protection

- Supplementary Protector
- CB1/Power Switch
- CB1 protects the unit from overload. If CB1 opens, the unit shuts down.
- Reset supplementary protector/power switch.
- CB1 also turns the unit on and off.
Changing the Drive Roll Or Wire Inlet Guide

- Inlet Wire Guide Securing Screw
- Inlet Wire Guide: Loosen thumbscrew. Slide tip as close to driving rolls as possible without touching.
Tighten thumbscrew. - Drive Roll: The drive roll consists of two different grooves. The stamped markings on the end surface of the drive roll refer to the groove on the opposite side of the drive roll. The groove closest to the motor shaft is the proper groove to thread (see Section 5-16).
- VK (Knurled) groove is used for flux cored wire and V groove is used for solid wire.
- Retaining Pin: To secure the drive roll, locate the open slot and push the drive roll completely over the retaining pin, then rotate the drive roll (1/4 turn) to the closed slot.
- Drive Roll Tension Knob: Using flux core wire with VK groove, tension should be set between 1-1/2 to 2. Higher settings may cause welding wire to deform and not allow proper feeding.
- Flux Core Wire − Recommended stick out is 1/2 in. (12.7 mm) from the gun tip.
- Solid Wire − Recommended stickout is 3/8 in. (9.5 mm) from the gun tip.
The actual drive roll may differ from that shown. See Section 10-2 for additional drive roll configurations.
Troubleshooting Table
| Trouble | Remedy |
| No weld output; wire does not feed; fan does not run. | Secure the power cord plug-in receptacle (see Section 5-11). |
| Replace the building line fuse or reset the circuit breaker if open. | |
| Place the Power switch in the On position (see Section 6-1). | |
| Reset the welding power source supplementary protector (see Section 7-2). | |
| No weld output; the wire does not feed; the fan motor continues to run. | Thermostat TP1 open (overheating). Allow the fan to run with the gun trigger switch off; the thermostat closes when the unit has cooled (see Section 4-4). |
| Check the Voltage range switch position. Rotate the knob until it “clicks” into detent at desired range setting. | |
| Secure gun trigger leads (see Section 5-4). | |
| No weld output; wire feeds. | Connect the work clamp to get good metal-to-metal contact. |
| Replace the contact tip (see Section 7-5). | |
| Check for proper polarity connections (see Sections 5-6). | |
| Check the thumbscrew securing the gun end to feed the head adapter and tighten it if necessary. | |
| Wire does not feed; the wire is not energized; wire feeds unevenly. | Check contact tip. Check for kinks in the gun cable and liner. |
| Check the gun trigger plug connection at the welding power source/wire feeder. | |
| Check, and if necessary, replace the gun trigger switch (see Section 7-6). | |
| Check contact tip. Check for kinks in the gun cable. Blow out liner and gun casing (see Section 7-5). | |
| Low weld output. | Connect the unit to the proper input voltage or check for low line voltage. |
| Place the voltage switch in the desired position (see Section 6-1). | |
| Electrode wire feeding stops during welding. | Straighten gun cable and/or replace damaged parts. |
| Adjust drive roll pressure (see Section 5-16). | |
| Change to proper drive roll groove (see Section 7-4). | |
| Readjust hub tension (see Section 5-14). | |
| Replace the contact tip if blocked (see Section 7-5). | |
| Clean or replace the wire inlet guide or liner if dirty or plugged (see Section 7-4 or Section 7-5). | |
| Replace the drive roll or pressure bearing if worn or slipping (see Section 7-4). | |
| Secure gun trigger leads or repair leads (see Section 5-4). | |
| Check and clear any restrictions at the drive assembly and liner (see Section 7-4 or Section 7-5). | |
| The gun is not secured to feed the head. Check the thumbscrew securing the gun end to feed the head adapter and tighten it if necessary. | |
| Have the nearest Factory Authorized Service Agent check the drive motor. | |
| Weld porosity. | Remove the weld spatter buildup in the nozzle. |
| Check the O-rings on the gun connector and replace if damaged. | |
| Make sure the inner head tube is tight in the cable connector. | |
| Check the gun connector to be sure it is fully inserted into the drive assembly. | |
| Check shielding gas flow/supply. | |
| Check for proper output polarity (see Section 5-6) |
Typical GMAW (MIG) Process Connections
Holding And Positioning Welding Gun

- Hold the Gun and Control the Gun Trigger
- Workpiece
- Work Clamp
- Electrode Extension (stickout) Solid Wire − 3/8 to 1/2 in. (9 to 13 mm)
- Cradle Gun and Rest Hand on Workpiece
Poor Weld Bead Characteristics

- Large Spatter Deposits
- Rough, Uneven Bead
- Slight Crater During Welding
- Bad Overlap
- Poor Penetration
Troubleshooting − Excessive Spatter

Troubleshooting − Porosity

Common GMAW (MIG) Shielding Gases
This is a general chart for common gases and where they are used. Many different combinations (mixtures) of shielding gases have been developed over the years. The most commonly used shielding gases are listed in the following table.
|
Gas | Application | |||||
| Spray Arc Steel | Short-Circuiting Steel | Spray Arc Stainless Steel | Short-Circuiting Stainless Steel | Spray Arc Aluminum | Short-Circuiting Aluminum | |
| Argon | All Positions5 | All Positions | ||||
| Argon + 1% O2 | Flat & Horizontal5 Fillet | Flat & Horizontal5 Fillet | ||||
| Argon + 2% O2 | Flat & Horizontal5 Fillet | Flat & Horizontal5 Fillet | ||||
| Argon + 5% O2 | Flat & Horizontal5 Fillet | |||||
| Argon + 8% CO2 | Flat & Horizontal5 Fillet | All Positions | ||||
| Argon + 25% CO2 | Flat & Horizontal1 Fillet | All Positions | All Positions3 | |||
| Argon + 50% CO2 | All Positions | |||||
| CO2 | Flat & Horizontal1 Fillet | All Positions | ||||
| Helium | All Positions2 | |||||
| Argon + Helium | All Positions2 | |||||
| Tri-Mix4 | All Positions | |||||
Troubleshooting Guide For Semiautomatic Welding Equipment
| Problem | Probable Cause | Remedy |
| The wire feed motor operates, but the wire does not feed. | Too little pressure on wire feed rolls. | Increase pressure setting on wire feed rolls. |
| Incorrect wire feed rolls. | Check the size stamped on wire feed rolls, replace them to match the wire size and type if necessary. | |
| The wire spool brake pressure is too high. | Decrease brake pressure on the wire spool. | |
| Restriction in the gun and/or assembly. | Check and replace cable, gun, and contact tip if damaged. Check the size of the contact tip and cable liner, and replace if necessary. | |
| Wire curling up in front of the wire feed rolls (bird nesting). | Too much pressure on wire feed rolls. | Decrease pressure setting on wire feed rolls. |
| Incorrect cable liner or gun contact tip size. | Check the size of the contact tip and check the cable liner length and diameter, replace if necessary. | |
| The gun end is not inserted into the drive housing properly. | Loosen the gun securing bolt in the drive housing and push the gun end into the housing just enough so it does not touch wire feed rolls. | |
| Dirty or damaged (kinked) liner. | Replace liner. |
| Problem | Probable Cause | Remedy |
| Wire feeds, but no gas flows. | The gas cylinder is empty. | Replace the empty gas cylinder. |
| The gas nozzle was plugged. | Clean or replace the gas nozzle. | |
| The gas cylinder valve is not open or the flowmeter is not adjusted. | The open gas valve at the cylinder and adjust the flow rate. | |
| Restriction in gas line. | Check the gas hose between the flowmeter and wire feeder, and the gas hose in the gun and cable assembly. | |
| Loose or broken wires to the gas solenoid. | Have Factory Authorized Service Agent repair wiring. | |
| The gas solenoid valve not operating. | Have Factory Authorized Service Agent replace the gas solenoid valve. | |
| Incorrect primary voltage connected to a welding power source. | Check the primary voltage and relink the welding power source for the correct voltage. | |
| The welding arc is not stable. | Wire slipping in drive rolls. | Adjust the pressure setting on wire feed rolls. Replace worn drive rolls if necessary. |
| Wrong size gun liner or contact tip. | Match liner and contact tip to wire size and type. | |
| Incorrect voltage setting for selected wire feed speed on the welding power source. | Readjust welding parameters. | |
| Loose connections at the gun weld cable or work cable. | Check and tighten all connections. | |
| Gun in poor shape or loose connection inside the gun. | Repair or replace the gun as necessary. |
Accessories
| Part No. | Description | Remarks |
| 770 187 | Running Gear/Cylinder Rack | For One Small Gas Cylinder, 100 lb (45 kg) max. |
| 194 776 | Small Running Gear/Cylinder Rack | For One Small Gas Cylinder, 75 lb (34 kg) max. |
| 195 186 | Protective Cover | Weatherproof nylon |
| 245 926 | H100S4-10 Replacement Gun | 10 ft length/.030-.035 wire size |
| 300 796 | SpoolRunner 100 Spool Gun | For push/pull wire feeding |
| 221 037** 770 198* | Regulator/Flowmeter | For Argon and Argon mixed shielding gas. Use with replacement hose 183 581. |
| 237 702** | Regulator/Flowmeter | For CO2 shielding gas. Use with replacement gas hose 144 108. |
| *Available at farm and tool supply retailers. ** Available at Hobart/Miller welding distributors. | ||
Consumables
| Item | Hobart Package No.* | Miller Package No.** |
| Contact Tips | ||
| .023/.025 in (0.6 mm) | 770 174 (5 per package) | 087 299 (10 per package) |
| .030 in (0.8 mm) | 770 177 (5 per package) | 000 067 (10 per package) |
| .035 in (0.9 mm) | 770 180 (5 per package) | 000 068 (10 per package) |
| .045 in (1.2 mm) | 770 183 (5 per package) | 000 069 (10 per package) |
| MIG Nozzle (Standard) | 770 404 | 169 715 |
| Gasless Flux Cored Nozzle | 770 487 | 226 190 |
| Tip Adapter | 770 402 | 169 716 |
| Replacement Liners | ||
| .023/.025 in (0.6 mm) | 196 139 | 194 010 |
| .030/.035 in (0.8/0.9 mm) | 196 139 | 194 011 |
| .035/.045 in (0.9/1.2 mm) | 196 140 | 194 012 |
| Replacement Drive Rolls | For All Feed Head Assemblies | |
| .023/.025 in. (0.6 mm) and .030/.035 in. (0.8/ 0.9 mm) V Groove | 237 338 | 237 338 |
| .030/.035 in. (0.8/ 0.9 mm) and .045 in. (1.2 mm) VK Groove | 202 926 | 202 926 |
| .030/.035 in. (0.8/ 0.9 mm) V and VK Groove | 246 565 | 246 565 |
| *Available at farm and tool supply retailers. ** Available at Hobart/Miller welding distributors. | ||
- A complete Parts List is available online at www.HobartWelders.com
To maintain the factory’s original performance of your equipment, use only the Manufacturer’s Suggested Replacement Parts. Model and serial number are required when ordering parts from your local distributor.
For more manuals by Hobart Welders, visit ManualsLibraryy
Hobart Handler 210MVP MIG Wire Welder-FAQs
What power supply does the Hobart Handler 210MVP require?
It operates on dual voltage (115V or 230V), allowing flexibility to weld using household power or higher voltage without additional tools.
How many amps does the Hobart Handler 210MVP provide?
It delivers 30 to 280 amps with an optimized arc for smooth welding and minimal spatter.
What does wire speed control in MIG welding?
Wire speed controls amperage and weld penetration. If set too high, it can cause burn-through, while too low can result in poor penetration.
How much power does a welder need?
A 110V MIG welder typically consumes 1,000 to 1,800 watts, depending on its amperage.
What voltage does a welder operate on?
Most welding power sources can run on multiple voltages, such as 208V, 230V, or 460V, depending on the model.
When should I use a 7018 welding rod?
The E7018 electrode is ideal for structural steel welding, providing a stable arc and low spatter.
What is the best voltage for MIG welding?
For different wire sizes:
1. 0.024-inch wire: 13-15V with 130-160 IPM wire speed
2. 0.030-inch wire: 15-17V with 75-100 IPM wire speed
What happens if the wire feed speed is too high?
An excessively high wire feed speed can cause ropey welds or burn-through on the base material.
How many amps does a good welder need?
As a general rule, you need 1 amp per 0.001” of steel thickness.
1. Stainless steel: Requires 10-15% less heat
2. Aluminum: Requires 25% more heat

