
Adexa SN75 Meat Dry Aging Maturing Refrigerator

Safety information
WARNING
- Packaging materials may not be used for playing. There is a danger of suffocation.
- Transport, unpack, and use two people to set down the device because of its heavy weight of the device.
Unpacking
To unpack the device, proceed as follows:
- Remove the device from the carton and remove the packaging material.
- The device should only be moved in an upright position.
- Clean the interior surface with lukewarm water using a soft cloth.
- After at least 24 hours, plug the appliance into the wall outlet, then place meat in the appliance.
Disposal of the packaging
The packaging protects the device against damage during transit. The packaging materials are selected in accordance with environmentally compatible and recycling-related points of view and can therefore be recycled. Returning the packaging to the material loop saves raw materials and reduces the quantities of accumulated waste.
Take any packaging materials that are no longer required to “Green Dot” recycling collection points for disposal.
PLEASE NOTE
If possible, keep the original packaging for the device for the duration of the guarantee period of the device, in order that the device can be re-packaged properly in the event of a guarantee claim.
Setup
Set up location requirements:
In order to ensure the safe and trouble-free operation of the device, the setup location must fulfil the following prerequisites:
- Place your appliance on a floor that is strong enough to support the appliance when it is fully loaded.
- Locate the appliance away from direct sunlight and sources of heat (stove, heater, radiator, etc.). Direct sunlight may affect the acrylic coating, and heat sources may increase electrical consumption.
- This unit is not designed for use in a garage or any other outside installation.
- Do not set up the device in a hot, wet, or extremely damp environment or near flammable material.
- The device requires an adequate flow of air in order to operate correctly. Leave a clearance of 15 cm around the appliance.
- WARNING! Do not close the ventilation openings in the device housing.
- The electrical socket must be easily accessible so that the power lead can be disconnected easily, in the case of an emergency.
- The installation and assembly of this device in non-stationary setup locations (e.g. on ships) must be carried out by specialist companies/electricians, provided they guarantee the prerequisites for the safe use of this device.
- For energy-saving reasons, please ensure that the door is closed when the appliance is turned on.
Feet
There are different feet (3 bigger feet and 1 small foot).
To level your device, adjust the small foot at the bottom of the device.
The handle installation
The device comes with one metal stainless steel handle. To install, simply screw them to the door with the supplied screws.
To do this, slide the rubber seal on the back of the door to the side to open the predrilled holes. Use the included screws to install the handle on the door.
Electrical connection
In order to ensure the safe and trouble-free operation of the device, the following instructions must be observed for the electrical connection:
- Before connecting the device, compare the connection data (voltage and frequency) on the rating plate with those of your electrical network. This data must agree in order that no damages occur in the device. If in doubt, ask your qualified electrician.
- The connection between the device and the electrical network may employ a 3-meter-long (max.) extension cable with a cross-section of 1.5 mm². The use of multiple plugs or gangs is prohibited because of the danger of fire that is involved with this.
- Make sure that the power cable is undamaged and has not been installed under or over hot or sharp surfaces.
- This unit is not designed to be installed in an RV or used with an inverter.
- The electrical outlet must be protected by a 16A safety cut-out switch.
- The electrical safety of the device is only guaranteed if the device is connected to a properly installed protective conductor system. If in doubt, have the house installation checked over by a qualified electrician. The manufacturer cannot be made responsible for damages that are caused by a missing or damaged protective conductor.
Design and Function
This chapter provides you with important safety notices on the design and function of the device.
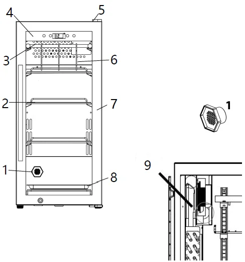
Complete overview
- activated carbon filter
- stainless steel shelves
- hanging rack
- touch control panel
- hinge
- butcher hooks
- door frame (lockable)
- collecting tray
- UV lamp (behind the hanging rack)
Removal of stainless steel shelves
To remove a stainless steel shelf, first remove the meat. Use gloves that are suitable for contact with food. Lift the stainless steel shelf upwards and gently pull it out.
PLEASE NOTE
Carefully ensure that the stainless steel shelves and/or hanging rack for the butcher hooks are correctly locked into position before you place meat on it or suspend meat from it.
Operation and Handling
This chapter provides you with important notices with regard to operating the device.
Operating elements and displays
- Setting the temperature (2- 14°C) and humidity (50% -85%)
- Change between the temperature and humidity settings
- Press 1x: switch on the LED light (switches off automatically after 4 hours). Hold down for 5 seconds: UV light switches on
- Switch the device on / off
Operation:
- Please clean the device before use (see chapter “Cleaning and Maintenance”).
- Press the on/off button to switch the device on.
- Switch on the UV light for at least 2 hours to sterilize the interior.
To do this, press and hold the
button for 5 seconds.
H2O reservoir
Fill 300 ml of drinking water into each H2O reservoir before placing meat into the device. Remove the plastic packaging beforehand.
Please note
If the displayed humidity during the aging process does not match the desired setting, you have to rewet the H2O reservoir if the humidity is too low.
Setting the temperature or humidity:
With
you can switch between the settings and display of temperature or humidity.
Press the button
once, then the temperature flashes on the display and the temperatadjusted from 2-14°C in 1°C steps.
Press the button
twice, then the humidity indicator flashes on the display, and the humidity can be adjusted from 50-85% in 1% steps.
If you do not change the setting within 3 seconds, then the device will return to its previous setting. The device automatically returns to the temperature display.
- Only hang/place the meat in the DryAger when the device has reached the desired temperature.
- Tip: For ideal maturity results, we recommend the following setting: temperature 3°C / air humidity 75%.
LED light and UV light setting
Press
, to switch on the LED light; this switches off automatically after 4 hours.
Press for 5 seconds, and the UV light will turn on.
Please note
- The door has a safety switch. When you open the door of the device, the UV light switches off automatically. When you close the door, the UV light will turn on again.
- The UV light is used to clean the interior before, during, and after the aging process.
Rating plate
The rating plate with the connection and performance data can be found on the back of the device.
Dry ageing
Safety information
PLEASE NOTE
- It is not important not to open the door much in order to avoid unnecessarily affecting the climate of the equipment/the humidity of the air.
- Have a butcher/expert whom you trust inform you about dry ageing.
Danger
- Only use meat that is suitable for refinement.
- Wear gloves that are suitable for contact with food if you touch the meat and the metal shelves or meat hooks.
- A hazard of dry ageing is “wild fungi”. Unlike “good edible fungi“, this can spoil the meat and cause toxic and allergic reactions. For this reason, make sure that you maintain impeccable standards of hygiene when handling the meat and the equipment and have a butcher/expert whom you trust provide you with comprehensive information about dry ageing.
- If you notice a sourish smell, this may be an indication of “wild fungi”.
- Once the ageing process has been completed, dark and dry patches of meat must be generously removed.
- Do not consume any food that has been superimposed on the meat, as you could suffer from food poisoning.
Exemption from liability:
The manufacturer will not assume any liability for damage to refrigerated products, not even in the event of a fault in the equipment during the guarantee period. The manufacturer will also not accept liability for injury to individuals resulting from improperly stored products that are subsequently consumed.
Information about dry ageing
The dry ageing of beef, pork, and poultry is an expensive process and requires time and ideal conditions.
You will be able to store good-quality meat on the metal storage shelves or suspend it on the meat hooks inside the equipment.
Check the meat regularly for the presence of wild fungi.
If the degree of ageing that you desire has not been achieved, remove the meat, divide it into portions as you see fit, and prepare it.
Various aromas, depending on the amount of ageing
- Depending on the meat used, you will be able to obtain subtle, nutty aromas after around 21 days.
- Depending on the meat, you will obtain aromas similar to those of fungi after around 28-35 days.
- Depending on the meat used, you will be able to obtain powerful aromas similar to those of blue cheese after around 45 days or longer.
The longer you allow the meat to age, the stronger the aroma will be.
Cleaning and Maintenance
This chapter provides you with important notices with regard to cleaning and maintaining the device. Please observe the notices to prevent damage due to cleaning the device incorrectly and to ensure trouble-free operation.
Attention
Please observe the following safety notices before you commence with cleaning the device:
- Prior to commissioning, clean the appliance thoroughly.
- Clean the device thoroughly after each ageing process.
- Before cleaning, switch the dry ageing cooler off, remove the plug from the wall socket, and remove all the meat.
- Do not use any aggressive or abrasive cleaning agents or solvents.
- You must use a food-compatible cleaner that is not too aggressive for the surfaces of the device.
- Do not scrape off stubborn dirt with hard items.
- If you do not use the equipment for a fairly long period of time, you should remove all the metal shelves, the metal suspension system, and the meat hooks, and you should clean the equipment thoroughly.
- If the maturing process has failed and the meat is spoiled or wild fungi have developed, then please contact our customer service to coordinate further steps.
Interior and exterior walls
Clean the interior and exterior walls with lukewarm water and a little washing-up liquid. Never use cleaning or chemical solvents containing sand or acid.
Then wipe the device thoroughly with a soft cloth. Switch on the UV light for 24 hours after each ripening process.
Housing
Use a glass cleaner to clean the glass surfaces and a commercially available stainless steel cleaner for stainless steel surfaces.
Then wipe the device thoroughly with a soft cloth.
Container for condensed water (K)
Check the container for condensed water regularly. It is located on the rear right of the device. If necessary, remove the condensed water with a sponge.
Manual defrosting
Defrost the device after each ageing process.
Turn off the power, but do not unplug the power plug. Let the device defrost manually. Pay attention to the container for condensed water(K) and remove the condensed water during defrosting.
If the device is iced up, proceed as follows:
Remove the meat from the device. Cover it with cling film or, if possible, place it in a foil bag and refrigerate it in a suitable refrigerator. Switch off the device.
Fill the pot with hot tap water, but water that is no longer boiling, and place the pot on a cloth on the lower metal shelf.
Warning: Risk of scalding due to the hot pot.
Exercise caution when using the hot pot.
The steam will melt the ice within about an hour. The meltwater will be collected in the interior of the device and possibly in the container for condensed water (K). Remove the pot and the cloth from the device. Wipe the water out of the interior and empty the drip tray (K). Wipe the device dry with a soft cloth. Leave the device open for 1 hour so the device can ventilate.
Stainless steel shelves, hanging rack, collecting tray, and butcher hooks
Remove the Stainless steel shelves, hanging rack, collecting tray, and butcher hooks from the device and clean them with warm water and detergent for hygiene reasons. Dry the components properly.
Activated carbon filter
- Replace the activated carbon filter once a year. To do this, remove the meat (if necessary), unscrew, and replace the filter.
- You can order replacement activated carbon filters from us.
Changing the UV lamp
- Carefully loosen the screws.
- Remove the cover. The UV lamp is attached to this.
- Pull the cover of the UV lamp downwards and replace the lamp.
- Installation backwards accordingly.
Moving the appliance
Turn off the appliance first. Remove all content. Surely tape down all loose items inside your appliance. Tape doors shut. Be sure the device stays in the upright position during transportation.
Troubleshooting
This chapter provides you with important notices with regard to operating the device. Observe the following notices to avoid dangers and damages:
Fault indications and rectification of faults
The following table assists in localizing and rectifying minor faults.
The device is not cold enough.
- Check the temperature control setting.
- External environment may require a higher setting.
- The door is open too often. The door is not closed completely. The door seal does not seal properly.
- The device does not have the correct clearance. Defrost the device.
The light does not work.
Contact customer service.
Vibrations & too much noise & the door does not close properly
- Check to ensure that the device is level. Check the fan.
- Components are loose. The device touches the wall. The door is reversed and not properly installed.
- The seal is weak. The shelves are out of position.
The display does not work. Buttons are not functional.
- Pull out the mains plug, wait 2 minutes, plug in the mains plug again. If this does not solve the problem, then please contact customer service.
The compressor will not start
The room temperature is lower than the desired temperature.
Dew on the surface of the cabinet
The surface of the device, especially the glass door, appears to have some frost if the item is in a damp room. This is due to the moisture in the air coming into contact with the cabinet. Please wipe it away with a dry cloth.
Liquid sound
- The sound of the compressor when it starts or stops working
- The flowing sound of refrigerant in the refrigeration system
- The evaporating sound of refrigerant in the evaporator
Condensation formed inside the cabinet
In the environment with a high level of humidity or the door of the device has been left open for a long period or opened frequently, wipe off the door and walls and leave the door closed as long as possible.
For more Manuals by Adexa, visit ManualsLibraryy
Adexa SN75 Meat Dry Aging Maturing Refrigerator-FAQs
What is a dry-aging refrigerator?
A dry-aging fridge is a specialised climate cabinet designed to age meat under controlled temperature, humidity, and airflow. It removes extra moisture, sterilizes the air, and maintains perfect conditions for producing tender, flavorful dry-aged meat.
How is a dry-aging fridge different from a regular refrigerator?
Regular fridges only cool food. A dry-aging fridge regulates humidity, filters and sterilises air, and manages moisture levels—features essential for safe and high-quality dry aging. These functions allow meat to develop rich aroma and texture without spoilage.
How do I change the temperature on the Adexa SN75 fridge?
Use the front control panel to adjust the internal temperature. Press the temperature control buttons until the desired value is set.
What is the ideal temperature for dry aging meat?
Dry-aging works best between 32°F and 39°F (0–4°C). Temperatures above 40°F (4.4°C) increase the risk of spoilage.
What humidity level is needed for dry aging?
A dry-aging fridge typically maintains 75–85% humidity, which prevents the meat from drying too quickly while still allowing moisture loss for flavor concentration.
How does the dry-aging process work?
Meat is kept in a controlled environment with low humidity, constant cold air, and gentle ventilation. Over weeks or months, a crust forms outside while the interior becomes more tender and develops deeper flavor.
What types of meat are best for dry aging?
Beef is the most common choice, especially ribeye, sirloin, and striploin cuts. Lamb, pork, and venison can also be dry aged successfully.
Is dry-aged meat safe to eat?
Yes—when aged at correct temperature, humidity, and airflow. The protective outer crust is trimmed before cooking, exposing the fresh, aged meat underneath.
What are the risks of dry aging meat?
Improper temperature or humidity can encourage mold growth or spoilage. Some molds can produce toxins, which is why a controlled, sterilized environment is essential.
Why are dry-aging refrigerators so expensive?
They use advanced humidity control, air sterilization, odor filtration, and precise cooling technology. Their engineering prevents contamination and ensures consistent dry-age results, making them more costly than regular fridges.



