
Atlantic Summit Media Storage Cabinet Assembly

Assembly Instruction


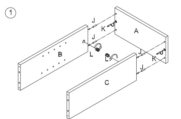
- insert wood dowels (J) and CAM screws (K) into shelf (A). Fit shelf (A) to panel (B) & (C), then turn CAM locks (L) clockwise to secure.

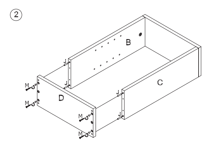
- insert wood dowels (J) into shelf (D), fit (D) to panels (B) & (C), then turn screws (M) to secure.

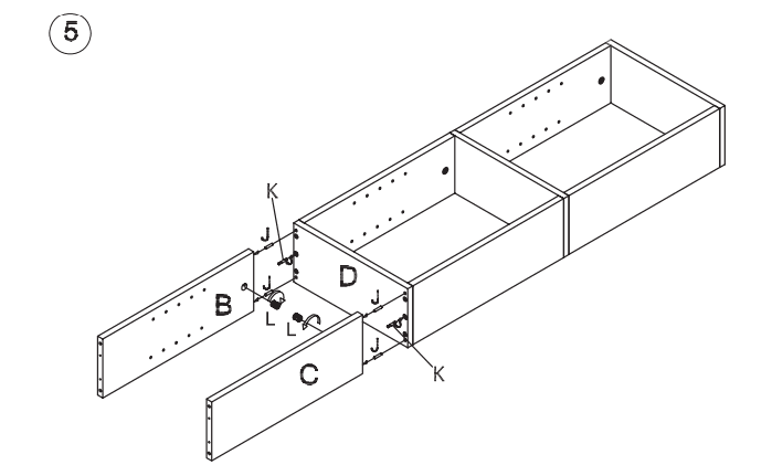
- insert wood dowels (J) and CAM screws (K) into shelf (D). Fit panels (B) & (C) to shelf (D), then turn CAM locks (L) clockwise to secure

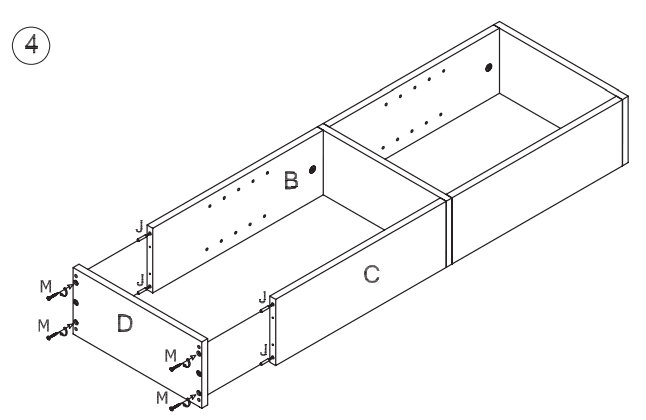
- lnsert wood dowels (J) into shelf (D), fit (D) to panel (B) & (C), then turn screws (M) to secure.

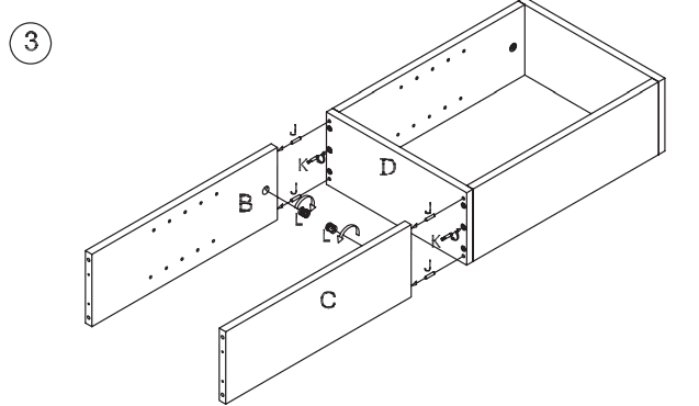
- insert wood dowels (J) and CAM screws (K) into shelf (D). Fit panels (8) & (C) to shelf (D), then turn CAM locks (L) clockwise to secure.

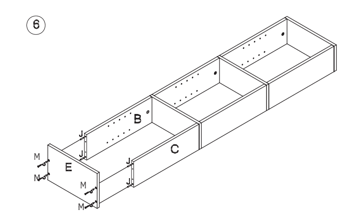
- lnsert wood dowels (J) into shelf (E), fit (E) to panel (8) & (C), then tum screws (M) to secure.

- Place unit face down. Center panel (G), (H) on back of unit. Fasten panel (G), (H) to unit with nails(O).

- Set the unit upright. Insert pins (N) at the desired height.

- Place shelves (F) on pins (N).
Safety Wall Mount for Wood Items

Mounting Instructions
Follow the instructions for the top of the unit (2 sets)
- Place mounting bracket (B) at the desired position on your wall according to the height of your unit. Mark the hole position on the wall with a pencil.
- Drill a hole in the pencil mark on the wall. Insert the plastic anchor (A) into the wall
- Place the mounting bracket (B) and screw the wood screw (C) into the pre-drill hole on the top of the unit. Move the unit closer to the wall. Adjust the sliding bracket (B) if needed. Screw the dry-wall screw (D) into the wall anchor (A).
NOTE: For Safe Mounting, it is essential to use the proper hardware for your wall type (wood, drywall, concrete, etc.) Contact your local hardware store for assistance if necessary.
Product Warranty
Thank you for your Atlantic Inc. purchase. This Limited Warranty covers any defects in material or workmanship for purchases made in the U.S.A. and Canada and excludes claims from conditions, malfunctions, or damage not resulting from defects in material or workmanship. The warranty duration is one year.
For more manuals by Atlantic, visit ManualsLibraryy
Atlantic Summit Media Storage Cabinet Assembly-FAQs
What tools do I need to assemble the Atlantic Summit Media Storage Cabinet?
You will need a Phillips screwdriver and a hammer for assembly. A power drill may help but is not required.
How long does it take to assemble the cabinet?
Assembly typically takes 1 to 2 hours, depending on experience and familiarity with the instructions.
Are the shelves adjustable?
Yes, the cabinet includes adjustable shelves, allowing you to customize the storage space based on your needs.
Can I assemble the cabinet alone?
While one person can assemble it, having a second person can make the process easier, especially when aligning parts.
What should I do if parts are missing or damaged?
Contact Atlantic’s customer service with your purchase details to request replacement parts.
How do I ensure stability after assembly?
Secure the unit to the wall using the included safety hardware to prevent tipping, especially if placing it on carpeted floors.
Can I disassemble and reassemble the cabinet if needed?
Yes, but repeated disassembly may weaken the structure. Handle the pieces carefully during reassembly.
What is the best way to clean and maintain the cabinet?
Use a soft, damp cloth to wipe the surface. Avoid harsh chemicals that may damage the finish.
What materials is the cabinet made of?
The cabinet is constructed from engineered wood with a laminated finish for durability and style.
Where can I find a digital copy of the assembly instructions?
You can download a PDF version from Atlantic’s official website or contact customer support for assistance.








