
BIUBLE JS002 Jump Starter

Package Content

Introduction
Thank you for purchasing the BIUBLE JS002 car jump starter. Please read the user manual carefully before you start to use the product.
Key Features
- 2500A Powerful Jump Starter: Jump start your vehicle (up to All petrol or 8.0L diesel engine) with 2500 amps of peak current and heavy-duty clamps in seconds.
- 24000mAh Capacity: Up to start your 12V car 30 times on a full charge.
- Wireless Power Bank and Quick Charger: 10W wireless charger function and QC3.0 USB output can provide sufficient power to quickly charge your smartphones.
- A Life Saver: The Ultra-Bright LED light has 4 light modes with Flashlight, Blink, SOS light, and Strobe light.
- Intelligent Protections: Intelligent jump cables built with 8 upgraded protections, particularly spark-proof, reverse polarity protection, over-current protection, high-temperature protection, and overload protection.
Technical Details

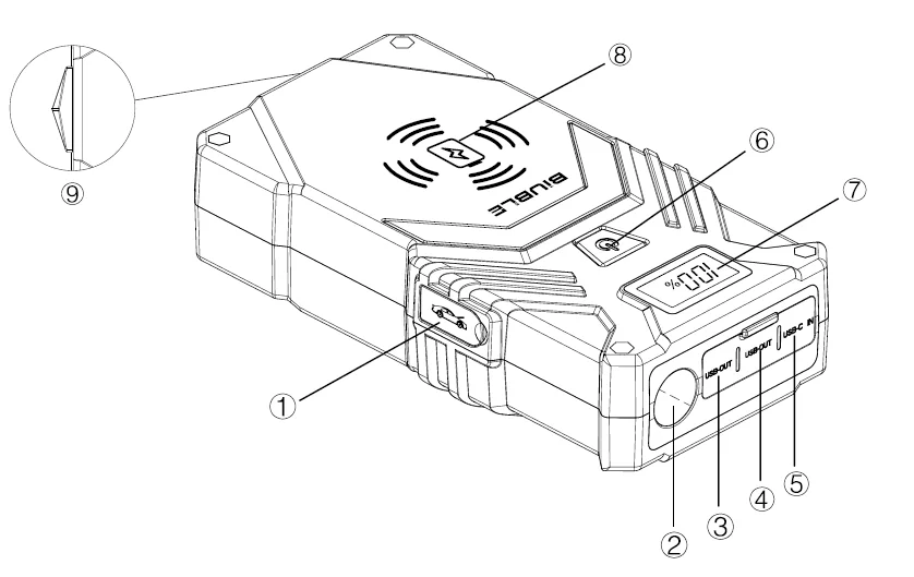
Know Your Product

Jump Starting Port
LED Light
QC3.0 USB Output
5V/2.1A USB Output
- TYPEC Input
- Power Switch
- Battery Indicator
- Wireless charger
- Safety Hammer
Technical Specifications

Operation
Power indicator light
Press the power button to check the capacity of the Jump starter. Indicator Lights as below picture(0%~100%)
NOTE: The wall charger or car charger is not included in the package, you can use a universal USB charger to recharge the unit, such as your phone or pad charger(2A above is suggested)
At Home:
- Plug the USB cable into any USB wall adaptor (5V 2A above, not included)
- Connect the USB-C cable (included) to the unit
In Car:
- Plug the USB-C cable into your car charger (5V 2A above, not included)
- Connect the USB-C cable to the unit.Note: It is recommended to recharge the Jump starter every 3-4months to maintain the efficiency and prolong the service life of the internal battery even if the unit has not been used.

Charging your devices from the USB output
Use the original manufacturer’s USB cable that came with your device and plug it into one of the USB output ports. You can charge two devices at the same time.One of the ports has a maximum output of 9V/2A, while the other has a maximum output of 5V/2.4A. Press the power button once to begin charging your device. The power level indicator will show the battery level. To check the power capacity again, simply press the power button once.
To Jump Start Your Car
To jump-start the vehicle battery, put the vehicle in park(neutral if the vehicle has a manual transmission)and engage the emergency brake. Locate the battery for the vehicle and follow the steps listed below. Jump cables are color-coded, RED for POSITIVE(+) and BLACK for NEGATIVE(-). Do not mix up the cables or allow the metal ends to touch together because this may damage the battery. charging system and/or electronics on a vehicle.
Note: This product is for a 12V car only. Check to make sure that 3 or 4 indicator lights are illuminated(battery level is above 50%)before you use it to start your car.
- Step 1: Insert the plug of the smart battery clamp into the jump starter completely. If the green and red light indicators on the battery clamp are flashing alternately, you are safe to move on to the next step.
- Step 2: Insert the plug of the smart battery clamp into the jump starter completely. If the green and red light indicators on the battery clamp are flashing alternately, you are safe to move on to the next step.
However, if the red indicator light is on:- The battery clamp may be connected in reverse. In this case, you need to disconnect the battery clamp from the vehicle and the jump starter.
- Adjust the clamps for maximum contact with the battery terminals.
- Step3:
Start Your Car.
If you failed to start your car, you need to disconnect the battery clamp from the vehicle and the jump starterwait for at least 30 seconds, then try again. - Step 4: Once your car is started. Remove the battery clamp from the car battery and the jump starter within 30 seconds.
In Any of the Following Situations, the Smart Clamp Turns Protection On:

Trouble Shooting

Security Indication
- Use the original smart clip to start the car.
- DO NOT use this unit if any cable clamp or cord is damaged.
- Start only for 12V vehicles, or it will cause serious damage to the unit.
- Do not jump-start your car when the battery capacity is lower than 50%.
- Do not connect two clamps together when the starter is powered on. And do not connect both cable clamps to the same piece of metal
- If the engine does not start on the first try, disconnect it from the car battery and wait for at least 20 seconds before reconnecting. Maximize three attempts in two minutes.
- Once the engine is successfully started, disconnect the clamps within 30 seconds.
FAQ & Troubleshooting
Q: How to turn off this power pack?
A: This power pack will power off automatically when no load or charging is complete.
Q: What kind of adapter should I use?
A: You can use the charger of your phone or tablet.
Q: How long time to fully charge the BIUBLE JS002 jump starter?
A: About 4 hours through the 9V/2A or 5V/3A AC adapter.
Q: How many times can this product start the vehicle with full capacity?
A: Up to 30 times,
Care and Maintenance
- DO NOT put the product under direct sunlight or in hot areas.
- DO NOT drop or knock your car jump starter.
- DO NOT disassemble the equipment; it may cause damage.
- DO NOT use chemicals or detergents to clean the product.
- DO NOT place the products in a high-temperature environment for long. The operating temperature: -4°F ~140°F
- Check the power of the product at least every three months, and charge the product in time.
Warranty
We provide 2 2-year warranty and 7×24 hours customer service for our products! Please feel free to contact us if you have any questions!
Contact US
For additional assistance or warranty cover claim, please contact us. Email: [email protected]
FCC Statement
This device complies with part 18 of the FCC Rules. Operation is Subject To the following two conditions:
- This device may not cause harmful interference, and
- This device must accept any interference received, including interference that may cause undesired operation. Changes or modifications not explicitly approved by the party responsible for compliance could void the user’s authority to operate this equipment.
Note: this equipment has been tested and found to comply with the limits for a Class B digital device, pursuant to part 18 of the FCC Rules. These limits are designed to provide reasonable protection against harmful interference in a residential installation. This equipment generates, uses and candidate radio frequency energy and, if not installed and used in accordance with the instructions, may cause harmful interference to radio communications. However, there is no guarantee that interference will not occur in a particular installation. If this equipment does cause harmful interference to radio or television reception, which can be determined by turning the equipment off and on, the user is encouraged to try to correct the interference by one or more of the following measures:
- Reorient or relocate the receiving antenna.
- Increase the separation between the equipment and receiver.
- Connect the equipment into an outlet on a circuit different from that to which the receiver is connected.
- Consult the dealer or an experienced radio/TV technician for help.
RF Exposure Information
The device has been evaluated to meet the general RF exposure requirements. The device can be used in portable exposure conditions without restriction.
For more manuals by BIUBLE, visit ManualsLibraryy
BIUBLE JS002 Jump Starter-FAQs
How do I charge the BIUBLE JS002 Jump Starter?
Use the included USB charging cable and connect it to a wall adapter, car charger, or computer. Let it charge for about 3 to 5 hours until all indicator lights show full power.
Can the BIUBLE JS002 start a completely dead car battery?
Yes, it can. If your car battery is completely drained, connect the jump starter and wait a few minutes to allow it to transfer some charge before starting the engine.
How do I use a lithium-ion jump starter like the BIUBLE JS002?
Connect the red clamp to the battery’s positive terminal (+) and the black clamp to the negative terminal (–). Turn on the jump starter, then start your car. Remove the clamps immediately after the engine starts.
How long does it take to charge the jump starter?
It usually takes 2 to 4 hours for a full charge, depending on the power source and the remaining battery level.
How many amps does it take to jump-start a car?
Most standard vehicles need 400–600 amps. The BIUBLE JS002 provides enough power for typical cars, SUVs, and small trucks.
Can I leave the jump starter plugged in all the time?
No, avoid leaving it plugged in continuously. Once fully charged, unplug it to prevent overcharging and preserve battery health.
Can using a jump starter damage my car battery?
When used correctly, it won’t harm your car battery. However, incorrect connections or reversed clamps may cause damage—always double-check polarity before connecting.
How do I know when the jump starter is charging?
LED indicators will light up or blink while charging. When all lights stay solid, the unit is fully charged.
How many times can I use the jump starter before recharging?
You can typically use it up to 20 times on a full charge, depending on the battery capacity and vehicle size. Recharge it after each use for best performance.
