![]()
Brinkmann SMOKE N GRILL DS-30 Charcoal Grill

ASSEMBLY INSTRUCTIONS
Tools required to assemble your Smoker:
- Flathead screwdriver
- Pliers
PARTS LIST

- 1 Dome Lid
- 1 Smoker Body
- 1 132″ Water Pan
- 1 152″ Charcoal Pan
- 2 152″ Chrome Cooking Grills
- 3 Legs
- 1 Door
- 1 Door Hinge
- 3 Metal Brackets for Handles
- 6 Wooden Handle Halves
- 1 Heat Indicator
- 3 Lower Support Brackets (V Clip)
- 3 Upper Support Brackets (Single Clip)
- 18 10-24 x s” Screws and Square Nuts
- 6 6-32 x 4″ Screws and Nuts (for Door)
- 6 8-32 x w” Screws and Nuts (for Handles)
- 1 Recipe Booklet
- Wood Chunk (sample)
STEP 1:
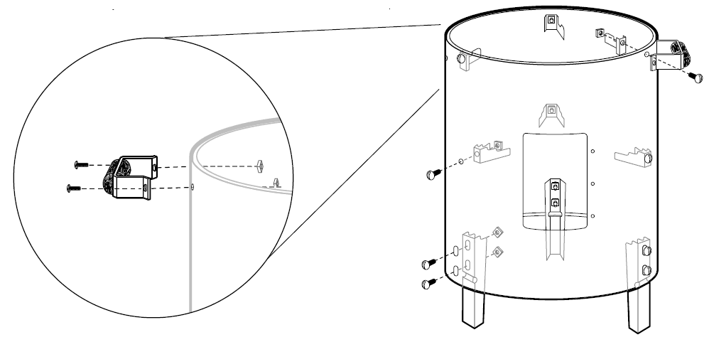
- a. Attach the three legs to smoker body using 10-24 x s” screws and square nuts as illustrated

STEP 2:
- a. Attach the three lower support brackets (V clips) to inside of smoker body through the three 4″ holes that are located about halfway down on sides. Mount each bracket with notched side facing up using 10-24 x s” screws and square nuts. Tighten screws securely.
- b. Attach the three upper support brackets (single clips) to inside of smoker body through the three 4″ holes located near the top edge. Mount each bracket with notched side facing up using 10-24 x s” screws and square nuts. Tighten screws securely.

STEP 3:
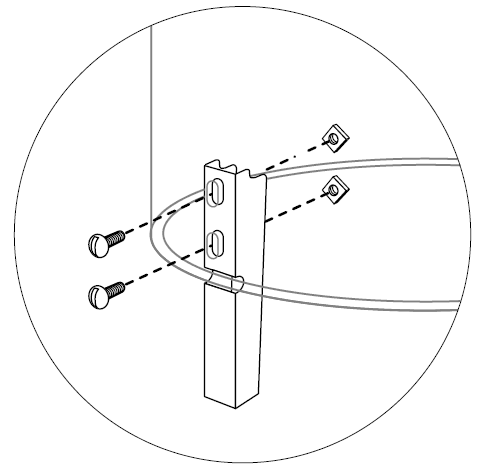
- a. Attach wooden handle halves to metal brackets using 8-32 x w” screws and nuts as illustrated.
- b. Attach two handle assemblies to side of smoker body using 10-24 x s” screws and square nuts as illustrated.


STEP 4:
- a. Attach hinge to inside of smoker body as illustrated. Use the 6-32 x 4″ screws and nuts to attach the hinge to smoker body.
- NOTE: Attach the hinge so pin is facing out of smoker as illustrated.
- b. Attach door to hinge using the remaining 6-32 x 4″ screws and nuts

STEP 5:
- a. Place charcoal pan inside smoker body on top of legs. Position charcoal pan so the rim is resting securely on notched out step of all three legs.
- b. Place water pan on top of lower support brackets. Position water pan so the rim is resting securely on notched out step of all three support brackets.
- c. Place a cooking grill on the lower support brackets directly on top of water pan.
- d. Place a cooking grill on the upper support brackets so the outer rim is resting securely on notched out step of all three support brackets.

OPERATING INSTRUCTIONS
PLACE THE SMOKER OUTDOORS ON A HARD, LEVEL, NON-COMBUSTIBLE SURFACE AWAY FROM ROOF OVERHANG OR ANY COMBUSTIBLE MATERIAL. NEVER USE ON WOODEN OR OTHER SURFACES THAT COULD BURN. PLACE THE SMOKER AWAY FROM OPEN WINDOWS OR DOORS TO PREVENT SMOKE FROM ENTERING YOUR HOUSE. IN WINDY WEATHER, PLACE THE SMOKER IN AN OUTDOOR AREA THAT IS PROTECTED FROM THE WIND
- Prior to first use, cure your smoker to minimize damage to the exterior finish as well as rid the smoker of paint odor that can impart unnatural flavors to the first meal prepared. Cure your smoker periodically throughout the year to protect against rust.
- 1. Remove water pan from smoker. Lightly coat all interior surfaces of the smoker and cooking grill with vegetable oil or vegetable oil spray. Do not
coat charcoal pan. - 2. Follow instructions carefully in the “Smoking” section of this owner’s manual to light charcoal in charcoal pan.
- WARNING: Charcoal lighting fluid must be allowed to completely burn off prior to closing dome lid (approximately 20 minutes). Failure to do this could trap fumes from charcoal lighting fluid in smoker and may result in a flash-fire or explosion when lid is opened.
- 3. With coals burning strong in charcoal pan, close dome lid.
- 4. Allow temperature to reach the “Ideal” range on the heat indicator. Maintain this temperature for two hours, then allow smoker to cool completely. It is important that the exterior of the smoker is not scraped or rubbed during the curing process.
- IMPORTANT: To protect your smoker from excessive rust, the unit must be cured periodically and covered at all times when not in use. A smoker cover may be ordered directly from Brinkmann by calling 1-800-468-5252.
- CAUTION: Before each use, check handles and support brackets to make sure they are securely fastened.
- 1. Remove water pan from smoker. Lightly coat all interior surfaces of the smoker and cooking grill with vegetable oil or vegetable oil spray. Do not
- Smoking
- Remove dome lid, cooking grills and water pan from smoker body and set aside.
- Place a drip pan/ash guard or its equivalent under the base pan to catch any ashes or drippings.
- NOTE: Heavy-duty aluminum foil folded several times can be used as a drip pan/ash guard. Make the foil sheets large enough so it extends beyond the legs of the smoker. Fold the edges up to contain any embers and drippings. Place a thin layer of water in drip pan/ash guard to help extinguish falling ashes and embers.
- Open the door on the smoker body. Make sure the charcoal pan is resting securely on notched out step of all three legs
- WARNING: Never use charcoal that has been pre-treated with lighter fluid. Use only high grade plain charcoal or charcoal/wood mix
- If using a Charcoal Chimney Starter, follow all manufacturer’s warnings and instructions regarding the use of their product. Carefully place 8-10 pounds of hot coals in the charcoal pan. Proceed to Step 7. If using charcoal lighting fluid, follow all manufacturer’s warnings and instructions regarding the use of their product. Use charcoal lighting fluid approved for lighting charcoal ONLY. Do not use gasoline, kerosene or alcohol for lighting charcoal. Place 8-10 pounds of high quality charcoal in charcoal pan.
- Saturate charcoal with lighting fluid and wait 2 to 3 minutes for fluid to soak in. Store charcoal lighting fluid safely away from smoker.
- Carefully light the charcoal and allow to burn until covered with a light ash (approximately 20 minutes) prior to closing door and placing dome lid on smoker. This will allow charcoal lighting fluid to burn off.
- WARNING: Failure to do this could trap fumes from charcoal lighting fluid in smoker and may result in a flash-fire or explosion when door is opened or dome lid is removed.

- WARNING: Failure to do this could trap fumes from charcoal lighting fluid in smoker and may result in a flash-fire or explosion when door is opened or dome lid is removed.
- Refer to “Flavoring Wood” section of this manual for the recommended amount of flavoring wood. Use long cooking tongs to carefully place flavoring wood on top of hot charcoal.
- NOTE: Depending on the weather, a full pan of charcoal will burn for 5-6 hours.
- Place the water pan on the lower support brackets. Make sure water pan is resting securely on notched-out step of all three support brackets.
- Carefully fill water pan with warm water or marinade to 1″ below the rim. A full pan holds 4 quarts/1 gallon of water and will last 2-3 hours. Do not overfill and allow water to overflow from water pan.
- Place a cooking grill on the lower support brackets directly on top of the water pan. Position the cooking grill so the rim is resting securely on notched out step of all three support brackets.
- Place food on the cooking grill in a single layer with space between each piece. This will allow smoke and moist heat to circulate evenly around all pieces.
- Place the other cooking grill on the upper support brackets. Position the cooking grill so the rim is resting securely on notched out step of all three support brackets. Place food on the cooking grill.
- Place the dome lid on smoker body and allow food to cook.
- After 2-3 hours of cooking, check water and charcoal levels by following instructions in the “Adding Water During Cooking and Adding Charcoal/Wood During Cooking” sections of this manual.
- WARNING: Do not allow liquid in water pan to completely evaporate. Always keep water in water pan as long as coals are still burning. Water will evaporate and grease in water pan can catch on fire.

- WARNING: Do not allow liquid in water pan to completely evaporate. Always keep water in water pan as long as coals are still burning. Water will evaporate and grease in water pan can catch on fire.
- Always use a meat thermometer to ensure food is fully cooked before removing from smoker.
- Allow smoker to cool, then follow instructions in the “After-Use Safety and Proper Care & Maintenance” sections of this manual
Grilling & Searing
- Remove dome lid, cooking grills, water and charcoal pans from smoker body and set aside.
- Place a drip pan/ash guard or its equivalent under the grill to catch embers, ashes or drippings.
- NOTE: Heavy-duty aluminum foil folded several times can be used as a drip pan/ash guard. Make the foil sheets large enough so it extends beyond the legs of the smoker. Fold the edges up to contain any embers and drippings. Place a thin layer of water in drip pan/ash guard to help extinguish falling ashes and embers.
- Open the door on the smoker body. Place a cooking grill on lower support brackets.

- If grilling food, place the charcoal pan on top of the cooking grill on lower support brackets. If searing food, place the charcoal pan on the upper support brackets. Make sure charcoal pan is resting securely on notched out step of all three support brackets.
- If using a Charcoal Chimney Starter, follow all manufacturer’s warnings and instructions regarding the use of their product. Carefully place 4-5 pounds of
hot coals in the charcoal pan. Proceed to Step 7. If using charcoal lighting fluid, follow all manufacturer’s warnings and instructions regarding the use of their product. Use charcoal lighting fluid approved for lighting charcoal ONLY. Do not use gasoline, kerosene or alcohol for lighting charcoal. Place 4-5 pounds of high quality charcoal in charcoal pan.
- Saturate charcoal with lighting fluid and wait 2 to 3 minutes for fluid to soak in. Store charcoal lighting fluid safely away from grill.
- Leaving the dome lid off and the door open, carefully light the charcoal and allow to burn until covered with a light ash (approximately 20 minutes). This will allow charcoal lighting fluid to burn off
- If grilling food, place a cooking grill on upper support brackets. If searing food, place a cooking grill on top of charcoal pan on upper support brackets
- Place food on the cooking grill in a single layer with space between each piece and allow food to cook.
- Always use a meat thermometer to ensure food is fully cooked before removing from smoker.
- Allow grill to cool, then follow instructions in the “After-Use Safety and Proper Care & Maintenance” sections of this manual.
- To obtain your favorite smoke flavor, experiment by using chunks, sticks or chips of flavor producing wood such as hickory, pecan, apple, cherry, or mesquite. Most fruit or nut tree wood may be used for smoke flavoring. Do not use resinous woods such as pine as it will produce an unpleasant taste.
- Wood chunks or sticks 3″ to 4″ long and 2″ to 1″ thick work best. Unless the wood is still green, soak the wood in water for 20 minutes or wrap each piece in foil and tear several small holes in the foil to produce more smoke and prevent the wood from burning too quickly. A lot of wood is not required to obtain a good smoke flavor. A recommended amount is 3-4 wood chunks or sticks. Experiment by using more wood for stronger smoke flavor or less wood for milder smoke flavor.
Flavoring Wood
- Additional flavoring wood should not have to be added during the cooking process, however, it may be necessary when cooking very large pieces of meat. Follow the instructions and cautions below to avoid injury while adding wood and/or charcoal

Adding Charcoal/Wood During Cooking
- Additional charcoal may be required to maintain or increase cooking temperature.
- NOTE: Dry wood burns hotter than charcoal so you may want to increase the ratio of wood to charcoal to increase the cooking temperature. Hardwood such as oak, hickory, mesquite, fruit and nut wood are an excellent fuel because of their burning rate. When using wood as fuel, make sure the wood is seasoned and
dry. DO NOT use resinous wood such as pine as it will produce an unpleasant taste.
- Remove dome lid by tilting it toward you to allow heat and steam to escape away from your face. Use caution since flames can flare-up when fresh air suddenly comes in contact with fire.
- Stand back a safe distance and carefully open door.
- Use long cooking tongs to lightly brush off ashes on hot coals. Use tongs to add charcoal and/or wood, being careful not to stir-up ashes and sparks.
- When charcoal is burning strong again, close the door and replace the dome lid.
Adding Water During Cooking
- Check the water level in water pan if the complete cooking process takes longer than 2 hours. A low water level can be detected by listening for the sound of
water sizzling. Water can be added to the water pan through the top of smoker or through the door. Use caution and follow instructions carefully.
OPTION 1: Adding Water Through Top of Smoker
- Remove dome lid by tilting it toward you to allow heat and steam to escape away from your face. Use caution since flames can flare-up when fresh air suddenly comes in contact with fire. Inspect the water level in pan.
- If water level is low, add water to water pan. If food is on top cooking grill only, water may be added to the water pan by moving food aside on cooking grill and pouring water down through the cooking grill. Fill water pan to 1″ below the rim. Pour slowly to avoid splashing or over-filling. If using both cooking grills, wear oven mitts to remove food and the top cooking grill. Move food aside on lower cooking grill and pour water through the lower cooking grill into water pan. Pour slowly to avoid splashing or over-filling.
- Set the top cooking grill on the upper support brackets and place food back on the cooking grill.
- Place dome lid on smoker body and allow food to continue cooking.
OPTION 2: Adding Water Through the Door
- Stand back and carefully open side door. Use caution since flames can flare-up when fresh air suddenly comes in contact with fire. Inspect the water level in pan.
- If water level is low, add water to water pan. Stand back and carefully add water using a funnel or a container with a spout. Fill water pan to 1″ below the rim. Pour slowly to avoid splashing or overfilling.
- Close side door and allow food to continue cooking.
Cooking Tips
- There is very little difference in temperature and cooking time between top and bottom grill levels. When cooking different types or cuts of meat at the same time, place the meat that requires the least cooking time on the top cooking grill so that it may be easily removed first. If only one cooking grill is required, use the upper grill level for best results.
- During the smoking process, avoid the temptation to lift dome lid to check food. Lifting the dome lid allows heat to escape, making additional cooking time necessary.
- We strongly recommend using a meat thermometer to determine the proper degree of doneness. Many variables (outside cooking temperature, amount of charcoal, the number of times the dome lid is removed, proximity of food to heat source, etc.) will affect actual cooking times. When using a meat thermometer, place probe midway into the thickest part of the meat, making sure that it does not touch any fat or bone. Allow five minutes for the thermometer to properly register temperature.
AFTER-USE SAFETY
- Always allow smoker and all components to cool completely before handling.
- Never leave coals and ashes in smoker unattended.
- Always allow smoker and all components to cool completely before handling.
- Before grill can be left unattended, remaining coals and ashes must be removed from smoker. Use caution to protect yourself and property. Place remaining coals and ashes in a noncombustible metal container or leave in charcoal pan and completely saturate with water. Allow coals and water to remain in metal container 24 hours prior to disposing.
- With a garden hose, completely wet surface beneath and around the smoker to extinguish any ashes, coals or embers which may have fallen during the cooking or cleaning process.Always allow smoker and all components to cool completely before handling.
Proper Care & Maintenance
- Wash cooking grills, water and charcoal pans with hot, soapy water, rinse well and dry. Lightly coat cooking grills with vegetable oil or vegetable cooking spray.
- Clean inside and outside of smoker by wiping off with a damp cloth. After cleaning, apply a light coat of vegetable oil or vegetable cooking spray to the interior surface of the dome lid, smoker body, cooking grills and water pan. This simple process will help reduce interior rusting. DO NOT apply oil to the charcoal pan.
- NOTE: Smoke will accumulate and leave a black residue in the dome lid of your smoker that may drip onto food during cooking. To minimize accumulation of residue, wipe off dome lid after each use.
- If rust appears on the exterior surface of your smoker, clean and buff the affected area with steel wool or fine grit emery cloth. Touch-up with a good high-temperature resistant paint.
- Never apply paint to the interior surface. Rust spots on the interior surface can be buffed, cleaned, then lightly coated with vegetable oil or vegetable cooking spray to minimize rusting.
- To protect your smoker from excessive rust, the unit must be properly cured periodically and covered at all times when not in use. A smoker cover may be ordered directly from Brinkmann by calling 1-800-468-5252.
ACCESSORIES
- The Art of Smoke Cooking Cookbook
- Contains 40 exciting yet simple recipes using the delicious technique of smoke cooking. Beautifully photographed full-color, sixty-six page hardback cookbook presents old favorites as well as new recipes such as smoked meatballs & spaghetti, smoked pizza, smoked tomato soup and smoked peach cobbler. Model 812-3327-0

- Smoker Basket
- The unique basket weave prevents food from falling through the grill while allowing smoke, steam and heat to flow into the food. Great for fish, shrimp, vegetables. Also, provides a convenient method for lifting food in and out of the smoker. Great for large cuts of meat such as turkeys and roasts. Model 812-3333-0

- Hickory & Mesquite Smoking Wood
- Select hickory or mesquite wood chunks greatly enhance the flavor of meat and vegetables when smoking or grilling. Can also be used as a fuel instead of charcoal. Packaged in a 10 lb. bag, these chunks work great with either charcoal, electric or LP gas smokers.
- Model 812-3440-0 (Hickory)
- Model 812-3450-0 (Mesquite)

- Rib Rack
- Chrome-plated rack can greatly increase the cooking capacity of your smoker. Holds ribs, chicken halves, potatoes and corn vertically to triple cooking capacity. Allows smoke, steam and heat to penetrate food evenly. Model 812-3310-0

- Smoker’s Blend Charcoal
- This blend of all natural charcoal and smoking wood briquets burns longer than regular charcoal and also adds smoke without adding wood chunks. The result is a deeper, richer, smoked flavor. Available in hickory or mesquite in a 10 lb. bag.
- Model 812-4040-0 (Hickory)
- Model 812-4030-0 (Mesquite

- Electric Converter for Charcoal Smokers
- The Electric Converter will convert most Brinkmann or Cook’N Ca’jun charcoal smokers with an open bottom into an electric smoker in minutes (will not work with Cook’N Carry, Gourmet Charcoal and Cook’N Ca’jun S-80 models). Simply replace the charcoal pan with the electric converter and place wood chunks in metal tray provided. The 1500- watt electric element provides consistent heat and temperature. The constant electric heat source is great for long smoking times and smoking in cold weather. It’s so easy to use, simply plug it in and you’re ready to smoke! Model 812-3323-0

- Drip Pan/Ash Guard
- The drip pan/ash guard catches falling embers, ashes and drippings when placed under your smoker or grill. Rust resistant and sized to fit all Brinkmann and Cook’N Ca’jun vertical smokers. Model 812-3309-0

For more manuals by Brinkmann, visit ManualsLibraryy
Brinkmann SMOKE N GRILL DS-30 Charcoal Grill-FAQs
How do I use a charcoal smoker for the first time?
1. Use a chimney starter.
2. Add charcoal, light the starter (such as a newspaper or cube), and wait about 20 minutes for the coals to light fully.
How do I start a Brinkmann smoker?
1. Set up the smoker with flavoring wood, water in the pan, and food on the grills.
2. Plug the smoker into an electric outlet; there is no ON/OFF switch.
How does a charcoal smoker work?
A charcoal smoker cooks food by maintaining a consistent, low temperature for several hours, allowing the heat to slowly penetrate the meat for tenderness.
How long does it take to preheat a charcoal smoker?
It typically takes 30-45 minutes to preheat the smoker to a temperature of 225-250°F.
What temperature does the Brinkmann electric smoker cook at?
The Brinkmann Electric Smoker maintains a cooking temperature of around 220°F, ideal for “low and slow” smoking.
How much charcoal should I use in a smoker?
1. High heat (450°F to 550°F): Full chimney (~100 briquettes).
2. Medium heat (350°F to 450°F): Half chimney (~50 briquettes).
3. Low heat (250°F to 350°F): Quarter chimney (~25 briquettes).
What are the main components of a smoker?
1. Air Intake: Regulates airflow.
2. Fuel Burner: Heats the cooking chamber.
3. Cooking Chamber: Where the food is smoked
What is the ideal temperature range for smoking?
The temperature should stay between 225°F and 300°F during the smoking process.
How do I know when my charcoal is ready?
The charcoal is ready when most of it is covered in ash. Spread the coals evenly before cooking.
How does a smoker work?
A smoker circulates low, steady heat through a chamber, mixing heat with steam to slowly cook meat, resulting in tender and flavorful food.


















