Blog Post

iClever BTH21 Kids Bluetooth Headphones feat

iClever BTH21 Kids Bluetooth Headphones Manual

iClever Logo

iClever BTH21 Kids Bluetooth Headphones

iClever BTH21 Kids Bluetooth Headphones prod

Package Contents

iClever BTH21 Kids Bluetooth Headphones 1

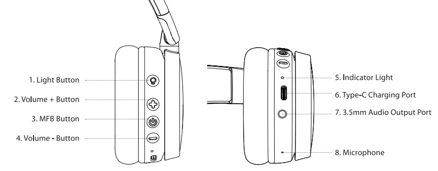
Product Diagram

iClever BTH21 Kids Bluetooth Headphones 2

Power On/Off

  1. Power On: In the power-off state, press and hold the MFB button for 2 seconds to power on the headphones. The headphones will play the voice prompt “Power On,” and the indicator light will flash red and blue alternatively, indicating that the headphones have entered pairing mode.
  2. Power Off: In the power-on state, press and hold the MFB button for 4 seconds to power off the headphones. The headphones will play the voice prompt “Power Off,” and all lights will turn off, indicating that the headphones are powered off.iClever BTH21 Kids Bluetooth Headphones 3

Bluetooth Pairing

  1. When the headphone is powered on, its RGB light will turn on. When the headphone enters the pairing mode, its indicator light will flash in red and blue alternatively.
  2. Activate the Bluetooth function on your Bluetooth-enabled device. Select the “Meow cookie” from the list of Bluetooth devices found by your device and connect, and you will hear the voice prompt “Connected”.iClever BTH21 Kids Bluetooth Headphones 4

Volume Limit Switch

The earphones have two safe volume levels: 85 dB and 74 dB. The default and factory reset positions are both at 85dB. Press the “+” and “-” keys at the same time, and the volume limit gear will be switched, and the voice broadcast will be performed at the same time.

Button Functions

  • Next Track: Press and hold the volume + button for 1s
  • Previous Track: Press and hold the volume button for 1s
  • Play/Pause: Press the MFB button.
  • Answer/End Call: Press the MFB button
  • Reject Call: Press and hold the MFB button for 2s
  • Activate/Deactivate Siri: Double-press the MFB button
  • Switch Between Phone and Headphones during a Call: During a call, press and hold the MFB button for 2 seconds.
  • Answer Third-Party Call and Keep Previous Call on Hold: During a call, double-press the MFB button.
  • Call Switching: During a three-party call, double-press the MFB button.
  • Clear Pairing List: In the power-on state (connected) or pairing mode, simultaneously press and hold the MFB button and Volume – button for 5 seconds, and the headphones will automatically clear the pairing list and enter pairing mode with the indicator light flashing red and blue alternatively.

Voice Prompt

  • Power On: Power on
  • Power Off: Power off
  • Pairing: Pairing
  • Successful Bluetooth Connection: Connected
  • Bluetooth Disconnected: Disconnected
  • Low Battery Alert: Battery Low

Charging

Connect one end of the Type-C charging cable to a 5V power adapter (adapter not included) and the other end to the headphones. The headphones will automatically power off when charging. The indicator light will remain red when charging and turn off when fully charged.

Warnings

  1. Stop using the product if it is damaged.
  2. Replace the USB interface of the charging cable if it becomes hot.
  3. Keep the product away from high temperatures and open flames.

FCC Statement

Changes or modifications not expressly approved by the party responsible for compliance could void the user’s authority to operate the equipment. This equipment has been tested and found to comply with the limits for a Class B digital device, pursuant to Part 15 of the FCC Rules. These limits are designed to provide reasonable protection against harmful interference in a residential installation.

This equipment generates, uses, and can radiate radio frequency energy and, if not installed and used in accordance with the instructions, may cause harmful interference to radio communications. However, there is no guarantee that interference will not occur in a particular installation. If this equipment does cause harmful interference to radio or television reception, which can be determined by turning the equipment off and on, the user is encouraged to try to correct the interference by one or more of the following measures:

  • Reorient or relocate the receiving antenna.
  • Increase the separation between the equipment and receiver.
  • Connect the equipment into an outlet on a circuit different from that to which the receiver is connected.
  • Consult the dealer or an experienced radio/TV technician for help.

This device complies with part 15 of the FCC rules. Operation is subject to the following two conditions:

  1. This device may not cause harmful interference.
  2. This device must accept any interference received, including interference that may cause undesired operation.

IC Caution

This device contains licence-exempt transmitter(s)/receiver(s) that comply with Innovation, Science and Economic Development Canada’s licence-exempt RSS(s). Operation is subject to the following two conditions:

  1. This device may not cause interference, and
  2. This device must accept any interference, including interference that may cause undesired operation of the device.

DOC

Hereby, Thousandshores Deutschland GmbH declares that the radio equipment type Wireless Headphones BTH21 is in compliance with Directive 2014/53/EU. The full text of the EU declaration of conformity is available at the following internet address: http://files.iClever.com/BTH21-eu-doc.pdf.

UK

Learn more about the UK Declaration of Conformity. Please click the link below to download: http://files.iClever.com/BTH21-uk-doc.pdf.

Statements of Compliance

  • Product Model: BTH13, BTH18, BTH19, BTH21
  • Date Code: 20240101
  • Name and Address of manufacturer: Thousandshores Deutschland GmbH, Sorbenstraße 22, 20537 Hamburg, DE
  • Name and Address of Authorised Representative: APEX CE SPECIALISTS LIMITED, 89 Princess Street, Manchester, M14HT, UK

The statement of compliance is prepared by or on behalf of the manufacturer of the product. In the opinion of the manufacturer, they have complied with either (i) the applicable security requirements in Schedule 1 of SI 2023 No. 1007: Provision 5.1-1 of ETSI EN 303 645 & provision 5.1-2 of ETSI EN 303 645; Provision 5.2-1 of ETSI EN 303 645; Provision 5.3-13 of ETSI EN 303 645.

  • The defined support period for the product: 20250101
  • Signature, name, and function of the signatory: The place and date of issue:

The power delivered by the charger must be between min 0.05 Watts required by the radio equipment, and max 2 Watts in order to achieve the maximum charging speed.

For More Manuals By iClever, Visit ManualsLibraryy.

iClever BTH21 Kids Bluetooth Headphones-FAQs

What makes the iClever BTH21 headphones safe for kids?

The iClever BTH21 headphones include built-in volume limiting at 74dB and 85dB, which helps protect children’s hearing from excessive sound levels. This feature ensures kids can enjoy music, videos, or learning content without risking long-term hearing damage during regular use.

How long does the battery last on iClever BTH21 headphones?

These headphones offer impressive battery performance, providing up to 50–60 hours of playback with lights turned off and around 20 hours with lights on. This long battery life makes them ideal for travel, school use, or extended listening sessions without frequent recharging.

Can the iClever BTH21 headphones be used with a cable?

Yes, the iClever BTH21 supports both wireless and wired modes. If the battery runs out or Bluetooth isn’t available, you can connect the included 3.5mm audio cable to continue using the headphones with devices like tablets, laptops, or phones.

Are these headphones comfortable for long use?

The headphones are designed with lightweight materials, adjustable headbands, and cushioned ear cups to ensure comfort during extended use. Their foldable structure and swivel ear cups also help provide a better fit for different head sizes, making them suitable for kids of various ages.

Do the iClever BTH21 headphones have a microphone?

Yes, the iClever BTH21 comes with a built-in microphone, allowing children to participate in online classes, video calls, or gaming chats. This makes them a practical choice for both entertainment and educational purposes, especially for remote learning environments.

How do you pair the iClever BTH21 with a device?

To pair the headphones, turn them on and enable Bluetooth on your device. Select the headphone name from the available list, and once connected, you’ll hear a confirmation prompt. The indicator light also flashes during pairing mode to guide the process.

What is special about the design of these headphones?

The iClever BTH21 features a fun cat-ear design with colorful RGB lighting effects that appeal to kids. The lights can be adjusted or turned off, making the headphones both visually engaging and customizable based on the child’s preference.

How long does it take to charge the headphones?

The headphones typically take about two hours to fully charge using a USB-C cable. Additionally, a quick charge feature allows for several hours of playback with just a short charging time, which is convenient for busy schedules.

Are the iClever BTH21 headphones durable for kids?

The headphones are built with sturdy materials and a flexible design to withstand everyday use by children. Their foldable structure and durable construction make them suitable for travel and handling, although supervision is still recommended for very rough use.

What devices are compatible with iClever BTH21 headphones?

These headphones are compatible with a wide range of devices, including smartphones, tablets, laptops, and desktops. They support Bluetooth connectivity as well as wired connections, ensuring flexibility across different devices commonly used by kids.

Leave a comment

Your email address will not be published. Required fields are marked *