
Keystone KSTAD354D 35-Pint Portable Dehumidifier

SAFETY PRECAUTIONS
Electrical Information
- The manufacturer nameplate is located on the rear panel of the unit and contains electrical and other technical data specific to this unit.
- Be sure the unit is properly grounded. To minimize shock and fire hazards, proper grounding is important. The power cord is equipped with a three-prong grounding plug for protection against shock hazards.
- Your unit must be used in a properly grounded wall receptacle. If the wall receptacle you intend to use is not adequately grounded or protected by a time delay fuse or circuit breaker, have a qualified electrician install the proper receptacle.
- Ensure the receptacle is accessible after the unit installation. Do not use extension cords or adapter plugs with this unit. However, if it is necessary to use an
extension cord, use an approved Dehumidifier extension cord only (available at most local hardware stores). - To avoid the possibility of personal injury, always disconnect the power supply to the unit, before installing and/or servicing
CONTROL PADS ON THE DEHUMIDIFIER

Control pads
When you push the button to change operation modes, the unit will make a beep sound to indicate that it is changing modes.
- Continue Pad Press to activate the continuous dehumidifying operation
- Filter Pad The check filter feature is a reminder to clean the Air Filter for more efficient operation. The Filter light(Clean filter light) will illuminate after 250 hours of operation. To reset after cleaning the filter, press the Filter pad and the light will go off.
- Fan Pad Control the fan speed. Press to select either High or Normal fan speed. Set the fan control to High for maximum moisture removal. When the humidity has been reduced and quiet operation is preferred, set the fan control to Normal
- Power Pad Press to turn the dehumidifier on and off.
- Up/Down Pads The humidity level can be set within a range of 35%RH(Relative Humidity) to 85%RH(Relative Humidity) in 5% increments. For drier air, press the pad and set to a lower percent value(%). For damper air, press the pad and set a higher percent value(%).
- Timer Pad Press to initiate the Auto start and Auto stop features, in conjunction with the and keypads
- Display Shows the set % humidity level from 35% to 85% or auto start/stop time (0~24) while setting, then shows the actual ( 5% accuracy) room % humidity level in a range of 30% RH(Relative Humidity) to 90%RH(Relative Humidity). Error Codes and Protection Codes: AS- Humidity sensor error–Unplug the unit and plug it back in. If the error repeats, call for service. ES- Temperature sensor error– Unplug the unit and plug it back in. If the error repeats, call for service. P2- Bucket is full or bucket is not in right position– Empty the bucket and replace it in the right position. E1- Unit malfunction– Unplug the unit and plug it back in. If the error repeats, call for service.
Other features
- Bucket Full Light
- Glows when the bucket is ready to be emptied, or when the bucket is removed or not replaced in the proper position
- Auto Shut Off
- The dehumidifier shuts off after 30 seconds when the bucket is full, or when the bucket is removed or not replaced in the proper position. When the setting humidity is reached, the unit will be shut off automatically. For some models, the fan motor will continue operating.
- Wait 3 minutes before resuming operation
- After the unit has stopped, it can not be restarted operation in the first 3 minutes. This is to protect the unit. The operation will automatically start after 3 minutes.
- Check filter feature
- The system starts to count the time once the fan motor operates. The check filter feature can be only activated when the accumulated operation time achieves 250 hours or more. The Reset light(Clean filter indicator light) flashes at one time per second, after finishing cleaning the air filter, press the Filter pad and the Reset light(Clean filter indicator light) goes off.
- Setting the Timer
- When the unit is on, first press the Timer button, and the Timer Off indicator light illuminates. It indicates the Auto Stop program is initiated. Press it again the
Time On indicator light illuminates.It indicates the Auto Start is initiated. - Press or hold the UP or DOWN pad to change the Auto time by 0.5-hour increments, up to 10 hours, then at 1-hour increments up to 24 hours. The control
will count down the time remaining until the start. - The selected time will register in 5 seconds and the system will automatically revert back to display the previous humidity setting. When the Auto start & Auto stop times are set, within the same program sequence, TIMER ON OFF indicator lights illuminate identifying both ON and OFF times are now programmed.
- Turning the unit ON or OFF at any time or adjusting the timer setting to 0.0 will cancel the Auto Start/Stop function. When the LED display window displays the code of P2, the Auto Start/Stop function will also be canceled
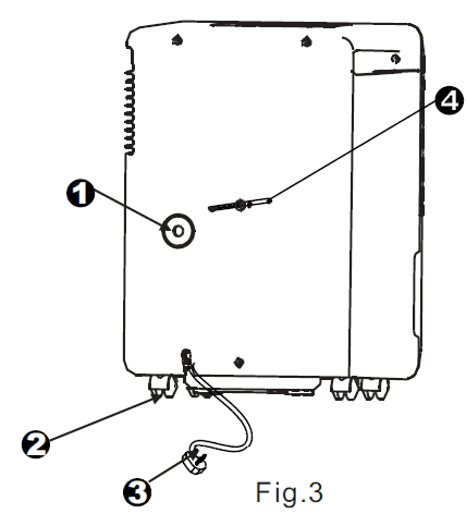
IDENTIFICATION OF PARTS
Front

- Control panel
- Air intake grille
- Air outlet grille
- Air filter (behind the grille)
- Water bucket
- Handle (both sides)
Rear

- Drain hose outlet
- Caster
- Power Cord and plug
- Band(Used only when storing the unit.)
- NOTE: All the pictures in the manual are for explanation purposes only. The actual shape of the unit you purchased may be slightly different, but the operations and functions are the same
OPERATING THE UNIT
Positioning the unit

- Do not use outdoors.
- This dehumidifier is intended for indoor residential applications only. This dehumidifier should not be used for commercial or industrial applications.
- Place the dehumidifier on a smooth, level floor strong enough to support the unit with a full bucket of water.
- Allow at least 20cm of air space on all sides of the unit for good air circulation.
- Place the unit in an area where the temperature will not fall below 5 C(41 F). The coils can become covered with frost at temperatures below 5 C(41 F), which may reduce performance.
- Place the unit away from the clothes dryer, heater or radiator. Use the unit to prevent moisture damage anywhere books or valuables are stored.
- Use the dehumidifier in the basement to help prevent moisture damage.
- The dehumidifier must be operated in an enclosed area to be most effective.
- Close all doors, windows, and other outside openings to the room.
When using the unit
- When first using the dehumidifier, operate the unit continuously for 24 hours.
- This unit is designed to operate in a working environment between 5OC/41 OF and 35OC/95 OF.
- If the unit has been switched off and needs to be switched on again quickly, allow approximately three minutes for the correct operation to resume.
- Do not connect the dehumidifier to a multiple socket outlet, which is also being used for other electrical appliances.
- Select a suitable location, making sure you have easy access to an electrical outlet.
- Plug the unit into an electrical socket outlet with an earth connection. Make sure the Water bucket is correctly fitted otherwise the unit will not operate properly.
- NOTE: When the water in the bucket reaches to a certain level, please be careful to move the machine to avoid it falling down
Removing the collected water
There are two ways to remove collected water.
Use the bucket
- When the unit is off,if the bucket is full, the unit will beep 8 times and the Full indicator light will flash, the digital display shows P2.
- When the unit is on,if the bucket is full, the compressor turns off and the fan turns off after 30 seconds for drying the water of the condenser, then the unit will beep 8 times and the Full indicator light will flash, the digital display shows P2.
- Pull out the bucket a little.

- Hold both sides of the bucket with even strength, and pull it out from the unit

- NOTES:
- When you remove the bucket, do not touch any parts inside of the unit. Doing so may damage the product. Be sure to push the bucket gently all the way into the unit. Banging the bucket against anything or failing to push it in securely may cause the unit not to operate. When you remove the bucket,if there is some water in the unit you must dry it.
CARE AND MAINTENANCE
Care and cleaning of the dehumidifier
Turn the dehumidifier off and remove the plug from the wall outlet before cleaning.
- Clean the Grille and Case
- Use water and a mild detergent. Do not use bleach or abrasives.
- Do not splash water directly onto the main unit. Doing so may cause an electrical shock, cause the insulation to deteriorate, or cause the unit to rust.
- The air intake and outlet grilles get soiled easily, so use a vacuum attachment or brush to clean them.
- Clean the bucket
- Every few weeks, clean the bucket to prevent the growth of mold, mildew, and bacteria. Partially fill the bucket with clean water and add a little mild detergent. Swish it around in the bucket, empty it, and rinse.
- NOTE: Do not use a dishwasher to clean the bucket. After cleaning, the bucket must be in place and securely seated for the dehumidifier to operate
- Clean the air filter
- Remove the filter every two weeks based on the normal operating conditions.
- Remove the filter from the top of the unit (See.Fig.11a), or to remove the filter, remove the Bucket then pull the filter downwards (See.Fig.11b).

- Wash the filter with clean water then dry. Re-install the filter, replace the Bucket
- When not using the unit for long time periods
- After turning off the unit, wait one day before emptying the bucket.
- Clean the main unit, water bucket, and air filter.
TROUBLESHOOTING TIPS
- Before calling for service, review the chart below first yourself.

Air conditioner warranty
| WARRANTY PERIOD | MIDEA, THROUGH ITS AUTHORIZED SERVICERS, WILL: | THE CONSUMER WILL BE RESPONSIBLE FOR | |
| FULL ONE-YEAR WARRANTY | One year from the original purchase date | Pay all costs for repairing or replacing parts of this appliance that prove to be defective in materials or workmanship. | Transportation and costs of service calls that are listed under NORMAL RESPONSIBILITIES OF THE CONSUMER* |
| LIMITED 2ND_5TH YEAR WARRANTY (sealed system) | Second through fifth years from the original purchase date | Repair or replace any parts in the Sealed Refrigeration System (compressor, condenser, evaporator and tubing) proves to be defective in materials workmanship. | Diagnostic, removal, transportation, and reinstallation costs are required because of service. Costs for labor, parts and transportation other than with respect to the Sealed Refrigeration System. |
For more manuals by Keystone visit, ManualsLibraryy
Keystone KSTAD354D 35-Pint Portable Dehumidifier-FAQs
How many watts does a portable dehumidifier use?
On average, a dehumidifier consumes 500 watts. Smaller models use around 300 watts, while larger units may require up to 700 watts, depending on usage duration.
Does a dehumidifier use less energy than an air conditioner?
Yes, dehumidifiers are more energy-efficient since they focus solely on reducing moisture without significantly lowering the temperature, unlike air conditioners.
What is “Dry Mode” on a dehumidifier?
Dry mode operates at a lower fan speed to remove humidity more efficiently. It works well in moderate climates but is not a substitute for a dedicated dehumidifier in high humidity conditions.
How do I turn off my humidifier?
Set the humidistat to “off” and adjust the bypass duct damper to the “summer” setting or turn it off completely.
What are the disadvantages of using a dehumidifier?
Dehumidifiers require regular maintenance, including emptying water tanks and cleaning to prevent mold growth, which can cause health issues.
Can I use my air conditioner as a dehumidifier?
Many portable AC units have a dehumidify mode, typically displayed with a water droplet symbol on the screen. However, it may not be as effective as a dedicated dehumidifier.
Where should I not place a dehumidifier?
Avoid placing it in corners, against walls, or near obstructions, as this can restrict airflow and reduce efficiency. Center placement ensures better air circulation.
Can I run a dehumidifier overnight?
Yes, most dehumidifiers are designed for continuous operation and can run 24/7, including overnight.




