KitchenAid Hobart KDC-18 Dishwasher

GENERAL INFORMATION
MODEL EXPLANATION
This service manual provides service information for the KD-18 series dishwashers. This includes the
basic KD-18 dishwasher, designed to be “Built-in”; for which panels (with various finishes) and kits
may be ordered and added to suit various installations (Fig. 1). Installation instructions are provided with each of these options.

In addition, there is a KD-38 model (Fig. 2), which is the same KD-18 dishwasher installed in a cabinet-sink combination.
There are also KD-58 models (Fig. 3), which are “‘convertible-portable” dishwashers. These may be
built in at a later date, using KD-18 conversion instructions.
All KD-18 series dishwashers have automatic detergent dispensers, pump-out drain systems, and “Sanitized Flo-Thru Drying” systems (Fig. 4). A separate fan and heating element outside the wash
chamber circulates heated air during the “Dry” phase of each cycle.

The KDS “Superba” model has a sixteen-position upper rack, with “stay-put” flex-o-dividers and
both a rinse agent dispenser and a Soak’n Scrub Cycle as standard equipment.
A rinse agent dispenser may be added to both the KDI “Imperial” and KDC “Custom” models, as an
optional feature. The KDI “Imperial” models are also equipped with a Soak’n Wash Cycle and have
a one-position upper rack with “‘stay-put” flex-o-dividers. The KDC “Custom” has a one-position
upper rack with fixed dividers.
A small items basket is standard with the KDS “Superba” and KDP “Patrician”. It is optional on
the Imperial and Custom models. All KD-18 models are equipped with energy-saving feature.
AUTOMATIC PROTECTION FEATURES
All KD-18 series dishwashers are equipped with KitchenAid-designed motors, featuring overload
protection with automatic reset. Should the motor become overheated or overloaded, it will stop
automatically . . . . starting again when this condition has been relieved.
The “Sanitized Flo-Thru Drying” system (Fig. 4) is equipped with a thermal safety protector to prevent overheating. The sheath heater, (1, Fig. 4) KDS “Superba” model, has automatic overheat protection (a thermal protector that will temporarily open and cut off all voltage to the heater when the temperature reaches a preset limit).
NOTE: The sheath heater is NOT a substitute for a hot water heater. Hot water, from 140° to 160°
F., must be supplied to the dishwasher for best dishwashing results.
A built-in door interlock switch prevents the operation of the dishwasher until the door is closed and
latched and a cycle is activated. The dishwasher will not operate when the door is open.
Protection against overfilling is provided by an overfill control switch that shuts off the current to the
water fil valve when the water in the wash chamber exceeds a predetermined level.
STARTING
INSTANT START – in all KD-I8 series KitchenAid front-loading dishwashers the cycle is selected and the unit is started by:
- Closing the door.
- Latching the door by pushing the handle down.
- Pushing the desired Cycle Selector Button.
All built-in models start instantly. The SUPERBA and PATRICIAN models have Action Indicator
Lights (1, Fig. 5) (KDS) and (4, Fig. 5) (KDP) are located on the left side of the Control Panel. As
the dishwasher progresses through a cycle, a light will appear above the word indicating the part of
the cycle in which the dishwasher is then operating. If the cycle is interrupted for any reason, such as adding an additional item, the dishwasher action may be resumed at this point by closing and latching the door, and then re-pushing the originally selected Cycle Selector Button. In addition, the SUPERBA and PATRICIAN models have a “Rinsed Only” light, located on the right side of the Control Panel (2, Fig. 5) (KDS) and (3.Fig. 5) (KDP). Once the “Rinse-Hold” cycle has been selected, this light will come on whenever the door is unlatched until another cycle is selected. This light shows the operator that the dishes have NOT ‘been washed but only rinsed and held. Latching the handle, following the “Rinse-Hold” operation will tum “Off” the light, off as long as the handle remains in the latched position.
The IMPERIAL model has an Indicator Light located on the right side of the Control Panel (not shown) that glows to indicate “Power On”. On both the IMPERIAL and CUSTOM models, the Action Indicator knob rotates as the cycle progresses and points to the part of the cycle in which the dishwasher is then operating.
STARTING CONVERTIBLE-PORTABLE MODELS
- Load the dishwasher, close and latch the door.
- Connect hoses to sink faucet and power cord to a grounded outlet. (See electrical instructions for detailed description). Allow a few seconds after plugging in the power cord (for the timer to reset itself).

- Turn on the water.
- Then push the desired Cycle Selector Button and the dishwasher will start instantly.
CONVERTIBLE-PORTABLES
KD-58 convertible-portable models are essentially built-in dishwashers with portability features added. They must be connected to the sink faucet and an electrical outlet before they can “do the dishes”.
Connecting to Sink Faucet
An adapter kit, furnished with the dishwasher has an aerator faucet adapter with all parts necessary to connect the coupler to most faucets with external or internal threads. If the adapter cannot be used on the faucet, use other adapters as required.
Faucets with External Threads (Fig. 6)
- Remove the faucet aerator.
- Screw adapter (A, Fig. 6) furnished in kit, to faucet.
- Pull hoses and coupler from a hideaway compartment at the back of the dishwasher and attach the coupler (B, Fig. 7) to the adapter (A, Fig.7) by depressing the outer ring (C, Fig. 7). When the adapter and coupler are joined, release outer ring which snaps upward for a snug fit

Faucets with Internal Threads (Fig. 8)
- Remove the faucet aerator.
- Screw the faucet adapter (E, Fig. 8) with washers (D & F, Fig. 8) to the adapter (G, Fig. 8) and then to the faucet.
- Connect hoses and coupler as described for the faucet with external threads, CAUTION: IF THE SINK HAS A SPRAY ATTACHMENT, TT MAY BURST AS A RESULT OF BACK PRESSURE, PARTICULARLY IF IT IS OLD,
There is no need to pre-rinse dishes before placing them in the dishwasher. It is suggested, therefore, that” this spray attachment hose be disconnected and the hole closed with a chrome plug or cap, obtained locally. Or replace it with a new and stronger hose that will withstand the back pressure

Use Hot Water Only
Turn the hot water tap on full. DO NOT USE ANY COLD WATER. Water temperature should be 140° to 160° F. Flow pressure should be between 20 and 120 pounds per square inch.
NOTE: If hot water is needed while the dishwasher is connected press the red release button (A, Fig. 9) — but NOT when the dishwasher is filling or draining.
Connecting to Electricity
“The KitchenAid convertible-portable dishwasher operates on regular 120 volt, 60 hertz AC. electrical service to be supplied By an APPROVED 3-PRONG GROUNDING RECEPTACLE. The supply circuit should be protected by a 15 amp. fuse, or circuit breaker.
To make the electrical connection:
- Be sure the action indicator is in the “OFF position.
- Insert the 3-pronged plug into a 3-prong receptacle. If the wall receptacle is not of the proper 3-prong grounding type an electrician should be consulted.
CAUTION: The use of an extension cord is not recommended.
‘The Receptacle Outlet Must be Grounded
“The power cord on the portable dishwasher is equipped with a 3-pronged grounding plug. The third prong is designed to ground the cabinet electrically thus eliminating the possibility of shocking the operator if an internal electrical malfunction should occur.
The electrical outlet into which the 3-pronged power cord is inserted must be properly grounded. If this is in doubt a competent electrician should be contacted to check the outlet.
Fill and Drain Hoses (Fig. 10)
CAUTION: INCORRECT REPLACEMENT OF EITHER FILL OR DRAIN HOSE ASSEMBLIES ON CONVERTIBLE-PORTABLE KITCHENAID DISHWASHERS CAN CAUSE SERIOUS DAMAGE. To prevent this, always replace hose assemblies in the exact same manner as the original. It is imperative that each new replacement hose be routed correctly and the retaining clamps installed properly at the correct locations on the hose. NO PART OF THE HOSES must BE PERMITTED TO MAKE CONTACT WITH ANY EXPOSED ELECTRICAL COMPONENTS OR TERMINALS, as the hose material can act as an electrical conductor. Re-check each hose installation, upon completion, then extend and retract the hoses several times to make certain that they operate and locate properly.
Disconnecting
When disconnecting the convertible-portable:
- Remove the power cord from the outlet and return to the compartment.
- Turn off the hot water.
- Press the red button on the coupler (A, Fig. 9) to release water pressure and prevent splashing back.
- Depress the coupler ring (C, Fig. 7) and remove the coupler from the faucet adapter. Return hoses to the compartment.
GENERAL SERVICING INSTRUCTIONS
All models of the KD-18 series dishwashers are specially designed to be serviced from the front. By removing the lower front panel, the outer door panel, and the control panel, practically all parts are accessible without moving the dishwasher from its installed position. These instructions cover all models of the KD-18 series dishwashers, however, all the components that are listed, may or may not be used for each model.
NOTE: (1) CAUTION: ALWAYS DISCONNECT ELECTRICAL POWER SUPPLY BEFORE REMOVING ELECTRICAL COMPONENTS.
(2) NEVER reuse gaskets or sealing washers.
CYCLE DESCRIPTION
The following cycle descriptions (KDC-18 and KD-38 (CUSTOM), the KDI-18 and KDI-58 (IMPERIAL), KDP-18 (PATRICIAN) and the KDS-18, KDS-38 and KDS-58 (SUPERBA) model dishwasher) are for the KD-18 series dishwashers. All models have energy-saving features. Selection of the Energy Saver button, along with any of the “wash and dry” cycles, will shut off the heating element during the dry portion of the cycle. The fan in the drying system will continue to operate. This will reduce the amount of energy used during the cycle. Under certain conditions, you may find a few drops of water on dishes and silverware at the end of the cycle. Every time you raise the door handle, the Energy Saver button will pop out. Any time you start a new cycle or restart an interrupted cycle, you must again push the Energy Saver button to save energy.
NORMAL WASH CYCLE—Used to wash and dry daily loads including china and crystal with over-age soil. This cycle provides three pre-rinses, one main wash, two after-rinses, and dry. For more heavily soiled loads, the first pre-rinse can be turned into a pre-wash by adding detergent to both compartments of the detergent dispenser. Total: Time – 59 minutes plus automatic timer advance – 2 minutes; Water – 11.8 gallons.
RINSE/HOLD CYCLE-Used to rinse partial loads of dishes which are to be held until the dishwasher is filled. Keeps dishes moist until they are washed and dried. This cycle provides one rinse. Do not use detergent with this cycle. Total: Time – 3 minutes; Automatic timer advance – 58 minutes; Water – 1.4 gallons.
NORMAL WASH CYCLE—Used to wash and dry daily loads including china and crystal with average soil. This cycle provides three pre-rinses, one main wash, two after-rinses, and one dry. For more heavily soiled loads, one of the pre-rinses can be turned into a pre-wash by adding detergent to both compartments of the detergent dispenser. Total: Time – 72 minutes plus automatic timer advance – 2 minutes; Water – 11.9 gallons.
SOAK’’N WASH CYCLE-Used to wash and dry hard-to-clean pots, pans, and casseroles along with regular tableware. This cycle provides one pre-rinse, one wash with a soak period, one rinse, one wash, and three after rinses and dry. This cycle soaks and washes the ware approximately 22 minutes prior to complete wash and dry of the load. Detergent should be added to both compartments of the detergent dispenser. Some encrusted food soils may not be completely removed as a more abrasive action is necessary. Total: Time – 72 minutes plus automatic timer advance – 2 minutes; Water – 13.7 gallons.
RINSE/HOLD CYCLE-Used to rinse partial loads of dishes which are to be held until the dishwasher is filled. Keeps dishes moist until they are washed and dried. Do not use detergent with this cycle. Total: Time – 1 rinse – 3 minutes; Automatic timer advance – 71 minutes; Water – 1.5 gallons.
SHORT WASH CYCLE-Used to wash and dry lightly soiled loads of glasses or plates, fine china, and crystal. This cycle has one pre-rinse, one short wash, and two after rinses, and dry. Use detergent only on the right side of the MAIN WASH compartment of the detergent dispenser. Total: Time – 58 minutes; Water – 8.4 gallons.
CANCEL/DRAIN CYCLE Used to cancel out any cycle in progress. When this button is pushed, the
dishwasher will drain and automatically turn itself off. To start a new cycle, wait until all indicator
lights have gone off, unlatch the door momentarily, relatch, and select the desired new cycle. The water in the sump may not be completely drained because of the location of the timer when the cancel button is pushed. If there is too much water, lift the latch, wait 3 to S seconds, close the latch and again press the cancel/drain button.

CANCEL/DRAIN CYCLE Used to cancel out any wash cycle in progress. When this button is pushed, the dishwasher will drain and automatically turn itself off. To start a new cycle, wait until all indicator lights have gone off, unlatch the door momentarily, re-latch, and select the desired new cycle. The water in the sump may not be completely drained because of the location of the timer when the cancel button is pushed. If there is too much water, lift the latch, wait 3 to 5 seconds, close the latch, and again press the cancel/drain button.
SERVICING INSTRUCTIONS

Lower Front Panel (1, Fig. 11)
- Remove two screws from the lower flange of the panel. For KD-58 models only, remove the slotted hex head mounting screws (1, Fig. 12) from the bottom of the lower front panel, RH. & L.H. sides. For all other models, remove screws (2, Fig. 13) and lock the washer.
- Disengage tabs (1, Fig. 13) by pushing the panel toward the top of the dishwasher, then pulling the panel forward and down to remove them. When reassembling the panel, insert the panel flange under the evaporation channel support ends (3, Fig. 13) and reverse the above procedure.

Outer Door Panel Assy. (2, Fig. 11)
- Open the door and remove the four retaining screws while holding the panel in place.
CAUTION: Do not permit the panel to drop and become marked. - Close the door and remove the panel by pulling out at the lower edge of the door, lowering and withdrawing the panel.

Control Panel (3, Fig. 11)
- Open the door and remove the six control panel retaining screws (four along the top edge and two on the inside face of the door). Close door.
- Remove the indicator knob on KDC & KDI.
- Lift the door handle, remove the retaining screw, and remove the door handle.
- Lift off the control panel.
TIMERS
All KDC, KDI, KDP & KDS dishwashers have timers located behind the control panel (3, Fig. 11). Timers are sometimes needlessly replaced, when another component is at fault, due to an incorrect diagnosis. Thoroughly check the timer before making a replacement. If, after making a timer replacement the problem was not corrected, remove this replacement and reuse the original timer. If a timer-operated component is inoperative, first check to make sure the voltage is reaching the component. For this check use a test lamp across component contacts at the time it should be energized.
If voltage is reaching the inoperative component at the correct time, the component should then be
checked mechanically and electrically. If voltage is not reaching the component, the continuity
between this component and the timer must be checked. If continuity exists, the timer should
then be checked and replaced, as necessary.
TIMER (KDS-18, “SUPERBA”) (Fig. 14)
KDS-18 timers operate on a unique principle:
although each interval is of 90<econd duration, the angular movement of each interval will vary in
a predetermined pattern. In addition, they utilize multiple connector plugs to connect the dishwasher electrical harness with the timer. The multiple connector plugs not only eliminate potential service problems but also make the service technician’s job easier by making the timer readily available for connecting or disconnecting from the wiring harness(es) and to test equipment or a test timer.
With the KDS-18 (SUPERBA) dishwasher, the timer has a dial face printed around the timer socket (4, Fig. 14). The notch on the socket points to the part of the cycle in which the timer is then operating. Check timer operation by comparing it with the operation of the components programmed for each part of that cycle. If the KDS-18 timer is erratic, malfunctioning, or inoperative, check as follows:
- Disconnect the power supply.
- Remove four-timer bracket retaining screws (3, Fig. 14).
- Remove the timer and disconnect electrical plugs (1, Fig. 14) (white) and (2, Fig. 14) (black).
- Disconnect the black leads on timer motors that connect to “C” leads on Action Indicator lights.
- Connect the two plugs to a test timer to ensure proper operating conditions.
- Reconnect the power supply to the dishwasher and operate the dishwasher through cycles.
- 1f replacement does NOT correct the problem, reconnect the plugs into the original timer and check other areas for malfunction.
- Reverse the disassembly procedure to replace a new timer.
TIMER (KDP-18, “PATRICIAN”) (Fig. 15)
The KDP-18 timer has a direct drive motor and also a rapid advance motor. The timer has a dial face printed around the timer socket (4, Fig. 15). The notch on the socket points to the part of the

cycle in which the timer is then operating. Check timer operation by comparing it with the operation of the components programmed for each part of that cycle.
The KDP-18 uses multiple connector plugs to connect the electrical harness with the timer. These connectors make the timer readily available for connecting and disconnecting from the wiring harness to the test equipment or a test timer.
If the KDP-18 timer is erratic, malfunctioning, or inoperative, check as follows:
- Disconnect power supply.
- Remove the four-timer bracket retaining screws (3, Fig. 15).
- Remove the timer and disconnect the electrical plugs (1, Fig. 15) (white) and (2, Fig. 15) (black).
- Connect the two plugs to a test timer that is in proper operating condition.
- Reconnect the power supply to the dishwasher and operate the dishwasher through the cycles. If replacement does NOT correct the condition, reconnect the electrical plugs into the original timer, and check other areas.
- Reverse the disassembly procedure to replace a new timer.
TIMERS (KDC AND KDI) KDI TIMER (SHOWN) (Fig. 16)
(Timers are direct drive and move approx. 6° in 60 seconds).
If the timer is erratic, malfunctioning, or inoperative, check as follows:
- Disconnect the power supply.
- Remove the control panel and outer door panel.
- Remove the four-timer bracket retaining Screws.
- Remove timer (1, Fig. 16).
- KDI Only: Disconnect the two multiple connector plugs (3, Fig. 16) (white) and (2, Fig. 16) (black). Remove one black timer motor lead from the white harness lead that connects the “Power On” light.
- KDC Only (Not Shown): Disconnect the one multiple connector plug (black). Remove one black timer motor lead from the harness lead.
- Connect the plug(s) into a test timer of assured proper operating condition.
- Reconnect the power supply to the dishwasher and operate the dishwasher through cycles.
- If replacement does NOT correct the problem, reconnect the plug(s) into the original timer and check other areas for malfunction.
- Reverse the disassembly procedure to replace a new timer.
When installing the timer, check to make sure the timer reset mechanism is actuated in proper sequence with the switch canceling lever.
Field Wiring Compartment (1, Fig. 17)
- Remove the lower front panel (1, Fig. 11).
- Remove one screw retaining cover and lift off the cover. Lead wires are now accessible.
Ground Screw (2. Fig. 17)
- Remove the lower front panel (1, Fig. 11).
- Loosen ground screw.
Drain Valve
Two types of drain valves (1 & 2. Fig. 18) are currently being used. Your dishwasher may be equipped with either drain valve shown. The electrically operated drain valve (Fig. 18) is normally closed. It is energized and opens during each drain period, permitting the drain pump to remove water from the tank.To determine if the solenoid is faulty, place a test

lamp across the solenoid terminals to determine if the voltage is reaching it. The timer may be advanced
automatically or manually to direct voltage to the valve. If voltage is reaching the solenoid, but remains inoperative, the continuity of the coil should be checked using an ohmmeter. (A common battery-operated continuity tester will NOT function through these coils due to resistance). Replace the drain valve, if continuity does not exist.
NOTE: Coil windings can open when warm and close when they cool due to the expansion of the wire.
To remove the drain valve:
- Remove the lower front panel (1, Fig. 11).
- Remove kickboard.
- Depress hose clamps and disconnect hoses from the inlet and outlet of the drain valve.
- Remove two bracket retaining screws.
- Remove the two mounting screws.
Evaporation Channel (2, Fig. 19)
- Remove the lower front panel (1, Fig. 11).

- Remove two retaining screws (one at each end) (3, Fig. 19).
- Straighten conduit tabs (1, Fig. 19) in the center of the channel. Remove the evaporation channel.
NOTE: Wiring harness is sealed to channel conduit and must be pulled free.
Door Springs (4, Fig. 19)
- Make sure the power is turned OFF.
- Wrasp the top portion of the spring (4, Fig. 19) and lift the spring hook off the door stop bracket.
- Adjustment is provided by changing the door spring mounting bracket (Fig. 20) location on the vertical frame member.

Kickplate Adjustment
The kickplate can be adjusted by moving the kickplate up or down. Fill Valve (Fig. 21)
Two styles of fill valves, single coil outlet (1, Fig. 21) (for convertible-portable) and dual coil outlet (2, Fig. 21) (for KD-18) are used.
If water is not passing through the fill valve during the fill period, first make certain voltage is reaching each solenoid and that the solenoid is operative. The solenoid may be checked as previously outlined under “Drain Valve”. Voltage
between the timer and fill valve must pass through the overfill control switch, which is normally closed. If the solenoid is functioning as it should. the filter screen should be removed to make certain it is not clogged. If the valve still malfunctions, it should be replaced
To replace the fill valve:
- Shut off the water supply valve
- Remove the lower front panel (1. Fig. 11).
- Disconnect the water inlet line at the fill valve.
- Remove two bracket mounting screws.
- Disconnect electrical leads at valve coil (or coils).
- Depress the hose clamp and disconnect the fill line hose.
CAUTION: THE VALVE OR COMPONENT PARTS SHOULD NEVER BE ALTERED IN ANY WAY OR PARTS SUBSTITUTED.

Overfill Control Switch (1, Fig. 22)
The normally closed overfill control switch is an electrically operated safety device in series with the fill vaive. This safety device will operate only if the timer stalls during fill cycle or if the dishwasher fails to drain. It will not protect the fill valve against a malfunction caused by foreign material or a mechanical failure.
Excessive water in tank (approx. 1/4” below hub of hydro sweep) actuates the overfill control switch, opening fill valve circuit.
This switch is permanently factory-adjusted and has an automatic reset. DO NOT ATTEMPT TO ADJUST.
To disassemble from dishwasher:
- Remove the lower front panel (1, Fig. 11).
- Remove staple from cover.
- Open the cover and remove the retaining screw.
- Disconnect electrical lead wires to the switch.
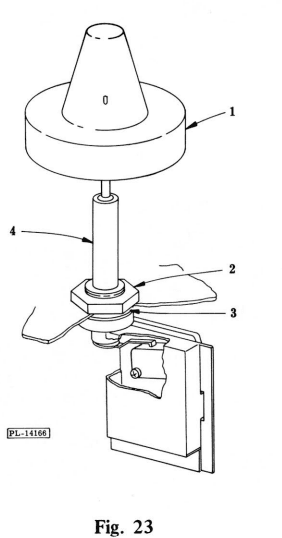
Overfill Protection Float Standpipe (Fig. 23)
Should the tank reach an excessive level (approx. 14 quarts), the overflow protection float will prevent flooding by shutting off the fill valve. The float is located inside the left front comer of
the tank.
To dissassemble from dishwasher:
- Remove lower front panel (1, Fig. 11).
- Remove overfill control float (1, Fig. 23).
- Remove standpipe nut (2, Fig. 23) from inside tank.
- Remove standpipe (4, Fig. 23) and gasket (3, Fig. 23) from beneath tank.
- When reassembling standpipe, make sure gasket is on stem before inserting stem through the tank.
- Using a tool, securely tighten standpipe nut (2, Fig. 23).
Thermostat and Thermal Protector (KDS Only) (1& 2, Fig. 24)
A thermostat (1, Fig. 24) (KDS only) controls the water heater during the Sani Cycle. It holds the timer motor circuit open (preventing timer advancement) until the water reaches approximately 180° F. at which time the thermostat closes, allowing the timer to advance.
The automatic thermal protector (2, Fig. 24) is a normally closed safety device. If for any reason the sump temperature exceeds approximately 200° F. the protector contacts open, stopping current flow to the 1400 watt water heater. It does not interrupt dishwasher cycle. It will automatically reset at approx. 150° F.
To Service:
- Remove lower front panel (1, Fig. 11).
- Remove thermostat cover.
- Disassemble thermostat and thermal protector by rotating them out of mounting spring (3, Fig. 24).


“SANITIZED FLO-THRU DRYING” ASSEMBLY
Make certain power is reaching unit before removal. Disconnect power and withdraw assembly, with wiring intact, place on floor in front of dishwasher. Unit may be operated and checked in this position. See “Dryer Thermal Protector”,“Dryer Heating Element” and “Dryer Blower Unit” for component checking instructions.
To remove (See Fig. 26) (All except KD-58 models):
- Remove the kickboard (I, Fig. 25) and lower front panel (1, Fig. 11).
- Loosen two mounting screws (3, Fig. 26) and swing assembly (1, Fig. 26) to the left to clear slots. Lower unit to withdraw beneath tank opening.
- Move the unit to the front of the machine and disconnect the electrical leads.
To remove (KD-58 models only) (See Fig. 27):
- Remove the lower front panel (1, Fig. 11).
- Tilt the dishwasher to the rear at a 45° angle. (Dishwasher should be braced on the box or similar object).
- Loosen two screws holding an assembly to frame (1, Fig. 27).
- Disconnect electrical leads and remove dryer assembly from under the dishwasher.

To reassemble cord reel on dishwasher (KDI-58 & KDS-58 Only)
- Replace the reel on the frame with one mounting screw (1, Fig. 44).
- Extend the power cord up through the left rear corner of the dishwasher cabinet.
- Pull the power cord through the opening in the top left corner of the cabinet. Replace the cord in the power cord housing. Install cord housing with two mounting screws (1, Fig. 45).
- Using wire nuts connect electrical leads and reconnect ground lead.
- Make sure there is proper tension on the reel.
- Replace the lower panel.

Electrical Power Cord (KDC-58)
- Remove two mounting screws (2, Fig. 47) from cord housing.
- Remove the power cord housing (1, Fig. 47) from the cabinet and push the end of the cord through the cord to the housing slot.
- Locate the cord clamp at the top corner of the dishwasher and disassemble the clamp by removing one screw.
- Disconnect the power cord electrical leads and frame ground. To reassemble, reverse removal procedure
NOTE: Make sure the power cord is properly positioned in the cabinet for ease of operation and harness wire does not interfere with cord operation.
WATER (FILL AND DRAIN) CONNECTIONS (Fig. 48)
To remove:
- See “DRAINING CONVERTIBLE PORTABLE DISHWASHER”.
- Remove the anchor bracket (3, Fig. 48) and hose guard (4, Fig. 48).
- Remove the hose clamp bracket (2, Fig. 48) holding the hoses to the frame.

- Stand the dishwasher upright and pull hoses through the hose coupler housing in the top, right rear of the dishwasher.
To reassemble, reverse the above procedures
NOTE: Be especially careful that hoses are dressed properly in loop-in cabinets and that hoses do not touch electrical components or terminals, as hoses may act as conductors under some conditions.
CONVERSION OF KD-58 MODELS
Conversion of the KD-58 Convertible-Portable models to under-counter installation requires special instructions. Complete instructions for both the conversion and the under-counter installation are provided.
REMOVAL OF TOP (Fig. 49)
- Remove retaining screws (1, Fig. 49) from the top anchor mounting brackets and front of the wraparound housing.

- Remove upper retaining screws (1, Fig. 48) from the hose coupler housing.
- Slide top forward and lift off.
Service Tips
KDC-18 SERIES SCHEMATIC WIRING DIAGRAM

KDC TIMER SEQUENCE CHARTS
KDC NORMAL WASH CYCLE PROGRAM 
These charts show which components are energized and should be functioning during each period of the
program cycle.
REMEMBER: In addition to the timer, certain other switches also control the electrical power supply.
These are: (1) the door interlock switch, (2) the overfill control switch, (3) the program switch, and (4) the thermal protectors.
NOTE: The timer may be advanced manually by turning the timer indicator knob clockwise to the desired position.
These timers may vary approximately 7 to 10 seconds. The total time may vary for different timer manufacturers.
KDP NORMAL WASH CYCLE PROGRAM 
These charts show which components are energized and should be functioning during each period of the
program cycle.
REMEMBER: In addition to the timer, certain other switches also control the electrical power supply. These are: (1) the door interlock switch, (2) the overfill control switch, (3) the program switch, and, (4) the various thermostats and thermal protectors.
NOTE: On the KDP model, the timer should be manually advanced ONLY by removing the dial from the tool (TL-72139) and placing the pointer like a hub on the timer shaft, then rotating the hub slowly clockwise to the desired position. The pointer on the hub will indicate the cycle phase in which the timer is operated by pointing to that portion of the dial which is already printed on the surface of the timer.
For more manuals by KitchenAid, visit ManualsLibraryy
KitchenAid Hobart KDC-18 Dishwasher-FAQs
Do KitchenAid dishwashers need hot water?
Yes, for optimal performance, the water should be around 120°F when it enters the dishwasher. Low water temperature can result in poor cleaning performance.
What is the most common issue with a KitchenAid dishwasher?
The most common issues reported are related to the control panel or motor. Regular maintenance and proper usage can help prevent these problems.
Is a 1-hour dishwasher cycle effective?
The 1-hour wash cycle, also called Quick Wash, is ideal for lightly soiled dishes when you need them cleaned quickly. It uses higher temperatures and more water than the regular cycle for faster results.
Can I run my dishwasher without hot water?
While it’s possible to run a dishwasher with cold water, it’s not recommended. Cold water may not clean dishes properly and could leave soap and food residue behind. It will also result in longer cycle times.
What is the lifespan of a KitchenAid dishwasher?
KitchenAid dishwashers typically last around 10 years, though some models may last longer with proper care and maintenance.
How can I check if my dishwasher is working?
Ensure the power is on, and the door is securely closed. Run a cycle and observe if the dishwasher is filling, draining, washing, and drying as expected. Any issues with these steps may indicate a problem.
Why does my dishwasher take 2 hours to complete a cycle?
Modern dishwashers are more energy-efficient and use less water. Longer cycles allow for thorough cleaning and give sensors time to assess whether the dishes are properly cleaned.
Why does my KitchenAid dishwasher run for 4 hours?
Dishwasher cycles can last between 1.5 to 4 hours depending on the selected cycle, water temperature, dish cleanliness, and whether the heat dry option is enabled.
Why does my dishwasher stop after 5 minutes?
If your dishwasher stops and starts intermittently, the issue may be caused by faulty door latches, damaged circuit boards, or a malfunctioning motor. It’s best to consult an electrician for repairs.
Is it better to run the dishwasher at night or in the morning?
Running the dishwasher at night can save energy, as electricity rates are often lower during off-peak hours. This can help reduce costs.
Do I need salt in my dishwasher if I use tablets?
It depends on the hardness of your water. If you have hard water, you should use dishwasher salt to prevent limescale buildup. For moderately soft or slightly hard water, all-in-one tablets are usually sufficient. In soft water areas, salt is unnecessary.














KDC-18 SERIES SCHEMATIC WIRING DIAGRAM


KDP NORMAL WASH CYCLE PROGRAM 