
Maytag MFI2568AES Bottom-Mount Refrigerator

IMPORTANT SAFETY INSTRUCTIONS
WARNING: To reduce the risk of fire, electric shock, or injury when using your refrigerator, follow these basic precautions:
- Plug into a grounded 3-prong outlet.
- Do not remove the ground prong.
- Do not use an adapter.
- Do not use an extension cord.
- Disconnect power before servicing.
- Replace all parts and panels before operating.
- Remove doors from your old refrigerator.
- Use a nonflammable cleaner.
- Keep flammable materials and vapors, such as gasoline, away from the refrigerator.
- Use two or more people to move and install the refrigerator.
- Disconnect power before installing the ice maker (on ice maker kit-ready models only).
- Use a sturdy glass when dispensing ice (on some models).
INSTALLATION INSTRUCTIONS
Unpack the Refrigerator
Remove the Packaging
- Remove tape and glue residue from surfaces before turning on the refrigerator. Rub a small amount of liquid dish soap over the adhesive with your fingers. Wipe with warm water and dry.
- Do not use sharp instruments, rubbing alcohol, flammable fluids, or abrasive cleaners to remove tape or glue. These products can damage the surface of your refrigerator. For more information, see “Refrigerator Safety.”
- Dispose of/recycle all packaging materials.
When Moving Your Refrigerator:
Your refrigerator is heavy. When moving the refrigerator for cleaning or service, be sure to protect the floor. Always pull the refrigerator straight out when moving it. Do not wiggle or “walk” the refrigerator when trying to move it, as floor damage could occur.
Clean Before Using
After you remove all of the packaging materials, clean the inside of your refrigerator before using it. See the cleaning instructions in “Refrigerator Care.”
Important information to know about glass shelves and covers:
Do not clean glass shelves or covers with warm water when they are cold. Shelves and covers may break if exposed to sudden temperature changes or impact, such as bumping. For your protection, tempered glass is designed to shatter into many small, pebble-size pieces. This is normal. Glass shelves and covers are heavy. Use special care when removing them to avoid impact from dropping.
Location Requirements
To ensure proper ventilation for your refrigerator, allow for a ½” (1.25 cm) space at the top and behind the refrigerator. If your refrigerator has an ice maker, allow extra space at the back for the water line connections. When installing your refrigerator next to a fixed wall, leave a 3¾” (9.5 cm) minimum space between the refrigerator and wall to allow the door to swing open.
NOTE: It is recommended that you do not install the refrigerator near an oven, radiator, or other heat source. Do not install the refrigerator in a location where the temperature will fall below 55°F (13°C).
Electrical Requirements
Before you move your refrigerator into its final location, it is important to make sure you have the proper electrical connection.
Recommended Grounding Method
A 115 Volt, 60 Hz, AC only, 15- or 20-amp fused, grounded electrical supply is required. It is recommended that a separate circuit serving only your refrigerator be provided. Use an outlet that cannot be turned off by a switch. Do not use an extension cord.
NOTE: Before performing any type of installation, cleaning, or removing a light bulb, turn the control (Thermostat, Refrigerator, or Freezer Control, depending on the model) to OFF and then disconnect the refrigerator from the electrical source. When you are finished, reconnect the refrigerator to the electrical source and reset the control (Thermostat, Refrigerator, or Freezer Control, depending on the model) to the desired setting. See “Using the Controls.”
Water Supply Requirements
Gather the required tools and parts before starting installation. Read and follow the instructions provided with any tools listed here.
TOOLS NEEDED:
- Flat-blade screwdriver
- ⁷⁄₁₆” and ½” open-end or two adjustable wrenches
- ¼” nut driver
- ¼” drill bit
- Cordless drill
IMPORTANT:
- All installations must meet local plumbing code requirements.
- Do not use a piercing-type or ³⁄₁₆” (4.76 mm) saddle valve, which reduces water flow and clogs more easily.
- Use copper tubing and check for leaks. Install copper tubing only in areas where the household temperatures will remain above freezing.
Water Pressure
A cold water supply with water pressure of between 35 and 120 psi (241 and 827 kPa) is required to operate the water dispenser and ice maker. If you have questions about your water pressure, call a licensed, qualified plumber.
Reverse Osmosis Water Supply
IMPORTANT: The pressure of the water supply coming out of a reverse osmosis system going to the water inlet valve of the refrigerator needs to be between 35 and 120 psi (241 and 827 kPa). If a reverse osmosis water filtration system is connected to your cold water supply, the water pressure to the reverse osmosis system needs to be a minimum of 40 to 60 psi (276 to 414 kPa). If the water pressure to the reverse osmosis system is less than 40 to 60 psi (276 to 414 kPa):
- Check to see whether the sediment filter in the reverse osmosis system is blocked. Replace the filter if necessary.
- Allow the storage tank on the reverse osmosis system to refill after heavy usage.
- If your refrigerator has a water filter, it may further reduce the water pressure when used in conjunction with a reverse osmosis system. Remove the water filter. See “Water Filtration System.”
If you have questions about your water pressure, call a licensed, qualified plumber.
Connect the Water Supply
Read all directions before you begin.
Connect to Water Line
- Unplug the refrigerator or disconnect power.
- Turn OFF the main water supply. Turn ON the nearest faucet long enough to clear the line of water.
- Locate a ½” to 1¼” (12.7 mm to 31.8 mm) vertical cold water pipe near the refrigerator.
IMPORTANT:
- Make sure it is a cold water pipe.
- Horizontal pipe will work, but drill on the top side of the pipe, not the bottom. This will help keep water away from the drill and prevent normal sediment from collecting in the valve.
- Determine the length of copper tubing you need. Measure from the connection on the rear of the refrigerator to the water pipe. Add 7 ft (2.1 m) to allow for cleaning. Use ¼” (6.35 mm) O.D. (outside diameter) copper tubing. Be sure both ends of the copper tubing are cut square.
- Using a cordless drill, drill a ¼” hole in the cold water pipe you have selected.

- Fasten the shutoff valve to the cold water pipe with the pipe clamp. Be sure the outlet end is solidly in the ¼” drilled hole in the water pipe and that the washer is under the pipe clamp. Tighten the packing nut. Tighten the pipe clamp screws slowly and evenly so the washer makes a watertight seal. Do not overtighten, or you may crush the copper tubing.
- Slip the compression sleeve and compression nut on the copper tubing as shown. Insert the end of the tubing into the outlet end squarely as far as it will go. Screw the compression nut onto the outlet end with an adjustable wrench. Do not overtighten.
- Place the free end of the tubing in a container or sink, and turn ON the main water supply. Flush the tubing until the water is clear. Turn OFF the shutoff valve on the water pipe. Coil the copper tubing.
Connect to Refrigerator
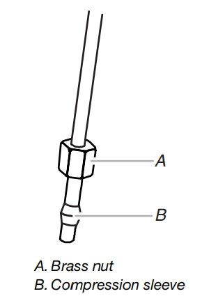
- Remove the plastic cap from the water supply connection. Place the brass nut and compression sleeve on the copper tube end as shown.

- Place the end of the copper tubing into the plastic water valve supply line. Slide the brass nut over the sleeve and screw the nut into the supply line.
- Using an adjustable wrench, hold the nut on the plastic water line to keep it from moving. Then, with a second wrench, turn the nut on the copper tubing counterclockwise to completely tighten. Do not overtighten.
- Check the connection by pulling on the copper tubing.
- Attach the copper tubing to the refrigerator with a “P” clamp. Slide the plastic waterline into the retainer.

- Turn on the water supply to the refrigerator and check for leaks. Correct any leaks.
Complete the Installation
- Plug into a grounded 3-prong outlet.
- Flush the water system. See “Water and Ice Dispenser.”
NOTE: Allow 24 hours to produce the first batch of ice. Discard the first three batches of ice produced. Allow 3 days to completely fill the ice container.
Refrigerator Doors and Drawer
All graphics referenced in the following instructions are included later in this section after “Final Steps.”
Remove and Replace Handles
Style 1 – Metal Handles
- Using a ³⁄₃₂” Allen wrench, loosen the two set screws located on the side of each handle. See Metal Handle graphics 1 and 2.
- Pull the handle straight out from the door. Make sure you keep the screws for reattaching the handles.
- To replace the handles, reverse the directions.
Style 2 – Plastic Handles
To Remove Handles:
- Grasp the lower part of the handle firmly, slide the handle up, and pull the handle straight out from the door. See Plastic Handle graphics 1 and 2.
To Replace Handles:
- Position the handle so that the large holes in the mounting clips are down and align the holes with the door studs.
- Rotate the handle so that the mounting clips are flat against the door and slide the handle down to engage. See Plastic Handle graphics 1 and 2.
Remove Doors and Hinges
IMPORTANT:
- Remove food and any adjustable door or utility bins from doors.
- Keep the refrigerator doors closed until you are ready to lift them free from the cabinet.
NOTE: Provide additional support for the refrigerator door while the hinges are being removed. Do not depend on the door gasket magnets to hold the door in place while you are working.
TOOLS NEEDED:
⁵⁄₁₆”, ³⁄₈”, ¼” hex-head socket wrench, #2 Phillips screwdriver, and a flat-blade screwdriver.
- Unplug the refrigerator or disconnect the power.
- Remove the base grille. Grasp the grille firmly and pull it toward you.

- Starting with the right-hand side door, remove the parts for the top hinge as shown in the Top Hinge graphic. Lift the refrigerator door from the bottom hinge pin.
- Remove the shim from the bottom hinge pin and keep it for later use. See Bottom Hinge graphic.
- Remove the top hinge cover from the left side refrigerator door. Disconnect the wiring plug located on top of the hinge by wedging a flat-blade screwdriver or your fingernail between the two sections. See Connections graphic.
- Disconnect the water line by holding the tabbed section of the water line while turning the black locking collar clockwise. See Connections graphic.
- Remove the parts for the top hinge as shown in the Top Hinge graphic. Lift the left-hand side door from the bottom hinge pin. NOTE: On some models, remove the shim from the bottom hinge pin and keep it for later use. See Bottom Hinge graphic.
- Using a ³⁄₈” hex wrench, remove the leveling leg brackets from the bottom of the cabinet. Keep screws for later use.
Replace Doors and Hinges
- Assemble the parts for the top hinge as shown in the Top Hinge graphic. Do not tighten the screws completely.
- Replace the parts for the bottom hinge as shown in the Bottom Hinge graphic. Tighten screws. Replace the refrigerator door. NOTE: Provide additional support for the refrigerator door while the hinges are being moved. Do not depend on the door gasket magnets to hold the door in place while you are working.
- Align the door so that the bottom of the refrigerator door aligns evenly with the top of the freezer drawer. Tighten all screws.
- Reconnect the wiring plug on top of the left-hand side refrigerator door.
- Reconnect the water lines by firmly pushing one line inside the other. Slide the black locking collar fully forward.
- While holding the tabbed section of the waterline, turn the locking collar counterclockwise until you hear a “click.” NOTE: The arrow on the tabbed section should align with the two bars on the locking collar.
- Check for leaks. Replace the top hinge covers.
Remove and Replace Freezer Drawer
IMPORTANT: Two people may be required to remove and replace the freezer drawer. Graphics are included later in this section.
Remove Drawer Front
- Open the freezer drawer to full extension.
- Loosen the four screws attaching the drawer glides to the drawer front. See Drawer Front Removal graphic. NOTE: Loosen screws three to four turns. Keep the screws in the drawer front.
- Lift the drawer front upward and off the screws. See Drawer Front Removal graphic.
Replace Drawer Front
- Slide the drawer glides out of the freezer compartment. Insert the screws in the top of the drawer front into the slots in the drawer brackets. See Drawer Front Replacement graphic.
- Pull the drawer brackets toward you to position the two screws in the bottom of the drawer front into the brackets. See Drawer Front Replacement graphic.
- Completely tighten the four screws.
Final Steps
- Replace the base grille.
- Plug into a grounded 3-prong outlet.
- Return all removable parts to the doors and drawer, and food to the refrigerator and freezer.


Adjust the Doors
Depending on your model, your refrigerator may have four adjustable rollers (Style 1) or a leveling screw (Style 2) located at the base of the refrigerator. If your refrigerator seems unsteady or you want the door to close more easily, use the instructions below.
- Remove the base grille. Grasp the grille firmly and pull it toward you.

- Raise or lower the cabinet.
Style 1 – Front and rear leveling
Using a ³⁄₈” hex driver, turn the roller adjustment screw(s) on each side to raise or lower that side of the refrigerator.
NOTE: Having someone push against the top of the refrigerator takes some weight off the adjustment screws and rollers. This makes it easier to turn the screws. It may take several turns of the roller adjustment screw to adjust the tilt of the refrigerator.
- To raise, turn the roller adjustment screw to the right.
- To lower, turn the roller adjustment screw to the left.
Turn the brake foot clockwise until it is firmly against the floor to keep the refrigerator from rolling forward when the freezer drawer is pulled open.
Style 2 – Leveling screw
Using a ¼” hex driver, turn the leveling screw on each side to raise or lower that side of the refrigerator.
NOTE: Having someone push against the top of the refrigerator takes some weight off the leveling screws. This makes it easier to turn the screws. It may take several turns of the leveling screw to adjust the tilt of the refrigerator.
- To raise, turn the leveling screw clockwise.
- To lower, turn the leveling screw counterclockwise. NOTE: Your refrigerator may have a rear roller adjustment screw on each side. To raise or lower the rear of the refrigerator, use a ³⁄₈” hex driver to turn the screws.

- Open the door again to make sure that it closes as easily as you like. If not, tilt the refrigerator slightly more to the rear by turning both leveling screws clockwise. It may take several more turns, and you should turn both screws the same amount.
- Replace the base grille.
TROUBLESHOOTING
First, try the solutions suggested here or visit our website and reference FAQs (Frequently Asked Questions) to possibly avoid the cost of a service call. In the U.S.A., www.maytag.com/In Canada, www.maytag.ca
Refrigerator Operation
The refrigerator will not operate
- Power cord unplugged? Plug into a grounded 3-prong outlet.
- Is the outlet working? Plug in a lamp to see if the outlet is working.
- Household fuse blown or circuit breaker tripped? Replace the fuse or reset the circuit breaker. If the problem continues, call an electrician.
- Are controls on? Make sure the refrigerator controls are on. See “Using the Controls.”
- New installation? Allow 24 hours following installation for the refrigerator to cool completely.
NOTE: Adjusting the temperature controls to the coldest setting will not cool either compartment more quickly.
The motor seems to run too much
Your new refrigerator may run longer than your old one due to its high-efficiency compressor and fans. The unit may run even longer if the room is warm, a large food load is added, doors are opened often, or if the doors have been left open.
The refrigerator seems noisy
Refrigerator noise has been reduced over the years. Due to this reduction, you may hear intermittent noises from your new refrigerator that you did not notice in your old model. Below are listed some normal sounds with explanations.
- Buzzing – heard when the water valve opens to fill the ice maker.
- Pulsating – fans/compressor adjusting to optimize performance.
- Hissing/Rattling – flow of refrigerant, movement of water lines, or from items placed on top of the refrigerator.
- Sizzling/Gurgling – water dripping on the heater during defrost cycle.
- Popping – contraction/expansion of inside walls, especially during initial cool-down.
- Water running – may be heard when water melts during the defrost cycle and runs into the drain pan.
- Creaking/Cracking – occurs as ice is being ejected from the ice maker mold.
The doors will not close completely
- Door blocked open? Move food packages away from the door.
- Bin or shelf in the way? Push the bin or shelf back in the correct position.
The doors are difficult to open
- Gaskets dirty or sticky? Clean gaskets and contact surfaces with mild soap and warm water. Rinse and dry with a soft cloth.
Temperature and Moisture
Temperature is too warm
- New installation? Allow 24 hours following installation for the refrigerator to cool completely.
- Door(s) opened often or left open? Allows warm air to enter the refrigerator. Minimize door openings and keep doors fully closed.
- Large load of food added? Allow several hours for the refrigerator to return to normal temperature.
- Controls set correctly for the surrounding conditions? Adjust the controls to a colder setting. Check the temperature in 24 hours. See “Using the Controls.”
There is interior moisture buildup
NOTE: Some moisture buildup is normal.
- Humid room? Contributes to moisture buildup.
- Door(s) opened often or left open? Allows humid air to enter the refrigerator. Minimize door openings and keep doors fully closed.
For More Manuals By Maytag, Visit ManualsLibraryy.
Maytag MFI2568AES Bottom-Mount Refrigerator-FAQs
What is the most common issue with Maytag bottom-mount refrigerators?
Common problems include ice maker malfunctions, control panel not responding, water dispenser issues, or cooling performance concerns.
What temperature should my Maytag refrigerator be set at?
The recommended setting is 37°F (2.8°C) for the refrigerator and 0°F (-18°C) for the freezer to keep food fresh and safe.
How do I unlock the control panel on my Maytag fridge?
Press and hold the Control Lock button (or Ice Maker Off, depending on the model) for 3 seconds until you hear a chime or see the lock icon disappear.
What is the benefit of a bottom-mount refrigerator design?
It places the fresh food compartment at eye level, making it easier to access everyday items without bending down.
Why is my Maytag refrigerator not dispensing water?
Check if the water filter is installed correctly and not clogged. Also ensure the water supply line is connected and the pressure is adequate.
How long does a Maytag refrigerator usually last?
With proper maintenance, a Maytag refrigerator typically lasts 10–15 years.
How do I level my Maytag refrigerator?
Remove the grille at the bottom, locate the leveling legs, and adjust them with a wrench until the refrigerator sits evenly and the doors close properly.
What should be stored at the bottom of the refrigerator?
Raw meat, poultry, and fish should be stored on the bottom shelf to prevent juices from contaminating other foods.








