
Mountfield MHJ2424 Hedge Trimmer

IDENTIFICATION OF MAIN COMPONENTS

- 1. Engine
- 2. Cutting device (blade)
- 3. Cutter protection plate
- 4. Front handgrip
- 5. Rear handgrip
- 6. Rear handgrip release command
- 7. Blade protection
- 10. Registration plate
CONTROLS AND REFUELLING

- 11 . Engine stop switch
- 12. Blade command (Accelerator lever)
- 13. Accelerator safety lever
- 14. Starter
- 15. Choke
- 16. Primer
- 21. Fuel tank cap
- 22. Air cleaner cover
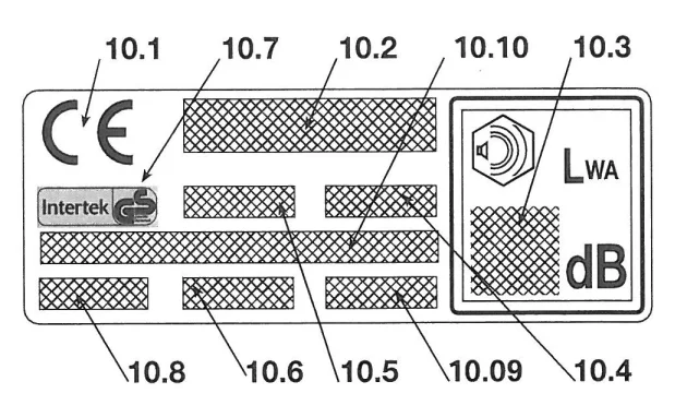
REGISTRATION PLATE

- 10.1) Mark of conformity with EC 98/37 standards (2006/42/EC from 29/12/2009)
- 10.2) Name and address of the manufacturer
- 10.3) Acoustic output level according to EC 2000/14 Standards
- 10.4) Manufacturer’s model of reference
- 10.5) Machine model
- 10.6) Serial number
- 10.7) Certification Body mark
- 10.8) Year of manufacture
- 10.9) Article Code
- 10.10) Emission number
SYMBOLS

WARNING: The machine you have purchased has been manufactured for domestic use.
- Warning! Danger.
- Read the instruction manual before using the machine.
- Irreversible damage can be caused to your hearing.
Anyone operating this machine under normal conditions during continuous daily use may be exposed to a noise level equal to or exceeding 85 dB (A).
The operator must wear Personal Protective Equipment (PPE).
Whenever the machine is in use, safety goggles must be worn to safeguard against flying objects, as must ear protectors, such as a soundproof helmet, in order to protect the operator’s hearing.
If the operator is working in an area where there is a risk of falling objects, a safety helmet must also be worn. - The blade is very sharp, and you could easily cut yourself.

SAFETY REQUIREMENTS
TRAINING
- Read the instructions carefully. Become acquainted with the controls and the proper use of the machine. Learn how to stop the engine quickly.
- Only use the machine for its intended use, that is, “the cutting and trimming of hedges, consisting of plants with small-sized branches”.
Any other use may be dangerous and severely damage the machine. Examples of improper use may include, but are not limited to:- general grass cutting and in particular, near kerbs;
- chopping material for composts;
- pruning;
- using the machine for cutting non-plant material;
- Use of the machine by more than one person.
- Never allow children or persons unfamiliar with these instructions to use the machine. Local regulations may restrict the age of the operator.
- The machine must never be used by more than one person.
- Never use the machine:
- When people, especially children or pets, are in the vicinity;
- if the user is tired or unwell, or has taken medicine, drugs, alcohol or any substances which may slow his reflexes and compromise his judgement;
- if the user is not capable of holding the machine firmly with two hands and/or of remaining standing on the ground whilst working.
- Remember that the operator or user is responsible for accidents or hazards occurring to other people or their property.
PREPARATION
- Always wear adequate clothing when using the machine which do not hamper movements in any manner.
- Always wear slim-fitting protective clothing fitted with shear-proof protection devices.
- Always wear protective gloves and eye-goggles, and safety anti-shear boots with non-slip soles.
- Always wear ear and hearing protection devices.
- Never wear scarves, shirts, necklaces, or any hanging or flapping accessory that could catch in the machine or in any objects or materials in the work area.
- Tie your hair back if it is long.
- WARNING: DANGER! Fuel is highly flammable:
- keep the fuel in containers which have been specifically manufactured and homologated for such use;
- never smoke when handling fuel;
- slowly open the fuel tank to allow the pressure inside to decrease gradually;
- top up the tank with fuel in the open air, using a tunnel;
- Add fuel before starting the engine. Never remove the fuel tank cap or add fuel while the engine is running or when the engine is hot;
- If you have split some fuel, do not attempt to start the engine but move the machine away from the area of spillage and avoid creating any source of ignition until the fuel has evaporated and fuel vapours have dissipated.d;
- Immediately clean up all traces of fuel spilt on the machine or on the ground;
- never start the machine in the same place you refilled it with fuel;
- Make sure your clothing does not come into contact with the fuel; on the contrary, change your clothes before starting the engine.
- Always put the tank and fuel container caps back on and tighten well.
- Replace faulty or damaged silencers.
- Before using the machine, check its general condition and in particular:
- The accelerator lever and the safety lever must move freely; they must not need forcing and should return automatically and rapidly back to the neutral position.
- The accelerator lever must remain locked until the safety lever is pressed.
- The engine stop switch must easily move from one position to the other.
- The electric cables and,in particular, the spark plug cable must be in perfect condition to avoid the generation of any sparks, and the cap must be correctly fitted on the spark plug. plug;
- The machine handgrips and protection devices must be clean and dry and well fastened to the machine.
- The blades must never be damaged or in poor condition.
- Before starting your work, make sure that all the protection devices are correctly fitted.
OPERATION
- Do not operate the engine in a confined space where dangerous carbon monoxide fumes can collect.
- Work only in daylight or good artificial light.
- Take on a firm and well-balanced position:
- where possible, avoid working on wett,slippery ground or in any case on uneven or rippled ground which does not guarantee stability for the operator;
- avoid using unstable ladders or platforms;
- never run, but walk carefully paying attention to the lay of the land and any eventual obstacles.
- Start the engine when the machine is firmly on the ground and hold it in place with your free hand. Start the motor in an area at least 3 metres from where you refuelled.
- Check that there are no persons in the vicinity of the machine.
- Do not direct the silencer and therefore the exhaust fumes towards inflammable materials.
- Do not change the engine tuning and do not rev the engine excessively at maximum speed.
- Check that when the machine is running at minimum speed and ticking over, there is no movement of the blades and, after accelerating, the engine quickly returns to minimum speed.
- Make sure the blades do not come into violent contact with foreign bodi,, es and try to prevent any material from being hurled after trimming.
- Stop the engine wheneveryou leave the machine unattended.
- Before refuelling.
- Stop the engine and disconnect the spark plug cable:
- before cleaning, checking or working on the machine;
- after striking a foreign object. Inspect the machine for any damage and make repairs before restarting it again;
- If the machine begins to abnormally vibrate (immediately look for the cause of the vibrations and take for necessary controls at a Specialised Centre).
- When the machine is not in use.
MAINTENANCE AND STORAGE
- Keep all nuts, bolts and screws tightly fastened to be sure the equipment is in safe working condition. Routine maintenance is essential for safety and for maintaining a high performance level.
- Do not store the machine with fuel in the tank in an area where the fuel vapours could reach an open flame, a spark or a strong heat sourcee.e
- Allow the engine to cool before storingit in any enclosure.
- To reduce fire hazards, keep the engine, exhaust silencer and fuel storage area free from branches, leaves, or excessive grease; never leave containers with the cut debris inside the storage area.
- If the fuel tank has to be emptied, this should be done outdoors once the engine has cooled down.
- Always wear protective gloves when handling the cutting device.
- Make sure the blades are well-sharpened. All operations on the blades require a certain level of experience and specialised tools. For safety reasons, take them to a specialised centre to be sharpened.
- For safety reasons, never use the machine with worn or damaged parts. Damaged parts are to be replaced and never repaired. Only use original spare parts. Parts that are not of the same quality can seriously damage the equipment and compromise safety.
- Store the machine out of the reach of children!
TRANSPORTATION AND HANDLING
- Whenever the machine is to be handled or transported, you must:
- turn off the engine, wait for the blades to stop,, and disconnectthe spark plug cap;
- Apply the protection devices to the blade. Onlyhold the machine using the handgrips and position the blades in the opposite direction to that used during operations.
- When using a vehicle to transport the machine, position it so that it can cause no danger to persons and fasten it firmly in place to avoid it from tipping over, which may cause damage or fuel spillage.
HOW TO READ THE MANUAL
Certain paragraphs in the manual contain particularly significant information and are marked with various levels of highlighting with the following meaning:
NOTE
or
IMPORTANT! These give details or further information on what has already been indicated, and aim to prevent both damage to the machine and the machine from causing damage.
WARNING! Non-observance will result in the risk of injury to oneself or others.
DANGER! Non-observance will result in the risk of serious injury or death to oneself or others.
PREPARING TO WORK
CHECKING THE MACHINE
Before starting work, please:
- Check that all the screws on the machine and the blade are tightly fastened.;
- Check that the blades are sharp and there are no signs of any damage.
- Check that the air filter is clean.
- Check that the protection devices are well fastened and working efficiently.
- Check that the handgrips are well fastened
PREPARING THE FUEL
This machine is fitted with a two-stroke engine,,hich requires a mix of petrol and lubricating oil.
IMPORTANT! Using petrol alone will damage the motor and will result in invalidation of the warranty.
IMPORTANT: Only use quality fuels and oils to maintain high performance and guarantee the duration of the mechanical parts over time.
- Petrol characteristics
Only use unleaded petrol (green petrol) with an octane number of no less than 90 N.O.
IMPORTANT! Unleaded petrol tends to create deposits in the container if preserved for more than 2 months. Always use fresh petrol! - Oil characteristics
Only use top-quality synthetic oil specifically for two-stroke engines.
Your retailer can provide you with oils which have been specifically studied for this type of engine, which are capable of guaranteeing a high level of protection.
The use of these oils makes it possible to prepare a 2% mix, consisting of 1 part oil to 50 parts petrol. - Preparation and preservation of the fuel mix
DANGER!
Petrol and the fuel mix are highly inflammable!- Keep the petrol and fuel mix in homologated fuel containers, in a safe place, away from any flames or heat sources.
- Never leave the containers within the reach of children.
- Never smoke whilst preparing the mix and avoid inhaling the petrol fumes.
The chart indicates the amount of petrol and oil to use to prepare the fuel mix according to the type of oil used.

To prepare the fuel mix:
- Place about half the amount of petrol in a homologated tank.
- Add all the oil, according to the chart.
- Add the rest of the petrol.
- Close the top and shake well.
IMPORTANT! The fuel mix tends to age. Do not prepare excessive amounts of the fuel mix to avoid deposits from forming.
IMPORTANT! Keep the petrol and fuel mix containers separate and easily identifiable to avoid the mistake of using one in place of the other.
IMPORTANT! Periodically clean the petrol and fuel mix containers to remove any eventual deposits.
REFUELLING
DANGER! Never smoke whilst refuelling and avoid inhaling the petrol fumes.
WARNING! Carefully open the tank top, as pressure could have formed inside
Before refuelling:
- Shake the fuel mix container well.
- Place the machine on a flat, stable surface, with the fuel tank cap facing upwards.
- Clean the fuel tank cap and the surrounding area to avoid any dirt from entering the tank during refilling.
- Carefully open the fuel tank cap to allow the pressure inside to decrease gradually. Use a funnel to refill and avoid filling the tank to the brim (Fig. 1).

WARNING! Always close the fuel tank cap firmly.
WARNING! Immediately clean all traces of fuel which may have dripped on the machine or the gro,, und and do not start the engine until the petrol fumes have dissipated.
HOW TO START – USE – STOP THE ENGINE
STARTING THE ENGINE
WARNING! The engine must be started in an area at least 3 metres from where you refilled the fuel tank.
Before starting the engine:
- Place the machine firmly on the ground.
- Remove the blade protection devices.
- Make sure the blade is not touching the ground or any other object.
- Make sure the handgrip is locked in the centre position.
Cold start
NOTE
A “cold” start of the engine means starting it after at least 5 minutes from when it was switched off or after refuelling.
To start the engine (Fig. 2):

- Press switch (1) to position «I».
- Gently press the bulb (2) on the “primer” 7-1 O times until the fuel flows from the exhaust pipe.
- Turn the starter control lever (3) to the «CHOKE» position.
- Hold the machine firmly on the ground with one hand on the handgrip, in order not to lose control of the machine during startup.
WARNING! If the machine is not held firmly, the force of the engine could cause the user to lose his balance or direct the blade towards an obstacle or the same user. - Pull the starter rope slowly for 10 – 15 cm until you feel some resistance, then tug it a few times until you hear the engine turn over.
IMPORTANT! To avoid breaking the starter rope, do not pull the whole length of it or let it slide along the edge of the cable guide hole.
Release the starter gradually to avoid letting it fly back uncontrollably. - Pull the starter rope again until the engine starts as normal.
- Turn the starter control lever (3) to the «RUN» position.
- Allow the engine to run at minimum speed for at least one minute before accelerating to maximum speed.
IMPORTA. NT! 1. t the handle (4) on the starter wire is pulled repeatedly with the starter control lever (3) in the «CHOKE» position, it can flood the engine and make starting difficult.
If you have flooded the engine, remove the spark plug and gently pull the handle (5) on the starter wire to eliminate any excessfuele; then dry the spark plug electrodes and replace it on the engine.
Hot starting
When hot starting (immediately after stopping the engine), follow the procedure indicated above in points 1 – 4 – 5 – 6.
USE OF THE ENGINE (Fig. 3)

The speed of the cutting device is regulated by the accelerator lever (1) positioned on the rear handgrip (2).
It is only possible to use this lever if the safety lever (3) is pressed simultaneously.
The movement is transmitted from the engine to the blade by a centrifugal mass clutch that prevents the blade from moving when the engine is running at minimum speed.
WARNING! Do not use the machine if the cutting device moves when the engine is running idle; in this case, contact yyourrdealer.
The correct running speed will be achieved by pressing the accelerator lever (1) as far as possible.
IMPORTANT: Avoid using the engine at full power for the first 6-8 working hours.
STOPPING THE ENGINE (Fig. 4)

To stop the engine:
- Release the accelerator lever (1) and allow the engine to run at minimum speed for a few seconds.
- Press the (2) switch to the «O» position.
WARNING! When the engine is ticking over, it will take a few seconds for the blades to stop.
USING THE MACHINE
To respect persons and the environment :
- Please try not to cause any disturbance.
- Scrupulously comply with local regulations and provide for the disposal of waste materials after trimming.
- Scrupulously comply with local regulations and provisions for the disposal of oils, petrol, damaged parts or any element which has a strong impact on the environment.
- Disposal of the packaging should be done in accordance with the local regulations in force.
WARNING! Prolonged exposure to vibrations can cause injuries and neurovascular disorders (also called “Renaud’s syndrome” or “white hand”), especially to people suffering from circulation disorders. The symptoms can affect the hands, wrists and fingers and are shown through loss of sensitivity, torpor, itching, pain and discolouring of or structural changes to the skin. These effects can be worsened by low ambient temperatures and/or by gripping the handgrips excessively tightly. If the symptoms occur, the length of time the machine is used must be reduced and a doctor consulted.
WARNING! Always wear suitable clothing when using the machine. Your retailer can provide you with all the information on the most suitable accident prevention devices to guarantee your safety at work.
REGULATING THE HANDGRIP (Fig. 5)

The rear handgrip (1) can be adjusted to 3 different positions in relation to the cutting device to make trimming your hedges easier.
WARNING! The handgrip must only be adjusted when the engine is switched off.
- Lower the release lever (2).
- Rotate the rear handgrip (1) to the desired position.
- Before using the machin,, check that the release lever (2) has correctly returned to the high position, and the rear handgrip is firmly attached.
WARNING! When working, the rear handgrip must always be in a vertical position, whatever the position of the cutting device (3).
CUTTING PROCEDURES
WARNING! When cutting, always hold the machine firmly with both hands.
WARNING! Immediately stop the engine if the blades block while running or if they get caught up in the hedge branches
It is recommended to trim the two vertical sides of the hedge before trimming the top.
Vertical trimming (Fig. 6)

Proceed to cut by using curved movements from the bottom towards the top, keeping the blade as far from the body as possible.
Horizontal trimming (Fig. 7)

The best results will be obtained with the blade slightly inclined (5° – 10°) in the direction you are cutting, proceed with a curved movement, slowly and without interruptions, especially in the case of very thick hedges.
LUBRICATING THE BLADES DURING JOBS
If the trimming device overheats whilst working, it is necessary to lubricate the internal surfaces of the blades.
WARNING! This operation must only be performed when the blades have stopped running and the engine is switched off.
END OF OPERATIONS
When you have finished your work:
- Switch off the engine as indicated above (Chap. 5).
- Wait for the blades to stop and replace the protection device.
MAINTENANCE AND PRESERVATION
Correct maintenance is essential to maintain the original eefficiencynd safety of the machine over time.
WARNING! During maintenance operations:
- Remove the spark plug cap.
- Wait until the engine is sufficiently cold.
- Use protective gloves when handling the blades.
- Keep the blade protection devices on, except when intervening directly on the blade.
- Never dispose of oils, fuel or other polluting materials in unauthorised places..
CLEANING THE ENGINE AND THE SILENCER
To reduce fire risks, periodically clean the cylinder flaps with compressed air and clear the silencer area from branches, leaves or other debris.
CLEANING THE AIR FILTER
IMPORTANT! Cleaning the air filter is essential to guarantee the efficiency and duration of the machine.
It must be cleaned after every 8-10 working hours.
To clean the filter (Fig. 8):

- Loosen the knob (,1, r,move the cover,) and the filter element (3).
- Wash the filter element (3) with soap and water. Do not use petrol or other solvents.
- Leave the filter to dry in the open air.
- Replace the filter element (3) and the coverr,r (2) and tighten the knob (1).
FUEL FILTER
Inside the fuell,l ta,,nk there is a filter which prevents impurities from entering the engine. The filter should be replaced once a year by your Retailer.
CHECKING THE SPARK PLUG
Periodically, remove and clean the spark plug from any eventual deposits using a metal brush. Check and reset the correct distance between the electrodes (Fig. 9).

Replace the spark plug and fasten it firmly using the supplied key. The spark plug must be replaced with one with the same characteristics in the cases where the electrodes have burnt or the insulation has worn out, and in a,ny case every 50 working hours.
TUNING THE CARBURETTOR
The carburettor is tuned by the manufacturer to achieve maximum performance in all situations of use, with a minimum emission of toxic gas in compliance with current specifications. In the case of poor performance, first check that the blades are not partially blocked or deformed, onhe ,, ask your Retailer to check the carburettor and the engine.
Tuning minimum speed
WARNING! The cutting device must not move when the engine is running idle. If the cutting device moves when the engine is running idle, contact your dealer to correctly regulate the engine.
LUBRICATING THE REDUCTION GEAR (Fig. 10)

Every 20 working hours, top up the level with special MBISulfur lubrication, injecting it into the lubricator (1).
BLADE CLEANING AND CHECK
WARNING! Periodically check that the blades are not bent or deformed and that the screws are adequately tightened.
Adjustment of the distance between blades is not necessary, as this is predetermined by the manufacturer.
Cleaning of debris from the inner grooves must be done regularly, as this could impede the blades from turning correctly.
Proceed with cleaning (Fig. 11):

- Loosen the nuts (1 ), remove the screws (2) and the bar (3).
- Carefully remove any dust or debris from the slots (4).
- Lubricate the internal surfaces of the blades.
- Remount the bar (3) with the screws (2), taking care to reposition the spacers accurately (5) and the washers (6) and (7) under the nuts (1 ).
- Fully tighten the nuts (1).
WARNING! Always check that the nuts (1) are tightened as far as possible before starting work.
SHARPENING THE BLADES
It is necessary to sharpen the blades when the trimming performance decreases and the branches tend to stick together.
WARNING! Always replace and never repair a blade which has blunt cutting edges..
IMPORTANT:NT We recommend you take your machine to your Retailer for sharpening, as he has the required tools and suitable experience. To sharpen the blades, it is recommended to use a fine-grain file and proceed as follows (Fig. 12):

- Place the file (1) on the blade (2) at a 45° angle, and proceed with upward strokes towards the cutting edge.
- Make sure that you put pressure on the file only when stroking upwards and raise it from the blade when you move it back towards you.
- Only remove the smallest amount of material.
- Eliminate any burr with a grinding stone.
- Eliminate all grinding traces and lubricate the blades before reassembling them.
EXTRAORDINARY INTERVENTIONS
All maintenance operations not foreseen in this manual must be performed exclusively by your Retailer. All and any operations performed in unauthorised centres or by unqualified persons will totally invalidate the warranty.
PRESERVATION
After each working session, carefully clean the machine of dust and debris, repair or replace any faulty parts and lubricate the blades to prevent them from rusting. The machine must be preserved in a dry area, protected from all weather conditions and with the blade protection device correctly fitted.
PROLONGED IDLE PERIODS
IMPORTANT! If the machine will not be used for a period of more than 2-3 months, it is recommended to follow some advice to avoid difficulty when you wish to use the machine and to prevent permanent damage to the engine.
Storage
Before storing the machine:
- Empty the fuel tank.
- Start the engine and allow it to tick over until it comes to a halt, so that it uses all the fuel that is left in the carburettor.
- Allow the engine to cool down and remove the spark plug.
- Pour a teaspoon of (new) 2-stroke engine oil into the spark plug slot.
- Pull the starter wire a couple of times to distribute the oil in the cylinder.
- Replace the spark plug with the piston in the dead end upper position visible frommm the spark plug slot when the piston is at maximum stroke).
Restarting work
When you wish to start using the machine again:
- Remove the spark plug.
- Pull the starter wire a couple of times to eliminate all excess oil.
- Check the spark plug as described in the chapter “Checking the spark plug”.
- Prepare the machine as indicated in the paragraph entitled “Preparing for work”.
IDENTIFICATION OF FAULTS

TECHNICAL SPECIFICATIONS

ACCESSORIES
Only cutting tools with the following codes must be used on this machine: 23305004/0
Given the product evolution, the above-mentioned tools may be replaced in time by otherswithothers withhnterchangeable and operating safety characteristics.
For more manuals by Mountfield, visit ManualsLibraryy
Mountfield MHJ2424 Hedge Trimmer- FAQs
What fuel mixture does the Mountfield MHJ2424 hedge trimmer use?
The MHJ2424 runs on a 50:1 petrol-to-2-stroke oil mix. Always use fresh unleaded petrol and quality 2-stroke oil.
Is the Mountfield MHJ2424 a 2-stroke or 4-stroke machine?
Yes, the MHJ2424 uses a 2-stroke engine, so the fuel and oil must be mixed together before use.
How do I start the Mountfield MHJ2424?
Ensure the fuel tank is filled with the correct mixture, set the choke, prime the bulb (if equipped), then pull the starter cord smoothly until the engine fires.
How much 2-stroke oil do I mix with 1 litre of petrol?
For a 50:1 ratio, add 20 ml of 2-stroke oil to 1 litre of petrol.
Can I use a different fuel ratio like 40:1 instead of 50:1?
No, long-term use of the wrong ratio can damage the engine. Always follow the recommended 50:1 mix.
Do hedge trimmers generally need 2-stroke fuel?
Most petrol hedge trimmers use 2-stroke engines, which require mixed fuel. Some models use 4-stroke engines, but the MHJ2424 is 2-stroke.
What are common issues users face with Mountfield petrol machines?
Typical problems include old fuel, dirty spark plugs, clogged carburetors, and insufficient maintenance. Always use fresh fuel and service the machine regularly.
Can I use WD-40 to lubricate my hedge trimmer blades?
It’s not recommended. Use proper blade lubricant designed for hedge trimmers to prevent gum buildup.
How do I clean the carburetor without removing it?
With the engine running, spray carburetor cleaner into the air intake in short bursts to help clear deposits.
What is the best time of year to trim hedges?
Avoid cutting in extreme heat or during frost. Late spring and late summer are usually best for hedge maintenance.
