
NordicTrack C 700 Folding Treadmill

IMPORTANT PRECAUTIONS
- It is the responsibility of the owner to ensure that all users of this treadmill are adequately informed of all warnings and precautions.
- Before beginning any exercise program, consult your physician. This is especially important for persons over age 35 or persons with pre-existing health problems.
- Use the treadmill only as described in this manual.
- The treadmill is intended for home use only. Do not use the treadmill in any commercial, rental, or institutional setting.
- Keep the treadmill indoors, away from moisture and dust. Do not put the treadmill in a garage or covered patio, or near water.
- Place the treadmill on a level surface, with at least 8 ft. (2.4 m) of clearance behind it and 2 ft. (0.6 m) on each side. Do not place the treadmill on any surface that blocks air openings. To protect the floor or carpet from damage, place a mat under the treadmill.
- Do not operate the treadmill where aerosol products are used or where oxygen is being administered.
- Keep children under age 12 and pets away from the treadmill at all times.
- The treadmill should be used only by persons weighing 350 lbs. (159 kg) or less.
- Never allow more than one person on the treadmill at a time.
- Wear appropriate exercise clothes while using the treadmill. Do not wear loose clothes that could become caught in the treadmill. Athletic support clothes are recommended for both men and women. Always wear athletic shoes. Never use the treadmill with bare feet, wearing only stockings, or in sandals.
- Plug the power cord into a surge suppressor (not included), and plug the surge suppressor into an appropriate outlet (see page 20). To avoid overloading the circuit, do not plug other electrical devices, except for low-power devices such as cell phone chargers, into the surge suppressor or into an outlet on the same circuit.
- Use only a surge suppressor that meets all of the specifications described on page 20. To purchase a surge suppressor, see your local NORDICTRACK dealer, call the telephone number on the front cover of this manual, or see your local electronics store.
- Failure to use a properly functioning surge suppressor could result in damage to the control system of the treadmill. If the control system is damaged, the walking belt may slow, accelerate, or stop unexpectedly, which may result in a fall and serious injury.
- Keep the power cord and the surge suppressor away from heated surfaces.
- Never move the walking belt while the power is turned off. Do not operate the treadmill if the power cord or plug is damaged, or if the treadmill is not working properly. (See TROUBLESHOOTING on page 30 if the treadmill is not working properly.)
- Read, understand, and test the emergency stop procedure before using the treadmill (see HOW TO TURN ON THE POWER on page 22)
- Never start the treadmill while you are standing on the walking belt. Always hold the handrails while using the treadmill.
- The treadmill is capable of high speeds. Adjust the speed in small increments to avoid sudden jumps in speed.
- The heart rate monitor is not a medical device. Various factors, including the user’s movement, may affect the accuracy of heart rate readings. The heart rate monitor is intended only as an exercise aid in determining heart rate trends in general.
- Never leave the treadmill unattended while it is running. Always remove the key, press the power switch into the off position (see the drawing on page 7 for the location of the power switch), and unplug the power cord when the treadmill is not in use.
- Do not attempt to move the treadmill until it is properly assembled. (See ASSEMBLY on page 9, and HOW TO FOLD AND MOVE THE TREADMILL on page 29.) You must be able to safely lift 45 lbs. (20 kg) to raise, lower, or move the treadmill.
- When folding or moving the treadmill, make sure that the storage latch is holding the frame securely in the storage position.
- Never insert any object into any opening on the treadmill.
- Inspect and properly tighten all parts of the treadmill regularly.
- DANGER: Always unplug the power cord immediately after use, before cleaning the treadmill, and before performing the maintenance and adjustment procedures described in this manual. Never remove the motor hood unless instructed to do so by an authorized service representative. Servicing other than the procedures in this manual should be performed by an authorized service
representative only. - Over-exercising may result in serious injury or death. If you feel faint or if you experience pain while exercising, stop immediately and cool down.
BEFORE YOU BEGIN
Thank you for selecting the revolutionary NORDICTRACK® C 700 treadmill. The C 700 treadmill offers an impressive selection of features designed to make your workouts at home more effective and enjoyable. And when you’re not exercising, the unique treadmill can be folded up, requiring less than half the floor space of other treadmills. For your benefit, read this manual carefully before using the treadmill. If you have questions after reading this manual, please see the front cover of this manual. To help us assist you, please note the product model number and serial number before contacting us.
The model number and the location of the serial number decal are shown on the front cover of this manual.
Before reading further, please review the drawing below and familiarize yourself with the labeled parts.
PART IDENTIFICATION CHART
Use the drawings below to identify small parts used for assembly. The number in parentheses below each drawing is the key number of the part, from the PART LIST near the end of this manual. The number following the key number is the quantity used for assembly. Note: If a part is not in the hardware kit, check to see whether it is attached. Extra parts may be included.
ASSEMBLY
- Assembly requires two persons.
- Place all parts in a cleared area and remove the packing materials. Do not dispose of the packing
materials until you finish all assembly steps. - After shipping, there may be an oily substance on the exterior of the treadmill. This is normal. If
there is an oily substance on the treadmill, wipe it off with a soft cloth and a mild, non-abrasive
cleaner. - Left parts are marked “L” or “Left” and right parts are marked “R” or “Right.”
- To identify small parts, see page 8.
- Assembly requires the following tools:


- Go to www.nordictrackservice.com/registration on your computer and register your product.
- activates your warranty
- saves you time if you ever need to contact Customer Care
- allows us to notify you of upgrades and offers
Note: If you do not have Internet access, call Customer Care (see the front cover of this manual) and register your product.
- Make sure that the power cord is unplugged. Press a Base Cap (74) into each side of the Base (94).
Identify the Right Upright (90). Have a second person hold the Right Upright near the Base (94). See the inset drawing. Tie the wire tie in the Right Upright (90) securely around the end of the Upright Wire (81). Then, insert the Upright Wire into the lower end of the Right Upright as you pull the other end of the wire tie out of the Right Upright.
- Lay the Right Upright (90) near the Base (94). Press the Grommet (77) into the square hole in
the Right Upright (90). Make sure not to pinch the ground wire. Then, attach the ground wire to the Right Upright (90) with a #8 x 1/2″ Silver Screw (10) as shown.
- Insert a Wheel Spacer (63) into a Front Wheel (62). Hold the Front Wheel inside the bottom of the Right Upright (90), and insert a 3/8″ x 4″ Screw (7) with a 3/8″ Star Washer (13) into the Right Upright and the Front Wheel. Repeat this step with the Left Upright (not shown).

- Place a piece of packing material (A) under the right side of the Base (94). Hold the Right Upright (90) against the Base. Make sure not to pinch the Upright Wire (81). Insert two 3/8″ x 4″ Screws (7) with two 3/8″ Star Washers (13) into the Right Upright (90), and partially tighten the three Screws into the Base (94). Do not fully tighten the Screws yet. Move the packing material (A) to the left side of the Base (94) and attach the Left Upright (not shown) in the same way. Note: There are
no wires on the left side. Remove the packing material (A) from underneath the Base (94).
- Remove the four indicated 5/16″ x 3/4″ Screws (4) from the Uprights (89, 90) (only one side is
shown). The Screws will be used in a later step. Identify the Left and Right Base Covers (82, 83). Slide the Left Base Cover onto the Left Upright (89), and slide the Right Base Cover onto the Right Upright (90). Do not press the Base Covers into place yet.
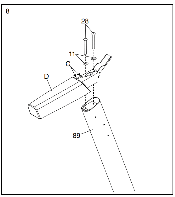
- Identify the right handrail assembly (B). Attach the right handrail assembly (B) to the Right Upright (90) with two 5/16″ x 2 1/2″ Screws (28) and two 5/16″ Star Washers (11). Make sure not to pinch the Upright Wire (81). Do not fully tighten the Screws yet. Remove and discard the two indicated screws (C) from the right handrail assembly (B).

- Attach the left handrail assembly (D) to the Left Upright (89) with two 5/16″ x 2 1/2″ Screws (28) and two 5/16″ Star Washers (11). Do not fully tighten the Screws yet. Remove and discard the two indicated screws (C).

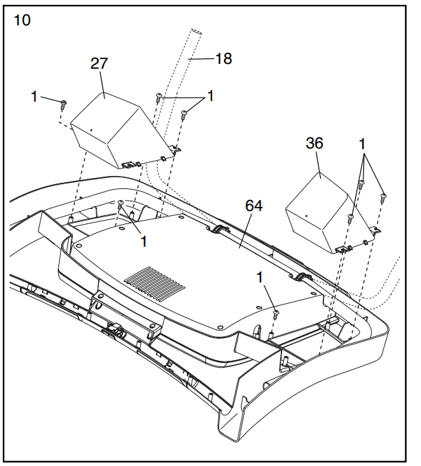
- Set the Console Base (64) face down on a soft surface to avoid scratching the Console Base. Remove and discard the two indicated screws (E). Then, remove the Pulse Crossbar (93). Remove the four 5/16″ x 3/4″ Screws (4). The Screws will be used in a later step.

- Identify the Right and Left Trays (27, 36). Attach the Trays (27, 36) to the Console Base (64) with eight #8 x 1/2″ Screws (1). Tip: It may be easier to start the two inside Screws and then slide the Trays into place before tightening the other six Screws.
Tip: It may be necessary to rotate the Console Frame (18) upward when attaching the Trays (27, 36).
- IMPORTANT: To avoid damaging the Pulse Crossbar (93), do not use power tools and do not overtighten the #10 x 3/4″ Screws (9). Orient the Pulse Crossbar (93) as shown. Attach the Pulse Crossbar to the Handrails (86) with four #10 x 3/4″ Screws (9) and four #10 Star Washers (5). First, start all four Screws. Next, slide the Crossbar as far as possible in the direction shown by the arrow. Then, tighten the Screws. Make sure not to pinch the Upright Wire (81). Firmly tighten the four 5/16″ x 2 1/2″ Screws (28).

- With the help of a second person, hold the console assembly near the Handrails (86) (only one
side is shown). Connect the ground wire from the console assembly to the Console Ground Wire (58) on the Pulse Crossbar (93). Connect the Upright Wire (81) to the console wire. See the inset drawing. The connectors should slide together easily and snap into place. If they do not, turn one connector and try again. IF YOU DO NOT CONNECT THE CONNECTORS PROPERLY, THE CONSOLE MAY BECOME DAMAGED WHEN YOU TURN ON THE POWER. Then, remove the wire tie from the Upright Wire.
- Set the console assembly on the brackets on the Handrails (86). Make sure not to pinch any wires. Insert the excess Upright Wire (81) into the Right Upright (90). Attach the console assembly to the brackets on the Handrails (86) with the four 5/16″ x 3/4″ Screws (4) that you removed in step 9 and four 5/16″ Star Washers (11). Do not fully tighten the Screws yet.

- Attach the Pulse Crossbar (93) to the console assembly with six #8 x 3/4″ Screws (2). Start all six Screws, and then tighten them. Firmly tighten the four 5/16″ x 3/4″ Screws (4).

- Check the gaps between the handrail assemblies (B, D) and the console assembly. If necessary, loosen the four #8 x 3/4″ Screws (2) under the handrails and slide the handrails forward against the console assembly. Then, retighten the Screws. Attach the Left Outside Upright Cover (87) and
the Right Outside Upright Cover (96) to the Left and Right Uprights (89, 90) with two #8 x 1/2″
Screws (1). Rotate the Covers at an angle as you press them against the Uprights. Do not overtighten the Screws.
- Tighten a #8 x 1″ Screw (103) with a Handrail Plate (105) and a #10 Washer (104) into the Left Outside Upright Cover (87) and into the bottom of the left handrail assembly (D). Make sure to
orient the Handrail Plate as shown. Do not overtighten the Screw. Press the Left Inside Upright Cover (88) against the Left Outside Upright Cover (87) until they snap together. Repeat this step above on the other side of the treadmill with the Right Outside Upright Cover (96) and the Right Inside Upright Cover (95).
- Tighten a #8 x 3/4″ Screw (2) into each Inside Upright Cover (88, not shown) as shown. Do not overtighten the Screws. Carefully slide the Upright Crossbar (41) between the Uprights (89, 90). Attach the Upright Crossbar with the four 5/16″ x 3/4″ Screws (4) that you removed in step 6 and four 5/16″ Star Washers (11) (only one side is shown). Start all four Screws, and then tighten them.

- Firmly tighten the six 3/8″ x 4″ Screws (7) (only one side is shown). Press the Left Base Cover (82) and the Right Base Cover (83) onto the Base (94).

- Note: If assembled on a smooth surface, the treadmill may roll forward during this step. Raise the Frame (56) to the upright position. Have a second person hold the Frame until step 21 is completed. Remove the two 5/16″ x 3/4″ Screws (4) from the Latch Crossbar (38). Orient the Latch Crossbar (38) as shown. Make sure that the “This side toward belt” sticker (F) is facing away from you. Attach the Latch Crossbar to the brackets on the Frame (56) with the two 5/16″ x 3/4″ Screws (4) that you just removed and two 5/16″ Star Washers (11).

- Orient the Storage Latch (53) so that the decals are facing away from the treadmill as shown. Attach the lower end of the Storage Latch (53) to the bracket on the Base (94) with a 5/16″ x 1 3/4″
Bolt (6) and a 5/16″ Nut (12). Raise the Storage Latch (53) to a vertical position. If there is a tie (G) and spacer (H) in the top of the Latch, remove and discard them.
- Attach the upper end of the Storage Latch (53) to the bracket on the Latch Crossbar (38) with a 5/16″ x 2 1/4″ Bolt (3) and a 5/16″ Nut (12). Lower the Frame (56) (see HOW TO LOWER THE TREADMILL FOR USE on page 29).
- Make sure that all parts are properly tightened before you use the treadmill. If there are sheets of plastic on the treadmill decals, remove the plastic. To protect the floor or carpet, place a mat under the treadmill. To avoid damage to the console, keep the treadmill out of direct sunlight. Keep the included hex keys in a secure place; one of the hex keys is used to adjust the walking belt (see pages 31 and 32). Note: Extra parts may be included.
OPERATION AND ADJUSTMENT
HOW TO CONNECT THE POWER CORD
Use a Surge Suppressor
Your treadmill, like other electronic equipment, can be damaged by sudden voltage changes in your home’s power. Voltage surges, spikes, and noise interference can result from weather conditions or from other appliances being turned on or off. To decrease the risk of damaging the treadmill, always use a surge suppressor with the treadmill. To purchase a surge suppressor, see precaution 13 on page 3.
Use only a surge suppressor, UL 1449, which is listed as a transient voltage surge suppressor (TVSS). The surge suppressor must have a UL-suppressed voltage rating of 400 volts or less and a minimum surge dissipation of 450 joules. The surge suppressor must also be electrically rated for 120 volts AC and 15 amps. There must be a monitoring light on the surge suppressor to indicate whether it is functioning properly. Failure to use a properly functioning surge suppressor could result in damage to the control system of the treadmill and serious injury to users.
Plug in the Power Cord
The treadmill must be grounded. If it should malfunction or break down, grounding provides a path of least resistance for electric current to reduce the risk of electric shock. The treadmill power cord has a plug with a grounding pin (see drawing 1 on this page).
Plug the power cord into a surge suppressor, and plug the surge suppressor into an appropriate outlet that is properly installed and grounded in accordance with all local codes and ordinances. The outlet must be on a nominal 120-volt circuit capable of carrying 15 or more amps. To avoid overloading the circuit, do not plug other electrical devices, except for low-power devices such as cell phone chargers, into the surge suppressor or into an outlet on the same circuit. IMPORTANT: The treadmill is not compatible with GFCI-equipped outlets and may not be compatible with AFCI-equipped outlets.
A temporary adapter may be used to connect the surge suppressor to a 2-pole receptacle if a properly grounded outlet is not available. The lug or wire extending from the adapter must be connected with a metal screw to a permanent ground such as a properly grounded outlet box cover. Some 2-pole receptacle outlet box covers are not grounded. Before using an adapter, contact a qualified electrician to determine whether the outlet box cover is grounded. The temporary adapter should be used only until a properly grounded outlet can be installed by a qualified electrician.
CONSOLE DIAGRAM

FEATURES OF THE CONSOLE
The treadmill console offers an impressive array of features designed to make your workouts more effective and enjoyable. When you use the manual mode, you can change the speed and incline of the treadmill with the touch of a button. As you exercise, the console will display instant exercise feedback. You can even measure your heart rate using the handgrip heart rate monitor.
In addition, the console features a selection of onboard workouts. Each workout automatically controls
the speed and incline of the treadmill as it guides you through an effective exercise session. The console also features an iFit mode that enables the treadmill to communicate with your wireless network through an optional iFit module. With the iFit mode, you can download personalized workouts, create your own workouts, track your workout results, race against other iFit users, and access many other features. To purchase an iFit module at any time, go to www.iFit.com or call the telephone number on the front cover of this manual. You can even listen to your favorite workout music or audio books with the console’s sound system while you exercise.
To turn on the power, see page 22. To use the manual mode, see page 22. To use an onboard workout, see page 25. To use a set-a-goal workout, see page 26. To use an iFit workout, see page 26. To use the
sound system, see page 27. To use the settings mode, see page 28.
Note: The console can display speed and distance in either miles or kilometers. To find which unit of measurement is selected, see THE SETTINGS MODE on page 28. For simplicity, all instructions in this section refer to miles.
IMPORTANT: If there are sheets of plastic on the console, remove the plastic. To prevent damage to the walking platform, wear clean athletic shoes while using the treadmill. The first time you use the treadmill, observe the alignment of the walking belt, and center the walking belt if necessary (see page 32).
TROUBLESHOOTING
Most treadmill problems can be solved by following the simple steps below. Find the symptom that applies, and follow the steps listed. If further assistance is needed, see the front cover of this manual.
SYMPTOM: The power does not turn on
- Make sure that the power cord is plugged into a surge suppressor, and that the surge suppressor is plugged into a properly grounded outlet (see page 20). Use only a surge suppressor that meets all of the specifications described on page 20.
IMPORTANT: The treadmill is not compatible with GFCI-equipped outlets and may not be compatible with AFCI-equipped outlets.
- After the power cord has been plugged in, make sure that the key is inserted into the console.
- Check the power switch located on the treadmill frame near the power cord. If the switch protrudes
as shown, the switch has tripped. To reset the power switch, wait for five minutes and then press
the switch back in.
SYMPTOM: The power turns off during use
- Check the power switch (see the drawing above). If the switch has tripped, wait for five minutes and then press the switch back in.
- Make sure that the power cord is plugged in. If the power cord is plugged in, unplug it, and wait for five minutes, and then plug it back in.
- Remove the key from the console, and then reinsert it.
- If the treadmill still will not run, please see the front cover of this manual.
SYMPTOM: The console displays remain lit when you remove the key from the console
- The console features a display demo mode, designed to be used if the treadmill is displayed in a store. If the displays remain lit when you remove the key, the demo mode is turned on. To turn off
the demo mode, hold down the Stop button for a few seconds. If the displays are still lit, see THE
SETTINGS MODE on page 28 to turn off the demo mode.
SYMPTOM: The displays of the console do not function properly
- Remove the key from the console and UNPLUG THE POWER CORD. Remove the five #8 x 3/4″ Truss Head Screws (31). Carefully pivot the Motor Hood (65) off.

Locate the Reed Switch (52) and the Magnet (50) on the left side of the Pulley (49). Turn the Pulley until the Magnet is aligned with the Reed Switch. Make sure that the gap between the Magnet and the Reed Switch is about 1/8 in. (3 mm). If necessary, loosen the #8 x 3/4″ Tek Screw (14), move the Reed Switch slightly, and then retighten the Screw. Reattach the Motor Hood (not shown) with the #8 x 3/4″ Truss Head Screws (not shown) and run the treadmill for a few minutes to check for a correct speed reading.
SYMPTOM: The incline of the treadmill does not change correctly
a. Hold down the Stop button and the Speed increase button, insert the key into the console, and then release the Stop button and the Speed increase button. Next, press the Stop button and then press the Incline increase or decrease button. The treadmill will automatically rise to the maximum incline level and then return to the minimum level. This will recalibrate the incline system. If the incline system does not begin calibrating, press the Stop button again, and then press the Incline increase or decrease button again. When the incline system is calibrated, remove the key from the console.
SYMPTOM: The walking belt slows when walked on
- Use only a surge suppressor that meets all of the specifications described on page 20.
- If the walking belt is overtightened, treadmill performance may decrease and the walking belt may
become damaged. Remove the key and UNPLUG THE POWER CORD. Using the hex key, turn both idler roller screws counterclockwise, 1/4 of a turn. When the walking belt is properly tightened, you should be able to lift each edge of the walking belt 2 to 3 in. (5 to 7 cm) off the walking platform. Be careful to keep the walking belt centered. Then, plug in the power cord, insert the key, and run the treadmill for a few minutes. Repeat until the walking belt is properly tightened.
- Your treadmill features a walking belt coated with high-performance lubricant. IMPORTANT: Never apply silicone spray or other substances to the walking belt or the walking platform unless
instructed to do so by an authorized service representative. Such substances may deteriorate the walking belt and cause excessive wear. If you suspect that the walking belt needs more lubricant, see the front cover of this manual. - If the walking belt still slows when walked on, see the front cover of this manual.
EXERCISE GUIDELINES
Burning Fat—To burn fat effectively, you must exercise at a low-intensity level for a sustained period of
time. During the first few minutes of exercise, your body uses carbohydrate calories for energy. Only after the first few minutes of exercise does your body begin to use stored fat calories for energy. If your goal is to burn fat, adjust the intensity of your exercise until your heart rate is near the lowest number in your training zone. For maximum fat burning, exercise with your heart rate near the middle number in your training zone.
Aerobic Exercise—If your goal is to strengthen your cardiovascular system, you must perform aerobic
exercise, which is an activity that requires large amounts of oxygen for prolonged periods of time. For aerobic exercise, adjust the intensity of your exercise until your heart rate is near the highest number in your training zone.
WORKOUT GUIDELINES
Warming Up—Start with 5 to 10 minutes of stretching and light exercise. A warm-up increases your body
temperature, heart rate, and circulation in preparation for exercise.
Training Zone Exercise—Exercise for 20 to 30 minutes with your heart rate in your training zone. (During the first few weeks of your exercise program, do not keep your heart rate in your training zone for longer than 20 minutes.) Breathe regularly and deeply as you exercise; never hold your breath.
Cooling Down—Finish with 5 to 10 minutes of stretching. Stretching increases the flexibility of your muscles and helps to prevent post-exercise problems.
For more manuals by NordicTrack, visit ManualsLibraryy
NordicTrack C 700 Folding Treadmill-FAQs
How do I power cycle my NordicTrack treadmill?
To reset your treadmill, turn it off using the power button or unplug it from the wall. Wait 30 seconds, then plug it back in or turn it back on.
Can I use my NordicTrack treadmill without iFIT?
Yes, you can use Manual Mode without logging into iFIT. The iFIT app must still be running, as it controls speed, incline, and resistance.
Why won’t my NordicTrack treadmill screen turn on?
If the screen doesn’t power up at all, it may be a power issue. Check the wiring connections, especially near the console and motor control area, and verify that the treadmill is receiving power.
What is the weight limit for NordicTrack treadmills?
NordicTrack treadmills generally support up to 400 lbs, depending on the model.
How do I turn off my NordicTrack treadmill completely?
The only way to fully turn off the treadmill is to unplug it from the wall or use a power strip with a switch.
Can I use my NordicTrack treadmill without WiFi?
Yes, you can use the treadmill in manual mode without WiFi, but an iFIT subscription is required for interactive training features.
What app do I need for my NordicTrack treadmill?
Download the iFIT app on your mobile device to access workouts and treadmill controls.
How do I log in to my iFIT account?
Visit iFIT.com/login and enter your email and password to access your account.
Does the NordicTrack treadmill screen turn off automatically?
Removing the safety key will turn off the screen temporarily. For a complete shutdown, unplugging the treadmill is necessary.
Why does my treadmill stop running during use?
Your treadmill may shut off due to motor overheating, belt tension issues, or power supply problems. Check the power source and adjust the belt tension if needed.
























