
Nordson ProBlue P7 Adhesive Melter

Melter Identification
See Figure 2‐2. You will need the model and part number of your Melter when requesting service or ordering spare parts and optional equipment. The model and part number are indicated on the equipment identification plate that is located on the front of the Melter.
Equipment identification plate
Key Components
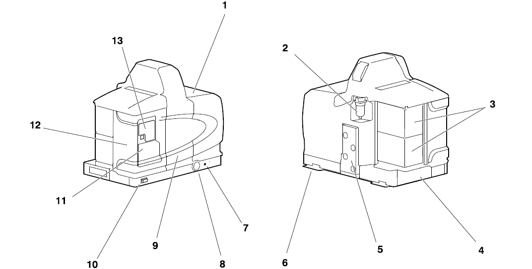
Figure 2‐3 provides the name and the location of key Melter components.

Control panel
- Fault LED
- Ready LED
- Component keys/LEDs
- Right display and scroll keys
- Function keys
- Serial port
- Keypad
- Left display and scroll key
- Service LED
- Tank low‐level LED
Installation Requirements
Before installing the Melter, ensure that the desired installation location provides the required clearances, environmental conditions, and utilities.
Clearances
Figure 3‐1 illustrates the minimum clearances that are required between the Melter and surrounding objects. Table 3‐1 describes each clearance.
Minimum installation clearances (Top and side views shown)
Table 3‐1 Installation Clearances
| Item | Description | Required Clearance |
| A | The distance from the outside edge of a 5/16‐inch Nordson hose to the front face of the Melter when a short 90‐degree hose fitting is used to connect the hose to the Melter | P4 = 370 mm (14.5 in.) P7 = 370 mm (14.5 in.) P10 = 391 mm (15.4 in.) |
| B | The clearance required to open the pump enclosure door | P4 = 243 mm (9.6 in.) P7 = 243 mm (9.6 in.) P10 = 268 mm (10.55 in.) |
| C | The distance from the Melter sub‐base to the front edge of the tank lid when the lid is at its highest point. | P4 = 502 mm (20.0 in.) P7 = 564 mm (22.2 in.) P10 = 656 mm (26.0 in.) |
| D | The clearance required on the left side of the Melter to open the electrical enclosure door or remove a hose/gun module. | P4 = 648 mm (25.5 in.) P7 = 711 mm (28.0 in.) P10 = 714 mm (28.1 in.) |
Table 3‐2 Melter Power Requirement
| Melter | Number of Hose/Guns | 1‐Phase Power Draw (Amps) | 3‐Phase Power | |
| Without Neutral | With Neutral | |||
| P4 | 2 | 17 | 15 | 9 |
| 4 | 26 | 23 | 17 | |
| P7 | 2 | 18 | 16 | 10 |
| 4 | 27 | 24 | 17 | |
| P10 | 2 | 18 | 16 | 10 |
| 4 | 27 | 24 | 17 | |
| 6 | 36 | 31 | 18 | |
To connect a power cable to the Melter (Contd)
Table 3‐3 Electrical Service Information
| Use Electrical Connector Terminals.. |
Use Voltage Plug.. | |||||
| If the Electrical Service Type is.. | L1 | L2 | L3 | N | ||
| 400/230 VAC 3‐phase (4‐wire service, including a neutral) See note. | 3/N/PE AC 400/230V | · | · | · | · | 227569 Red/Yellow |
| 230 VAC 1‐phase (2‐wire service, including a neutral) See note. | 1/N/PE AC 200–240V | · | · | 232617 Blue/Yellow | ||
| 200 to 240 VAC 3‐phase (3‐wire service without a neutral) | 3/PE AC 200–240V | · | · | · | 227568 Red/Green | |
| 200 to 240 VAC 1‐phase (2‐wire service without a neutral) | 1/PE AC 200–240V | · | · | 227567 Blue/Green | ||
To connect a voltage plug to the Melter
- Refer to Table 3‐3 to determine the part number of the voltage plug that matches the required electrical service.
- Insert the correct voltage plug into receptacle J1 on the main board. Ensure that the plug snaps into place. If the plug contains a neutral lead connect the neutral lead to receptacle J2 on the main board.
- When the electrical service is completely installed and inspected in accordance with local electrical codes and standards, close the electrical enclosure door and switch the local power disconnect switch on. If the electrical service was configured correctly, the Melter control panel will display dashes.

Voltage plugs with and without the neutral lead
Connecting a Compressed Air Supply
To connect an air supply
- Use a 5 mm hex wrench to turn the pressure adjustment screw counterclockwise until it stops (off).
- Insert the male fitting located on the outlet side of the air filter (P/N 1023267) into the air inlet port on the back of the Melter .
Pressure regulator and adjustment screw - Connect a regulated plant air supply to the inlet of the air filter. If required, use the 1/4 NPTF‐to‐G1/4 BSPP male adapter fitting (P/N 1034145) that is provided in the installation kit.
- Open the plant air supply to the Melter.
- Turn the pressure regulator adjustment clockwise to set the Melter’s operating air pressure (pressure supplied to the pump) to 1.4 Bar (20 psi). The operating air pressure should be adjusted later to meet the requirements of the manufacturing process.

Connecting the air filter and the plant air supply line
Connecting Hoses and Guns
Pro Blue Melter’s use standard Nordson hoses and guns. The P4 and P7 Melter’s support the connection of up to four hose/gun pairs. The P10 Melter supports the connection of up to six hose/gun pairs.
The hose/gun capacity of each Melter is determined by the number of hose/gun modules installed on the Melter. Each hose/gun module supports the connection of two hose/gun pairs. The hose/gun capacity of Melter’s that were ordered with less than their full hose/gun capacity can be increased by adding additional hose/gun modules. Unused hose/gun module positions are covered by blank modules.

To connect hoses
Observe the following guidelines:
- For information about choosing the correct Nordson hot melt hose for your manufacturing process, refer to the latest edition of Nordson’s hot melt dispensing equipment Replacement Parts Catalog or contact your Nordson representative.
- Refer to the user’s guide provided with each Nordson hose. The guide contains important information about routing and installing the hose.
- Always use hose port 1 first. The position of port 1 is stamped on the face of the manifold. The P4 and P7 Melter’s provide four hose ports on the face of the manifold and a fifth hose port at the bottom of the manifold. The P10 Melter provides nine ports, six of which can be used at any one time.
- If you install an additional hose/gun module, you must restart the Melter and enter a set‐point temperature for each hose/gun that you connect to the new module in order for the new hoses/guns to be recognized.

Hose port 1 (P4/P7 Melter manifold shown)
- Use the 6‐hose manifold guard that is shipped with all P10 Melter’s. Instructions for installing the guard are provided with the guard.
- Coordinate the connection of each hose with the receptacles on each hose/gun module. For example, connect the coldest from the hose that is connected to port 1 (marked) to receptacle 1.
- Save all of the port plugs removed from the manifold. A port plug will need to be reinstalled into the manifold if a hose is later removed.
- Use the 45‐ or 90‐degree hose fittings provided in the installation kit.


Connecting a hose
Table 3‐4 Common Operating Parameters
| Parameter | Parameter Name | Purpose | Default Value |
|
4 |
Ready Delay Time | A timer that delays the activation of the ready LED for a pre‐defined time period after the tank, hoses, and guns are at the desired set‐point temperature. The ready delay timer will only activate if the temperature of the tank, at the time the melter is turned on, is below its assigned set‐point temperature by 27 °C (50 °F) or more. |
0 minutes |
|
5 |
Service Interval Time | A timer that turns on a service LED when the value set for the timer equals the number of hours that the heaters have been on. The service LED is used to signal the need for maintenance. |
500 hours |
|
8 |
Automatic Pump On | Determines whether the pump will turn on automatically when the all components are at their desired set‐point temperature (enabled) or whether the pump must be turned on manually (disabled). |
Enabled |
| 11 | Create Password | Sets a password that must be entered before any melter operating parameter or set‐point temperature can be changed. | 5000 |
| 20 | Temperature Units | Sets the units of the temperature display to degrees Celsius (C) or to degrees Fahrenheit (F). | C |
| 21 | Over Temperature Delta | Sets the number of degrees that any heated component can exceed its assigned set‐point temperature before an over temperature fault occurs. | 15 °C (25 °F) |
| 22 | Under Temperature Delta | Sets the number of degrees that any heated component can drop below its assigned set‐point temperature before an under temperature fault occurs. | 25 °C (50 °F) |
| 23 |
Standby Delta | Sets the number of degrees that the temperature of all heated components will be decreased when the melter is placed into the standby mode. | 50 °C (100°F) |
| 26 | Manual Standby Time | Sets the amount of time the Melter will remain in the standby mode after the standby key is pressed. | Disabled |
|
50 to 77 |
Seven‐day Clock | A group of parameters that control the Melter’s clock. The clock is used to automatically turn the heaters on and off and to place the Melter into the standby mode. |
Disabled |
Operating Parameters
The Melter uses operating parameters to store noneditable and editable values. Noneditable values are those that provide information about the historical performance of the Melter. Editable values are either a numeric set‐point or a control option setting. Control options settings affect the display of information or the function of the Melter. Operating parameters are stored in the Melter’s firmware in the form of a sequentially numbered list. The list is organized into the logical groups described in Table 3‐5.
| Group | Parameter Numbers | Group Description |
| Standard | 0 to 11 and 14 | Noneditable and other frequently used parameters |
| Temperature Control | 20 to 26 | Control heaters |
| Input Setup | 30 to 39 | Configure the standard and optional inputs |
| Output Setup | 40 to 46 | Configure the standard and optional outputs |
| Seven-day Clock | 50 to 77 | Configure the clock feature |
In addition to the ability to read and edit parameter values, you can also save and restore the current value of every operating parameter and review a log of the last ten changes that were made to editable parameters.
Selecting Operating Parameters
Table 3‐6 provides a complete list of the operating parameters. Review the list to determine which operating parameters would best support your manufacturing process. Refer to Appendix B, Operating Parameters, for detailed information about each parameter. Appendix B contains a complete description of each parameter, including its affect on the Melter, default value, and format.
Reading or Editing Operating Parameters
Regardless of whether a parameter’s value is editable or not, the procedure for accessing each parameter in order to read or edit its current value is the same.
To read or edit a parameter
- Switch the Melter on.
The Melter performs a start‐up check. - Press the Setup key.
The left display flashes parameter 1. - Use the numeric keypad to enter the number of the desired parameter. Refer to Table 3‐6 for a complete list of parameters.

- Do one of the following:
• If the value is noneditable, refer to Section 4, Monitoring the Melter.
• If the value is editable go to step 5. - Press the Enter key. The right display flashes.

- Use the keypad to enter the desired numeric set‐point or control option into the right display. Refer to Appendix B for information about the numeric value or control option choices for each parameter.

- Press the Enter key. The Melter checks that the new value or control option is acceptable.
• If the numeric set‐point or control option is accepted, the left and right displays index to the next sequential parameter number and value.
• If the numeric set‐point or control option is not accepted, the right display will indicate dashes (‐‐‐‐) for three seconds and then it will change back to the original value. - Repeat step 5 through step 7 to read or change the next sequential parameter number or press the Setup key to exit the setup mode.
Operating Parameters (contd)
Table 3‐6 Operating Parameters
| Parameter | Name | Range of Values | Default Value |
| Standard | |||
| 0 | Enter Password | 0 to 9999 | 4000 |
| 1 | Total Hours with Heaters On (noneditable) | 0-999,999 | 0 |
| 2 | Fault Log (noneditable) | — | _‐F0 (empty) |
| 3 | Change History Log (noneditable) | — | P‐_ (empty) |
| 4 | Ready Delay Time | 0 to 60 minutes | 0 minutes |
| 5 | Service Interval Time | 0 to 8736 hours | 500 hours |
| 6 | Service LED Heater Hours | 0 to 9999 hours | 0 |
| 8 | Automatic Pump On | 0 (disabled) or 1 (enabled) | 1 (enabled) |
| 9 | Automatic Pump On Temperature | 0 (disabled) or (1 to 230 C) | 0 (disabled) |
| 10 | Enable or Disable Password | 0 (disabled) or 1 (enabled) | 0 (disabled) |
| 11 | Create Password | 0 to 9999 | 5000 |
| 14 | External Communications Lock‐out | 0 or 1 | 0 (disabled) |
| Temperature Control | |||
| 20 | Temperature Units (degrees °C or °F) | C (degrees Celsius) or F (degrees Fahrenheit) | C (degrees Celsius) |
| 21 | Over Temperature Delta | 5 °C (10 °F) to 60 °C (110 °F) | 15 °C (25 °F) |
| 22 | Under Temperature Delta | 5 °C (10 °F) to 60 °C (110 °F) | 25 °C (50 °F) |
| 23 | Standby Delta | 25 °C (50 °F) to 190 °C (350 °F) | 50 °C (100 °F) |
| 24 | Automatic Standby Timeout | 0 to 1440 minutes | 0 (disabled) |
| 25 | Automatic Heaters Off Time | 0 to 1440 minutes | 0 (disabled) |
| 26 | Manual Standby Time | 0 to 180 minutes | 0 (disabled) |
| Input Setup | |||
| 30 | Standard Input 1 | 0-10, 15-16 | 10 (Automatic Standby) |
| 31 | Standard Input 2 | 0-9, 15-16 | 1 (Standby on/off) |
| 32 | Standard Input 3 | 0-9, 15-16 | 2 (Heaters on/off) |
| 33 | Standard Input 4 | 0-9, 15-16 | 4 (Hose/gun 1 enable/disable) |
| 34 | Optional Input 5 | 0-9, 15-16 | 0 (disabled) |
| 35 | Optional Input 6 | 0-9, 15-16 | 0 (disabled) |
| 36 | Optional Input 7 | 0-9, 15-16 | 0 (disabled) |
| 37 | Optional Input 8 | 0-9, 15-16 | 0 (disabled) |
| 38 | Optional Input 9 | 0-9, 15-16 | 0 (disabled) |
| 39 | Optional Input 10 | 0-9, 15-16 | 0 (disabled) |
| Continued… | |||
| Parameter | Name | Range of Values | Default Value |
| Output Setup | |||
| 40 | Standard Output 1 | 0–6 | 1 (Ready) |
| 41 | Standard Output 2 | 0–6 | 3 (Fault) |
| 42 | Standard Output 3 | 0–6 | 4 |
| 43 | Optional Output 4 | 0–6 | 0 (disabled) |
| 44 | Optional Output 5 | 0–6 | 0 (disabled) |
| 45 | Optional Output 6 | 0–6 | 0 (disabled) |
| 46 | Optional Output 7 | 0–6 | 0 (disabled) |
| Seven‐day Clock | |||
| 50 | Current Day | 1 to 7 (1 = Monday) | — |
| 51 | Current hour | 0000 to 2359 | — |
| 55 | Schedule 1 Heaters On | 0000 to 2359 | 06:00 |
| 56 | Schedule 1 Heaters Off | 0000 to 2359 | 17:00 |
| 57 | Schedule 1 Enter Standby | 0000 to 2359 | —:— |
| 58 | Schedule 1 Exit Standby | 0000 to 2359 | —:— |
| 60 | Schedule 2 Heaters On | 0000 to 2359 | —:— |
| 61 | Schedule 2 Heaters Off | 0000 to 2359 | —:— |
| 62 | Schedule 2 Enter Standby | 0000 to 2359 | —:— |
| 63 | Schedule 2 Exit Standby | 0000 to 2359 | —:— |
| 65 | Schedule 3 Heaters On | 0000 to 2359 | —:— |
| 66 | Schedule 3 Heaters Off | 0000 to 2359 | —:— |
| 67 | Schedule 3 Enter Standby | 0000 to 2359 | —:— |
| 68 | Schedule 3 Exit Standby | 0000 to 2359 | —:— |
| 71 | Schedule for Monday | 0-7 | 0 |
| 72 | Schedule for Tuesday | 0-7 | 0 |
| 73 | Schedule for Wednesday | 0-7 | 0 |
| 74 | Schedule for Thursday | 0-7 | 0 |
| 75 | Schedule for Friday | 0-7 | 0 |
| 76 | Schedule for Saturday | 0-7 | 0 |
| 77 | Schedule for Sunday | 0-7 | 0 |
Save and Restore Melter Settings
The current value of all editable operating parameters and the set‐point temperature of each component can be saved and, if necessary, restored at a later time. When saved settings are restored, they overwrite the settings that are presently in use.
This save‐restore feature is useful in instances where the settings that are in use are deliberately or accidentally changed and you need to return the Melter to its pre‐change setup.
To save current settings
With the Melter in the automatic scan mode, simultaneously press the number 1 key and the Setup key. S‐1 appears momentarily in the right display.
To restore saved settings
With the Melter in the automatic scan mode, simultaneously press the number 2 key and the Setup key. S‐2 appears momentarily in the right display.
| First Digit | Second Digit | Third and Fourth Digits | |||
| P (Parameter) |
– | Indicates the number of the parameter that was changed | |||
|
S (Set‐point) | Are used in conjunction with the LEDs on the component keys to indicate the location and method of a set‐point temperature change. | ||||
| When this LED is on.. | And the Fourth Digit Indicates.. | The change was to.. | And the Method of Change was.. | ||
| Tank Key | 1 | The tank | Individual | ||
| Hose Key | 1– 6 | A single hose | Individual | ||
| Gun Key | 1– 6 | A single gun | Individual | ||
| All Keys | 0 | All components | Global | ||
| Hose Key | 0 | All hoses | Global‐by‐ component | ||
| Gun Key | 0 | All guns | Global‐by‐ component | ||
Change History Log Examples
Example 1
Parameter 4 (ready delay) was changed.
Example 2
If the LED on the gun key is on, then this display would indicate that the global‐by‐component method was used to change the temperature of the guns.
Installing Melter Inputs
Pro Blue Melter’s are equipped with four standard inputs. Each input is customer‐wired to the Melter and then set up to provide one of the following control options:
- Place the Melter into the standby mode
- Turn the heaters on and off
- Enable or disable a specific hose or gun
- Turn the pump on and off
Inputs are activated using a constant 10 to 30 VDC signal voltage, which is supplied by the customer’s control equipment. The inputs are not polarity sensitive.
To wire inputs to the Melter
- Route a 2‐, 4, 6, or 8‐conductor signal cable from the control equipment to the Melter, and through the PG‐16 penetration in the sub‐base. Use rigid or flexible conduit or a suitable strain relief to protect the cable from the sharp edge of the conduit penetration.

- Connect each pair of input wires to the appropriate terminals (8 through 14) on connector P/N 277909. If input number four is used, terminal 7 on connector P/N 277908 must also be used. Both connectors are provided in the installation kit. Table 3‐8 lists the terminal numbers that correspond to each input.

- Plug the connector (P/N 277909) into the bottom receptacle of terminal TB2, which is located on the right side of the main board. If input number four is used, plug connector P/N 277908 into the top receptacle on terminal TB2.
Wiring inputs
Table 3‐8 Input Data
| Input | Terminals | Operating Parameter | Control Option | Note |
| Standard Inputs | ||||
|
1 |
8 and 9 |
30 | 0 ‐ Input Disabled 1 ‐ Standby On/Off 2 ‐ Heaters On/Off 3 ‐ Pump Enable/Disable 4 ‐ Hose/Gun 1 Enable/Disable 5 ‐ Hose/Gun 2 Enable/Disable 6 ‐ Hose/Gun 3 Enable/Disable 7 ‐ Hose/Gun 4 Enable/Disable 8 ‐ Hose/Gun 5 Enable/Disable 9 ‐ Hose/Gun 6 Enable/Disable 10 – Automatic standby (Default) | A, B
C
F D |
|
2 |
10 and 11 |
31 | 0 ‐ Input Disabled 1 ‐ Standby On/Off (Default) 2 ‐ Heaters On/Off 3 ‐ Pump Enable/Disable 4 ‐ Hose/Gun 1 Enable/Disable 5 ‐ Hose/Gun 2 Enable/Disable 6 ‐ Hose/Gun 3 Enable/Disable 7 ‐ Hose/Gun 4 Enable/Disable 8 ‐ Hose/Gun 5 Enable/Disable 9 ‐ Hose/Gun 6 Enable/Disable |
F |
| 3 | 12 and 13 | 32 | Same as parameter 31 (Default=2) | |
| 4 | 7 and 14 | 33 | Same as parameter 31 (Default=4) | |
| Optional Inputs | ||||
| 5 | 11 and 12 | 34 | 0 (Disabled) | E |
| 6 | 13 and 14 | 35 | 0 (Disabled) | E |
| 7 | 15 and 16 | 36 | 0 (Disabled) | E |
| 8 | 17 and 18 | 37 | 0 (Disabled) | E |
| 9 | 19 and 20 | 38 | 0 (Disabled) | E |
| 10 | 9 and 10 | 39 | 0 (Disabled) | E
|
Pump Key

Use the pump key to start or stop the pump. The LED on the pump key turns on (green) when the pump is running. If the automatic pump on feature (parameter 8) is disabled, then the pump key must be used to start the pump when the Melter is ready.
If any of the inputs are set up to use the pump enable/disable control option (option 3), the pump will not start until the pump key is pressed (LED on) and the correct voltage is applied to the input contacts. If the pump is enabled, but the input voltage is not present, the pump LED will flash green.
Setup Key

Use the setup key to place the Melter into and take the Melter out of the setup mode. When the Melter is placed into the setup mode, the automatic scan stops and the left and right displays are used to select and read or edit operating parameters.
Shutting Down the Melter
Shut down the Melter when it will not be used for an extended period of time.
To shut the Melter down

- Switch the Melter off.
The automatic pressure discharge (APD) valve relieves the hydraulic pressure in the manifold back to the tank. - Disable the guns as follows:
- Air‐operated guns: Turn off the air supply to the guns.
- Electric guns: Turn off the gun driver, pattern controller, or timer.
Table 5‐1 Preventive Maintenance Tasks
| Task | Frequency | Reference |
| Relieving system pressure | Before performing any maintenance task that requires opening a hydraulic connection or port | Relieving System Pressure |
| Lockout external communications | Before performing any maintenance task | Locking Out External Communications |
| Cleaning the exterior of the melter, hoses, and guns | Daily | Cleaning the Melter |
| Replacing the filter | • As needed • When changing the type or grade of hot melt | Replacing the Filter |
| Cleaning the tank | • When changing the type or grade of hot melt • When excessive charring occurs | Cleaning the Tank |
| Removing the Melter from the sub‐base | • As needed | Removing the Melter from the Sub‐base |
Replacing the Filter
Pro Blue Melter’s are equipped with a 100‐mesh (.15 mm) disposable hot melt filter. The filter removes debris and char from the hot melt as it flows from the tank. Hot melt flows from the inside to the outside of the filter, trapping contaminants inside the filter. There is no need to back‐flush or clean the filter.
When the filter reaches the end of its service life, it should be replaced. The factors that determine the service life of the filter are:
- the type, grade, and purity of the solid‐form hot melt
- the set point temperature of the tank
- the period of time that the hot melt remains in the tank The filter should also be replaced when making the change to a different type or grade of hot melt.
To determine the optimal service life for the filter, monitor and compare the total number of hours that the heaters are on with observations of:
- the purity of the dispensed hot melt
- increases in operating pressure
- the frequency of gun nozzle replacement or cleaning

Troubleshooting
Melter Faults
Table 6‐1 lists the four types of Melter faults, potential causes, and expected corrective actions.
Table 6‐1 Melter Faults
| Display Code/Sub‐code | Name | Affect on Melter | Cause | Corrective Action |
|
F1/None |
RTD |
Heaters turn off | The RTD for the component indicated has failed or the component was disconnected from the melter. | Replace RTD
Check hose/gun connections
See flowchart T.2 |
|
F2/None |
Under temperature |
Heaters turn off | The actual temperature of the component indicated has dropped below the under temperature delta, which was set using parameter 22. | Check for conditions that may cause a drop in ambient temperature
Raise the set‐point temperature of the component Replace RTD See flowchart T.2 |
|
F3/None |
Over temperature |
Heaters turn off | The actual temperature of the component indicated has increased beyond the over temperature delta, which was set using parameter 21. | Replace RTD See flowchart T.2 |
| F4/1 | RAM test | Melter stops functioning | Internal RAM failure | Replace CPU |
| F4/2 | Internal Clock time | Heaters remain on, but fault condition persists | Internal clock failure | Replace CPU |
| F4/4 | Internal clock battery backed RAM | Heaters remain on, but fault condition persists | Battery‐backed RAM failure | Replace CPU |
| F4/5 | Internal clock battery | Heaters remain on, but fault condition persists | Battery‐backed RAM battery dead | Replace CPU |
| F4/6 | Analog‐to‐digital | Melter stops functioning | RTD analog‐to‐digital converter failed | Replace main board or CPU |
| Display Code/Sub‐code | Name | Affect on Melter | Cause | Corrective Action |
|
F4/7 |
Analog‐to‐digital calibration |
Melter stops functioning | Failed hose or gun
RTD analog‐to‐digital converter could not be calibrated | Replace hose or gun. Note: Set set‐point to zero to avoid F1 fault. Replace main board or ribbon cable, or CPU |
| F4/8 | Main board feedback | Melter stops functioning | Communication failure between main board and CPU | Replace main board, ribbon cable, or CPU |
| F4/A | Thermostat | Melter stops functioning | Tank or manifold thermostat is open | Replace thermostat, J7 harness, or main board |
| F4/d | Communications with optional I/O card | Heaters remain on, but fault condition persists | Communication failure between CPU and the optional I/O card | Replace the I/O card or CPU |
| F4/E | Fieldbus communications failure | Alert output (if output option 6 is selected) Melter continues to operate normally. | Fieldbus card failure. | Replace the Fieldbus card |
Identifying Electrical Components (contd)
| Item Number | Type | Description |
| Indicators | ||
| Red LED | — | Indicates that CPU board has failed |
| Green LED | — | + 5 VDC control voltage is present at the CPU board |
| Connection Points | ||
| J1 | Input/Output | Control signal between main PCA and CPU |
| J5 | Input/Output | Control signal between I/O expansion card or Anybus card and the CPU |
| Test Points | ||
| TP2/TP4 | Contacts | 4.75–5.25 V control voltage present at CPU |
Table 6‐4 Hose/Gun Power Module
| Item Number | Type | Description |
| Indicators | ||
| DS1 | LED (Yellow) | Control power present for odd numbered hose |
| DS2 | LED (Yellow) | Control power present for odd numbered gun |
| DS3 | LED (Yellow) | Control power present for even numbered hose |
| DS4 | LED (Yellow) | Control power present for even numbered gun |
| DS5 | Neon (Orange) | AC power present at module for odd hose/gun pair |
| DS6 | Neon (Orange) | AC power present at module for even hose/gun pair |
| Fuses | ||
| F1/F2 and F3/F4 | — | 6.3 A, 250 V, Fast‐acting, 5 x 20 mm |
Table 6‐5 6‐Hose Expansion Board (optional)
| Item Number | Type | Description |
| Connection Points | ||
| J1 | Input/output | Control signal between 6‐hose expansion board and main board J5 |
| J2 | Input | AC power input to 6‐hose expansion board from main board J10 |
DP.5 Check the Resistance of the Tank and Manifold Heaters
- De‐energize the Melter. Refer to Section 1, Safety. See Figure 6‐1.
- Disconnect the power harness plug (P/N 1024529) from receptacle J6 on the main board.
- Measure the resistance across pins 1 and 2 (tank) or pins 3 and 4 (manifold) on the power harness plug, and then do one of the following:
• If the resistance is within the range shown in Table 6‐6, go to step 4.
• If the resistance is not within the range shown in Table 6‐6, go to step 8.Table 6‐6 Heater ResistanceResistance Model Tank Manifold P4 46–58 ohms 46–58 ohms
P7 40–50 ohms
P10 - Individually check the resistance between the chassis and pins 1 and 2 (tank) or pins 3 and 4 (manifold) on the power harness plug, and then do one of the following:• If the resistance is greater than 1 Meg ohm, return to the troubleshooting chart.
• If the resistance is less than 1 Meg ohm, go to step 5. - Remove the front and rear panels from the Melter. Refer to Section 5, Cleaning the Melter, for the procedure to remove the panels.
RESISTANCE IN OHMS


For more manuals by Nordson visit, ManualsLibraryy
Nordson ProBlue P7 Adhesive Melter-FAQs
How do you purge a Nordson glue machine?
To purge the unit filter:
Lower the drain chute and position a container under the drain valve.
Open the valve until glue flows steadily into the container.
If the flow lessens, increase the glue pump’s air pressure to 10 psi.
Continue until there are no visible char particles.
What is a F2 error code on a glue machine?
An F2 error code may indicate a defective temperature sensor or overheating. Check the sensor’s resistance using a multimeter. If overheating persists, inspect the machine for malfunctions.
How do you remove hot glue from surfaces?
Use rubbing alcohol on a cotton ball or Q-tip to soften the glue.
Scrape the glue off with a scraper.
For stubborn glue, heat the area with a blow dryer to loosen its grip before scraping.
What is hot melt adhesive used for?
Hot melt adhesives are versatile and used in:
Synthetic fabric creation and finishing.
Polymer processing and textile conversion.
Manufacturing applications in automotive, carpeting, and home furnishings.
What is hot melt adhesive backing?
Hot melt adhesives are applied in liquid form when heated and solidify upon cooling. Heat acts as the carrier, unlike water or solvents in other adhesives.
Is hot melt glue permanent?
Yes, once cooled, hot melt glue forms a strong, durable bond comparable to epoxy glue. It’s suitable for long-term applications.
What temperature is hot melt adhesive applied at?
Hot melt adhesives are typically applied at temperatures ranging from 350°F to 410°F, with most standard glue guns operating at around 380°F.
Is hot melt adhesive waterproof?
Yes, hot melt adhesives, particularly PUR variants, provide reliable waterproofing, making them suitable for applications like furniture assembly and sealing electronics.
Is hot melt glue strong?
Hot melt glue offers strong adhesion that is resistant to water, chemicals, and temperature fluctuations, making it ideal for demanding conditions.
Is hot melt glue a type of plastic?
Yes, hot melt adhesives are thermoplastic materials. They are commonly sold as solid cylindrical sticks that are applied using a hot glue gun.

Pressure regulator and adjustment screw








Wiring inputs