
Notabrick Ki Waterproof Wireless Speaker

Illustration

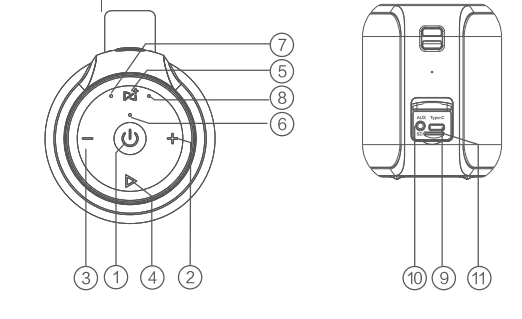
- Power ON/OFF
- Volume+/Next Track
- Volume—Previous Track
- Play/Pause/Answer or Reject Phone Call
- TWS
- Power Indicator
- Master speaker Status Indicator
- Slaver speaker Status Indicator
- Charging Port
- Aux IN
- Micro SD Port
Parameters
- Wireless Version:5.0
- Transmission Range: <30m (Open Field)
- Output Power: 15W
- Battery: 3.7V/1800rnAH
- Driver unit: 60mm
- Power Supply: Type-C5V/1A
- Frequency Response: 115hz-15kHZ
- Distortion: <1.0%
- Playing Time: 15hours (@60dB SPL)
- Charging Time: 3 hours
Function Buttons


LED Indicator
The top indicator
- The blue LED blinks when Wireless while waiting for pairing; the blue light turns solid when Wireless is connected; the blue light turns solid in TF and AUX modes; breathe while playing;
- The master speaker’s blue light in the TWS mode turns solid, and breathes while playing; the slaver speaker’s blue light in the TWS mode blinks
- When TWS mode in searching, tun:) white LED light alternately. After the TWS connection was successful, the master speaker’s left white LED light turned solid and the slaver speaker’s right white LED light turned solid.
- The red light is always on when charging; the red light is off and the green light is on when fully charged; the red light blinks when the battery is low.
Wireless Pairing
Power on the speaker the blue LED will blink, go to The wireless setting on your device, and find Notabrick Ki was selected to pair.
Micro SD/AUX Mode
- Max support reading 64GB Micro SD card
- Insert any Micro SD card, the speaker will play the audio files in the Micro SD card automatically.
- Insert the 3-5mm audio cable, the speaker will shift to AUX mode
How to pair your device?
- Please make sure these two speakers are paired and disconnect from your Bluetooth device before you turn them on. Then please turn on the two speakers.
- Select either of the speakers Press the “TWS” button for 2 seconds. until you hear the indicator tone
- When successfully paired, The LED indication light on one speaker will stay blue, and the other speaker will blink.
- Select the searching mode on your device, When your device finds Notabrick Ki “, select it and connect.
- The LED indication light on both speakers will turn white when your device is connected. They will perform as a stereo-sounding system.
- Once the speakers are well paired the first time, they will be automatically paired next time without the above pairing operation.
- If the speaker used to be paired, it is suggested to press the “TWS” button for 6 seconds to forcibly cut off the power. Then restart and have the same speaker re-paired with the required new speaker according to the above instruction item 1- item 5.
- When speakers are paired, double-clicking the “TWS” button again will disconnect the TWS connection;
- When speakers are paired, only the master speaker has the hands-free function, and the slaver speaker is silent.
For more manuals by Notabrick visit, ManualsLibraryy
Notabrick Ki Waterproof Wireless Speaker-FAQs
How can I tell if my Notabrick speaker is fully charged?
When charging, the red light stays on. Once fully charged, the red light turns off and a green indicator light appears. If the battery is low, the red light blinks. When the speaker is on, it cycles through different colors: Red, Blue, Green, Yellow, Pink, Cyan, and White.
How does a wireless waterproof speaker work?
Wireless waterproof speakers use sealed enclosures and specialized materials that protect internal components from water damage, allowing them to function even in wet conditions. The design ensures that no water can enter the speaker, making it safe for use in various environments.
How do I connect my Notabrick speaker?
To connect your Notabrick speaker, ensure your Bluetooth device is on and within 33 feet (10 meters). Then, press and hold the speaker’s button to enter pairing mode. The LED on the speaker will blink until it pairs with your device.
Will wireless speakers work without Wi-Fi?
Yes, Bluetooth speakers do not require Wi-Fi to work. They connect directly to Bluetooth-enabled devices, such as phones or tablets, and do not rely on an internet signal, making them more portable and affordable than Wi-Fi speakers.
Can waterproof speakers go underwater?
Yes, some waterproof speakers with an IPX7 rating can be submerged in water for up to 30 minutes. Speakers with an IPX4 rating can tolerate splashes, but they are not submersible. The specific IP rating determines how waterproof the speaker is.
What are the disadvantages of wireless speakers?
Wireless speakers have a limited range compared to wired speakers, and their performance can be affected by interference or signal dropouts. These issues may result in a decrease in sound quality or a disruption in the connection.
How do I reset my Notabrick speaker?
To reset your Notabrick speaker, press and hold the play button. This will force a shutdown and reset the device.
How do I know when my wireless speaker is fully charged?
Wireless speakers typically have indicator lights that show the charging status. A green light often means the battery is fully charged, while a red light indicates low battery. Some speakers may use other colors or blinking patterns to show different charge levels.
How will I know when my battery is fully charged?
Some chargers automatically turn off once the battery is fully charged. Others feature a light indicator that signals when charging is complete. If your charger doesn’t have an indicator, check the user manual for more details.
How do I check my battery charging status?
On your phone, go to the Settings app, tap on “Battery,” and you’ll see the remaining charge and estimated battery life. For more details, tap “Battery usage” to view how your battery is being used.
