
Ortis HWHC-01 In-Wall Humidity Controller

Product Manual
Thank you for purchasing the Oritis In-Wall Humidity Controller. We will provide you with the best quality service. We are certain that you will find this is the most dependable and accurate unit available in the consumer market. In order to keep the humidity controller in the best working condition, it is recommended that you read this manual thoroughly to understand how to use advanced functions. The Ortis Humidity Sensor uses a microprocessor combined with the most advanced digital sensing technology.
The Sensor and Fan Control automatically detects excess humidity in a room and activates the ventilation fan to lessen condensation, which helps reduce mold and mildew, and displays real-time humidity on the LCD screen to reduce energy consumption. It is easy to view and manage the humidity level of the house area prone to condensation and mold. It has multiple modes, such as automatic mode, manual mode, and engineer mode. The sensor can replace a single pole switch and can be used with most bathrooms or ventilation fans, or humidifiers. It is designed to fit standard wall-mounted boxes and requires a neutral wire to operate.
Safety and Precautions
- Avoid fire, electric shock, or death: turn off the power on the circuit breaker or fuse, and test that the power is off before wiring!
- To avoid personal injury or property damage, do not install control sockets or loads exceeding the specified rating.
- Install and/or use in accordance with electrical codes and regulations
- If you are not sure about any part of these instructions, please consult an electrician.
- Only use a damp cloth to gently clean the outer surface. Do not use soap or cleaning fluid.
- There are no user-serviceable components. Do not attempt to repair or repair.
- Only use this equipment with copper wire or copper-clad wire
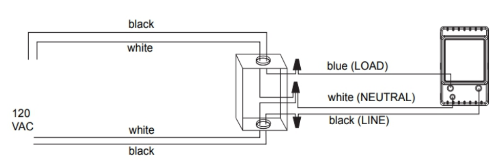
Installation
Wiring diagram

Get to know the controller

Manual/Button Operation Instructions
Up/Down Button
- In the normal state, press and hold the Up/Down Button for 3 seconds, the controller will enter the manual off mode (more details on 5.5); press the Up/Down Button again, the controller will return to the normal state.
Mode Button”M”
- In normal on state, pressing the “M” controller will run manual mode, pressing again, the controller will return to automatic mode.
- The controller’s default mode is automatic mode.
- In the normal state, hold the press”M” for 3 seconds, the controller will enter to setting menu mode.
- Press the “M” button to scroll down the menu item and save the parameters of the previous menu item. Press the Up/Down button to change the current setting value. If in the setting state, there is no button operation within 30 seconds or a long-press “M” button for 3 seconds, exit and save the setting state, and return to normal operation mode. Setting Mode Flow Chart:


Setting Menu Instruction:
Lock Button
- In the normal state, simultaneously hold both the M button and Up/Down button for 3 seconds, the button will be locked; press both the M button and Up/Down button again for 3 seconds, the button will be unlocked.
Manual and Automatic Mode
- Automatic Mode: In automatic mode, the controller turns the load on and off according to the humidity value you set. And the fan is turned on for at least 1 min (you can set it for 1-60 minutes). Generally, the main interface of the controller is in automatic mode, and the humidity you set and the current ambient humidity will be displayed on the LCD screen.
- Manual Mode: In manual mode, the controller will turn on the load immediately. And the fan is turned on for at least 1 min (you can set it for 1-60 minutes). When the controller is in manual mode, this icon
appears. The humidity detection area displays the current humidity, and the humidity setting area displays ’—’. After running for the time you set, it will return to automatic mode. - Backlight: The screen will light on for 8 seconds when you press any button.
- Key lock: When the keys are locked, a symbol
will appear on the screen. In this state, pressing any button will turn on the backlight, and other functions cannot be used. The buttons must be unlocked for normal use. - Manual Off Mode: In manual mode, the controller will continue to monitor the humidity level, and it will always turn off the load. It will automatically return to its normal state after running for the time you set.
- Humidity calibration: When the measured humidity deviates from the standard humidity, the humidity calibration function can be used to make the measured value of the instrument consistent with the standard value. The calibrated humidity = the measured humidity + the calibration value.
- Dehumidification Mode: When controller run in automatic state, in Dehumidifying mode, if the current humidity >= (the setting humidity + (different value)/2), the load will be turned on; and the fan will turn on at least 1 min (you can set it for 1-60 min); and when the current humidity <= (the setting humidity – (different value)/2), the load will be turned off. The icon
appears when the controller is in dehumidifying mode. - Humidification Mode: When the controller runs in automatic state, in humidifying mode, if the current humidity <= (the setting humidity – (different value)/2), the load will be turned on; when the current humidity >= (the setting humidity + (different value)/2), the load will be turned off. The icon
appears when the controller is in humidifying mode.
Specifications
- Input voltage: 110V/220V
- Power: 1800W, 3/4Hp
Limited Warranty
If you have any problems installing or using this controller, please carefully and thoroughly review the instruction manual. If you require assistance, please write to us [email protected]. We will reply to your emails in 24 hours from Monday through Saturday. Ortis warrants this controller for two years from the date of purchase when operated under normal conditions by the original purchaser (not transferable), against defects caused by Ortis’s workmanship or materials. This warranty is limited to the repair or replacement, at Oritis’s discretion, of all or part of the controller. The original receipt is required for warranty purposes.
For More Manuals By Ortis, Visit ManualsLibraryy.
Ortis HWHC-01 In-Wall Humidity Controller-FAQs
How does a humidity controller work?
A humidity controller (humidistat) measures the relative humidity (RH) in a room and compares it with your set target. If the humidity goes above or below that level, it automatically switches on or off connected devices such as fans, dehumidifiers, or humidifiers.
What are the benefits of using a humidity controller?
It helps maintain a comfortable indoor climate by preventing air that is too dry or too damp. Balanced humidity improves air quality, reduces the risk of mold growth, protects wooden furniture, and helps with health issues like dry skin, allergies, and respiratory irritation.
What is the working principle of a humidity sensor?
A humidity sensor detects moisture in the air by measuring electrical changes when water vapor is absorbed onto its surface. This data is converted into a digital RH reading.
How do I know if my humidity sensor is working properly?
You can compare its reading with a reliable hygrometer. Another method is sealing it in a container with a humidity reference (like a salt test at 75% RH) and checking accuracy after 24 hours.
What are common problems with humidity sensors?
Exposure to condensation, rain, or extreme weather can cause inaccurate readings. Dust buildup or prolonged exposure to very high humidity can also affect performance.
How do I reset a humidity sensor or controller?
Remove the power or batteries for at least 5 minutes, then reinstall them. Allow the unit about 20 minutes to adjust to the surrounding environment before checking readings again.
What humidity level is considered ideal indoors?
The EPA and most experts recommend keeping indoor humidity between 30% and 50% for comfort and health. A wider safe range is 30–60%.
What happens if humidity is too high or too low?
Too high (>60%): encourages mold, mildew, dust mites, and structural damage.
Too low (<30%): causes dry skin, irritated eyes, static electricity, and cracked furniture.
How do I adjust the Ortis HWHC-01 humidity controller?
Set your desired humidity level on the controller. The device will automatically switch the fan or connected appliance on/off to maintain that level.


