![]()
ProForm 480 Pi Treadmill

IMPORTANT PRECAUTIONS
WARNING: To reduce the risk of burns, fire, electric shock, or injury to persons, read the following important precautions and information before operating the treadmill.
- It is the responsibility of the owner to ensure that all users of this treadmill are adequately informed of all warnings and precautions.
- Use the treadmill only as described.
- Place the treadmill on a level surface, with eight feet of clearance behind it. Do not place the treadmill on a surface that blocks any air openings. To protect the floor or carpet from damage. Place a mat under the treadmill.
- Keep the treadmill Indoors, away from moisture and dust. Do not put the treadmill in a garage or covered patio, or near water.
- Do not operate the treadmill where aerosol products are used or where oxygen is being administered.
- Keep children under the age of 12 and pets away from the treadmill at all times.
- The treadmill should be used only by persons weighing 250 pounds or less.
- Never allow more than one person on the treadmill at a time.
- Wear appropriate exercise clothing when using the treadmill. Do not wear loose clothing that could become caught in the treadmill. Athletic support clothes are recommended for both men and women. Always wear athletic shoes. Never use the treadmill with bare feet, wearing only stockings, or in sandals.
- When connecting the power cord (see page 7), plug the power cord into a surge suppressor (not included) and plug the surge suppressor into a grounded circuit capable of carrying 15 or more amps. No other appliance should be on the same circuit. Do not use an extension cord.
- Use only a single-outlet surge suppressor that meets all of the specifications described on page 8. To purchase a surge suppressor, see your local SEARS or call 1-800-366-7278 and order part number 146148.
- Failure to use a properly functioning surge suppressor could result in damage to the control system of the treadmill. If the control system is damaged, the walking belt may change speed or stop unexpectedly, which may result in a fall and serious Injury.
- Keep the power cord and the surge suppressor away from heated surfaces.
- Never move the walking belt while the power is turned off. Do not operate the treadmill if the power cord or plug is damaged or if the treadmill is not working properly. (See BE FORE YOU BEGIN on page 4. If the treadmill is not working properly.)
- Never start the treadmill while you are standing on the walking belt. Always hold the handrails while using the treadmill.
- The treadmill is capable of high speeds. Adjust the speed in small increments to avoid sudden jumps in speed.
- Never leave the treadmill unattended while it is running. Always remove the key and unplug the power cord when the treadmill is not in use.
- Do not attempt to raise, lower, or move the treadmill until it is properly assembled. (See ASSEMBLY on page 5 and HOW TO FOLD AND MOVE THE TREADMILL on page 10.) You must be able to safely lift 45 pounds (20 kg) to raise, tower, or move the treadmill.
- When folding or moving the treadmill, make sure that the storage latch is fully closed.
- Inspect and tighten all parts of the treadmill regularly.
- Never insert any object into any opening.
- DANGER: Always unplug the power cord immediately after use, before cleaning the treadmill, and before performing the maintenance and adjustment procedures described in this manual. Never remove the motor hood unless instructed to do so by an authorized service representative. Servicing other than the procedures in this manual should be performed by an authorized service representative only.
- This treadmill is intended for in-home use only. Do not use thís treadmill in a commercial, rental, or Institutional setting.
WARNING: Before beginning this or any exercise program, consult your physician. This is especially important for persons over the age of 35 or persons with pre-existing health problems.
Read all instructions before using. SEARS assumes no responsibility for personal injury or property damage sustained by or through the use of this product.
SAVE THESE INSTRUCTIONS
BEFORE YOU BEGIN
Congratulations on selecting the new PROFORM ®480 Pi treadmill. The 480 Pi treadmill combines advanced technology with innovative design to help you get the most from your exercise in the convenience and privacy of your home. And when you’re not exercising, the unique 480 Pi can be folded up, requiring less than half the floor space of other treadmills.
For your benefit, read this manual carefully before using the treadmill. If you have additional questions, please call our toll-free HELPLINE at 1-800-736-6879, Monday through Saturday, 7 a.m. until 7 p.m. Central Time (excluding holidays). To help us assist you, please note the product model number and serial number before calling. The model number of the treadmill is 831.291600. The serial number can be found on a decal attached to the treadmill (see the front cover of this manual for the location).
Before reading further, please review the drawing below and familiarize yourself with the parts that are labeled.
ASSEMBLY
The assembly requires two people. Set the treadmill in a cleared area and remove all packing materials. Do not dispose of the packing materials until assembly is completed. Assembly requires the included Allen wrench and your own Phillips screwdriver and wire cutters.
Note: The underside of the treadmill walking belt is coated with high-performance lubricant. During shipping, a small amount of lubricant may be transferred to the top of the walking belt or the shipping carton. This is a normal condition and does not affect treadmill performance. If there is lubricant on top of the walking belt, simply wipe off the lubricant with a soft cloth and a mild, non-abrasive cleaner.
- Carefully raise the Uprights (11) until the treadmill is in the position shown. Insert one of the Extension Legs (34) into the treadmill as shown. (Note: It may be helpful to tip the Uprights [11] in the direction shown by the arrow as you insert the Extension Leg.) Make sure that the Base Pad (40) is on the indicated side of the Extension Leg. Attach the Extension Leg with an Extension Leg Screw (53). Be sure to push on the head of the Extension Leg Screw while tightening it. Attach the other Extension Leg (34) in the same way.
- Slide a Handrail Cap (41) onto one of the Handrails (1) as shown. Insert the Handrail (1) into the tube at the top of the left Upright (11). Finger-tighten a Handrail Bolt (91) at an angle (see the inset drawing) into the Upright and the Handrail. Make sure that the Handrail Cap (41) is on the Upright. Press the top of the Handrail (1) into the Upright (11). Align the hole in the Handrail with the hole in the Upright, and tighten a Handrail Screw (53) into the Upright and the Handrail. Tighten the Handrail Bolt. Attach the other Handrail (1) as described above.

- Thread the two included wires through the indicated holes in the tube on the right side of the upright (11). Look into the tube right up (88) and make sure the Wires(21)have been secured to the side shown. Tighten the wireties and cut off the excess from the ends.
- Place the Console Base (46) on the posts of the Upright. Make a loop with the indicated plastics and insert the two wires (21) through the loops. Pull out only enough of the two wires to connect the connectors in the Console Base. Plug the wires fully into the connectors. Tighten the loops and cut off the excess plastic tie. WARNING: Do not disconnect or connect the wires.
While the treadmill power cord is plugged in. Refer to drawing 4b. Thread six Console Screws (88) into the Uprights (11) and the Console Base (46). After all six ConsoleScrews have been started, tighten the Screws until they are snug; do not over tighten the Screws.
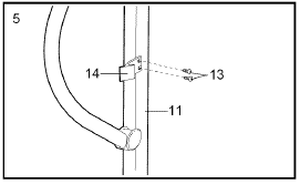
- Attach the Storage Latch (14) to the left Upright (11) with two Small Screws (13). Be careful not to overtighten the LatchScrews.

- Make sure that all parts are tightened before you use the treadmill. Keep the included Allen wrench in a secure place. The Allen wrench is used to adjust the walking belt (see page 13). To protect the floor or carpet, place a mat under the treadmill.
OPERATION AND ADJUSTMENT
THE PERFORMANT LUBETM WALKING BELT
Your treadmill features a walking belt coated with PERFORMANT LUBE TM, a high-performance lubricant.
IMPORTANT: Never apply silicone spray or other substances to the walking belt or the walking platform. Such substances will deteriorate the walking belt and cause excessive wear.
HOW TO PLUG IN THE POWER CORD
Your treadmill, like any other type of sophisticated electronic equipment, can be seriously damaged by sudden voltage changes in your home’s power. Voltage surges, spikes, and noise interference can result from weather conditions or from other appliances being turned on or off. To decrease the possibility of your treadmill being damaged, always use a surge suppressor with your treadmill (see drawing 1 at the right). To purchase a surge suppressor, see your local SEARS or call toll-free 1-800-366-7278 and order part number 146148.
Use only a single-outlet surge suppressor that is UL 1449 listed as a transient voltage surge suppressor (TVSS). The surge suppressor must have a UL suppressed voltage rating of 400 volts or less and a minimum surge dissipation of 450 joules. The surge suppressor must be electrically rated for 120 volts AC and 15 amps. There must be a monitoring light on the surge suppressor to indicate whether it is functioning properly. Failure to use a properly functioning surge suppressor could result in damage to the control system of the treadmill. If the control system is damaged, the walking belt may change speed or stop unexpectedly, which may result in a fall and serious injury.
This product must be grounded. If it should malfunction or break down, grounding provides a path of least resistance for electric current to reduce the risk of electric shock. This product is equipped with a cord having an equipment-grounding conductor and a grounding plug. Plug the power cord into a surge suppressor, and plug the surge suppressor into an appropriate outlet that is properly installed and grounded in accordance with all local codes and ordinances.
Important: The treadmill is not compatible with GFCI-equipped outlets.
This product is for use on a nominal 120-volt circuit and has a grounding plug. A temporary adapter may be used to connect the surge suppressor to a 2-pole receptacle if a properly grounded outlet is not available.
The temporary adapter should be used only until a properly grounded outlet (drawing 1) can be installed by a qualified electrician.
The green-colored rigid ear, lug, or the like extending from the adapter must be connected to a permanent ground such as a properly grounded outlet box cover.
Whenever the adapter is used it must be held in place by a metal screw. Some 2-pole receptacle outlet box covers are not grounded. Contact a qualified electrician to determine if the outlet box cover is grounded before using an adapter.
CONSOLE DIAGRAM
CAUTION: Before operating the console, read the following precautions.
- Do not stand on the walking belt when turning on the power.
- Always wear the clip (see the drawing above) while using the treadmill. When the key is removed from the console, the walking belt will stop.
- Adjust the speed in small increments.
- The training zones marked above the speed control are general guidelines only. See page 14 for more information.
- To reduce the possibility of electric shock, keep the console dry. Avoid spilling liquids on the console and use only a sealable water bottle.
BATTERY INSTALLATION
The console requires three “AA” batteries (not included). Alkaline batteries are recommended. Open the battery cover. Insert the batteries into the battery compartment, making sure that the negative (-) ends of the batteries are touching the springs in the battery compartment.
Close the battery cover, push up on the battery cover tab, and then push the tab forward as shown in the inset drawing. Make sure that the tab locks into place.
STEP-BY-STEP CONSOLE OPERATION
Before operating the console, make sure that the power cord is properly plugged in. (See HOW TO PLUG IN THE POWER CORD on page 7.)
Stand on the foot rails of the treadmill. Find the clip attached to the key (see the drawing at the top of this page), and slide the clip onto the waistband of your clothing. Next, insert the key into the console. Test the clip by carefully taking a few steps backward until the key is pulled from the console. If the key is not pulled from the console, adjust the position of the clip as needed.
TROUBLE-SHOOTING
Most treadmill problems can be solved by following the simple steps below. Find the symptom that applies, and follow the steps listed. If further assistance is needed, call our toll-free HELPLINE at 1-800-736-6879, Monday through Saturday, 7 a.m. until 7 p.m. Central Time (excluding holidays).
PROBLEM: The power does not turn on
SOLUTION:
Make sure that the power cord is plugged into a surge suppressor, and that the surge suppressor is plugged into a properly grounded outlet (see page 7). Use only a single-outlet surge suppressor that meets all of the specifications described on page 7. Important: The treadmill is not compatible with GFCl-equipped outlets.
After the power cord has been plugged in, make sure that the key is fully inserted into the console.
Check the circuit breaker located on the treadmill frame near the power cord. If the switch protrudes, the circuit breaker has tripped. To reset the circuit breaker, wait for five minutes and then press the switch back in.
PROBLEM: The power turns off during use
SOLUTION:
- Check the circuit breaker located on the treadmill frame near the power cord (see the drawing above), tf the circuit breaker has tripped, wait for five minutes and then press the switch back in.
- Make sure that the power cord is plugged in.
- Unplug the power cord, wait for five minutes, and then plug the power cord back in.
- Remove the key from the console. Reinsert the key fully into the console.
- If the treadmill still will not run, please call our toll-free HELPLINE.
PROBLEM: The displays of the console do not function properly
SOLUTION:
Check the batteries in the console. If the batteries need to be replaced, see “BATTERY INSTALLATION” on page 8. Most problems are the result of drained batteries.
Remove the key from the console and UNPLUG THE POWER CORD. Remove the screws from the hood, and carefully remove the hood.
Locate the Reed Switch (86) and the Magnet (87) on the left side of the Pulley (85). Turn the Pulley until the Magnet is aligned with the Reed Switch. Make sure that the gap between the Magnet and the Reed Switch is about 1/8″. If necessary, loosen the Screw (82) and move the Reed Switch slightly. Retighten the Screw. Re-attach the hood, and run the treadmill for a few minutes to check for a correct speed reading. Reattach the Resistance Knob.
QUESTIONS?
If you find that:
- You need help assembling or operating the PROFORM 480 Pi treadmill
- A part is missing
- Or you need to schedule a repair service
Call our toll-free HELPLINE 1-800-736-6879 Monday-Saturday, 7 am-7 pm Central Time (excluding holidays)
REPLACEMENT PARTS
If parts become worn and need to be replaced, call the following toll-free number: 1-800-FON-PART (1-800-366-7278)
For more Manuals by Proform, visit ManualsLibraryy
ProForm 480 Pi Treadmill-FAQs
Can I use the ProForm treadmill without WiFi or iFIT?
Yes! To bypass iFIT:
Reset the treadmill.
Hold down the iFIT button for 30 seconds until zeros appear.
Release the button, and the treadmill is ready for manual use.
Why won’t my ProForm treadmill turn on?
Check the power cord and outlet for damage.
Try a different outlet or a surge protector.
Ensure the safety key is properly inserted.
What is the weight limit for the ProForm 480 Pi?
The treadmill supports users up to 250 lbs (113 kg).
Does the ProForm treadmill have Bluetooth?
Some models do, allowing you to sync entertainment via Bluetooth. Check your manual for compatibility.
How do I connect my phone to iFIT?
Download the iFIT app and create an account.
Turn on Bluetooth on your phone.
Sign in on your treadmill and follow prompts to sync.
How do I switch users on iFIT?
Tap the primary account name on the dashboard.
Select “Other accounts” and choose the desired profile.
Can I use my treadmill without an iFIT subscription?
Yes! You can use manual mode without iFIT, but interactive coaching requires a subscription.
How long is the ProForm 480 Pi treadmill?
The folded length is compact, but exact dimensions vary. Check your manual for specifics.
How do I reset my ProForm treadmill?
Turn off the treadmill.
Insert a paperclip into the reset hole (right side of console).
Hold while powering back on, then release.




