Blog Post

ProForm J6si Treadmill-featured

ProForm J6si Treadmill User Manual

ProForm C840 Smith Machine logo

ProForm J6si Treadmill

ProForm J6si Treadmill-product

iMPORTANT PRECAUTIONS

JBL Go 3 Eco Portable Waterproof Speaker User Guide-warning DANGER: Toreductheer skofburnsf, risk, burns r njurtyopersonrse adthe ftheing important precautions and information before operating the treadmill.

  1. It is the responsibility of the owner to ensure that all users of this treadmill are adequately informed of all warnings and precautions.
  2. Use the treadmill only as described in this manual.
  3. Place the treadmill on a level surface, with at least eight feet of clearance behind it. Do not place the treadmill on any surface that blocks air openings. To protect the floor or carpet from damage, place a mat under the treadmill.
  4. Keep the treadmill indoors, away from moisture and dust. Do not put the treadmill in a garage or covered patio, or near water.
  5. Do not operate the treadmill where aerosol products are used or where oxygen is being administered.
  6. Keep children under the age of 12 and pets away from the treadmill at all times.
  7. The treadmill should not be used by persons weighing more than 250 pounds.
  8. Never allow more than one person on the treadmill at a time.
  9. Wear appropriate exercise clothing when using the treadmill. Do not wear loose clothing that could become caught in the treadmill. Athletic support clothes are recommended for both men and women. Always wear athletic shoes. Never use the treadmill with bare feet, wearing only stockings, or in sandals.
  10. When connecting the power cord (see page 9), plug the power cord into a surge suppressor (not included) and plug the surge suppressor into a grounded circuit capable of carrying 15 or more amps. No other appliance should be on the same circuit. Do not use an extension cord.
  11. Use only a single-outlet surge suppressor that is UL 1449 listed as a transient voltage surge suppressor (TVSS). The surge suppressor must have a UL suppressed voltage rating of 400 volts or less and a minimum surge dissipation of 450 joules. The surge suppressor must be electrically rated for 120 volts AC and 15 amps.
  12. Keep the power cord and the surge suppres- sor away from heated surfaces.
  13. Never move the walking belt while the power is turned off. Do not operate the treadmill if the power cord or plug is damaged or if the treadmill is not working properly. (See BEFORE YOU BEGIN on page 5 if the treadmill is not working properly.)
  14. Never start the treadmill while you are standing on the walking belt. Always hold the handrails while using the treadmill.
  15. The treadmill is capable of high speeds. Adjust the speed in small increments to avoid sudden jumps in speed.
  16. The pulse sensor is not a medical device. Various factors, including the user’s movement, may affect the accuracy of heart rate readings. The pulse sensor is intended only as an exercise aid in determining heart rate trends in general.
  17. To reduce the possibility of the treadmill overheating, do not operate the treadmill continuously for longer than one hour.
  18. Never leave the treadmill unattended while it is running. Always remove the key, unplug the power cord, and move the on/off switch to the off position when the treadmill is not in use. (See the drawing on page 5 for the location of the on/off switch.)
  19. Do not attempt to raise, lower, or move the treadmill until it is properly assembled. (See ASSEMBLY on page 6, and HOW TO MOVE THE TREADMILL on page 14. You must be able to safely lift 45 pounds (20 kg) to raise, lower, or move the treadmill.
  20. Do not change the incline of the treadmill by placing objects under the treadmill.
  21. When folding or moving the treadmill, make sure that the storage latch is fully closed.
  22. Inspect and tighten all parts of the treadmill regularly.
  23. Never drop or insert any object into any opening.
  24. DANGER: Always unplug the power cord immediately after use, before cleaning the treadmill, and before performing the maintenance and adjustment procedures described in this manual. Never remove the motor hood unless instructed to do so by an authorized service representative. Servicing other than the procedures in this manual should be performed by an authorized service representative only.
  25. This treadmill is intended for in-home use only. Do not use this treadmill in any commercial, rental, or institutional setting.

JBL Go 3 Eco Portable Waterproof Speaker User Guide-warning WARNING: Before beginning this or any exercise program, consult your physician. This is especially important for persons over the age of 35 or persons with pre-existing health problems. Read all instructions before using. SEARS assumes no responsibility for personal injury or property damage sustained by or through the use of this product.

SAVE THESE INSTRUCTIONS

BEFORE YOU BEGIN

Thank you for selecting the new PROFORM °_J6si treadmill. The J6si treadmill combines advanced technology with innovative design to let you enjoy an excellent form of cardiovascular exercise in the convenience and privacy of your home. And when you’re not exercising, the unique J6si can be folded up, requiring less than half the floor space of other treadmills.

For your benefit, read this manual carefully before using the treadmill. If you have additional questions, please call our toll-free HELPLINE at 1-800-736-6879, Monday through Saturday, 7 a.m. until 7 p.m. Central Time (excluding holidays). To help us assist you, please note the product model number and serial number before calling. The model number of the treadmill is 831.297790. The serial number can be found on a decal attached to the treadmill (see the front cover of this manual for the location).

Before reading further, please review the drawing below and familiarize yourself with the parts that are labeled.

ProForm J6si Treadmill-1

ASSEMBLY

The assembly requires two people. Set the treadmill in a cleared area and remove all packing materials. Do not dispose of the packing materials until assembly is completed. Assembly requires the included Allen wrenchallen wrench and your own Phillips screwdriver screwdriver, adjustable wrench adjustable wrench , and scissors scissors.

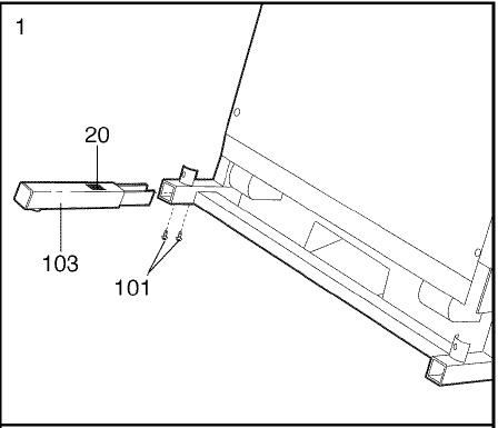
  1. With the help of a second person, carefully raise the treadmill to the upright position. While a second person tips the treadmill to one side slightly and holds it, insert one of the Extension Legs (103) into the treadmill as shown. Make sure that the Extension Leg is turned so the Warning Decal (20) is on top. Tighten two of the four Short Screws (101) into the treadmill and the Extension Leg. Next, tip the treadmill to the other side and attach the other Extension Leg in the same way.
    With the help of a second person, carefully lower the treadmill so that both Extension Legs (103) are resting flat on the floor.ProForm J6si Treadmill-2
  2. Refer to HOW TO LOWER THE TREADMILL FOR USE on page 14. Follow the instructions in step 2 to lower the treadmill.
    Without removing the tape from the Latch (77), attach the Latch to the left Upright (82) with two 3/4″ Screws (81). Make sure that the Screws are tight, but do not overtighten them; if the Screws are overtightened, the Latch will not slide smoothly. After the Latch is attached, remove any visible tape.
    Note: The inset drawing shows how the parts of the Latch (77) fit together.ProForm J6si Treadmill-3
  3. Cut the plastic tie off the bracket on the base of each Upright (82).
    Next, cut the plastic tie off the Left rail (74). Position the Left rail on the left Upright (82). The bracket on the base of the left Upright should be inside the lower end of the Left Handrail, as shown in the inset drawing.ProForm J6si Treadmill-4
  4. While a second person holds the Right Handrail (85) and the Console Base (87) near the right Upright (82), cut the indicated plastic ties off the Right Handrail. Do not cut the other plastic tie off the Right rail. Next, cut the plastic tie off the Upright Wire Harness (34) in the right Upright (82). Do not drop the Upright Wire Harness into the right Upright.
    Refer to the inset drawing. Connect the Upright Wire Harness (34) to the Console Wire Harness (48). The latch on the Console Wire Harness should snap onto the Upright Wire Harness. If the Wire Harnesses do not fit together easily, turn them; do not force the Wire Harnesses together.
    Next, connect the Right Pulse Wire (121), the Left Pulse Wire (120), and the ground wire to the corresponding connectors on the Console Wire Harness (48); make sure that the Wires with tags are connected.ProForm J6si Treadmill-5
  5. Note that there is still a plastic tie in the Right rail (85); do not remove this plastic tie.
    Set the left side of the Console Base (87) on the Left rail (74). Insert as many of the wires as possible into the Right rail (85) and down into the right Upright (82).
    Next, set the right side of the Console Base (87) on the Right Handrail (85). Insert all excess Console Wire Harness (48) into the Right rail.ProForm J6si Treadmill-6
  6. Position the Right rail (85) on the right Upright (82) as shown; be careful not to damage the wires. The bracket on the base of the right Upright should be inside the lower end of the right Handrail, as shown in the inset drawing.
    Thread two Handrail Bolts (78) with Washers (36) into the Left Handrail (74) and the left Upright (82) as shown. Do not tighten the Handrail Bolts yet. Next, thread two Handrail Bolts (78) with Washers (36) into the Right Handrail (85) and the right Upright (82). Do not tighten the Handrail Bolts yet. Be careful to avoid damaging the wires.ProForm J6si Treadmill-7
  7. Attach the Console Base (87) to the Left and Right Handrails (74, 85) with four Long Screws (114).
    Refer to assembly step 5. Tighten the four Handrail Bolts (78) used in assembly step 5.ProForm J6si Treadmill-8
  8. Press two Small Upright Plugs (79) into the holes near the upper ends of the Uprights (82).ProForm J6si Treadmill-9
  9. Remove the backing from the Adhesive Clip (99). Press the Adhesive Clip onto the base of the right Upright (82) as shown. Press the Allen Wrench (100) into the Adhesive Clip.ProForm J6si Treadmill-10
  10. Make sure that all parts are tightened before you use the treadmill. To protect the floor or carpet, place a mat under the treadmill.

OPERATION AND ADJUSTMENT

THE PERFORMANT LUBE TM WALKING BELT

Your treadmill features a walking belt coated with PERFORMANT LUBE TM, a high-performance lubricant.

IMPORTANT: Never apply silicone spray or other substances to the walking belt or the walking platform. Such substances will deteriorate the walking belt and cause excessive wear.

HOW TO PLUG IN THE POWER CORD

JBL Go 3 Eco Portable Waterproof Speaker User Guide-warning DANGER: Improper connection of the equipment-grounding conductor can result in an increased risk of electric shock. Check with a qualified electrician or serviceman if you are in doubt as to whether the product is properly grounded. Do not modify the plug provided with the product–if it will not fit the outlet, have a proper outlet installed by a qualified electrician.

Your treadmill, like any other type of sophisticated electronic equipment, can be seriously damaged by sudden voltage changes in your home’s power. Voltage surges, spikes, and noise interference can result from weather conditions or from other appliances being turned on or off. To decrease the possibility of your treadmill being damaged, always use a surge suppressor with your treadmill (see drawing 1 at the right).

Surge suppressors are sold at most hardware stores and department stores. Use only a single-outlet surge suppressor that is UL 1449 listed as a transient voltage surge suppressor (TVSS). The surge suppressor must have a UL suppressed voltage rating of 400 volts or less and a minimum surge dissipation of 450 joules. The surge suppressor must be electrically rated for 120 volts AC and 15 amps.

This product must be grounded. If it should malfunction or break down, grounding provides a path of least resistance for electric current to reduce the risk of electric shock. This product is equipped with a cord having an equipment-grounding conductor and a grounding plug. Plug the power cord into a surge suppressor, and plug the surge suppressor into an appropriate outlet that is properly installed and grounded in accordance with all local codes and ordinances.

This product is for use on a nominal 120-volt circuit and has a grounding plug that looks like the plug illustrated in drawing 1 below. A temporary adapter that looks like the adapter illustrated in drawing 2 may be used to connect the surge suppressor to a 2-pole receptacle, as shown in drawing 2, if a properly grounded outlet is not available.

ProForm J6si Treadmill-11ProForm J6si Treadmill-12

The temporary adapter should be used only until a properly grounded outlet (drawing 1) can be installed by a qualified electrician.

The green-colored rigid ear, lug, or the like extending from the adapter must be connected to a permanent ground such as a properly grounded outlet box cover. Whenever the adapter is used it must be held in place by a metal screw. Some 2-pole receptacle outlet box covers are not grounded. Contact a qualified electrician to determine if the outlet box cover is grounded before using an adapter.

CONSOLE DIAGRAM

ProForm J6si Treadmill-13

JBL Go 3 Eco Portable Waterproof Speaker User Guide-warning CAUTION: Before operating the console, read the following precautions.

  • Do not stand on the walking belt when turning on the power.
  • Always wear the clip (see the drawing above) while operating the treadmill.
  • Adjust the speed in small increments to avoid sudden jumps in speed.
  • To reduce the possibility of electric shock, keep the console dry. Avoid spilling liquids on the console, and place only sealed water bottles in the water bottle holders.

FEATURES OF THE CONSOLE

The treadmill console offers an impressive array of features designed to help you get the most from each workout. When the manual mode of the console is selected,
the speed and incline of the treadmill can be changed with a touch of a button. As you exercise, an LED track and four displays will provide continuous exercise feedback. With the built-in pulse sensor, you can even measure your heart rate. In addition, the console offers four workout programs. Each program will automatically control the speed of the treadmill as it guides you through an effective workout.

STEP-BY-STEP CONSOLE OPERATION

Note: The treadmill console can display speed and distance in either miles or kilometers (see SPEED DISPLAY on page 12). For simplicity, all instructions in this section refer to miles.

Before operating the console, make sure that the on/off switch, located near the power cord, is in the on position.

ProForm J6si Treadmill-14

Next, plug in the power cord (see HOW TO PLUG IN THE POWER CORD on page 9). Note: If the key is in the console, remove it before plugging in the power cord.

Step onto the foot rails of the treadmill. Find the clip attached to the key (see the drawing above), and slide the clip onto the waistband of your clothing. Follow the steps below to operate the console.

  1. Insert the key into the console.
    A moment after the key is inserted, the four displays and various indicators will light.ProForm J6si Treadmill-15
  2. Press the MODE button to select the desired mode.
    When the key is inserted, the manual mode will be selected, as shown by the MANUAL indicator. The manual mode can also be selected by repeatedly pressing the MODE button.ProForm J6si Treadmill-16To select one of the four workout programs, press the MODE button repeatedly until the AEROBIC 1, AEROBIC 2, FAT BURN 1, or FAT BURN 2 indicator lights.
    Note: The two AEROBIC programs are twenty minutes long; the two FAT BURN programs are thirty minutes long. The graphs on the right side of the console show how the speed of the walking belt will change during the programs. During the AEROBIC 1 program, for example, the speed will gradually increase during the first ten minutes and then gradually decrease during the last ten minutes. Each program begins with a warm-up period and ends with a cool-down period.
  3. Set the desired maximum speed setting.
    If you selected the manual mode, go to step 4.
    If a workout program is selected, a number will flash in the SPEED display. This number is the maximum speed that the walking belt will reach during the selected program. If you want to change the maximum speed setting, press the SPEED/button. The maximum speed setting can be from 4 mph and 10 mph. If the maximum speed setting is increased, the difficulty level of the entire program will increase. If the maximum speed setting is decreased, the difficulty level of the entire program will decrease.ProForm J6si Treadmill-17
  4. Press the START/STOP button to start the walking belt.
    A moment after the START/STOP button is pressed, the walking belt will begin to move. Hold the handrails and carefully begin walking. If the manual mode is selected, as you exercise, change the speed of the walking belt as desired by pressing the SPEED buttons.
    To stop the walking belt, press the START/STOP button. The TIME/PACE display will begin to flash. To restart the walking belt, press the START/STOP button again. To stop the walking belt and reset the displays, press the START/STOP button, remove the key from the console, and then reinsert the key.
    If a preset program is selected, the speed of the walking belt will change automatically during the program, as shown by the graphs on the right side of the console. The time remaining in the program will be shown in the TIME/PACE display. When the program is completed, the walking belt will slow to a stop.ProForm J6si Treadmill-18If the program is too difficult or too easy, the difficulty level of the program can be adjusted.
    Press the SPEED ▲or▼ button.
    A number will begin to flash in the SPEED display. This number is the maximum speed that the walking belt will reach during the program. Press the SPEED▲or▼button repeatedly to change the maximum speed setting. If the maximum speed setting is increased, the difficulty level of the entire program will increase. If the maximum speed setting is decreased, the difficulty level of the entire program will decrease.
    To stop the program for a moment, press the START/STOP button. The TIME/PACE display will begin to flash. To restart the program, press the START/STOP button again. To stop the program and reset the displays, press the START/ STOP button, remove the key from the console, and then reinsert the key. Note: Pressing the MODE button will also stop the program, reset the displays, and select a different mode.
  5. Change the incline of the treadmill as desired.
    To change the incline of the treadmill, press the incline buttons. Each time one of the buttons is pressed, the inclination will change by 0.5%. The buttons can be held down to change the incline rapidly.ProForm J6si Treadmill-19Note: In the incline display, the first indicator will light when the incline is set at 1.5%. The second indicator will light when the incline is set at 2% or 2.5%, the third indicator will light when the incline is set at 3% or 3.5%, and so forth. After the incline buttons are pressed, it will take a moment for the treadmill to reach the selected incline setting.
  6. Follow your progress with the LED track and the four displays.
    The LED Track– The LED track represents a distance of 1/4 mile. As you exercise, the indicators around the track will light one at a time until you have completed 1/4 mile. A new lap will then begin.ProForm J6si Treadmill-20DISTANCE/LAPS display--This display shows the distance that you have walked or run and the number of laps you have completed (one lap equals 1/4 mile). The display will alternate between one number and the other every seven seconds, as shown by the arrows in the display.ProForm J6si Treadmill-21TIME/PACE display– This display shows the elapsed time and your current pace (pace is measured in minutes per mile). The display will alternate between one number and the other every seven seconds, as shown by the arrows in the display.ProForm J6si Treadmill-22SPEED display–This display shows the speed of the walking belt, in miles per hour or kilometers per hour. The letters “MPH” or “KPH” will appear to show which unit of measurement is selected.ProForm J6si Treadmill-23To change the unit of measurement, hold down the START/STOP button while inserting the key into the console. An “E,” for English miles, or an “M,” for metric kilometers, will appear in the DISTANCE/ LAPS display. Press the SPEED/_ button to change the unit of measurement. Remove and then reinsert the key.ProForm J6si Treadmill-24CALS/FAT CALS/ PULSE display–This display shows the approximate numbers of calories and fat calories you have burned (see FAT BURNING on page 17). Every seven seconds, the display will change from one number to the other, as shown by the arrows in the display. This display will also show your heart rate when the pulse sensor is used (see step 7).ProForm J6si Treadmill-25
  7. Measure your heart rate, if desired.
    Stand on the foot rails and place your hands on the metal contacts on the handrail. Your palms must be resting on the upper contacts, and your fingers must be touching the lower contacts– avoid moving your hands while measuring your heart rate. After a moment, the heart-shaped indicator in the CALS/FAT CALS/PULSE display will flash steadily, and a “P” will appear in the display. After a few seconds, three dashes (- – -) will appear in the display, and your heart rate will be shown. For the most accurate heart rate reading, continue to hold the contacts for about 15 seconds.ProForm J6si Treadmill-26
  8. When you are finished exercising, remove the key.
    Step onto the foot rails and remove the key from the console. Keep the key in a secure place. In addition, move the on/off switch to the off position and unplug the power cord. (See the drawing on page 10.)

THE INFORMATION MODE

To access the information mode, hold down the START/ STOP button while inserting the key into the console. An “E,” for English miles, or an “M,” for metric kilometers, will appear in the DISTANCE/ LAPS display. If you want to change the unit of measurement, press the SPEED button.

ProForm J6si Treadmill-27

The TIME/PACE display will show the total number of hours the treadmill has been used.

ProForm J6si Treadmill-28

The SPEED display will show the total number of miles that the walking belt has moved.

ProForm J6si Treadmill-29

To exit the information mode, remove the key from the console.

PULSE SENSOR TROUBLESHOOTING

  • Make sure to stand on the foot rails and avoid moving your hands while measuring your heart rate. Excessive movement may interfere with heart rate readings. If the pulse sensor is not used correctly, your heart rate will not be shown.
  • Do not hold the metal contacts too tightly; doing so may interfere with heart rate readings.
  • For the most accurate heart rate reading, wait for about 15 seconds.
  • For optimal performance of the pulse sensor, keep the metal contacts clean. The contacts can be cleaned with a soft cloth–never use alcohol, abrasives, or chemicals.

For more manuals by ProForm, visit ManualsLibraryy

ProForm J6si Treadmill- FAQs

Can I use the treadmill without shoes?

It’s not recommended—shoes provide support and prevent injuries.

What’s the best speed for beginners?

Walking: 2–4 mph
Jogging: 4–5 mph
Running: 5+ mph

How do I check treadmill speed accuracy?

Use a stopwatch to time how long it takes to cover a set distance (e.g., 0.1 mile).

Is ProForm a reliable treadmill brand?

Yes, ProForm offers budget-friendly, durable treadmills with good warranties.

Can I lose belly fat on a treadmill?

Yes! Moderate to high-intensity workouts (30+ mins daily) help burn fat.

Should I turn off the treadmill after each use?

Yes, unplugging it saves energy and prolongs motor life.

How do I clean my treadmill?

Wipe the console, belt, and handles with a damp cloth after each use.

What if my treadmill stops suddenly?

Check the safety key.
Ensure proper power supply.
Avoid overloading the motor.

Can I watch TV while using the treadmill?

It’s not recommended—distractions can lead to poor posture or falls.

Leave a comment

Your email address will not be published. Required fields are marked *