
Ring Video Doorbell 3

Charge the provided battery.
Plug the battery in.
First, fully charge the battery by plugging it into a power source using the provided orange cable.
The small light on top will glow green once fully charged.
If you can’t wait to play with your Video Doorbell, go ahead and set it up. But we recommend fully charging it before installation.
Insert the battery.
After charging, insert the battery into the bottom of your Video Doorbell until it clicks into place.
Set up your Video Doorbell in the Ring app.
Download the Ring app.
The Ring app walks you through setting up and managing your Video Doorbell.
Search for “Ring” in one of the app stores below, or visit: ring.com/app
Set up your Video Doorbell near your Wi-Fi router.
In the Ring app, select Set Up a Device.
When prompted, select Doorbells and follow the in-app instructions.
Try it out!
After setup, push the button on the front of your Video Doorbell to see video from the camera in the Ring app.
Install your Video Doorbell.
Select your install height.
Install the Video Doorbell approximately four feet above the ground for optimal performance.
If you’re connecting to existing doorbell wiring that’s higher than four feet, thus limiting where you can install your new Doorbell, use the provided wedge mount to angle your Doorbell down.
Steps for wiring to an existing doorbell
Remove your existing doorbell. (optional)
If replacing an existing doorbell, shut off the power at the breaker. Then remove it from the wall and disconnect the wires.
If your doorbell transformer supplies 8-24 volts AC (50/60Hz, 40VA max), we suggest wiring in your Video Doorbell.
This enhances performance and extends battery life.
- If wiring directly to a doorbell transformer, connect a 25-ohm, 50W wirewound resistor in series with one of the doorbell wires to protect your Video Doorbell.
- Do not wire your Video Doorbell to a DC-powered intercom system or other DC power source.
Insert the mini-level.
Insert the mini-level into your Video Doorbell to make sure it’s even when you install it.
Install the anchors. (optional)
If installing on stucco, brick, or concrete, mark 4 drill holes. Use the provided masonry drill bit to drill holes in your wall, then insert the included anchors.
If you’re installing on wood, skip this step and toss the anchors in that drawer of stuff you never use.
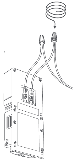
Connect the wires. (optional)
Connect the wires coming out of your wall to the screws on the back of your Video Doorbell.
Either wire can connect to either screw. The order doesn’t matter.
Attach the wire extensions. (optional)
If you have trouble connecting the wire coming out of your wall to the back of your Video Doorbell, use the provided wire extensions and wire nuts.
Screw it in.
Feed all the wires (and the wire nuts, if you used them) into your wall and secure your Video Doorbell on the wall using four screws.
Install the faceplate.
Place one of the provided faceplates on your Video Doorbell by slotting it in at the top and clicking it into place.
Secure the faceplate.
Lastly, insert one of the provided security screws into the bottom, and tighten with the star-shaped end of the screwdriver bit. That’s it! Your Video Doorbell is now ready to use.
For additional help, visit: ring.com/help
Or give us a call…
- US 1 800 656 1918
- Canada 1 855 300 7289
- Worldwide +1 310 929 7085
- AU 1 300 205 983
- NZ +64 9 887 9871
For a list of all our customer support numbers, visit: ring.com/callus
For more Manuals by Ring, visit ManualsLibraryy
Ring Video Doorbell 3-FAQs
How many devices can connect to my Ring Doorbell 3?
You can connect as many devices as you want. There’s no fixed limit—it mostly depends on your Wi-Fi network’s capacity.
Can I share my Ring Doorbell 3 with other users?
Yes, you can share access with multiple people by adding them as Shared Users through the Ring app.
Does Ring Doorbell 3 work without Wi-Fi?
No, a Wi-Fi connection is required to set up and use Ring devices. They don’t work with mobile hotspots or Bluetooth.
Is the Ring Doorbell 3 waterproof?
It is water-resistant and designed for outdoor use, but it should not be submerged in water or exposed to heavy moisture.
What kind of screwdriver do I need for installation?
You’ll need a T15 Torx (star-shaped) screwdriver, which usually comes with the device.
How many Ring cameras can I use with my account?
You can add an unlimited number of cameras to one Ring account. However, Ring Protect Basic covers only one camera, while Protect Plus covers all devices.
Can I use Ring Doorbell 3 at different locations?
Yes, you can manage multiple addresses under one Ring account using the Locations feature.
Does Ring Doorbell 3 record when offline?
No, Ring devices need a stable internet connection to record or access footage.
