
Samsung RS261MDRS Side by Side Referigerator

SAFETY INFORMATION
Before using your new Samsung Side-By-Side Refrigerator, please read this manual thoroughly to ensure that you know how to safely and efficiently operate the features and functions that your new appliance offers. This appliance is not intended for use by people (including children) with reduced physical, sensory, or mental capabilities, or a lack of experience and knowledge, unless they have been given supervision or instruction concerning use of the appliance by a person responsible for their safety.
- If the wall socket is loose, do not insert the power plug. There is a risk of electric shock or fire.
- Do not use a cord that shows cracks or abrasion damage along its length or at either end.
- Do not bend the power cord excessively or place heavy articles on it.
- Never unplug your refrigerator by pulling on the power cord. Always grip the plug firmly and pull straight out from the outlet.
- Damage to the cord may cause a short-circuit, fire, and/or electric shock.
- Do not use aerosols near the refrigerator. Aerosols used near the refrigerator may cause an explosion or fire.
- This refrigerator must be properly installed and located in accordance with the manual before it is used.
- Connect the power plug in the proper position with the cord hanging down. If you connect the power plug upside down, the wire can get cut off and cause a fire or electric shock.
- When moving the refrigerator, be careful not to roll over or damage the power cord. This constitutes a fire hazard.
- Make sure that the power plug is not squashed or damaged by the back of the refrigerator.
- Keep the packing materials out of reach of children.
- There is a risk of death from suffocation if children put them on their heads.
- The appliance must be positioned so that the plug is accessible after installation.
- You need to remove all the protective plastic film before you initially plug in to use the product.
GETTING READY TO INSTALL THE REFRIGERATOR
Congratulations on the purchase of your Samsung Side-By-Side Refrigerator. We hope you will enjoy the many state-of-the-art features and efficiencies that this new appliance has to offer.
Selecting the best location for the refrigerator
- Select a location with easy access to the water supply.
- Select a location without direct exposure to sunlight.
- Select a location with level(or nearly level) flooring.
- Select a location with enough space for the refrigerator doors to open easily.
- Allow sufficient space to install the refrigerator on a flat surface.
- If your refrigerator is not level, the internal cooling system may not work correctly.
- Refer to the drawing and dimensions below for the overall space required for use.

When moving your refrigerator

To prevent floor damage, be sure the front leveling legs are in the up position (above the floor). Refer to ‘Leveling the refrigerator’ in the manual (page 15). To protect the finish of the flooring, place a protective sheet, such as a packing carton, under the refrigerator.

When installing, servicing, or cleaning behind the refrigerator, be sure to pull the unit straight out and push it back in straight after finishing.
First things first! Make sure that you can easily move your refrigerator to its final location by measuring doorways (both width and height), thresholds, ceilings, stairways, etc. The following chart details the exact height and depth.

- Allow clearance to the right, left, back, and top when installing. This will help reduce power consumption and keep your energy bills lower.
- Make sure you disconnect the water supply line BEFORE removing the freezer door. To avoid damage, refer to ‘Separating the water line’ in the manual(page 12).
SETTING UP THE REFRIGERATOR
Now that you have your new Refrigerator installed in place, you are ready to set up and enjoy the features and functions of the appliance. By completing the following steps, your Refrigerator should be fully operational. If not, first check the power supply and electricity source, or try the troubleshooting section at the back of this user’s guide. If you have any further questions, contact your Samsung Electronics service center.
- Place the Refrigerator in an appropriate location with reasonable clearance between the wall and the Refrigerator. Refer to the installation instructions in this manual.
- Once the Refrigerator is plugged in, make sure the interior light comes on when you open the doors.
- Set the Temperature control to the coldest temperature and wait for an hour. The Freezer will get slightly chilled, and the motor will run smoothly.
- After powering the Refrigerator, it will take a few hours to reach the appropriate temperature. You can store food and drinks in the Refrigerator after the temperature is sufficiently cool.
Check the accessory list below.

Installing the handles
- Take the handles out from the right side door.

- Check if the word “UP” on the rear of the handle is facing right side up.

- Match the upper and lower handle locking tabs on the doors to the handles.

- Fix the handles to the doors by sliding them down firmly until you hear a click sound.

- Check the installation of the handles by pulling on them. If the handles have been inserted correctly, they should not move. Ensure the 2 handles are horizontally aligned.

SETTING UP THE REFRIGERATOR(CONT’D)
If your entrance won’t allow the refrigerator to pass easily through it, you can remove the doors.
Removing the Front Leg Cover
First, open both the freezer and refrigerator doors, and then take off the front leg cover by turning the three screws counter-clockwise.

Separating the water supply line from the refrigerator
- Remove the water tube by pressing the coupler and pulling the water tube away

Reattaching the water supply line
- While pressing the front face of the coupler, Line, insert the water line in the coupler. Carefully place the front cover and push to snap it into position.

Removing the freezer door
A few things to mention first
- Make sure that you lift the door straight up so the hinges are not bent or broken.
- Be careful not to pinch the water tubing and wire harness on the door.
- Place doors on a protected surface to prevent scratching or damage.
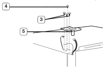
- With the Freezer door closed, remove the upper hinge cover 133 using a screwdriver, and then disconnect the wires.

- Remove hinge bolts and a ground screw counter-clockwise, and take off the upper hinge in the direction of the arrow. Be careful when removing the door to ensure that it does not fall on you.

- Remove the door from the lower hinge by carefully lifting the door

- Remove the lower hinge from the lower hinge bracket by lifting the lower hinge in the direction of the arrow.

SETTING UP THE REFRIGERATOR(CONT’D)
Removing the front door
- With the door closed, remove the upper hinge cover using a screwdriver

- Remove hinge bolts and ground screw counter-clockwise, and take off the upper hinge in the direction of the arrow. Be careful when removing the door to ensure that it does not fall on you

- Remove the door from the lower hinge by lifting the door

- Remove the lower hinge from the lower hinge bracket by lifting the lower hinge in the direction of the arrow.

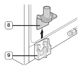
LEVELING THE REFRIGERATOR
Now that the doors are back on the refrigerator, you want to make sure the refrigerator is level so that you can make final adjustments. If the refrigerator is not level, it will not be possible to get the doors perfectly even.
Before leveling the refrigerator, remove the front leg cover
Open both the freezer and fridge doors, and then take off the front leg cover by turning the three screws counter-clockwise.

When the Freezer part is lower than the Fridge part.
Insert a flat-blade screwdriver into a slot on the Freezer Leg, then turn it clockwise.
When the Fridge part is lower than the Freezer part.
Insert a flat-blade screwdriver into a slot on the Fridge Leg, then turn it clockwise.

MAKING MINOR ADJUSTMENTS TO THE DOORS
Remember, a level refrigerator is necessary for getting the doors perfectly even. If you need help, review the previous section on levelling the refrigerator.
In the case of the process to correct the imbalance is the same. Open the doors and adjust them, one at a time, as follows:
- Unscrew the nut from the lower hinge until it reaches the upper end of the bolt

- Adjust the height difference between the doors by turning the bolt clockwise or counterclockwise

- After adjusting the doors, turn the nut clockwise until it reaches the lower end of the bolt, then tighten the bolt again with the wrench to fix the nut in place.

CHECKING THE WATER DISPENSER LINE
- A water dispenser is one of the helpful features on your new Samsung Refrigerator. To help promote better health, the Samsung water filter removes unwanted particles from your water. However, it does not sterilize or destroy microorganisms. You may need to purchase a water purifying system to do that.
- For the ice maker to operate properly, a water pressure of 20-125 psi (pounds per square inch)is required. Under normal conditions, a 170 cc (5.75 oz.) paper cup can be filled in 10 seconds.
- If the Refrigerator is installed in an area with low water pressure (below 20psi), you can install a booster pump to compensate for the low pressure.
- Make sure the water storage tank inside the Refrigerator is properly filled. To do this, press the water dispenser lever until the water runs from the water outlet.
Connecting to the water supply line
- First, shut off the main water supply line and turn the ice-maker off.
- Locate the nearest cold, drinking water line.
- After connecting the water supply to the water filter, turn your main water supply back on and flush 3 gallons(approximately 6 minutes) into a bucket to clear and prime the water filter.

INSTALLING THE WATER LINE
Connecting the water line to the Refrigerator
There are several items that you need to purchase to complete this connection. You may find these items sold as a kit at your local hardware store.
- 1/4″ compression nut
- plastic tubing
- Copper tubing
- Ferulle

- Slip the compression nut ® through the supplied plastic tubing ®.
- Tighten the compression nut ® onto the 1/4″ compression fitting.
- If you are using copper tubing, slip the compression nut ® (not included) and ferrule (not included) on copper tubing (not included) as shown.
- If you are using plastic tubing ®, insert the molded end(Bulb) of the plastic tubing @ into the compression fitting.
- Tighten the compression nut ® onto the compression fitting. Do not over-tighten the compression nut ®.
- Turn the water on and check for any leakage.
Removing residual matter inside the water supply line after installing a filter

- Turn ON the main water supply.
- Press the Water button and push the dispenser pad.
- Flush 3 gallons of water through the filter before use. (Flush approximately 6 minutes.) This will clean the water supply system and remove air from the lines.
- Additional flushing may be required in some households.
- Open the refrigerator door and make sure no water leaks are coming from the water filter.
Check the amount of water supplied to the ice tray
- Lift and pull out the Ice maker bucket in the freezer.

- When you press the Test button for 3 seconds, the ice cube container is filled with water from the water supply tap. Check to make sure the amount of water is correct (see the illustration). If the water level is too low, the ice cubes will be small. This is not a problem with the ice maker but with the water pressure in the pipe. When this problem occurs, contact the dealer service center to check the amount of water
supplied.
- In case the ice does not come out, pull out the ice bucket and press the test button located at the bottom of the ice maker.
CHECKING THE CONTROL PANEL


USING THE CONTROL PANE
Freezer/Fridge (Temperature adjustment)
Press the Freezer or Fridge button until the desired temperature is set. For a lower temperature, press the Freezer or Fridge button until more LED lights (coldest). For a higher temperature, press the Freezer or Fridge button until fewer LED lights (cold).
Each time you press the Freezer or Fridge button, the temperature indicator will change in below order.

Lighting
This icon will light up when you activate the Lighting function. In this case, the dispenser light (under the display) will be on constantly. If you would like the dispenser light to come on only when using the dispenser, turn the Lighting function off by pressing the Lighting button.
Power Freeze
This icon will light up when you activate the Power Freeze function. The Power Freeze function generates cool air for 72 hours continuously, and it makes the inside of the refrigerator cool faster. This function is useful when you make ice more quickly. When you have enough, just press and hold the Freeze (Hold 3 sec for Power Freeze) button again for 3 seconds to cancel the Power Freeze function.
Child Lock
This icon will light up when you activate the Lock function. In this case, you will not be able to use the control panel. If you press and hold the Energy Saver (Hold 3 sec for Child Lock) button again for 3 seconds, you will be able to use the control panel again.
Power Cool
This icon will light up when you activate the Power Cool function. The Power Cool function is great for a quick fridge cool-down. If you activate the Power Cool function, the inside temperature of the Fridge will decrease for about two and a half hours.
USING THE ICE AND COLD WATER DISPENSER

STORING FOOD
The Samsung Side-By-Side Refrigerator has been designed to provide you with maximum space-saving features and functions. Here are some of the customized compartments we have created to keep your food fresher, longer. Remember, to prevent odor penetration into the ice, stored food should be wrapped securely and as airtight as possible.

Storing Food in the Freezer

Storing Food in the Fridge

CLEANING AND MAINTENANCE
REMOVING THE FREEZER/FRIDGE ACCESSORIES
- Door Bin/Dairy Bin

Firmly grab the door bin with both hands and lift it gently to remove the door bin. - Shelves

Pull the shelf out as far as it goes. Then lift it and remove it. (Wire Shelf/Glass Shelf) - Drawer

Pull the drawers out fully, then slightly lift them to remove the. (Drawer/Fruit & Vegetable Drawer) - Snack Bin

Remove the drawer by holding the handle, pulling the drawer out, and then lifting the back side of the drawer bottom smoothly with the other hand.
WATER FILTER CHART

TROUBLESHOOTING

FOR MORE MANUALS BY SAMSUNG, VISIT MANULSLIBRARYY
Samsung RS261MDRS Side by Side Refrigerator-FAQs
Q1. What is the total storage capacity of the Samsung RS261MDRS?
This refrigerator offers a total capacity of 26 cu. ft., with 9.4 cu. ft. for the freezer and the rest for fresh food storage.
Q2. What temperature should I set my Samsung refrigerator to?
For best performance, set the refrigerator to 38°F (3°C) and the freezer to -2°F (-19°C).
Q3. What are the most common problems with Samsung refrigerators?
Some common issues include cooling failure, water leaks, noisy operation, ice maker not working, defrosting issues, and uneven food temperatures.
Q4. Why is my Samsung side-by-side refrigerator not making ice?
Check the water filter, water inlet valve, and water pressure. Low pressure, a blocked valve, or a dirty filter can prevent ice production.
Q5. How many ice cubes can a Samsung refrigerator make in a day?
On average, Samsung refrigerators with built-in ice makers can produce about 120 cubes per day, depending on water pressure and temperature.
Q6. How long does it take a new Samsung refrigerator to start making ice?
After installation, it may take 6 to 12 hours before the ice maker produces ice. Discard the first 2–3 batches to ensure clean water flow.
Q7. Why is water leaking from my refrigerator?
Leaks may be caused by air trapped in the water line, ice buildup in the chute, a faulty drain pan, or improper door sealing.
Q8. How do I reset the ice maker on my Samsung refrigerator?
Locate the test/reset button on the ice maker, press and hold until you hear a chime. If the ice bucket is stuck, defrost before resetting.
Q9. How often should I replace the water filter?
Replace the filter every 6 months or when the indicator light turns on to ensure clean and fresh-tasting water.


















