
Simply Ming 1500W Flash Fryer

IMPORTANT SAFEGUARDS
When using electrical appliances, basic safety precautions should always be observed, including the following:
- Read all instructions before using.
- Do not touch hot surfaces. Use handles or knobs.
- To protect against electric shock do not immerse the cord, plug, and fryer in water or other liquid.
- Close supervision is necessary when any appliance is used near children.
- Unplug from the outlet when not in use and before cleaning. Allow to cool before putting on or taking off parts, and before cleaning the appliance.
- Do not operate any appliance with a damaged cord or plug or after the appliance malfunctions, or has been damaged in any manner. Return the appliance to the nearest authorized service facility for examination, repair, or adjustment.
- The use of accessory attachments not recommended by the appliance manufacturer may cause injuries.
- Do not use outdoors.
- Do not let the cord hang over the edge of the table or counter, or touch hot surfaces.
- Do not place it on or near a hot gas or electric burner, or a heated oven.
- Extreme caution must be used when moving an appliance containing hot oil or other hot liquids.
- Always attach the plug to the appliance first, then plug the AC cord into the wall outlet. To disconnect, turn the control to “off”, then remove the plug from the wall outlet before removing the breakaway cord from the fryer
SAVE THESE INSTRUCTIONS
- Be sure to assemble all the parts as explained in the instructions. Place the electrical connector properly on the appliance body to correctly assemble it.
- The oil level must always be between the min. and max. markers, stamped inside the bowl. Check this each time prior to cooking and add some of the same type of oil if necessary to achieve the required level.
- Food must be dried thoroughly before frying. This will prevent the oil from splattering and/or overflowing and will extend the life of the oil.
- We recommend changing the oil after a maximum of 8 to 12 uses.
- Leave the fryer (and the oil within)to cool completely before filtering (3 hours).
DO NOT
- Do not mix different types of oil as it may cause the oil to overflow.
- Never exceed the maximum capacity
- Never place your hand above the filter opening or on the window.
- The steam and the glass window are extremely hot. Do not touch the walls of the fryer as they can also be very hot.
- Never move the fryer while the oil is hot.
- Never move the fryer with the lid opened.
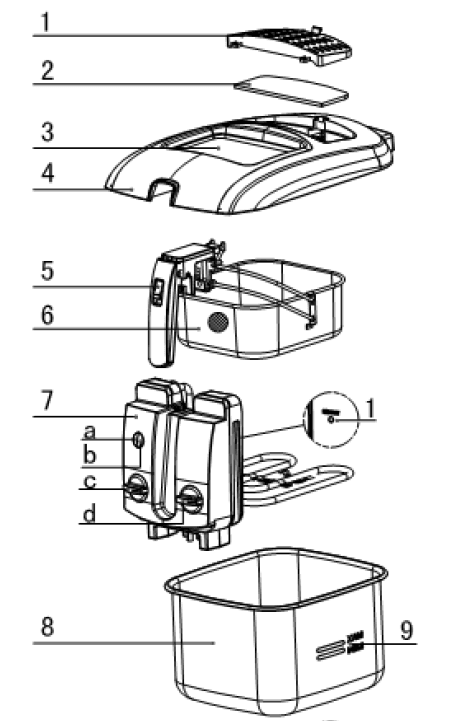
DESCRIPTION
- Filter cover
- Anti-odor charcoal filter
- Viewing window
- Removable lid
- Handle unlocking button
- Basket

- Removable control panel
- a. power light
- b. working light
- c. timer knob
- d. temperature knob
- e. restart/reset
- Oil Container
- Min. and Max. oil level markers
- Lid opening button
- Body
- Carrying handles
- Electrical connector
- Magnetic power supply cord

PREPARATION
Before first use
- Remove all packaging from the exterior and interior of the fryer.
- Make sure the fryer is unplugged.
- Clean all parts (except the control panel, anti-odor filter, electrical connector and magnetic supply cord) with a sponge and dish soap or put them through the dishwasher on the top rack.

- Thoroughly dry all parts before use.
- Do not immerse the cord, power strip or control panel assembly in water or any other liquid.
- Place the electrical connector, the bowl, the control panel and the basket back on the fryer.

Filling the Oil Container
- Never exceed the maximum level indicated in the bowl.
- Use oil recommended for deep frying: vegetable oil, corn oil, canola oil, etc.
- If you use solid vegetable shortening, cut it into pieces and melt it in a separate pan then pour it inside the fryer (do not melt the blocks of shortening in the basket or in the oil container).
- Never exceed 302°F to melt the vegetable shortening, always follow the cooking instructions (see cooking tables p.10).

- After the oil container has been filled with oil, close the lid, connect the magnetic supply cord, and plug in the appliance without the frying basket.

Loading the basket
- Remove excess moisture (water and ice) from the food.
- Fill the basket away from the deep fryer.
- Do not overfill the basket.
- Reduce the quantity for frozen food.
- Place the basket in position on the edge of the oil container and leave the handle in the horizontal position.
- Close the lid.
- Cooking tip: Cut food into similar-sized pieces so that they cook evenly. Avoid using pieces that are too thick

Lowering the basket
- When the oil has reached the correct temperature, the temperature light (green) will go out.
- Press the handle unlocking button and fold the handle very slowly into its housing to lower the basket into the oil. Plunging the basket too rapidly in the oil may cause it to overflow.
- CAUTION: Always replace and close the lid before immersing food in oil. Do not immerse or drain food with lid removed or open.
Set the cooking time
- Set the timer to the desired time.
- The countdown starts.
- During cooking, it is normal for the temperature light to cycle on and off.
- During cooking, you have the opportunity, without opening the lid, to raise the basket resulting in more even cooking.
At the end of cooking time
- The timer sounds indicating the selected cooking time has elapsed.
- The timer signals the end of the cooking time and stops the appliance at the same time.
- Lift the basket handle horizontally to raise the basket until you hear a “click” as it locks.
- Turn the thermostat down to the lowest setting.
- Open the lid.
- Remove the basket, making sure that it comes completely out of the oil container and the removable control panel.
- Close the lid while not in use.

TABLE OF COOKING TIMES
- The cooking times are a guide only, they may vary depending on the size of the food, the amount of food, and individual preferences.
- Cooking tips: For best results, use the traditional French method of frying homemade French fries:
- first frying at 320°F
- second frying at 375°F
- Cooking times are approximate

CLEANING
Filtering the oil
You may store the oil in the fryer, or in a separate airtight container.
- Do not pour used oil into the sink. Leave it to cool, and throw it away with the household waste – according to local community regulations.
- Crumbs that break away from foods tend to burn and alter the quality of the oil more rapidly. Over time, this increases the risk of catching fire. For this reason, filter the oil regularly.
Cleaning the fryer
- Do not handle the appliance without having it unplugged, powered off, and allowing it to cool (3 hours) beforehand.
- Remove the filter cover then the filter. Do not wash or wet the anti-odor filter.
- Open and remove the lid from the fryer.
- Remove the basket.
- Remove the control panel.
- Remove the oil container from the housing.
- Remove the electrical connector.
- The basket, lid, body, and oil container can be washed in the dishwasher on the top rack or immersed in soapy water. Do not immerse the cord, power strip or control panel assembly in water or any other liquid.
- Dry all parts thoroughly before putting them back together.
- Take time to assemble all the parts correctly.
- Place the lid back on the fryer.
- Put the anti-odor filter and the filter cover into place.
- Do not use any type of steel wool to clean magnetic contacts

TROUBLESHOOTING

RECIPES
Easy Flash-Fryer Donut Bites
- 1 can Pillsbury™ Grands!™ Flaky Layers refrigerated biscuits (8 biscuits)
- Vegetable Oil for Frying
- 1 cup powdered or granulated sugar
- Preheat fryer to 265.
- Separate dough into 8 biscuits. Using small round lid or cookie cutter, cut a hole in the center of each biscuit. Using metal tongs, gently place the circles into the lowered fry basket. Fry for about 4 minutes in a covered fryer, turning after 3 minutes. Raise the basket and allow the donuts to drain. Top with sugar.

Southern-Fried Chicken
- 3 lbs. Chicken pieces; bone-in
- 8 cups cool water
- 2 Tablespoons salt
- 1 ½ cups flour
- 2 teaspoons salt
- 1 teaspoon paprika
- ½ teaspoon ground black pepper
- Wash chicken and place into 8 cups water with 2 Tablespoons salt. Allow to soak for 30 minutes. Drain water and pat the chicken dry. Preheat your fryer to 340.
- Place flour and seasonings into a large zip-close baggie. Add chicken, 2-3 pieces at a time, to baggie and toss to thoroughly coat chicken pieces. Allow to sit 5 minutes and then toss again.
- When the fryer temperature indicator light goes out, remove lid and lower the basket. Using long tongs, gently place chicken, one piece at a time, into the oil. Do not overcrowd the fryer. You may have to cook the chicken in two batches. Cover fryer and cook for 13-15 minutes or until done. Raise the lid and allow draining 30 seconds. Place chicken onto a paper towel to remove any excess oils. Repeat with remaining chicken.

For more manuals by Simply Ming visit, ManualsLibraryy
Simply Ming 1500W Flash Fryer-FAQs
What is the ideal oil temperature for frying?
The best oil temperature for deep frying ranges between 325°F and 375°F. When food is added, the temperature may drop but should stay between 250°F and 325°F depending on the recipe.
How long does it take to fry French fries?
After drying the potatoes thoroughly, heat oil to 375°F (190°C). Fry for about 5 to 6 minutes until golden brown. Drain on paper towels and season as desired.
How long does it take to fry chicken like KFC?
KFC-style chicken is deep-fried for approximately 15 minutes, then left to drain for another 5 minutes, totaling 20 minutes.
How many minutes does it take to fry an egg?
Fry an egg in a pan with butter or oil over medium heat. Cook for about 3 minutes until the whites are set. If flipping, cook for another 2 to 3 minutes until the yolk is set.
What is the process for flash frying chicken?
Flash frying involves quickly frying chicken in hot oil for about 12 seconds until deep golden brown. Remove using tongs or a wire basket and drain on a rack or paper towels.
What are the key rules for deep frying?
1. Avoid overcrowding the fryer basket, as it can lead to uneven cooking.
2. Do not touch the basket or add food while it is submerged in hot oil to prevent burns or splattering.
3. Never leave your fryer unattended while in use.
What happens if water gets into the fryer oil?
Water and hot oil do not mix. Water rapidly vaporizes into steam when added to hot oil, causing dangerous splattering.
Is a 1500-watt air fryer powerful enough?
Yes, a 1500-watt air fryer is ideal for efficient cooking with reasonable energy consumption. For individual use, 800-1200 watts is sufficient, while families may require 1000-1700 watts.
How much electricity does a 1500-watt air fryer use?
A 1500-watt air fryer consumes about 45 kWh per month (1.5 kW x 30 days) and approximately 547.5 kWh annually (1.5 kW x 365 days).
How do you determine fryer capacity?
Fryer capacity is measured by the pounds of oil it holds. Typically, a 40-pound fryer can hold 40 pounds of oil and can produce up to twice that weight in food per hour.
How long does a fryer take to heat up?
Most fryers take 5 to 15 minutes to reach the desired temperature. A signal light will indicate when the oil has reached the set temperature and is ready for use.
Why does my fryer keep turning off?
If your fryer frequently shuts off, it may be overheating. Allow it to cool for 10-15 minutes before restarting to continue cooking safely.












