Blog Post

Smart Radiator Thermostat X featured image

Smart Radiator Thermostat X Manual

tado°-logo

Smart Radiator Thermostat X

Smart Radiator Thermostat X product image

Introduction

The Smart Radiator Thermostat X is a modern heating control device designed to bring precision, comfort, and energy efficiency to home temperature management. Unlike traditional thermostatic valves, this smart solution allows users to regulate room-by-room heating with greater accuracy through digital controls and automated scheduling. Adjusting radiator output based on real-time temperature readings, it helps maintain a consistent indoor climate while reducing unnecessary energy consumption. One of the key advantages of the Smart Radiator Thermostat X is its ease of integration into existing heating systems. It is typically compatible with most standard radiator valves, making installation straightforward for both homeowners and professionals. Once installed, users can control the device manually, through a central hub, or via a mobile application, depending on the system setup. This flexibility ensures that heating can be managed conveniently, even when away from home. The device often includes smart features such as programmable schedules, open-window detection, and adaptive learning, which optimize heating patterns based on user behavior. These features not only improve comfort but also contribute to lowering utility bills over time. In addition, the Smart Radiator Thermostat X supports a more sustainable lifestyle by minimizing energy waste. Overall, the Smart Radiator Thermostat X represents a practical upgrade for anyone looking to modernize their home heating system, offering a balance of convenience, control, and long-term efficiency.

Power the Smart Radiator Thermostat X

Smart Radiator Thermostat X 1

  • A. Rotate the battery until it clicks and releases.Smart Radiator Thermostat X 2
  • B. Remove the battery strip.Smart Radiator Thermostat X 3
  • C. Reinsert and rotate the battery until it clicks into place to power the device.Smart Radiator Thermostat X 4
  • D. Rotate the control knob to choose the language. Tap the screen to confirm.

Info: Wait until the wrench symbol stops blinking before continuing.

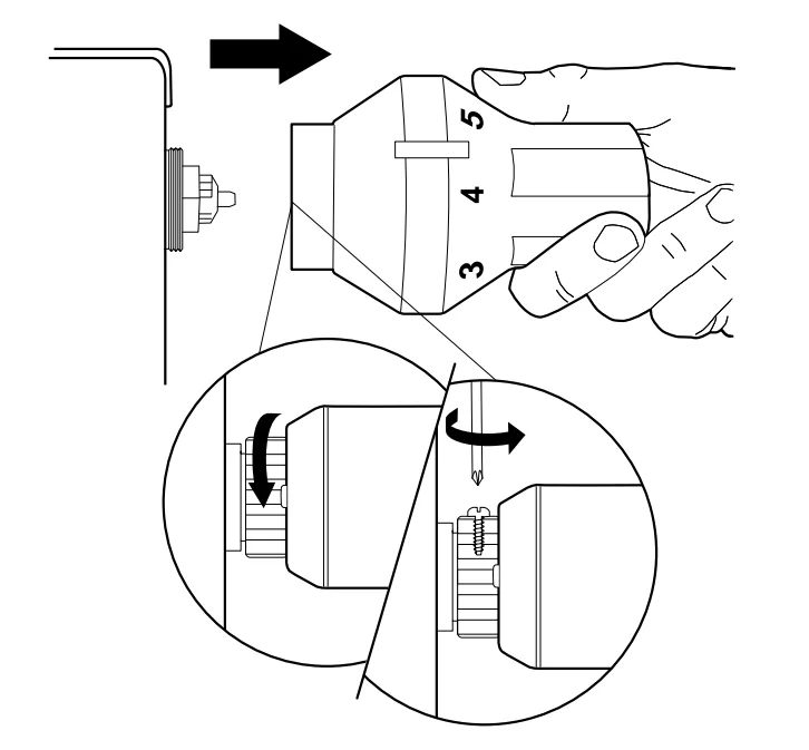
Mount the Smart Radiator Thermostat X

Smart Radiator Thermostat X 5

  • A. Unmount the existing thermostatic valve head.Smart Radiator Thermostat X 6
  • B. Screw the Smart Radiator Thermostat X onto the valve.Smart Radiator Thermostat X 7
  • C. Rotate the control knob until you see the message below. Tap and hold for 3 seconds to confirm mounting.Smart Radiator Thermostat X 8
  • D. Wait for mounting to complete.Smart Radiator Thermostat X 9
  • E. Rotate the control knob until the display has the desired orientation. Then tap the screen to confirm.

Info: You may need an adapter. The inlay in the package can be used to find the right adapter.

Info:  Ensure the display orientation is ideal for customer use.

Test the system

Smart Radiator Thermostat X 10

  • A. Adjust to maximum temperature.Smart Radiator Thermostat X 11
  • B. Wait 3 min and check if the valve opens.Smart Radiator Thermostat X 12
  • C. Turn the radiator OFF and check if the valve closes.Smart Radiator Thermostat X 13
  • D. Your tado° installation is complete.

Handover to the customers

Smart Radiator Thermostat X 14

  • Provide customers with the “Get started” card that includes instructions for setting up the device in the tado° app.

Need help?

Smart Radiator Thermostat X 15

  • Need help?
    +44 20 3893 2159

Smart Radiator Thermostat X 16

For more manuals by tado˚, visit ManualsLibraryy

Smart Radiator Thermostat X-FAQs

What is a Smart Radiator Thermostat X?

It is an advanced radiator valve that automatically controls room temperature. You can manage each radiator separately, set schedules, and adjust heating remotely through an app or voice assistant.

How does it work?

It regulates hot water flow into the radiator based on your desired temperature. If the room is cold, it opens the valve; if it reaches the set temperature, it reduces or stops heat flow.

What is the benefit of using it instead of a normal radiator valve?

Unlike manual valves, it offers smart control, automation, and energy savings by heating only the rooms you use.

Can I control it from my phone?

Yes, you can control temperature, schedules, and usage data directly through a mobile app from anywhere.

Does it require internet to work?

Basic heating control can still function without internet, but smart features like remote access and app control require connectivity.

Can I install it myself?

In many cases, yes. Installation is usually simple, but if wiring or system compatibility is involved, professional help may be needed.

Can it work with smart home systems?

Yes, it typically integrates with voice assistants and smart home platforms for automated control.

Does it help save energy?

Yes, by heating only occupied rooms and avoiding overheating, it can significantly reduce energy consumption.

Leave a comment

Your email address will not be published. Required fields are marked *