
TackLife T8 Pro 1200A Peak 18000mAh Jump Starter

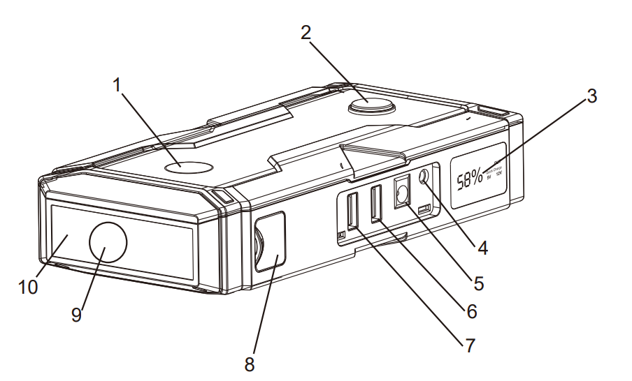
PARTS AND FUNCTIONAL DESCRIPTION
- Power Button
- Compass
- LCD Screen
- 15V/1A Input
- 12V/10A Output
- 5V/2.1A Output
- Quick Charge Output
- 12V Smart Jumper Socket
- LED Flashlight (Stable/Strobe/SOS)
- Emergency Light


LCD SCREEN DISPLAY
Press the power button, and the LCD screen will show the remaining power of the T8 Pro. When it is fully recharged, it will show 100%, while XX% indicates there is XX% power left. The product is being charged when the LCD screen shows “IN”. The LCD screen will show “OUT” when the 5V/9V quick charge or 12V output is being used.
Steps To Charge The T8 Pro
- Plug the wall charger into the universal socket.
- Plug the end of the wall charger into the 15V input port of T8 Pro.
OR
- Plug the car charger into the socket of the cigarette lighter.
- Plug the end of the car charger into the 15V input port of T8 Pro.

How To Jump Start 12V Vehicles
Firstly, plug the blue end of the jump clamps into the host of T8 Pro. Secondly, connect the jump clamps with the car battery, red to the positive (+) battery terminal and black to the negative (-). Then operate with the following instruction:
- Make sure all of the connections are right, and then start the engine.
- Once you have started your engine, disconnect the clamps and remove the T8 Pro.


Use T8 Pro To Charge Your Cell Phone And Tablet
- Plug the USB cable into the USB quick charge output of the device.
- Connect the Micro-USB end to your cell phone or tablet.
- Push the power button, and the device will charge your cell phone or tablet.

Use T8 Pro To Power Other Car Equipment
- Plug the cigarette adapter into the 12V/10A output of the device.
- Connect the power cable of the other 12V car equipment to the cigarette adapter.
- Press the power button to power the other 12V vehicle equipment.
LED Flashlight Instructions
- Hold the power button for a few minutes to turn on the flashlight. Press one more time to change the modes from Stable, Strobe, and SOS to OFF.
- Press the power button twice quickly to turn on the red emergency light. Press one more time to turn it OFF.
PART LIST

TECHNICAL SPECIFICATION
- Model: T8 Pro
- Size: 185*87*40mm
- Weight: 550g
- Battery Capacity: 18000mAh (66.6Wh)
- Output: 5V/9V Quick Charge; 5V/2.1A; 12V/10A; 12V Jumper Socket
- Input: 15V/1A
- Full Charging Time: 4.5h
- Starting Current: 500A (3s), 300A (5s)
- Peak Current: 1200A
- Waterproof Level: IP65
- Working Temperature: -20°C \~ 60°C
FAQ
Q: How to turn off the device?
- This device is equipped with an intelligent detection system and will shut down automatically in 30 seconds once there is no load or it is fully charged.
Q: How long will it take before the device is fully charged?
- It will take about 4.5 hours with the 15V/1A wall charger.
Q: How many times can T8 Pro charge a cell phone?
- It depends on the capacity of your cell phone. Taking the iPhone 6 as an example, T8 Pro can charge it about 7 times.
Q: How many times can this device jump-start a vehicle when it is fully charged?
- It can jump-start the vehicle about 25 times.
Q: What is the lifetime of T8 Pro?
- About 3-5 years in general condition.
Q: How long can T8 Pro hold a charge?
- With scientific circuit design, T8 Pro can hold a charge up to 12 months. But in order to extend the service life of the lithium battery, we suggest charging it every three months.
TROUBLESHOOTING
If the following operations cannot solve your problems, please stop using the device and contact the manufacturer with Email:[email protected]

COMPOSITIONS AND AMOUNT OF TOXIC AND HARMFUL SUBSTANCES IN T8 Pro

WARNING
- Read the instructions carefully before using the device.
- Leave the device far from children.
- Do not place the product in an environment where the temperature exceeds 60°C.
- Do not shower or dip the product in water.
- Do not place the product in an extremely hot environment or fire.
- Do not operate the product in an explosive environment, such as in flammable liquids, gases, or dust.
- Do not use the device as a toy.
- Do not use this device for charging a car.
- Do not drop the product. If the product is impacted or damaged, it must be repaired by a qualified technician.
- Do not use damaged or modified battery packs. Damage or modification of batteries may have unpredictable consequences, increasing the risk of fire, explosion, and injury.
- To reduce the risk, keep away from children when using the device.
- Make sure someone is nearby when you are using the device.
- Please remove metal accessories such as rings, bracelets, and necklaces before using the product to prevent the metal from falling into the hole and causing a short circuit.
- Please make sure that the power is above 75% when you use it to start your car.
- The product is only suitable for starting 12V gasoline and diesel vehicles. It may be dangerous if used for other purposes. Do not use it on equipment such as airplanes and ships.
- This device cannot power all 12V automotive products. Currently, it can only power some small automotive electronics, such as portable tire air pumps.
- Please ensure that the blue end of the smart jump clamps is fully inserted into the product 12V car start port when you use it to start your car; otherwise, the blue end may melt.
- Please use the jump clamps that come with the device only. When the battery clip or wire is damaged, please stop using it to avoid personal injury, such as fire and electric shock.
- Do not use the clamps to power other equipment.
- Before starting, make sure there is no rust and foreign matter at the interface, and tightly connect the device with the jump clamps. Non-tight connection will affect the starting performance of the device.
- Do not use the device to start the car while it is being charged.
- Do not use the device to continuously start the car more than 3 times. It may cause the product to overheat and damage itself. Each start should be separated by two minutes.
- After successfully starting, please remove the product from the car battery within 30 seconds, otherwise it may cause damage.
- Do not charge the device immediately after using it to start the car successfully.
- Please charge it in an environment temperature between 0°C \~ 45°C.
- Please use the provided wall charger or a charger of the same specification to charge the device.
- In extreme cases, the battery may leak. Do not touch the liquid directly with your hands or skin. If you accidentally touch it, rinse it off immediately with soap and water. If it accidentally gets into your eyes, rinse your eyes with cold water for at least 10 minutes and seek medical attention immediately.
- If the product battery leaks, please recycle it with the appropriate equipment immediately.
- Lithium battery-based products should be disposed of according to local regulations at the end of the product’s life.
WARRANTY
The Warranty of this product is covered by TACKLIFE. At TACKLIFE, we aim to manufacture the best products that inspire our consumers to live a more convenient, secure lifestyle. We provide a 2-year Warranty and lifetime technical support. If you need help, please contact us at any time, and we will help you solve the problem within 24 hours.
- Contact us: [email protected]
- Website: www.tacklifetools.com
- Facebook: www.facebook.com/AutoTacklife
For More Manuals By TackLife, Visit ManualsLibraryy
TackLife T8 Pro 1200A Peak 18000mAh Jump Starter-FAQs
How do I know when my jump starter is fully charged?
Check the LED battery level indicators. A fully charged unit should read close to 12.6V. Once full, unplug the charger.
Why does my TackLife jump starter beep when plugged in?
Beeping usually means:
Incorrect clamp connection.
Overcurrent or short circuit protection.
Damaged cable or poor contact.
Unplug, check connections, and reconnect properly.
How do I reset the TackLife jump starter?
Disconnect the device from all power sources.
Hold the power button for a few seconds.
Reconnect and try again.
Does a jump starter need to be fully charged to work?
Not always, but for best performance and maximum safety, it’s recommended to fully charge before use.
How do I know if my jump starter is working?
Check the battery level LEDs.
Make sure clamps are securely attached.
If your car cranks and starts, the unit is working correctly.
How do jump starters work?
Jump starters use a high-current lithium-ion battery to send a quick surge of power to your vehicle’s starter motor, just like jumper cables but without another car.
How long should I run my car after a jump start?
Let your car run or drive for 15–30 minutes so the alternator can recharge the battery.
Can I overcharge the TackLife T8 Pro?
No, the unit has built-in protection against overcharging. Still, unplug once it’s fully charged to extend battery life.
How many times can the TackLife T8 Pro be used on one charge?
On a full charge, it can jump-start a 12V vehicle up to 30 times (depending on engine size and battery condition).
What voltage is a car battery?
A standard car battery is 12 volts. When fully charged and with the engine off, it should measure around 12.6V.






