
TOSOT 50 Pint Dehumidifier with Internal Pump

Safety Instructions
Please read all instructions before use and save this user manual for future reference. A digital version can be found by visiting the product pages on our website, www.tosotdirect.com, or by contacting [email protected] to ask for a digital version.
Your safety and the safety of others are very important to us. We have provided many important safety messages throughout this manual and on the appliance itself. Always read and follow all posted safety messages. If you have any doubt, please contact [email protected] with any questions.
To reduce the risk of fire, electric shock, injury, or death to persons using or near this appliance, please follow some basic safety precautions. These precautions include, but are not limited to, the following:
Installation and Setup
- This appliance is not intended for use by any persons (including children) with reduced or restricted physical, mental, or sensory capabilities, or lack of experience and knowledge, unless under direct supervision of a person responsible for their safety. Children should be supervised to ensure that they do not play with the appliance.
- Please keep plastic bags and sheets out of the reach of children as they might be mistakenly used for play. Packaging materials can become airtight chambers and may pose a risk of suffocation if not disposed of properly.
- Store and operate the appliance where it will not be exposed to temperatures below freezing (32 °F) or excessive heat (above 90°F), or exposed to outdoor weather conditions.
- This product should be plugged directly into a power outlet. Power outlet shou Id be properly rated, protected, and sized in order to avoid electrical. Appliance should be installed in accordance with national wiring regulations.
- Do not use a multiple-outlet power strip or extension cord with this dehumidifier. Failure to do so may result in short-circuit or electrical shock.
- Do not cut or remove the third (ground) prong from the power cord under any circumstances.
- When installing or moving the appliance, be careful not to punch, crush, or damage the power cord.
- If the power cord is damaged, it must be replaced by the manufacturer, its service agent, or a similarly qualified person to avoid a hazard.
- Never attempt to operate this appliance if it is visibly damaged, malfunctioning, or disassembled or has missing or broken parts. This includes exposed wiring on a damaged cord or electrical plug.
- Do not attempt to disassemble or repair any part of this appliance. All repairs and services must be performed by qualified service personnel.
- This appliance is intended for residential use. This product is not designed for preserving precision industrial or laboratorial equipment, fragile works of art, or anything outside of a typical residential area.
Operation
- To avoid risk of electrical shock, do not grasp the power cord or the unit with wet hands, and avoid placing the product where it could be splashed with water.
- Avoid placing the unit itself or any other objects on top of the power cord, including rugs or carpeting.
- Keep the air inlet/outlets free from obstruction and clean the filter regularly to ensure optimal and safe performance.
- Do not use this product in a small, enclosed space such as a closet. Poor ventilation could result in overheating or fire.
- Do not insert fingers or other objects into the air inlet or outlet. Not only is the internal fan running at high speeds, but there is also an increased risk of deadly electrical shock.
- Power off the dehumidifier and empty the water bucket before attempting to move the dehumidifier.
- Remove the power plug from the wall outlet if the product will not be used for extended periods.
- If the product makes a strange noise or emits a strange or smoky smell, immediately remove the power plug and contact customer service for the next steps.
- Use this appliance only in a well-ventilated area. Inadequate ventilation during operation may reduce the oxygen level in the air.
- Never unplug the unit by pulling on the power cord. Always grip the plug firmly and remove straight from the power outlet.
- Turn off the dehumidifier and remove the power plug before cleaning or maintenance. Wait for the fan to stop moving.
- Do not operate the dehumidifier without a filter.
Parts


Display Screen and Controls

- Power Button
Press to power the dehumidifier on or off - Filter Button
After 250 hours of operation, the Filter indicator will illuminate to remind you to remove and clean the filter. - Humidity Control Buttons(-/+)
- The humidity level can be set in 5% increments from 35%-80% relative humidity. To activate nonstop operation, repeatedly press the – pad until the screen reads “N.S.” The screen will read “NS” once you go below 35%.
- b. Note about Nonstop mode: This option means that the dehumidifier will ignore the current humidity level and operate continuously. If you are using the drain bucket, the dehumidifier will stop operating once the bucket is full. If you are using the gravity drain or internal pump features, the unit will operate continuously.
- Display Screen
When using the-/+ buttons, this screen will display the target humidity setting you choose. After a few seconds, the screen will revert to show the current humidity level in your room with 5% accuracy. - Fan Speed
Press to cycle through High, Medium, or Low fan modes. Higher fan speeds lead to increased moisture removal. When humidity has been reduced or quiet operation is preferred, set the fan to Medium or Low. - Timer
- Delay While the dehumidifier is in operation, press the timer pad to have the unit power off later in 2 or 4 hours.
- Delay on-while the dehumidifier is not in operation (but plugged in), press the timer pad to have the unit power on later in 2 or 4 hours.
- Pump (Only available on select models)
- With the dehumidifier powered on and a 1/4 inch drain hose connected to the internal pump drainage joint, press and hold this button for 3 seconds to activate the internal pump mode. The button is on. The unit will illuminate once this feature is activated.
- Note: If the Pump feature is powered on but there is no hose or drain plug inserted in the drainage joint, the unit will leak onto the floor.
Other Features
Full Indicator Light
Illuminates when the bucket is ready to be emptied or when the bucket is removed from the unit for extended period. If bucket is replaced incorrectly, the light will stay illuminated.
Alarm Sound
If the bucket is full or missing for more than 3 minutes, an alarm will beep for 10 seconds to remind you to empty and/or replace the drain bucket.
Auto Shut Off
The unit will stop operation if the bucket is full or if the bucket is removed/ improperly installed.
Auto Defrost Mode
Through normal operation, frost may build on the evaporator coils. In this case, the compressor will power off while the fan stays running. You can usually tell if this is the case when the air exhaust emits cool air instead
of warm air.
Power Outage Restart
In the event of a power outage or interruption, the unit will automatically revert to the last settings you chose before the power outage and restart operations.
Choosing a Location
- Place the dehumidifier on a smooth and level floor strong enough to support the unit with a full bucket of water.
- Allow at least 18 inches of space on all sides of the unit for proper air circulation.
- Close all doors, windows, and other exterior openings of the room to improve the dehumidifying effect.
- Keep the air intake/exhaust clean and free of obstructions.
- Avoid placing the unit in direct sunlight or in areas where the temperature goes below 40 °F or above 90 °F.
- Humidity levels of 50-60% are optimal. Humidity levels above 60% may lead to mold or mildew growth.

Removing Collected Water
There are 3 options to remove water collected by your dehumidifier:
Option 1: Drain Bucket
- Grab both sides of drain bucket and remove from unit following the arrow below. Removing the bucket just after stopping operation may results in drips of water on floor.

- Empty the bucket by grasping the handle on top of the bucket with one hand while supporting the bottom of the bucket with the other hand.

- After emptying, replace the bucket in the dehumidifier following the arrow direction below

Option 2: Gravity Drain Hose
Note:
Water can be automatically emptied into a floor drain by attaching a drain hose with a¾” inner diameter (not included), which attaches to a male nozzle on the left side of the unit.
- Remove drain bucket from unit. Open drain cover door on right side of unit. Thread the¾” drain hose (not included) onto the nozzle. Replace drain bucket into the unit.

- Position the gravity drain hose into the floor drain or other water receptacle. Ensure that the gravity drain hose is directed downward. If the drain hose is directed uupwardor horizontally, water will not exit the drain hose and instead will collect in the drain bucket.

Option 3: Internal Pump
Not all models have an internal pump feature. Please check your model number or contact customer support if you are unsure.
The internal pump can pump water up to 15 feet in any direction: vertically or horizontally. Water will still collect in the drain bucket during operation. As the bucket starts to reach maximum capacity, the pump will power on to remove water from the drain bucket.
If the pump feature is powered on and there is no drain plug or drainage hose in the drainage joint, water will leak from the drainage joint. If the pump feature is powered off while the unit is operating, water will not leak from the drainage joint. Please contact customer support if you have lost or misplaced your green drain plug.
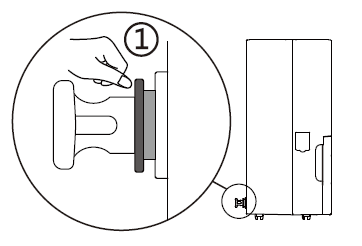
- Depress the gray plastic area using your fingertip or a small, flat object.

- Step 2: While depressing the gray plastic area, remove the green drain plug.

- Step 3: Insert the included drain hose into the drainage joint.

Cleaning
Before cleaning, turn off the dehumidifier and disconnect power cord from power outlet. Do not spray or douse the dehumidifier with water, and do not use volatile liquids (e.g. gasoline, paint thinner, etc.) to clean the dehumidifier.
White Plastic Exterior: Wipe down the plastic areas by using a soft rag dipped in warm, soapy water. Do not use harsh chemicals (e.g. bleach) or abrasive pads.
Air Intake Grille: Use a dust catcher or vacuum nozzle attachment.
Water Bucket: Every few weeks, you should clean the bucket to prevent the growth of bacteria, mold, and mildew. Partially fill the bucket with clean water and a mild detergent, and use a soft brush to scrub down the walls of the bucket. Do not use a dishwasher to clean the bucket, as this may warp the plastic. You will first need to remove the handle from the drain bucket.
- Remove the handle by aligning the two ends of the handle with the openings on the drain bucket lid.

- Remove the drain bucket lid by depressing the four (4) buckles on the drain bucket.

- Remove the float from the drain lid.
Air Filter
After 250 hours of operation the Filter indicator light will illuminate on top of your dehumidifier. After cleaning the filter, place the Filter button again to reset the 250-hour timer. Do not forget to replace the filter before resuming operation. This may cause the evaporator coils to attract dust, which will harm the performance of your unit.
Clean the filter using warm, soapy water. Rinse thoroughly and air dry completely. Do not dry the air filter with a source of heat, such as a lighter or hair dryer, as this may damage the filter.
Filter access
Remove the drain bucket. The Filter is a light white plastic tab near the bottom of the air intake grille. Pull the filter straight down to remove it.

Maintenance Checklists
Pre-Season Maintenance Checklist
- Check the power cord for any cuts or exposed wiring
- Check that the ground prong is on your power plug
- Clean the air filter
- Check that the drain hose is not damaged
Post-Season Maintenance Checklist
- Disconnect unit from power outlet
- Clean the air filter and exterior case
- Empty and clean the water bucket
- Remove drain hose and allow to dry
Long-Term Storage Checklist
- Unplug the dehumidifier from the power outlet and wrap up the power cord
- Empty and clean the water bucket
- Wrap and/or cover the unit to prevent the accumulation of dust
Malfunction Codes
If your unit displays one of the following codes, please contact [email protected] with your Malfunction Code. Please fill out the warranty registration form on our website for faster service.




Troubleshooting
Not all the following problems are malfunctions.
The dehumidifier is not operating. Controls can not be set
- The unit is operating in an area where the temperature is higher than 90°F (32°C)or lower than 41 °F(5°C).
- The bucket is full.
Noise suddenly rises during operation.
- Noise will rise if the compressor has just started.
- Power supply problem.
- The unit is placed on an uneven floor.
Humidity does not drop.
- The area to be dehumidified is too large. The capacity of your dehumidifier may not be adequate.
Humidity does not drop.
- Doors are open.
- There might be some device producing vapor in the room.
Little or no effect in dehumidifying.
- The room temperature is too low.
- The humidity level may be improperly set.
- If the unit is operating in a room where the temperature is from 41°Fto 59°F(5 •c to 15 “C), it will start to defrost automatically. The compressor will stop for a brief period (fan will operate at high fan speed). When the unit finishes defrosting, it will be back to normal operation.
When first operated, the air emitted has a sa musty odor.
- Due to the temperature rising of the heat exchanger, the air may have some strange smell at the beginning.
The unit has noises.
- There might be some noise if the unit is operating on a wooden floor.
A swooshing sound is heard.
- Normal. This is the sound of the flow of refrigerant.
Problem of Water Leakage.
When using the drain hose, there is water in the bucket.
- Drain hose is not correctly installed.
- Clear the obstacle from the drain hose.
The dehumidifier does not start.
- Check if power is lost. If yes, wait for the power to be restored.
- Check whether the power plug is loose.
- Check whether the power cord is damaged.
The dehumidifier does not dry air as intended.
- A warm temperature is good for dehumidification. Low temperature will reduce the unit’s working effect. This unit should be working in a place where the temperature is above 5°C(41°F).
- Make sure all doors and windows, and another opening to the outside have been closed.
- Make sure no curtain, shutter, or furniture blocks the unit. The dehumidifier.
- Clean the filter.
Frequently Asked Questions
Visit the complete list at www.tosotdirect.com/faq
Why does this unit give off heat?
Humid air is pulled into the dehumidifier and passes over refrigerated cooling coils. Moisture from the air collects on these coils then drops into the drain bucket. You dehumidifier emits heat because it takes a lot of energy to keep the coils refrigerated and the fan operating. The less humid your room is, the cooler it will feel, If your AC is set at 72°F it will operate more effectively at 50% humidity than 85% humidity.
Why is the fan running when the unit has already reached the target humidity I selected?
Your dehumidifier is in the automatic defrost mode. When moisture from the humid air collects on the cooling coils it can sometimes collect too rapidly and start to freeze. After your unit reaches target humidity the fan will continue pulling in the room temperature air to help defrost the coils. You can usually tell if this is the case when the air exhaust is emitting cool air instead of warm air. This tends to happen when the room temperature starts approaching 65°F, but your unit can still operate at temperatures around 40°F.
What happens if my unit isn’t working? Does my unit have a warranty?
Please contact us at [email protected] if you have any questions about your unit. If you haven’t already done so, you will be asked to register your product for warranty on our website. You can speed up that process by visiting www.tosotdirect.com/register to give us some information about your unit. All products are covered under a one-year warranty from the date you place your order.
TOSOT Direct
www.tosotdirect.com
Customer service: [email protected]
Facebook: www.facebook.com/tosotdirect
lnstagram: @tosotdirect
Twitter: @tosotdirect
For more manuals by TOSOT, visit ManualsLibraryy
TOSOT 50 Pint Dehumidifier with Internal Pump-FAQs
Why does my TOSOT dehumidifier keep turning off?
If your unit shuts off unexpectedly or won’t stay on, the issue may be with the humidity control settings or the humidistat. The humidistat monitors the room’s humidity and stops the compressor when the desired level is reached.
Who manufactures TOSOT dehumidifiers?
TOSOT is a brand owned by GREE Electric Appliances, a major global manufacturer of HVAC systems, established in 1991 in Zhuhai, China.
Does the TOSOT dehumidifier turn off when full?
Yes, it has an automatic shut-off feature that activates when the water tank is full or when the room reaches your selected humidity level. If it’s overflowing, check the auto-shutoff or humidity settings.
Can a dehumidifier drain without using the pump?
Yes, it can. Without using the built-in pump, the unit can drain water into the internal bucket or through a hose using gravity. The pump is useful for pushing water upward to a sink or drain when needed
Does the TOSOT dehumidifier emit heat while operating?
Yes, like most dehumidifiers, it releases a small amount of warm air due to the compressor’s operation. This is normal and generally not noticeable.
What is the lowest temperature setting available?
The minimum temperature you can set on the TOSOT dehumidifier is 61°F (16°C), and it can go up to 86°F (30°C).
How do I clean the air filter?
You can vacuum the air filter to remove dust. If it’s heavily soiled, wash it gently with warm, soapy water. Avoid chemical cleaners and ensure the filter is completely dry before reinstalling.
What does the “FO” error code mean?
“FO” typically indicates that the system is low on refrigerant. This may require professional servicing.










