
Weider 148 Home Gym Weight Bench

Before You Begin
Before reading further, please review the drawing below and familiarize yourself with the parts that are labeled
Part Identification Chart – Model No. WEBE14871
This chart is provided to help you identify the small parts used in assembly. Important: Some parts may have been pre-assembled for shipping purposes. If you cannot find a part in the parts bags, check to see if it has been pre-assembled. The number in parenthesis below each part refers to the key number of the part. The second number refers to the quantity needed for assembly.
- Place all parts in a cleared area and remove the packing materials. Do not dispose of the packing materials until assembly is completed.
- Tighten all parts as you assemble them unless instructed to do otherwise.
- For help identifying the small parts used in assembly, use the PART IDENTIFICATION CHART on the previous page.
- As you assemble the weight bench, be sure that all parts are oriented as shown in the drawings.
THE FOLLOWING TOOLS (NOT INCLUDED) ARE REQUIRED FOR ASSEMBLY:
- two adjustable wrenches

- one rubber mallet

- one standard screwdriver

- Lubricant, such as grease or petroleum jelly, and soapy water will also be needed.
Assembly will be more convenient if you have the following tools: A socket set, a set of open-end or closed-end wrenches, or a set of ratchet wrenches.
- Before assembling this product, be sure that you have read and understand the information in the box above. Press three 38mm Square Inner Caps (57) into the open tubes on the Front Base (29). Attach the Rear Base (27) to the Front Base (29) with two M10 x 60mm Bolts (47), four M10 Washers (53), a Support Plate (14) and two M10 Nylon Locknuts (54). Insert both M8 x 50mm Carriage Bolts (45) up through the indicated holes in the Front Base (29).

- Attach the Crossbar (3) to the Right Upright (1) with two M10 x 70mm Bolts (48), four M10 Washers (53), a Support Plate (14), and two M10 Nylon Locknuts (54). The Upright must be oriented as shown. Note that the welded tube extends beyond the edge of the Upright on one side. Attach the Crossbar (3) to the Left Upright (16) in the same manner. Press a 50mm Square Inner Cap (56) into the lower end of each Upright (1, 16).

- Attach an “L” Bracket (42) and the Right Upright (1) to the right side of the Rear Base (27) with two M10 x 75mm Bolts (46), three M10 Washers (53) and one M10 Nylon Locknut (54). Make sure the Uprights are oriented as shown, so the welded tube extends beyond the edge of the Upright on the indicated side. Note: The lower hole in theThe rear Base is threaded, so this Bolt does not require a Nylon Locknut. Attach the Left Upright (16) and the remaining “L” Bracket (42) to the left side of the Rear Base (27) in the same manner.

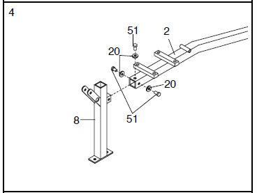
- Attach the Front Leg (S) to the Frame (2) with three MS x 16mm Screws (51) and three MS Washers (20). Note: Make sure you tighten the Screws very hard.

- Attach the Frame (2) to the Crossbar (3) with two M10 x 60mm Bolts (47), four M10 Washers (53), a Support Plate (14) and two M10 Nylon Locknuts (54). Attach the Front Leg (S) to the Front Base (29) with two MS x 50mm Carriage Bolts (45), two MS Washers (20) and two MS Nylon Locknuts (39).

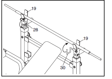
- Attach a Dip Handle (24) to one of the Weight Rests (19) with an M8 x 60mm Bolt (43), an 11mm x 10.5mm Spacer (44), two M8 Washers (20) and an M8 Nylon Locknut (39). Slide a Handgrip (12) onto the Dip Handle. Press a 25.4mm Round Inner Cap (59) into the end of the Dip Handle. Attach the other Dip Handle (24) to the other Weight Rest (19) in the same manner.Attach the Right Barbell Hook (28) to the Weight Rest (19) with an M8 Washer (20) and an M8 Nylon Locknut (39). The Barbell Hook must be oriented as shown. Attach the Left Barbell Hook (30) to the other Weight Rest (19) in the same manner.

- Press a 50mm Square Bushing (55) onto the top end of each Upright (1, 16). Slide the Weight Rest (19) with The Right Barbell Hook (28) down into the Right Upright (1). Align one of the adjustment holes in the Weight Rest with the adjustment hole in the Upright. Tighten the Large Threaded Knob (32) into the adjustment hole in the Upright. Attach the Weight Rest (19) with the Left Barbell Hook (30) to the Left Upright (16) in the same manner.

- Attach a Fly Arm Pad Tube (22) to the Right Fly Arm (25) with an M8 x 50mm Bolt (13), an 11mm x 7mm Spacer (23), two M8 Washers (20) and an M8 Nylon Locknut (39). Press a 38mm Square Inner Cap (57) into each open end of the Right Fly Arm A (25). Press a 25.4mm Round Inner Cap (59) into the end of the weight tube on the Fly Arm. Press a 25.4mm Round Inner Cap into each end of the Fly Arm Pad Tube (22). Slide a Foam Pad (40) onto the Fly Arm Pad Tube. Assemble the Left Fly Arm (26, not shown) in the same manner.

- Press a 19mm Round Inner Cap (58) into each end of a Fly Arm Stop (15). Attach the Fly Arm Stop (15) to the Right Upright (1) with an M8 x 30mm Screw (60) and an M8 Washer (20). Attach the other Fly Arm Stop (not shown) to the Left Upright (not shown) in the same manner. Press two Nylon Bushings (38) into the Right Upright (1). Lubricate the axle on the Right Fly Arm (25). Slide the axle into the Nylon Bushings in the Upright.Slide a Spring Clip (37) into the end of the axle. Make sure the Spring Clip locks into place in the drilled hole near the end of the axle. Attach the Left Fly Arm (26, not shown) to the Left Upright (16, not shown) in the same manner.

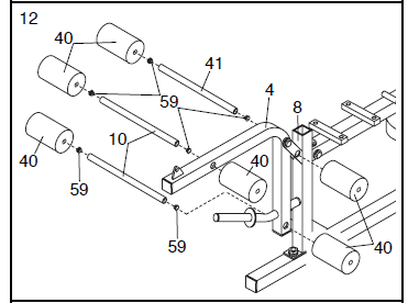
- Tap a 38mm Square Inner Cap (57) into each end of the Leg Lever (4). Tap a 25.4mm Round Inner Cap (59) into each end of the weight tube.

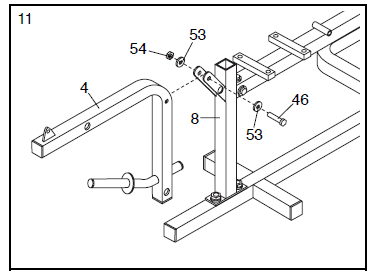
- Lubricate the M10 x 75mm Bolt (46). Attach the Leg Lever (4) to the Front Leg (8) with the Bolt, two M10 Washers (53) and the M10 Nylon Locknut (54).

- Press two 25.4mm Round Inner Caps (59) into each Short Pad Tube (10). Press a 25.4mm Round Inner Cap into each end of the Long Pad Tube (41). Insert the Short Pad Tubes into the holes in the Leg Lever (4). Slide two Foam Pads (40) onto each Pad Tube. Insert the Long Pad Tube (41) into the holes in the Front Leg (8). Slide a Foam Pad (40) onto each end of the Long Pad Tube.

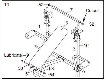
- Press a “1” Square Inner Cap (52) into the indicated end of each Backrest Tube (5). Attach each Backrest Tube (5) to the Backrest (6) with two M8 x 40mm Screws (50) and two M8 Washers (20). The Backrest Tubes must be oriented as shown (note the position of the indicated holes).

- Press a 1″ Square Inner Cap (52) into each end of the Support Tube (7). Note: Make sure the “U”- shaped cutout is lined up with the welded pin inside the Support Tube. Set the Support Tube into the highest set of adjustment brackets on the Uprights (1, 16).Lubricate the M10 x 130mm Bolt (9). Attach the Backrest Tubes (5) to the Frame (2) with the M10 x 130mm Bolt, two M10 Washers (53) and an M10 Nylon Locknut (54). Do not overtighten the Nylon Locknut. Rest the Backrest (6) on the Support Tube (7).

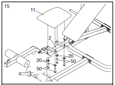
- Attach the Seat (11) to the brackets on the Frame (2) with four M8 x 40mm Screws (50) and four M8 Washers (20).

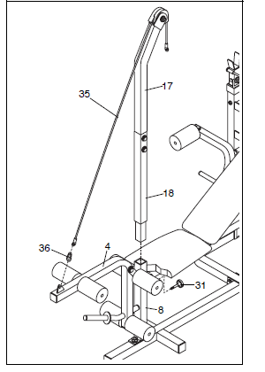
- Slide the Upper Lat Tower (17) into the end of the Lower Lat Tower (18) and secure it with two M10 x 50mm Bolts (49), four M10 Washers (53), and two M10 Nylon Locknuts (54). Wrap the Cable (35) around the Pulley (33). Place the Pulley and the Cable in the Pulley Covers (34). Be sure that the Cable is in the grooves of the Pulley and Pulley Covers. Attach the Pulley (33) and Pulley Covers (34) to the Upper Lat Tower (17) with an M10 x 50mm Bolt (49), two M10 Washers (53) and an M10 Nylon Locknut (54).

- Wet the ends of the Lat Bar (21) with soapy water. Slide a Handgrip (12) onto each end of the Lat Bar.
- Make sure all parts are properly tightened before you use the weight bench. The use of all remaining parts will be explained in Using the Weight Bench starting on the next page.

Using the Weight Bench
The weight bench is designed to be used with your own weight set (not included). The steps below explain how the Weight bench can be adjusted. See EXERCISE GUIDELINES on page 14 for important exercise information and refer to the accompanying exercise poster to see the correct form for each exercise. Refer also to the exercise information accompanying your weight set (not included) for additional exercises.
Inspect and tighten all parts each time you use the weight bench. Replace any worn parts immediately. The weight bench can be cleaned with a damp cloth and a mild, non-abrasive detergent. Do not use solvents.
ADJUSTING THE BACKREST
The Backrest (6) can be used in a level position, a declined position, or two inclined positions. To use the Backrest in a declined position, remove the Support Tube (7) and lower the Backrest Tubes (5) onto the Crossbar (3).
To use the Backrest (6) in a level position, first lift the Backrest. Insert the Support Tube (7) into the lowest set of adjustment brackets on the Uprights (1, 16). Lower the Backrest Tubes (5) onto the Support Tube.
To use the Backrest (6) in an inclined position, lift the Backrest. Insert the Support Tube (7) into one of the two upper sets of adjustment brackets on the Uprights (1, 16). Lower the Backrest Tubes (5) onto the Support Tube.
ADJUSTING THE WEIGHT RESTS/DIP HANDLES
To adjust the Weight Rests (19)/Dip Handles (24), remove the Large Threaded Knobs (32) from the Uprights (1, 16). Move the Weight Rests/Dip Handles to the desired height. Replace the Large Threaded Knobs. Both Weight Rests/Dip Handles must be set to the same height.
USING BARBELL HOOKS
To change weights while your barbell (not included) is on the Weight Rests (19), secure your barbell with the Barbell Lock Pins (28, 30) by rotating them up over the barbell. This will reduce the possibility of the barbell tipping while you change weights.
ATTACHING WEIGHTS TO THE WEIGHT BENCH
To use the Leg Lever (4), slide the desired weights (not included) onto the weight tube. WARNING: Do not place more than 50 pounds on the Leg Lever for normal use; when using the dip handles, place 100 pounds on the leg lever to balance the bench.
To use the Fly Arms (25, 26), slide the desired weights (not included) onto the weight tubes. WARNING: Do not place more than 30 pounds on each Fly Arm.
REMOVING AND ATTACHING THE FLY ARMS
To remove the Fly Arms (25, 26), press the Spring Clips (37) until the Arms can be slid out from the Uprights (1, 16). To re-attach the Fly Arms (25, 26), press the Spring Clips (37) until the Arms can be slid back into the Uprights (1, 16). Be sure that the Spring Clips lock into place once the Arms have be re-inserted. Note: The Spring Clip should remain in the axle; it is shown removed for easier part identification.
USING THE LAT TOWER
To attach the Lat Tower (17, 18) to the weight bench, insert the lower end of the Lat Tower into the Front Leg (8). The Lat Tower must be turned as shown. Secure the Lat Tower with the Small Threaded Knob (31).
To use the Lat Tower, make sure the Cable (35) is attached to the bracket on the Leg Lever (4) with a Cable Clip (36). Place the desired amount of weight on the Leg Lever (see ATTACHING WEIGHTS TO THE WEIGHT BENCH above).
To remove the Lat Tower (17, 18) from the weight bench, remove the Small Threaded Knob (31) from the Front Leg (8). Remove the Lat Tower from the Front Leg. Store the Lat Tower in a safe place.
ATTACHING THE LAT BAR
Attach the Lat Bar (21) to the Cable (35) w th a Cable Cl p (36). WARNING: Always remove the Lat Bar from the weight bench when performing an exercise that does no use the lat bar.
Exercise Guidelines
THE FOUR BASIC TYPES OF WORKOUTS
- Muscle Building
In order to increase the size and strength of your muscles, you must push your muscles to a high percentage of their capacity. You must also progressively increase the intensity of your exercise so that your muscles will continually adapt and grow. Each individual exercise can be tailored to the proper intensity level by changing the amount of weight used, or the number of repetitions or sets performed. (A “repetition” is one complete cycle of an exercise, such as one sit-up. A “set” is a series of repetitions performed consecutively.)The proper amount of weight for each exercise depends upon the individual user. It is up to you to gauge your limits. Select the amount of weight that you think is right for you. Begin with 3 sets of 8 repetitions for each exercise that you perform. Rest for 3 minutes after each set. When you can complete 3 sets of 12 repetitions without difficulty, increase the amount of weight. - Toning
To tone your muscles, you must push your muscles to a moderate percentage of their capacity. Select a moderate amount of weight and increase the number of repetitions in each set. Complete as many sets of 15 to 20 repetitions as possible without discomfort. Rest for 1 minute after each set. Work your muscles by completing more sets rather than by using high amounts of weight. - Weight Loss
To lose weight, use a low amount of weight and increase the number of repetitions in each set. Exercise for 20 to 30 minutes, resting for a maximum of 30 seconds between sets. - Cross Training
In the pursuit of a complete and well-balanced fitness program, many have found that cross training is the answer. We recommend that on Monday, Wednesday and Friday, you plan weight training workouts. On Tuesday and Thursday, plan 20 to 30 minutes of aerobic exercise, such as cycling, running or swimming. Rest from both weight training and aerobic exercise for at least one full day each week to give your body time to regenerate. By combining weight training with aerobic exercise, you can reshape and strengthen your body, plus develop a stronger heart and lungs. - PERSONALIZING YOUR EXERCISE PROGRAM
We have not specified an exact length of time for each workout, or a specific number of repetitions or sets for each exercise. It is very important to avoid overdoing it during the first few months of your exercise program, and to progress at your own pace. If you experience pain or dizziness at any time while exercising, stop immediately and begin to cool down. Find out what is wrong before continuing. Remember that adequate rest and a proper diet are also important. - WARMING UP
Begin each workout with 5 to 10 minutes of light stretching and exercise to warm up. Warming up prepares your body for exercise by increasing circulation, raising your body temperature and delivering more oxygen to your muscles. - WORKING OUT
Each workout should include 6 to 10 different exercises. Select exercises for every major muscle group, with emphasis on the areas that you want to develop the most. To give balance and variety to your workouts, vary the exercises from workout to workout. Schedule your workouts for the time of day when your energy level is the highest. Each workout should be followed by at least one day of rest. Once you find the schedule that is right for you, stick with it. - EXERCISE FORM
In order to obtain the greatest benefits from exercising, it is essential to maintain proper form. Maintaining proper form means moving through the full range of motion for each exercise, and moving only the appropriate parts of the body.Exercising in an uncontrolled manner will leave you feeling exhausted. On the exercise poster accompanying this manual, you will find photographs showing the correct form for several exercises. A description of each exercise is also provided, along with a list of the muscles affected. Refer to the muscle chart on page 15 to find the locations of the muscles.The repetitions in each set should be performed smoothly and without pausing. The exertion stage of each repetition should last about half as long as the return stage. Proper breathing is important. Exhale during the exertion stage of each repetition and inhale during the return stroke; never hold your breath.
Reset for 3 minutes after each set if you are doing a muscle building workout, 1 minute after each set if you are doing a toning workout, and 30 seconds after each set if you are doing a weight loss workout. Plan to spend the first couple of weeks familiarizing yourself with the equipment and learning the proper form for each exercise.
- COOLING DOWN
End each workout with 5 to 10 minutes of stretching. Include stretches for both your arms and legs. Move slowly as you stretchÑdo not bounce. Ease into each stretch gradually and go only as far as you can without strain. Stretching at the end of each workout is very effective for increasing flexibility. - STAYING MOTIVATED
For motivation, keep a record of each workout. The charts on pages 16 and 17 of this manual can be photocopied and used to schedule and record your workouts. List the date, exercises performed, weight, and numbers of sets and repetitions completed.Record your weight and key body measurements at the end of every month. Remember, the key to achieving the greatest results is to make exercise a regular and enjoyable part of your everyday life.
Muscle Chart

Part List – Model No. WEBE14871

Exploded Drawing – Model No. WEBE14871

For more manuals by Weider visit, ManualsLibraryy
Weider 148 Home Gym Weight Bench-FAQs
How do I choose the right weight bench?
Look for a bench that is stable, comfortable, and adjustable. It should allow you to perform exercises safely and correctly. Ensure it has adjustable shoulder stands, safety catches, and safety spotters.
What are the basic rules for bench pressing?
When bench pressing, keep your shoulders and buttocks in contact with the bench. Maintain the position of your buttocks throughout the lift, and ensure your toes stay in solid contact with the platform. You may use blocks if needed.
What features should I consider when choosing a bench?
Select a bench with good padding and cushioning, ideally with at least 2 inches (5 cm) of high-density foam. This ensures comfort and proper support for your spine and joints during workouts.
Is Weider a reliable brand for gym equipment?
Yes, Weider is a well-known and trusted brand in the fitness industry, with a history dating back to 1936. It is associated with high-quality equipment, supplements, and fitness expertise worldwide.
How do I adjust a gym bench?
Locate the adjustment pin, usually on the side or back of the bench. While lifting the back pad slightly with one hand, pull the pin with the other hand to adjust the bench’s position. Release the pin once the desired angle is set.
How do I measure a weight bench?
Measure the width from the left to the right of the widest point, including the legs or arms. Measure the depth from the back to the front, accounting for any curvature in the design.
What does the name “Weider” mean?
“Weider” is of German origin, meaning either “willow tree” or “open country.” It is also a recognized name in the fitness world.
How much weight can a Weider weight bench support?
The Weider 2980 X Home Gym System, for example, includes an 80-pound vinyl weight stack. Its innovative pulley system can provide up to 214 pounds of total resistance, allowing for a variety of exercises targeting different muscle groups.

















