
Weider 8920 Home Gym

BEFORE YOU BEGIN
Thank you for selecting the versatile WEIDER® 8920 weight system. The WEIDER® 8920 offers a selection of weight stations designed to develop every major muscle group of the body. Whether your goal is to tone your body, build dramatic muscle size and strength, or improve your cardiovascular system, the 8920 will help you to achieve the specific results you want.
For your benefit, read this manual carefully before using the WEIDER® 8920 weight system. If you have additional questions, please call our toll-free HELPLINE at 1-800-736-6879, Monday through Saturday, 7 a.m. until 7 p.m. Central Time (excluding holidays). To help us assist you, please note the product model number and serial number before calling. The model number is 831.159711.
The serial number can be found on a decal attached to the weight system (see the front cover of this owner’s manual). Before reading further, please review the drawing below and familiarize yourself with the parts that are labeled.

ASSEMBLY
Make Things Easier for Yourself
Everything in this manual is designed to ensure that the weight system can be assembled successfully by anyone. However, it is important to realize that the versatile weight system has many parts and that the assembly process will take time. Most people find that by setting aside plenty of time, assembly will go smoothly.
Before beginning assembly, carefully read the following information and instructions:
- The Assembly requires two people.
- Place all parts in a cleared area and remove the packing materials. Do not dispose of the packing materials until assembly is completed.
- Tighten all parts as you assemble them, unless instructed to do otherwise.
- As you assemble the weight system, make sure all parts are oriented as shown in the drawings.
- For help identifying small parts, use the PART IDENTIFICATION CHART in the center of this manual.
The following tools (not included) are required for assembly:
- two adjustable wrenches

- one rubber mallet

- one standard screwdriver

- one Phillips screwdriver

- lubricant, such as grease or petroleum jelly, and soapy water.
Assembly will be more convenient if you have a socket set, a set of open-end or closed-end wrenches, or a set of ratchet wrenches.
FRAME ASSEMBLY
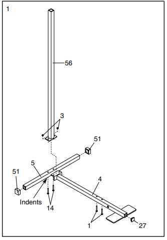
- Before beginning assembly, be sure that you have read and understand the information in the box above. Press a 50mm Square Inner Cap (27) into the end of the Base (4). Press a 50mm Square Outer Cap (51) onto each end of the Stabilizer (5). Insert two M8 x 63mm Carriage Bolts (1) up through the Base (4). Insert two M8 x 67mm Carriage Bolts (14) up through the Stabilizer (5). Note: Be sure the indents around holes in the Stabilizer are on the bottom. Slide the bracket end of the Base (4) onto the M8 x 67mm Carriage Bolts (14) in the Stabilizer (5). Slide the Rear Upright (56) onto the Carriage Bolts. Hand-tighten an M8 Nylon Locknut (3) onto each Carriage Bolt.

- Refer to drawing 2a. Press a 25mm Round Inner Cap (49) into each end of the weight tube on the Weight Carriage (19). Note: Make sure the Square Slider Bushings (70) are assembled to the Weight Carriage and Weight Stop (67). Turn the Weight Stop (67) so that the indicated hole is on the side shown and the Square Slider Bushing (70) is on top. Slide the Weight Stop onto the Rear Upright (56). Refer to drawing 2b. Attach the Weight Stop (67) to the Rear Upright (56) with an M8 x 70mm Bolt (11) and an M8 Nylon Locknut (3). Orient the Weight Carriage (19) as shown. Slide the Weight Carriage onto the Rear Upright (56). Press a 25mm Square Inner Cap (65) into the Front Upright (42). Slide the Front Upright onto the M8 x 63mm Carriage Bolts (1) in the Base (4). Hand-tighten an M8 Nylon Locknut (3) onto each Carriage Bolt. Do not tighten the Nylon Locknuts yet.

- Press a 50mm Square Inner Cap (27) into the top of the Rear Upright (56). Press a 45mm Square Inner Cap (44) into each end of the crossbar on the Top Frame (55). Press two 25mm Round Inner Caps (49) into the top of the crossbar. Attach the Top Frame (55) to the Front Upright (42) with two M8 x 67mm Bolts (61), a Support Plate (8), and two M8 Nylon Locknuts (3). Attach the Top Frame to the Rear Upright (56) in the same manner. Tighten the Nylon Locknuts used in steps 1–3.

ARM ASSEMBLY
- Press a 25mm Plastic Bushing (26) onto each welded spacer on the Press Frame (17). Slide the Press Frame onto the Base (4) so the Plastic Bushings are aligned with the indicated tube in the base. Note: This will be a tight fit; the Plastic Bushings should fit over the ends of the tube in the Base. Lubricate an M10 x 198mm Bolt (59). Attach the Press Frame (17) to the Base (4) with the Bolt, two M10 Washers (9), and an M10 Nylon Locknut (21). Note: Do not overtighten the Nylon Locknut; the Press Frame must be able to pivot easily.

- Press a 45mm Square Inner Cap (44) into the top of one of the Press Arms (46). Press a 25mm Round Inner Cap (49) into each end of the handle on the Press Arm. Attach the Press Arm to one side of the Press Frame (17) with two M8 x 63mm Bolts (22) and two M8 Nylon Locknuts (3). Assemble the other Press Arm (46) in the same manner.

- Identify the Left Arm (47) and Right Arm (48). Note the position of the welded bracket on each Arm. Arm identification is important for step 7. Press a Butterfly Arm Bushing (60) into each Arm.

- Lubricate both axles on the Top Frame (55). Slide the Right Arm (48) onto the right axle of the Top Frame (55). Note: Be careful not to confuse the Right Arm with the Left Arm (47); refer to step 6 to identify the Right Arm. Be sure that the upper end of the Right Arm is behind the indicated bracket on the Top Frame. Tap two 25mm Retainers (63) and a 25mm Round Cover Cap (62) onto the right axle of the Top Frame (55). Be sure that the teeth on the Retainers bend toward the Cover Cap, as shown in the inset drawing. Attach the Left Arm (47) in the same manner. Press two 45mm Square Inner Caps (44) into the lower ends of the Left and Right Arms (47, 48). Wet the lower end of each Arm with soapy water. Slide a Large Foam Pad (45) onto the lower end of each Arm.

CABLE ASSEMBLY
- During steps 9 through 22, refer to the CABLE DIAGRAM on page 19 of this manual to verify proper cable routing. Before beginning this section, identify the Short Cable (23) and the Long Cable (58) by comparing the ends of the cables.IMPORTANT: While assembling the cables, do not overtighten the bolts and nuts securing the pulleys. The pulleys must turn freely.

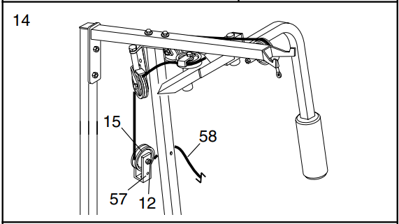
- Locate the Long Cable (58). Route the Long Cable around a 90mm Pulley (15). Attach the Pulley to the Top Frame (55) with an M10 x 90mm Bolt (16) and an M10 Nylon Locknut (21). Be sure that the end of the Cable with the ball is on the indicated side of the Pulley and that the Cable is between the Pulley and the hook on the Top Frame.

- Wrap the Long Cable (58) around a “V”-Pulley (6). Attach the Pulley and a Long Cable Trap (50) to the bracket on the Front Upright (42) with an M10 x 60mm Bolt (7) and an M10 Nylon Locknut (21). Be sure that the Cable Trap is positioned to hold the Cable in the groove of the Pulley.

- Route the Long Cable (58) around a “V”-Pulley (6). Attach the Pulley and a Long Cable Trap (50) to the Left Arm (47) with an M10 x 60mm Bolt (7) and an M10 Nylon Locknut (21). Be sure that the Cable is in the groove of the Pulley and that the Cable Trap is positioned to hold the Cable in place.

- Route the Long Cable (58) around a “V”-Pulley (6). Attach the Pulley and the Long Cable Trap (50) to the Right Arm (48) with an M10 x 60mm Bolt (7) and an M10 Nylon Locknut (21). Be sure that the Cable is in the groove of the Pulley and that a Long Cable Trap (50) is turned to hold the Cable in place.

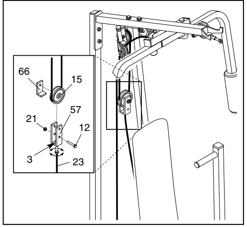
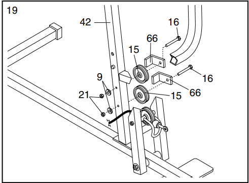
- Refer to the inset drawing. Attach the Pulley Bracket (20) to the bracket on the Top Frame (55) with an M8 x 115mm Bolt (64) and an M8 Nylon Locknut (3). Note: The Pulley Bracket is pre-assembled with a 90mm Pulley (15) and a Cable Trap (66). Route the Long Cable (58) around the 90mm Pulley (15) attached to the Pulley Bracket (20). Be sure that the Cable is in the groove of the Pulley and that the Cable Trap (66) is turned to hold the Cable in place. Make sure that the M10 x 45mm Bolt (12), securing the Pulley and Cable Trap to the Pulley Bracket, is properly tightened and that the Pulley Bracket can pivot freely.

- Locate the Long “U”-Bracket (57). Route the Long Cable (58) between the 90mm Pulley (15) and the Cable Trap (not shown) attached to the Long “U”-Bracket with an M10 x 45mm Bolt (12) and an M10 Nylon Locknut (not shown). Be sure that the Cable is in the groove of the Pulley, that the Cable Trap is turned to hold the Cable in place, and that the Cable and Pulley move smoothly.

- Route the Long Cable (58) around a 90mm Pulley (15). Attach the Pulley to the bracket on the Top Frame (55) with an M10 x 45mm Bolt (12) and an M10 Nylon Locknut (21). Be sure that the Cable is in the groove of the Pulley and that the Cable and Pulley move smoothly.

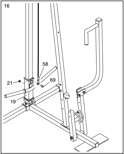
- Attach the Long Cable (58) to the Weight Carriage (19) with an M10 x 20mm Bolt (69) and an M10 Nylon Locknut (21).

- Attach a 90mm Pulley (15) and a Cable Trap (66) to the upper hole in the Press Frame (17) with an M10 x 80mm Bolt (25), an M10 Washer (9), and an M10 Nylon Locknut (21). Make sure that the Cable Trap and the Pulley are oriented as shown. Do not tighten the Nylon Locknut yet. Hold a 90mm Pulley (15) inside the bracket on the Press Frame (17). Attach the Pulley to the Press Frame with an M10 x 198mm Bolt (59), two M10 Washers (9), and an M10 Nylon Locknut (21).

- Locate the Short Cable (23). Route the Short Cable under the indicated 90mm Pulley (15) as shown. Be sure that the Cable is between the Pulley and the crossbar on the Press Frame (17).

- Slide two Cable Traps (66) and two 90mm Pulleys (15) onto two M10 x 90mm Bolts (16). Insert the Bolts into the Front Upright (42) from the direction shown. Hand-tighten an M10 Nylon Locknut (21) with an M10 Washer (9) onto each Bolt. Be sure that all parts are oriented as shown. Do not tighten the Nylon Locknuts yet.

- Route the Short Cable (23) around the 90mm Pulley (15) attached to the lower hole in the Front Upright (42). See the inset drawing. Be sure that the Cable Trap (66) is turned to hold the Cable in place. Properly tighten the M10 Nylon Locknut (21) and the M10 x 90mm Bolt (16).

- Route the Short Cable (23) around the 90mm Pulley (15) attached to the upper hole in the Press Frame (17). Be sure that the Cable Trap (66) is turned to hold the Cable in place. Properly tighten the M10 Nylon Locknut (21). Route the Short Cable (23) around the 90mm Pulley (15) attached to the upper hole in the Front Upright (42). Refer to the inset drawing. Be sure that the Cable Trap (66) is turned to hold the Cable in place. Properly tighten the M10 Nylon Locknut (21) and the M10 x 90mm Bolt (16).

- Attach the end of the Short Cable (23) to the Long “U”-Bracket (57) with an M8 Nylon Locknut (3) and an M8 Washer (68). Do not completely tighten the Nylon Locknut; it should be threaded onto the end of the Cable until two threads are showing above the Nylon Locknut, as shown in the inset drawing.

SEAT ASSEMBLY
- Attach the Backrest (41) to the Front Upright (42) with two M6 x 63mm Screws (43) and two M6 Washers (10).

- Press a 38mm Square Inner Cap (32) into the Seat Frame (36). Insert the M6 x 50mm Carriage Bolt (38) into the center hole in the Seat Plate (37). Attach the Seat Plate to the Seat (13) with two M6 x 16mm Screws (18). Insert the M6 x 50mm Carriage Bolt (38) into the indicated hole in the Seat Frame (36). Tighten an M6 Nylon Locknut (2) with an M6 Washer (10) onto the Carriage Bolt. Attach the other end of the Seat (13) to the Seat Frame (36) with an M6 Washer (10) and the M6 x 50mm Screw (24).

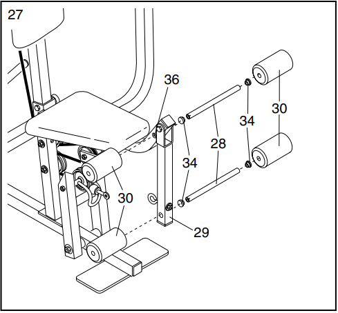
- Press a 38mm Square Inner Cap (32) into the Leg Lever (29). Lubricate the M8 x 57mm Bolt (33). Attach the Leg Lever (29) to the Seat Frame (36) with the Bolt and an M8 Nylon Locknut (3). Do not overtighten the Nylon Locknut; the Leg Lever must pivot freely. Insert the M10 x 63mm Eyebolt (35) into the Leg Lever (29) from the direction shown. Tighten an M10 Nylon Locknut (21) with an M10 Washer (9) onto the Eyebolt. Note: Be sure the Eyebolt is positioned vertically on the Leg Lever.

- Rest the Seat Frame (36) on the indicated pin in the Front Upright (42). Attach the Seat Frame to the Front Upright with an M8 x 67mm Carriage Bolt (14) and the Seat Knob (40).

- Press two 19mm Round Inner Caps (34) into the ends of both Pad Tubes (28). Insert one Pad Tube (28) into the Seat Frame (36). Slide a Foam Pad (30) onto each end of the Pad Tube. Insert the other Pad Tube (28) into the Leg Lever (29). Slide a Foam Pad (30) onto each end of the Pad Tube.

- Make sure that all parts have been properly tightened. The use of all remaining parts will be explained in ADJUSTMENT, beginning on page 15 of this manual. Before using the weight system, pull each cable a few times to make sure that the cables move smoothly over the pulleys. If one of the cables does not move smoothly, find and correct the problem. IMPORTANT: If the cables are not properly routed, they may be damaged when heavy weight is used. See the CABLE DIAGRAM on page 19 of this manual for proper cable routing. If there is any slack in the cables, you will need to remove it by tightening the cables; see TROUBLE-SHOOTING AND MAINTENANCE on page 18.
ADJUSTMENT
The instructions below describe how each part of the weight system can be adjusted. Refer to the exercise guide accompanying this manual to see how the weight system should be set up for each exercise. IMPORTANT: When attaching the lat bar or nylon strap, make sure that the attachments are in the correct starting position for the exercise to be performed. If there is any slack in the cables or chain as an exercise is performed, the effectiveness of the exercise will be reduced.
ADDING WEIGHTS TO THE WEIGHT CARRIAGE
To add resistance to your workout, slide an equal amount of weight (not included) onto each side of the weight tube on the Weight Carriage (19). Make sure that the weights are pushed against the stops. Note: Due to the cables and pulleys, the actual amount of resistance at each exercise station may vary from the amount of weight used. Use the WEIGHT RESISTANCE CHART on page 17 to find the actual amount of resistance at each weight station.
ATTACHING THE LAT BAR OR NYLON STRAP TO A PULLEY STATION
Attach the Lat Bar (54) to the Long Cable (58) with a Cable Clip (53). For some exercises, the Chain (52) should be attached between the Lat Bar and the Long Cable with two Cable Clips. Adjust the length of the Chain between the Lat Bar and the Long Cable so the Lat Bar is in the correct starting position for the exercise to be performed. The Nylon Strap (not shown) can be attached in the same manner. The accessories can be attached to the Short Cable (not shown) in the same manner.
ATTACHING AND REMOVING THE SEAT
Set the bracket on the Seat Frame (36) onto the pin on the Front Upright (42). Attach the Seat Frame to the Front Upright with the M8 x 67mm Carriage Bolt (14) and the Seat Knob (40). For some exercises, the Seat (13) must be removed. First, be sure that the chain is not attached to the leg lever. Next, remove the Seat Knob (40) and the M8 x 67mm Carriage Bolt (14) from the Seat Frame (36). Lift the Seat Frame off the Front Upright (42).
ATTACHING THE LEG LEVER TO THE LOW PULLEY STATION
To use the Leg Lever (29), the seat must be attached to the front upright (see ATTACHING AND REMOVING THE SEAT above). Attach one end of the Chain (52) to the M10 x 63mm Eyebolt (35) with a Cable Clip (53). Attach the other end of the Chain to the Short Cable (23) with a Cable Clip. Note: Be sure the Eyebolt is positioned vertically on the Leg Lever.
TROUBLE-SHOOTING AND MAINTENANCE
Make sure all parts are properly tightened each time you use the weight system. Replace any worn parts immediately. The weight system can be cleaned using a damp cloth and mild non-abrasive detergent. Do not use solvents.
TIGHTENING THE CABLES
Woven cable, the type of cable used on the weight system, can stretch slightly when it is first used. If there is slack in the cables before resistance is felt, the cables should be tightened. Slack can be removed from the Short Cable (23) by tightening the M8 Nylon Locknut (3) at the end of the Cable.
Additional slack can be removed by moving the 90mm Pulley (15) to the other hole in the Long “U”-Bracket (57). Remove the M10 Nylon Locknut (21) and the M10 x 45mm Bolt (12) from the Cable Trap (66), the Pulley, and the “U”-Bracket. Re-attach the Pulley and the Cable Trap to the other hole in the “U”-Bracket with the Bolt and Nylon Locknut. Make sure that the Cable Trap is in the proper position and that the Cable and Pulley move smoothly.
CABLE DIAGRAM
The cable diagram below shows the proper routing of the Short Cable (23) and the Long Cable (58). Use the diagram to be sure that the two cables and the cable traps have been assembled correctly. If the cables have not been correctly routed, the weight system will not function properly, and damage may occur. The numbers show the correct route for each cable. The starting and ending points of each cable are labeled. The small drawings show the correct position of each cable trap. Make sure that the cable traps do not touch or bind the cables.

Visit our website at www.weiderfitness.com for new products, prizes, fitness tips, and much more!
For More Manuals By Weider, Visit ManualsLibraryy.
Weider 8920 Home Gym-FAQs
How much weight does the Weider 8920 Home Gym offer?
The Weider 8920 comes with a weight stack that provides multiple resistance levels, allowing you to train different muscle groups effectively.
Is Weider considered a good fitness brand?
Yes, Weider is a trusted brand in the fitness industry, known for durable home gyms, benches, and weight equipment.
What are the dimensions of the Weider 8920 Home Gym?
The assembled dimensions are designed to fit comfortably in most home workout spaces. Always check your manual for the exact measurements before setup.
What is the maximum user weight capacity?
The Weider 8920 is built to handle an average user capacity similar to other Weider stations, typically around 300 lbs.
Can beginners use the Weider 8920?
Yes, it is suitable for all fitness levels. Beginners can start with lighter resistance and gradually increase as they build strength.
How often should I use the Weider 8920 for results?
For best results, 3–4 sessions per week are recommended, with rest days in between for muscle recovery.
What maintenance does the Weider 8920 require?
Regularly check cables, pulleys, and weight stacks for wear. Keep the machine clean and lubricate moving parts as instructed in the manual.



























