
Weider Pro 9835 Home Gym System

Important Precautions
WARNING: To reduce the risk of serious injury, read the following important precautions before using the home gym system.
- It is the responsibility of the owner to ensure that all users of the home gym system are adequately informed of all precautions.
- Read all instructions in this manual and in the accompanying literature before using the home gym system.
- If you feel pain or dizziness at any time while exercising, stop immediately and begin cool-ing down.
- Use the home gym system only on a level surface. Cover the floor or carpet beneath the home gym system for protection
- Inspect and tighten all parts often. Replace any worn parts immediately.
- Make sure the cables remain on the pulleys at all times. If the cables bind while you are exercising, stop immediately and make sure the cables are on all of the pulleys.
- Always stand on a foot plate when performing an exercise that could cause the home gym system to tip.
- Keep children under the age of 12 and pets away from the home gym system at all times.
- Keep hands and feet away from moving parts.
- Always wear athletic shoes for foot protec-tion when exercising.
- Never release the press arm, butterfly arms, leg lever, lat bar or handle while weights are raised. The weights will fall with great force.
- Always disconnect the lat bar from the home gym system when performing an exercise that does not use the lat bar.
- The home gym system is intended for home use only. Do not use the home gym system in a commercial, rental or institutional setting.
- When using the leg press station, always make sure the lock pin is fully inserted and folded down, so it cannot slide out (see page 24).
- Do not use the VKR station when either weight stack is in use.

Assembly
Note: This introduction will save you more time than it takes to read it!
Making Things Easier for Yourself
Everything in this manual is designed to ensure that the assembly of our products can be completed successfully by anyone. However, it is important to recognize that your new equipment is a sophisticated product with many small parts. The assembly process will take timeÑpossibly several hours. You may want to complete the process over a couple of evenings. Most people find that by setting aside plenty of time, and by deciding to make the task enjoyable, assembly will go smoothly.
Giving Yourself a Good Start
Before you begin the assembly process itself, take the time to complete the steps outlined here.
Clearing the Workspace
Clear a workspace that is large enough to hold all parts and allow you to walk all the way around the assembled equipment.
Unpacking the Box
To make the assembly process as smooth as possible, we have broken it into separate stages. All parts used in each stage are found in individual packages in the shipping box. Place all parts in a cleared area and remove the packing materials. Do not dispose of the packing materials until assembly is completed.
Important: Wait until you begin each assembly stage to open the parts bag labeled for that assembly stage.
Identifying Parts
To help you identify the small parts used in assem-bly, we have included a PART IDENTIFICATION CHART located in the center of this manual. Place the chart on the floor or work table and use it to quickly identify different parts as you open the pack-ages for each step.
Note: Some small parts may have been pre-attached for shipping. If a part is not in the parts bag, check to see if it has been pre-attached.
Orienting Parts
As you assemble this product, make sure all parts are oriented as shown in the drawings.
Tightening of Parts
Tighten all parts as you assemble them, unless instructed to do otherwise.
Lining Up the Tools
Assembly requires the following tools (not included):

- Lubricants, such as grease or petroleum jelly, and soapy water
- Tapes, such as clear tape or masking tape
Assembly will be more convenient if you have a socket set, a set of open-end or closed-end wrenches or a set of ratchet wrenches.
The Four Stages of the Assembly Process
- Frame Assembly
You will begin by assembling the base and the upright frames that serve as the skeleton of the equipment. The seats and all moving parts will be attached to the frame. - Arm Assembly
Completes the press and butterfly arms that you operate while you are exercising. - Cable Assembly
Completes the cables and pulleys that connect the moving arms with each other and with the weights. This ties the different parts together and makes the equipment function as a unit - Seat Assembly
Completes the seats and backrests that support your body while you are exercising.
Frame Assembly

- Before beginning assembly, make sure you have read and understand the information in the box above. Locate and open the parts bags labeled “FRAME ASSEMBLY BAG ONE” and “FRAME ASSEMBLY BAG TWO”
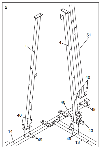
Press a 2″ Square Outer Cap (58) onto the indicated end of the Weight Base (14). Press a 2″ Square Inner Cap (56) into the indicated end of the Weight Base. Insert four 5/16″ x 2 1/2″ Carriage Bolts (49) up through the Weight Base (14) and place them flat on the floor. Insert four 5/16″ x 2 1/2″ Carriage Bolts (49) up through the Press Base (13) and place them on the floor next to the Weight Base. Attach the Press Base (13) to the Weight Base (14) with two 5/16″ x 2 3/4″ Bolts (55), two 5/16″ Washers (20) and two 5/16″ Nylon Locknuts (40). Do not tighten the Nylon Locknuts yet.
- Slide the Lat Upright (1) onto the indicated 5/16″ x 2 1/2″ Carriage Bolts (49) in the Weight Base (14). Hand-tighten two 5/16″ Nylon Locknuts (40) onto the Carriage Bolts. Do not tighten the Nylon Locknuts yet. Slide the VKR Upright (51) onto the indicated 5/16″ x 2 1/2″ Carriage Bolts (49) in the Weight Base (14). Hand-tighten two 5/16″ Nylon Locknuts (40) onto the Carriage Bolts. Do not tighten the Nylon Locknuts yet. Slide the Leg Press Upright (4) onto the indicated 5/16″ x 2 1/2″ Carriage Bolts (49) in the Press Base (13). Hand-tighten two 5/16″ Nylon Locknuts (40) onto the Carriage Bolts. Do not tighten the Nylon Locknuts yet.

- Press a 2″ Square Inner Cap (56) into the end of the Top Frame (2). Press a 2″ Square Inner Cap (56) into each side of the Butterfly Frame (3). Press two 1″Round Inner Caps (70) into the top of the Butterfly Frame. Insert a 5/16″ x 3″ Bolt (92) through the bracket on the Butterfly Frame (3) and the Top Frame (2). Make sure that the Bolt is on the side shown. Tighten a 5/16″ Nylon Jam Nut (91) with a 5/16″ Washer (20) onto the Bolt. Insert a 5/16″ x 2 3/4″ Bolt (55) through the bracket on the Butterfly Frame (3) and the Top Frame (2). Make sure that the Bolt is on the side shown. Hand-tighten a 5/16″ Washer (20) and a 5/16″ Nylon Locknut (40) onto the Bolt.

- Slide the Front Seat Frame (8) onto the indicated 5/16″ x 2 1/2″ Carriage Bolts (49) in the Press Base (13). Hand-tighten two 5/16″ Nylon Locknuts (40) onto the Carriage Bolts. Attach the other end of the Front Seat Frame (8) to the Leg Press Upright (4) with two 5/16″ x 2 3/4″ Bolts (55), two 5/16″ Washers (20) and two 5/16″ Nylon Locknuts (40). Press a 2″ Square Inner Cap (56) into the Front Seat Frame (8).

- Insert two Weight Guides (23) into each of the brackets on the Weight Base (14). Slide a Weight Bumper (27) onto each of the Weight Guides (23). Slide eight Weights (90) onto each set of Weight
Guides (23). Make sure the pin grooves are on the indicated side of each stack of Weights.
- Press a Weight Tube Bumper (26) into each Weight Tube (25). Insert a Weight Tube (25) into each stack of Weights (90). Make sure the pins on the Weight Tubes are in the pin grooves in the upper Weights.

- Lubricate the insides of the holes in the Top Weights* (24) as shown. Slide a Top Weight onto each set of Weight Guides (23).

- Attach the Top Frame (2) to the Lat Upright (1) with two 5/16″ x 2 3/4″ Bolts (55), two 5/16″ Washers (20) and two 5/16″ Nylon Locknuts (40). Do not tighten the Nylon Locknuts yet.
Attach the Butterfly Frame (3) to the Leg Press Upright (4) with two 5/16″ x 2 3/4″ Bolts (55), the
Support Plate (98) and two 5/16″ Nylon Locknuts (40). Do not tighten the Nylon Locknuts yet. Press a 2″ Square Inner Cap (56) into the top end of the VKR Upright. Attach the VKR Upright (51) to the bracket on the Top Frame (2) with two 5/16″ x 2 3/4″ Bolts (55), two 5/16″ Washers (20) and two 5/16″ Nylon Locknuts (40). Do not tighten the Nylon Locknuts yet.
- Attach the upper ends of one set of Weight Guides (23) to the Top Frame (2) with a 5/16″ x 6″ Bolt (67), two 1/2″ x 3/4 ” Spacers (69) and a 5/16Ó Nylon Locknut (40). Attach the upper ends of the other set of Weight Guides (23) in the same manner. Before continuing, firmly tighten all nylon locknuts used in steps 1 through 9.

- Press a 2″ Square Inner Cap (56) into each end of the Leg Press Arm (9).
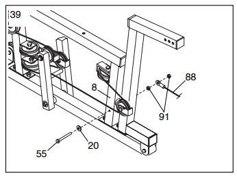
Arm Assembly - Locate and open the parts bag labeled “ARM ASSEMBLY”. Attach the Leg Press Bumper (53) to the Front Seat Frame (8) with the 1″ Tap Screw (72). Lubricate the 3/8″ x 3″ Bolt (94). Attach the Leg Press Arm (9) to the Press Base (13) with the Bolt and a 3/8″ Nylon Jamnut (43). Do not overtighten the Nylon Jamnut, it should be easy to pivot the Leg Press Arm.

- Press a 1″ x 7/8″ Plastic Bushing (54) onto each welded spacer on the Press Frame (12). Slide the Press Frame onto the Press Base (13) so that the Plastic Bushings are aligned with the indicated tube.
Note: This will be a tight fit. Make sure the Press Frame is oriented with the upper set of holes on
the side shown. Lubricate the 3/8″ x 8″ Bolt (52). Attach the Press Frame (12) to the Press Base (13) with the Bolt and a 3/8″ Nylon Locknut (42).
- Attach a Press Arm (7) to one side of the Press Frame (12) with two 5/16″ x 2 1/2″ Bolts (39) and two 5/16″ Nylon Locknuts (40). Attach the other Press Arm (7) to the Press Frame (12) in the same manner.

- Press a 1″ Round Inner Cap (70) into one of the Press Arms (7). Press a 1 3/4″ Square Inner Cap (48) into the Press Arm. Repeat this step for the other Press Arm (not shown).

- Lubricate both axles on the Butterfly Frame (3). Refer to the drawing and identify the Right Arm (5) and the Left Arm (6) by imagining yourself sitting on the Seat. Press a 1 3/4″ Square Inner Cap (48) into the upper end of the Left Arm (6). Slide the Left Arm onto the indicated axle. Note: Be careful not to confuse the Left Arm with the Right Arm (5). Make sure the upper end of the Left Arm is behind the indicated bracket on the Butterfly Frame (3). IMPORTANT NOTE: Before assembling the 1″ Retainers (45) used in this step, make sure you thoroughly understand the step. The Retainers can be assembled only once. If they must be removed, you will need to order new Retainers. Tap two 1″ Retainers (45) and a 1″ Round Outer Cap (46) onto the axle. Make sure the teeth on the Retainers bend toward the Round Outer Cap, as shown in the inset drawing. Attach the Right Arm (5) in the same manner.

- Press a 1 3/4″ Square Inner Cap (48) into the lower end of the Left Arm (6). Wet the lower end of the Left Arm with soapy water. Slide a 10″ Pad (45) onto the Left Arm. Repeat this step with the Right Arm (5). Note: The remaining parts from the parts bag labeled “ARM ASSEMBLY” will be used in assembly step 55.
Cable Assembly - Locate and open the parts bags labeled “CABLE ASSEMBLY” and “PULLEYS” During steps 18 through 47, refer to the CABLE DIAGRAMS on pages 26 and 27 of this manual to verify proper cable routing. Before beginning this section, fully unwind the five cables and identify them by comparing their lengths and ends. The approximate length of each Cable, in inches, is listed after
the key number in the drawing.
IMPORTANT: While assembling the cables, do not over tighten the bolts and nuts attaching the pulleys. The pulleys must be able to turn freely.
- Insert a 5/16″ x 1″ Bolt (95) through the bracket on the Right Butterfly Arm (5). Tighten a 5/16″ Nylon Jam Nut (91) onto the Bolt. Find the Butterfly Cable (89)Ñthis is the second shortest Cable. Slide one end of the Butterfly Cable onto the 5/16″ x 1″ Bolt (95). Thread another 5/16″ Nylon Jam Nut (91) onto the Bolt, but do not fully tighten it. Leave enough room between the two Jam Nuts for the Cable to pivot.

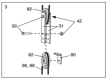
- Wrap the Butterfly Cable (89) around a 3 1/2″ Pulley (82) as shown. Attach the Pulley and a Cable Trap (80) to the bracket on the Leg Press Upright (4) with a 3/8″ x 2″ Bolt (50) and a 3/8″ Nylon Locknut (42). The cable trap must be oriented as shown and positioned to hold the cable in the groove of the Pulley.

- Locate one of the pre-assembled pairs of Pulley Plates (31) and 3 1/2″ Pulleys (82). Route the Butterfly Cable (89) under the indicated 3 1/2″ Pulley (82). The end of the Pulley Plates (31) with two holes should be downward. Refer to the inset drawing. Ensure the Cable is between the Cable Trap (80) and the Pulley, and that the Cable Trap is positioned to hold the Cable in place. Tighten the 3/8″ x 2″ Bolt (50) and the 3/8″ Nylon Locknut (42, not shown).

- Wrap the Butterfly Cable (89) around a 3 1/2″ Pulley (82) as shown. Attach the Pulley and a Cable Trap (80) to the other side of the bracket on the Leg Press Upright (4) with a 3/8″ x 2″ Bolt (50) and a 3/8″ Nylon Locknut (42). The Cable Trap must be oriented as shown and be positioned to hold the Cable in the groove of the Pulley.

- Note: The Left Arm (6) is shown removed for easier part identification. Insert a 5/16″ x 1″ Bolt (95) through the bracket on the Left Arm. Fully tighten a 5/16″ Nylon Jam Nut (91) onto the Bolt.
Slide the free end of the Butterfly Cable (89) onto the 5/16″ x 1″ Bolt (95). Thread another 5/16″ Nylon Jam Nut (91) onto the Bolt, but do not fully tighten it. Leave enough room between the two Jam Nuts for the Cable to pivot.
- Find the Rear Cable (87)-this is the shortest Cable. Slide one end of the Rear Cable onto the 5/16″
x 3″ Bolt (92). Thread another 5/1″ Nylon Jam Nut (91) onto the Bolt, but do not fully tighten it. Leave enough room between the two Jam Nuts for the Cable to pivot.
- See the inset drawing. Attach a 3 1/2″ Pulley (82) and a Cable Trap (80) to the upper hole in a Large “U” Bracket (84) with a 3/8″ x 2″ Bolt (50) and a 3/8″ Nylon Locknut (42). Make sure the Cable Trap is inside the Large “U” Bracket. Note: This may come pre-assembled. Route the Rear Cable (87) through the Large “U” racket (84) and the 3 1/2″ Pulley (82). Make sure the Cable is in the groove of the Pulley and that the Cable and Pulley move smoothly.

- Wrap the Rear Cable (87) around a 3 1/2″ Pulley (82). Attach the Pulley to the Top Frame (2) with a 3/8″ x 2″ Bolt (50) and a 3/8Ó Nylon Locknut (42). The Cable must be routed from the direction shown.

- Thread a 1/2″ Plain Nut (35) onto the end of the Rear Cable (87). Place a 1/2″ Washer (68) and a 1 1/4″ x 1/2″ Weight Spacer (10) on top of the Weight Tube (25). Thread the end of the Rear Cable (87) into the upper end of the Weight Tube (25) until the Weight Spacer (10) touches the Weight Tube.
Note: It is necessary to lift the Weight Tube (25) with the Top Weight (24) slightly to thread the Rear Cable (87) in place.
- Find the Press Cable (88)-this is the longest Cable. Attach the end of the Press Cable (88) to the
Large “U” Bracket (84) with a 1/4″ Nylon Locknut (44) and a 1/4″ Washer (37). Do not completely tighten the Nylon Locknut. It should be threaded onto the end of the Cable so only a couple of threads are showing above the Nylon Locknut, as shown in the inset drawing.
- Wrap the Press Cable (88) around a 3 1/2″ Pulley (82). Attach the Pulley and a Cable Trap (80) to the indicated bracket on the Press Base (13) with a 3/8″ x 2″ Bolt (50) and a 3/8″ Nylon Locknut (42). Make sure the Cable Trap is turned to hold the Cable in place.

- Wrap the Press Cable (88) around a 3 1/2″ Pulley (82). Attach the Pulley and a Cable Trap (80) to the other bracket on the Press Base (13) with a 3/8″ x 2″ Bolt (50) and a 3/8″ Nylon Locknut (42). Make sure the Cable Trap is turned to hold the Cable in place.

- Route the Press Cable (88) over the indicated 3 1/2″ Pulley (82) attached to the Pulley Plates (31). The Cable must be routed from the direction shown. Refer to the inset drawing. Make sure the Cable is between the Cable Trap (80) and the Pulley. Make sure the Cable Trap is positioned to hold the Cable in place as shown in the inset drawing. Tighten the 3/8″ x 2″ Bolt (50) and the 3/8″ Nylon Locknut (42, not shown).

- Route the Press Cable (88) around a 3 1/2″ Pulley (82). Attach the Pulley and a Cable Trap (80) to the Leg Press Upright (4) with a 3/8″ x 3 1/2″ Bolt (66), a 3/8″ Washer (38) and a 3/8″ Nylon Jam Nut (43). Make sure the Cable Trap (80) is turned to hold the Cable in place.

- Route the Press Cable (88) around a 3 1/2″ Pulley (82). Attach the Pulley and a Cable Trap (80) to the Press Frame (12) with a 3/8″ x 3″ Bolt (94), a 3/8Ó Washer (38) and a 3/8″ Nylon Jamnut (43). Make sure the Cable Trap (80) is turned to hold the Cable in place.

- Wrap the Press Cable (88) around a “V” Pulley (81). Attach the “V” Pulley to the upper bracket on the Leg Press Upright (4) with a 3/8″ x 2″ Bolt (50) and a 3/8Ó Nylon Jam Nut (43).

- Route the Press Cable (88) around a 3 1/2″ Pulley (82). Attach the Pulley and a Cable Trap (80) to the Press Frame (12) with a 3/8″ x 3″ Bolt (94), a 3/8″ Washer (38) and a 3/8″ Nylon Jamnut (43). Make sure the Cable Trap (80) is turned to hold the Cable in place and that the Cable is between the Pulley and the crossbar on the Press Frame.

- Wrap the Press Cable (88) around a “V” Pulley (81). Attach the “V” Pulley to the lower bracket on the Leg Press Upright (4) with a 3/8″ x 2″ Bolt (50) and a 3/8″ Nylon Jam Nut (43).

- Wrap the Press Cable (88) around a 3 1/2″ Pulley (82). Attach the Pulley and a Cable Trap (80) to the Leg Press Arm (9) with the 3/8″ x 4 1/2″ Bolt (74). Slide another 3 1/2″ Pulley (82) with a Cable Trap (80) onto the 3/8″ x 4 1/2″ Bolt (74). Hand tighten a 3/8″ Nylon Jamnut (43) onto the Bolt. Do not tighten the Nylon Jamnut until step 38.

- Wrap the Press Cable (88) around a “V” Pulley (81). Attach the “V” Pulley and a Large Cable Trap (83) to the bracket on the Front Seat Frame (8) with a 3/8″ x 2 1/2″ Bolt (65) and a 3/8″ Nylon Locknut (42). Be sure that the Large Cable Trap is turned to hold the Cable in place and that the Cable and Pulley move smoothly.

- Note: The 3 1/2″ Pulley (82) used in this step was attached in step 36. It is shown removed for easier part identification. Route the Press Cable (88) around the 3 1/2″ Pulley (82). Make sure the Cable Trap (80) is turned to hold the Cable in place and that the Cable is routed as shown. Tighten the 3/8″ x 4 1/2″ Bolt (74) and the 3/8″ Nylon Jamnut (43).

- Slide a 5/16″ Washer (20) onto a 5/16″ x 2 3/4″ Bolt (55). Insert the Bolt into the Front Seat Frame (8). Fully tighten a 5/16″ Nylon Jam Nut (91) onto the Bolt. Slide the end of the Press Cable (88) onto the Bolt. Thread another 5/16″ Nylon Jam Nut (91) onto the Bolt, but do not fully tighten it. Leave enough room between the two Jam Nuts for the Cable to pivot.

- Locate the High Cable (85)-this is the longest remaining cable. Wrap the High Cable around a
3 1/2″ Pulley (82). Attach the Pulley to the Top Frame (2) with a 3/8″ x 3 1/2″ Bolt (66), a 3/8″ Washer (38) and a 3/8″ Nylon Jamnut (43). Make sure the end of the Cable with the ball is on the indicated side of the Pulley and that the Cable is between the Pulley and the post.
- Wrap the High Cable (85) around a 3 1/2″ Pulley (82). Attach the Pulley and a Cable Trap (80) to the Top Frame (2) with a 3/8″ x 3 1/2″ Bolt (66), a 3/8″ Washer (38) and a 3/8″ Nylon Jam Nut (43). Be sure that the Cable Trap is positioned to hold the Cable in place.

- Locate the remaining preassembled pair of Pulley Plates (31) and 3 1/2″ Pulleys (82). Route the High Cable (85) under the indicated 3 1/2″ Pulley (82). The end of the Pulley Plates (31) with two
holes should be downward. Refer to the inset drawing. Make sure the Cable is between the Cable
Trap (80) and the Pulley, and that the Cable Trap is positioned to hold the Cable in place. Tighten the 3/8″ x 2″ Bolt (50) and the 3/8″ Nylon Locknut (42, not shown).
- Wrap the High Cable (85) around a 3 1/2″ Pulley (82). Attach the Pulley to the Top Frame (2) with a 3/8″ x 2″ Bolt (50) and a 3/8″ Nylon Locknut (42). The Cable must be routed from the direction shown.

- Thread a 1/2″ Plain Nut (35) onto the end of the High Cable (85). Place a 1/2″ Washer (68) and a 1 1/4″ x 1/2″ Weight Spacer (10) on top of the Weight Tube (25). Thread the end of the Rear Cable (87) into the upper end of the Weight Tube (25) until the Weight Spacer (10) touches the Weight Tube. Note: It is necessary to lift the Weight Tube (25) with the Top Weight (24) slightly to thread the Rear Cable (87) in place.

- Attach the closed loop on the end of the Low Cable (86) to the bracket on the Lat Upright (1) with the 5/16″ x 1″ Bolt (95) and a 5/16″ Nylon Locknut (40). Make sure the flat side of the closed loop at the end of the Low Cable (86) is turned towards the bracket.

- Remove the indicated 3/8″ x 2″ Bolt (50), the 3/8″ Nylon Locknut (42), the 3 1/2″ Pulley (82) and the Cable Trap (80) from the indicated Pulley Plates (31). Lay the Low Cable (86) over the Pulley. Re-attach the Pulley and the Cable Trap to the lowest hole in the Pulley Plates with the Bolt and the Nylon Locknut. Make sure the Cable Trap is turned to hold the Cable in place.

- Wrap the Low Cable (86) around a 3 1/2″ Pulley (82). Attach the Pulley to the Lat Upright (1) with the 3/8″ x 3 1/2″ Bolt (66), a 3/8Ó Washer (38) and a 3/8″ Nylon Jamnut (43). The ball on the Cable must be on the indicated side of the Pulley. Make sure the Cable and Pulley move smoothly and that the Cable is etween the Pulley and the post.
Seat Assembly - Locate and open the parts bag labeled “SEAT ASSEMBLY” Attach a Small Backrest (97) to the Lat Upright (1) with two 1/4″ x 2 1/2″ Machine Screws (64) and two 1/4″ Washers (37).

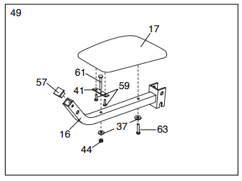
- Press a 1 1/2″ Square Inner Cap (57) into the Rear Seat Frame (16). Insert a 1/4″ x 2″ Carriage Bolt (61) through the center hole in a Seat Plate (41). Attach the Seat Plate to the Seat (17) with two 1/4″ x 1/2″ Screws (59). Insert the 1/4″ x 2″ Carriage Bolt (61) through the indicated hole in the Rear Seat Frame (16). Tighten a 1/4″ Nylon Locknut (44) with a 1/4″ Washer (37) onto the Carriage Bolt. Attach the other end of the Seat (17) to the Rear Seat Frame (16) with a 1/4″ Washer (37) and a 1/4″ x 2″ Machine Screw (63).

- Press a 1 1/2″ Square Inner Cap (57) into the Leg Lever (15). Lubricate the 5/16″ x 2 1/4″ Bolt (62). Attach the Leg Lever (15) to the Rear Seat Frame (16) with the Bolt and a 5/16″ Nylon Locknut (40). Do not overtighten the Nylon Locknut; the Leg Lever must pivot freely. Insert the 5/16″ x 2″ Eyebolt (79) into the Leg Lever (15) from the direction shown. Tighten a 5/16″ Nylon Locknut (40) with a 5/16″ Washer (20) onto the Eyebolt.

- Rest the slot in the Rear Seat Frame (16) on the indicated post in the Lat Upright (1). Attach the Rear Seat Frame to the Lat Upright with a 5/16″ x 2 3/4″ Carriage Bolt (77) and the Seat Knob (30).

- Press two 3/4″ Round Inner Caps (78) into each Pad Tube (28). Insert a Pad Tube (28) into the Rear Seat Frame (16). Slide a Foam Pad (29) onto each end of the Pad Tube. Insert the other Pad Tube (28) into the Leg Lever (15). Slide a Foam Pad (29) onto each end of the Pad Tube.

- Attach a Large Backrest (19) to the Leg Press Upright (4) with two 1/4″ x 2 1/2″ Machine Screws (64) and two 1/4″ Washers (37).

- Insert a 1/4″ x 2 1/2″ Carriage Bolt (60) through the center hole in a Seat Plate (41). Attach the Seat Plate to the Seat (17) with two 1/4″ x 1/2″ Screws (59). Insert the 1/4″ x 2 1/2″ Carriage Bolt (60) through the indicated hole in the Front Seat Frame (8). Tighten a 1/4″ Nylon Locknut (44) with a 1/4″ Washer (37) onto the Carriage Bolt. Attach the other end of the Seat (17) to the Front Seat Frame (8) with a 1/4″ Washer (37) and a 1/4″ x 2 1/2″ Machine Screw (64).

- Attach the Left (18) and the Right (32) VKR Arm to the VKR Upright (51) with two 5/16″ x 3″ Bolts (92) and two 5/16″ Nylon Locknuts (40).

- Attach the VKR Backrest (76) to the VKR Upright (51) with two 1/4″ x 2 1/2″ Machine Screws (64) and two 1/4″ Flat Washers (37).

- Slide the Leg Press Plate (11) onto the end of the adjustment tube (A) on the Leg Press Arm (9).
Slide the Lock Pin (73) through the welded tubes on the Leg Press Plate (11) and one of the holes in the adjustment tube (A). Make sure the Leg Press Plate is oriented correctly. Note that on one side the distance from the square hole to the edge of the Plate is 3 1/2″ and on the other side the distance is 5 3/4″ The side with the 3 1/2″ distance must be pointed upwards.
- Make sure that all parts have been properly tightened. The use of the remaining parts will be explained HOW TO USE THE HOME GYM SYSTEM, beginning on page 23 of this manual. Before using the home gym system, pull each cable a few times to be sure that the cables move smoothly over the pulleys. If one of the cables does not move smoothly, find and correct the problem. IMPORTANT: If the cables are not properly installed, they may be damaged when heavy weight is used. See the CABLE DIAGRAMS on page 26 and 27 of this manual for proper cable routing. If there is any slack in the cables, you will need to remove the slack by tightening the cables. See TROUBLE-SHOOTING AND MAINTENANCE on page 25.
Troubleshooting and Maintenance
Inspect and tighten all parts each time you use the home gym system. Replace any worn parts immediately. The home gym system can be cleaned using a damp cloth and mild non-abrasive detergent. Do not use solvents.
TIGHTENING THE CABLES
Woven cable, the type of cable used on the home gym system, can stretch slightly when it is first used. If there is slack in the cables before resistance is felt, the cables should be tightened. If any slack is felt when using the weight stack closest to the lat upright, both the High Cable (85) and the Low Cable (86) will need to be tightened. If any slack is felt when using the other weight stack, the Rear Cable (87), the Press Cable (88), and the Butterfly Cable (89) will need to be tightened.
To tighten the cables, first insert the weight pin into the middle of the weight stack. Slack can be removed from the cables in several ways:
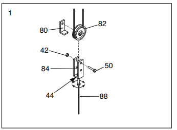
- See drawing 1. Tighten the 1/4″ Nylon Locknut (44) that connects the end of the Press Cable (88) to the Large “U” Bracket (84).
- See drawing 1. Remove the 3/8″ Nylon Locknut (42) and the 3/8″ x 2″ Bolt (50) from the Cable Trap (80), Pulley, and Large “U” Bracket (84). Re-attach the Pulley and Cable Trap to the other hole in the Large “U” Bracket. Make sure the Cable Trap is in the proper position and that the Cable and Pulley move smoothly.

- See drawing 2. Loosen the 1/2″ Plain Nut (35) on the end of the High Cable (85). Thread the Cable further into the Weight Tube (25). Hand-tighten the 1/2″ Plain Nut. The Rear Cable (87) can be tightened in the same manner.

- See Drawing 3. If you feel additional slack while using the home gym system, the Low Cable (86) and the Press Cable (88) can be tightened further. Remove the 3/8″ x 2″ Bolts (50), the 3/8″ Nylon Locknuts (42), the 3 1/3″ Pulleys (82), and the Cable Traps (80) from the Pulley Plates (31). Reattach the upper Pulley without the Cable Trap. Reattach the lower Pulley to the higher hole in the Pulley Plates without the Cable Trap. Keep the Cable Traps for future use. Make sure the Cable and Pulley move smoothly.

Do not over tighten the cables. If the cables are overtightened, the top weight will be lifted off the weight
stack. If a cable tends to slip off the pulleys often, it may have become twisted. Remove the cable and reinstall it.
If the cables need to be replaced, see ORDERING REPLACEMENT PARTS on the back cover of this manual.
For more manuals by Weider, visit ManualsLibraryy
Weider Pro 9835 Home Gym System-FAQs
What is the Weider Pro 9835 Home Gym System?
The Weider Pro 9835 is a multifunctional home gym system designed for strength training. It includes various stations for exercises like chest presses, leg curls, lat pulldowns, and more.
How much weight does the system provide for resistance training?
The gym system typically comes with a weight stack that provides adjustable resistance, commonly up to 210 pounds, depending on the model.
Can I perform a full-body workout with the Weider Pro 9835?
Yes, the system includes multiple exercise stations and attachments that allow you to target all major muscle groups for a complete workout.
How do I assemble the Weider Pro 9835 Home Gym?
The assembly process involves following the step-by-step instructions provided in the manual. It includes attaching the frame, cables, weight stack, and exercise stations. Tools required are usually listed in the manual.
What exercises can be performed with this home gym system?
You can perform a variety of exercises, such as:
1. Chest presses and flys
2. Lat pulldowns
3. Leg extensions and curls
4. Bicep curls and tricep pushdowns
5. Seated rows and shoulder presses
Is the Weider Pro 9835 suitable for beginners?
Yes, the system is designed for users of all fitness levels. Beginners can start with lower resistance and gradually increase as they build strength.
How do I adjust the resistance?
The resistance is adjusted by inserting the pin into the desired weight level on the weight stack. Ensure the pin is securely in place before starting your exercise.
Does the system come with an exercise guide?
Many Weider Pro models include an exercise chart or guide that demonstrates the various exercises you can perform and the muscles they target.
How do I maintain the Weider Pro 9835 Home Gym?
To maintain the system:
1. Regularly check and tighten bolts and screws.
2. Lubricate moving parts as specified in the manual.
3. Inspect cables and pulleys for wear and replace them if necessary.










Arm Assembly




Cable Assembly





























Seat Assembly











