
Aqara T1 Valve Controller

Warnings
- This product is for indoor use only. Please do not use it outdoors.
- Pay attention to moisture. Please do not spill water or other liquids on this product.
- Do not place the product near a heat source.
- Do not allow children to play with the controller. Place the device away from children.
- This product is only intended to enhance the entertainment and convenience of your family life, and for device status reminders, and the manufacturer is not responsible for any risk or property damage caused by any violation of the product’s instructions for use and these precautions by the user. 6. Please do not attempt to repair this product yourself; this work should be carried out by an authorized professional. 7. This product is intended for safe use only at altitudes up to 2000 meters above sea level
Product Introduction
The Aqara Valve Controller T1 is a valve controller based on the Zigbee wireless communication protocol, suitable for wireless control and manual operation of valves in pipelines. It can be linked with water leak/gas sensors and other devices to realize risk identification, notification, and treatment to protect home property and personal safety.
- This device needs to be used with the Aqara Home app and an Aqara Zigbee Hub, hereinafter referred to as the App and the Hub, Aqara Valve Controller T1, hereinafter referred to as the device.

Product Installation
- Find the valve piping where you plan to install the equipment, manually switch the valve once to make sure that the valve is in a state where it can be normally switched on and off, and please adjust the valve to open. Note: At least 187 * 248 mm size should be reserved above the pipeline to ensure that there is enough space to install the equipment.

- Pre-mount the 2 pieces of mounting bracket on the pipe using screws (do not tighten the screws yet). Note: The mounting bracket is suitable for pipes up to a maximum DN20 size. If there is a large gap between the mounting bracket and the pipe during installation, please insert the rubber gasket on the outer side of the pipe before securing it with the mounting bracket.

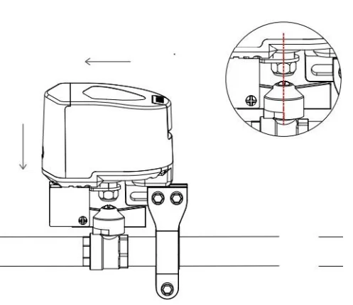
- Move the device to the valve, secure the swivel arm to the valve handle, and take note of the mounting position of the controller, ensuring that the output shaft of the unit aligns with the center axis of the valve swivel.

- Tighten the mounting bracket screws to ensure the stability of the device.

- Open the battery compartment, install the batteries, and then re-close the battery compartment.

- Click the work button, and the device will perform a closing action. If the equipment wobbles or breaks away from the valve handle during the working process, please re-fix it. The installation is complete when you make sure that the device remains stable in working condition. Note: When adjusting the stability of the device, please remove the battery to prevent accidentally touching the device during the adjustment process, which could result in the operation of the device and cause inconvenience.
For DN25 pipes
- Locate the valve piping where you intend to install the equipment, manually open and close the valve once to verify that it operates correctly, and then adjust the valve to the open position.

- Attach the 2-piece mounting bracket to the device with screws.

- Adjust the pipe fixture, turn the screw to loosen the fixture, and thread the fixture through the hole under the bracket to finish installing the bracket and fixture.
- Move the device to the valve, attach the swivel arm to the valve handle, and carefully observe the installation position of the device, ensuring that the output axis of the device aligns with the center axis of the valve swivel.

- Tighten the mounting screws to secure the pipe clamps around the pipe and ensure the equipment’s stability

- Open the battery compartment, install the batteries, and then close the battery compartment again.

- Click the work button, and the device will perform a closing action. If the device wobbles or breaks away from the valve handle during the working process, please re-fix it. The installation is complete when you make sure that the device remains stable in working conditions.
Butterfly Valve Type Installation
- Find the valve piping where you plan to install the equipment, manually switch the valve once to ensure it can be normally turned on and off, and then adjust the valve to the open position.

- Open the butterfly handle valve accessory package and assemble the fixture. Secure the swing arm and the clamp with three screws, while pre-installing the other two screws in the holes below the clamp. * Ensure the smooth side of the arm faces upwards; position the holes on the underside of the clamp towards the inside of the arm.

- Use an Allen key or pliers to rotate counterclockwise, loosen the hex nut located below the device, and disassemble the nut, washer, and the swing arm for lever handles.

- Install the butterfly handle swing arm onto the device in the following order: nut from the accessory package, swing arm, and then the securing nut. Note: when installing, do not tighten the nut to the point of locking it. Once installation is complete, operate the device once to check if the device is functioning properly.

- Move the device onto the valve, secure the arm with the valve handle, and pay attention to the installation position of the device. Ensure that the axis of the swingarm aligns with the valve handles.

- Tighten the mounting bracket screws to ensure the stability of the equipment.

- According to the style of the butterfly handle, adjust the screws of the clamp to ensure that the fixture can secure the butterfly handle without any interference during operation.

- Open the battery compartment, install the batteries, and then close the battery compartment again.

- Click the Controller button once, and the equipment will perform a closing action. If the equipment shakes or detaches from the valve handle during operation, please secure it. Once you ensure that the equipment remains stable during operation, the installation is complete.e
Quick Setup
- Please download the latest version of the Aqara Home App via the app store scan the QR code below.

- Please make sure the hub is bound to the Aqara Home account you are using. If you have not bound the hub, please refer to the manual of the hub to add the hub to the app.
- Open the app, click “+” in the upper right corner of the home page, enter the page of adding equipment (accessories), select “Valve Controller T1”, and followthe prompts to operate; you can also scan the device body by clicking Scan Logo in the upper right corner of the home page on the upper right corner of the home page, scanthe QR code of the device body to add equipment.
- If adding fails, please move the product closer to the hub, re-power on, and try again.
- Control the device through the app. If the device status changes, it means the device is connected normally.
- Valid distance verification: Click the distribution button 3 times consecutively, and the hub emits a beep; it means that the device and the hub can communicate with each other effectively (only the Athe qara Home app supports this function).
- To ensure the user experience, please update the device firmware to the latest version after the device has finished binding and then use it.
Operating Guidelines
Key Control
When the device is powered on, press the “Control” button on the device to initiate the open/close action. The status indicator will flash green while the device is in operation.
Manual Control
Press the clutch “PUSH” button and manually rotate the arm, then release the clutch”PUSH” button after the arm has finished rotating.
Buttons & Indicators & Device Status

Device Alarm
Reasons
- Equipment timeout: equipment switching valve maximum working time 20S, if more than 20S is not completed, the equipment alarm.
- Equipment is not completely open/closed: equipment work is completed, the valve does not reach 0/90 °, that is, not completely openclosede, the equipment alarm Processing Procedure.
- Click the distribution network button to clear the alarm.
- Press the “PUSH” button on the clutch, manually rotate the arm to reset the device, and release the “PUSH” button after resetting.
- Check the valve status to ensure that rust or any issues do not prevent the equipment from fully controlling the valve. If there is an issue, please repair the valve promptly.
Product Specifications
- Product size: 93 × 72 × 84 mm (3.66 × 2.83 × 3.31 in.)
- Wireless connection: Zigbee
- Power supply: AA Battery × 4
- Valve pressure: 1.6MPa
- Torque: ≤ 3.6 N·m
- Operating temperature: -10℃ – 50℃
- Working humidity: 0-95%, non-condensing
- Valve opening/closing time: 5-20s
- Compatible Pipe Sizes: DN15, DN20, DN25
- Compatible Handle Types: lever handle, butterfly handle
FOR MORE MANUALS BY AQARA, VISIT MANUALSLIBRARYY
Aqara T1 Valve Controller-FAQs
What is the Aqara T1 Valve Controller?
It is a smart device that lets you control water pipelines through the Aqara Home app or manually. It can be installed on existing valves without plumbing changes and works with water leak sensors to automatically shut off water for safety.
Can I control the Aqara T1 remotely?
Yes, you can control it from your smartphone or via Alexa. It allows you to set schedules or activate valves from anywhere.
Does the Aqara T1 require a hub?
Yes, an Aqara Hub is needed for remote control and integration with platforms like Apple Home, Google Home, Alexa, and Matter-enabled systems.
How do I reset the Aqara T1?
Press and hold the reset button on the device for 5 seconds. The indicator light will flash to confirm it has been reset to factory settings.
What is the battery life of the Aqara T1?
The device uses a long-lasting battery, typically providing up to 2 years of operation depending on usage.
How do I pair the Aqara T1 with my hub?
Press and hold the device button to enter pairing mode, then follow the Aqara Home app instructions to connect it to your hub.
Does Aqara T1 work with Wi-Fi or only Zigbee?
The T1 connects via Zigbee 3.0 through the Aqara Hub. The hub itself can use Wi-Fi or Ethernet to connect to your network.
Is Aqara a Xiaomi company?
Aqara is a brand associated with Xiaomi and operates under Lumi United Technology. While compatible with Xiaomi smart home systems, Aqara develops and markets its products independently.
Are there any monthly fees for using Aqara T1?
No, Aqara does not charge subscription fees. Most features, including automation and remote control, are free to use.
What problems does the Aqara T1 solve?
It helps prevent water damage by automatically shutting off valves in case of leaks and provides remote control for irrigation or other water systems, improving home safety and efficiency.



















