
Bellini BDW504W 45cm White Dishwasher

SAFETY INFORMATION
WARNING: When using your dishwasher, follow the precautions listed below:
- Installation and repair can only be carried out by a qualified technician.
- This appliance is intended to be used in household and similar applications such as:
- staff kitchen areas in shops, offices, and other working environments;
- farm houses;
- by clients in hotels, motels, and other residential-type environments;
- bed and breakfast type environments.
- This appliance can be used by children aged 8 years and above and persons with reduced physical, sensory, or mental capabilities or lack of experience and knowledge if they have been given supervision or instruction concerning the use of the appliance in a safe way and understand the hazards involved. Children shall not play with the appliance. Cleaning and user maintenance shall not be done by children without supervision. (For EN60335-1)
- This appliance is not intended for use by persons (including children) with reduced physical, sensory, or mental capabilities, or lack of experience and knowledge, unless they have been given supervision or instruction concerning use of the appliance by a person responsible for their safety. (For IEC60335-1)
- Packaging material could be dangerous for children! This appliance is for indoor household use only.
- To protect against the risk of electrical shock, do not immerse the unit, cord, or plug in water or other liquid. Please unplug before cleaning and performing maintenance on the appliance. Use a soft cloth moistened with mild soap, and then use a dry cloth to wipe it again.
PRODUCT OVERVIEW
IMPORTANT: To get the best performance from your dishwasher, read all operating instructions before using it for the first time.

USING YOUR DISHWASHER
Before using your dishwasher :

- Loading the basket
- Fill the rinse aid dispenser (Please check section 1 of PART Ⅱ: Special Version)
- Fill in detergent (Please check section 1 of PART Ⅱ: Special Version)
Basket Used Tips
Adjusting the upper basket
Type 1: The height of the upper basket can be easily adjusted to accommodate taller dishes in either the upper or lower basket. To adjust the height of the upper rack, follow these steps:
Folding back the cup shelves
To make room for taller items in the upper basket, raise the cup rack upwards. You can then lean the tall glasses against it. You can also remove it when it is not required for use.
Folding back the rack shelves
The spikes of the lower basket are used for holding plates and a platter. They can be lowered to make more room for large items.
MAINTENANCE AND CLEANING
External Care
The door and the door seal
Clean the door seals regularly with a soft, damp cloth to remove food deposits. When the dishwasher is being loaded, food and drink residues may drip onto the sides of the dishwasher door. These surfaces are outside the wash cabinet and are not accessed by water from the spray arms. Any deposits should be wiped off before the door is closed.
The control panel
If cleaning is required, the control panel should be wiped with a soft, damp cloth only.
WARNING
- To avoid penetration of water into the door lock and electrical components, do not use a spray cleaner of any kind.
- Never use abrasive cleaners or scouring pads on the outer surfaces because they may scratch the finish. Some paper towels may also scratch or leave marks on the surface.
Internal Care
Filtering system
The filtering system at the base of the wash cabinet retains coarse debris from the washing cycle. The collected coarse debris may cause the filters to clog. Check the condition of the filters regularly and clean them if necessary under running water. Follow the steps below to clean the filters in the wash cabinet.
NOTE: Pictures are only for reference; different models of the filtering system and spray arms may be different.

Spray arms
It is necessary to clean the spray arms regularly, for hard water chemicals will clog the spray arm jets and bearings. To clean the spray arms, follow the instructions below:

Caring for the Dishwasher
Frost precaution
Please take frost protection measures for the dishwasher in winter. Every time after washing cycles, please operate as follows:
- Cut off the electrical power to the dishwasher at the supply source.
- Turn off the water supply and disconnect the water inlet pipe from the water valve.
- Drain the water from the inlet pipe and water valve. (Use a pan to gather the water.)
- Reconnect the water inlet pipe to the water valve.
- Remove the filter at the bottom of the tub and use a sponge to soak up water in the sump.
After every wash
After every wash, turn off the water supply to the appliance and leave the door slightly open so that moisture and odors are not trapped inside.
Remove the plug
Before cleaning or performing maintenance, always remove the plug from the socket.
No solvents or abrasive cleaning
To clean the exterior and rubber parts of the dishwasher, do not use solvents or abrasive cleaning products. Only use a cloth with warm, soapy water. To remove spots or stains from the surface of the interior, use a cloth dampened with water and a little vinegar, or a cleaning product made specifically for dishwashers.
When not in use for a long time
It is recommended that you run a wash cycle with the dishwasher empty and then remove the plug from the socket, turn off the water supply, and leave the door of the appliance slightly open. This will help the door seals last longer and prevent odors from forming within the appliance.
Moving the appliance
If the appliance must be moved, try to keep it in the vertical position. If necessary, it can be positioned on its back.
Seals
One of the factors that causes odours to form in the dishwasher is food that remains trapped in the seals. Periodic cleaning with a damp sponge will prevent this from occurring.
INSTALLATION INSTRUCTION
About Power Connection
WARNING
- For personal safety:
- Do not use an extension cord or an adapter plug with this appliance.
- Do not, under any circumstances, cut or remove the earthing connection from the power cord.
Electrical requirements
Please look at the rating label to know the rated voltage and connect the dishwasher to the appropriate power supply. Use the required fuse 10A/13A/16A, time delay fuse, or circuit breaker recommended, and provide a separate circuit serving only this appliance.
Electrical connection
Ensure the voltage and frequency of the power being used correspond to those on the rating plate. Only insert the plug into an electrical socket that is earthed properly. If the electrical socket to which the appliance must be connected is not appropriate for the plug, replace the socket rather than using adapters or the like, as they could cause overheating and burns. Warning: Ensure that proper earthing exists before use.
Water Supply and Drain
Cold water connection
Connect the cold water supply hose to a threaded 3/4 inch connector and make sure that it is fastened tightly in place. If the water pipes are new or have not been used for an extended period of time, let the water run to make sure that the water is clear. This precaution is needed to avoid the risk of the water inlet being blocked and damaging the appliance.
Connection of Drain Hoses
Insert the drain hose into a drain pipe with a minimum diameter of 4 cm, or let it run into the sink, making sure to avoid bending or crimping it. The height of the drain pipe must be less than 1000 mm. The free end of the hose must not be immersed in water to avoid backflow. To allow water to flow out of the drain hose and into the under-sink waste pipe, ensure that the spigot connection is open. If not, it is drilled out internally. Please securely fix the drain hose in either position A or position B.
How to drain excess water from hoses
If the sink is 1000 mm higher than the floor, the excess water in the hoses cannot be drained directly into the sink. It will be necessary to drain excess water from hoses into a bowl or suitable container that is held outside and lower than the sink.
Water outlet
Connect the water drain hose. The drain hose must be correctly fitted to avoid water leaks. Ensure that the water drain hose is not kinked or squashed.
Extension hose
If you need a drain hose extension, make sure to use a similar drain hose. It must be no longer than 4 meters; otherwise, the cleaning effect of the dishwasher could be reduced.
Syphon connection
The waste connection must be at a height less than 100 cm (maximum) from the bottom of the dish. The water drain hose should be fixed.
Position the appliance
Position the appliance in the desired location. The back should rest against the wall behind it, and the sides along the adjacent cabinets or walls. The dishwasher is equipped with water supply and drain hoses that can be positioned either to the right or the left sides to facilitate proper installation.
Levelling the appliance
Once the appliance is positioned for levelling, the height of the dishwasher may be altered via adjustment of the screwing level of the feet. In any case, the appliance should not be inclined more than 2°.
NOTE: Only apply to the free-standing dishwasher.
Free Standing Installation
Type 1: Fitting between existing cabinets
The height of the dishwasher, 845 mm, has been designed in order to allow the machine to be fitted between existing cabinets of the same height in modern fitted kitchens. The feet can be adjusted so that the correct height is reached. The laminated top of the machine does not require any particular care since it is heatproof, scratchproof, and stainproof.
Type 2: Underneath the existing worktop
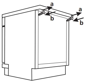
(When fitting beneath a worktop). In most modern fitted kitchens, there is only one single worktop under which cabinets and electrical appliances are fitted. In this case, remove the worktop of the dishwasher by unscrewing the screws under the rear edge of the top (a).
Attention: After removing the worktop, the screws must be screwed again under the rear edge of the top (b). The height will then be reduced to 815 mm, as scheduled by the International Regulations (ISO), and the dishwasher will fit perfectly under the kitchen working top.
Selecting the best location for the dishwasher
The installation position of the dishwasher should be near the existing inlet and drain hoses and power cord. Illustrations of cabinet dimensions and the installation position of the dishwasher.
- Less than 5 mm between the top of the dishwasher and the cabinet, and the outer door aligned to the cabinet.

- If the dishwasher is installed at the corner of the cabinet, there should be some space when the door is opened.

TROUBLESHOOTING TIPS
Before Calling for Service
Reviewing the charts on the following pages may save you from calling for service. For Warranty and technical queries: New Zealand 0800 764 912 www.belliniappliances.com.au.



For More Manuals By Bellini, Visit ManualsLibraryy.
Bellini BDW504W 45cm White Dishwasher-FAQs
What is the warranty on the Bellini BDW504W 45cm White Dishwasher?
The Bellini BDW504W typically comes with a 3-year in-home warranty, covering manufacturing defects and certain service-related issues. It is important to retain your purchase receipt and user manual, as these are usually required for warranty claims. Always check the specific warranty terms provided at purchase, as coverage conditions may vary slightly by retailer or region.
What features does the Bellini BDW504W dishwasher offer?
This compact 45cm dishwasher is designed for smaller kitchens while still delivering practical functionality. It generally includes multiple wash programs, a half-load option, delayed start, and an extra dry function. With space for around 9 place settings, it suits small households and apartments that need efficient cleaning without taking up too much space.
How energy efficient is the Bellini BDW504W dishwasher?
Bellini dishwashers are designed with water and energy efficiency in mind. Similar models in the range offer strong water ratings and moderate Energy Star ratings, helping reduce utility costs over time. Actual efficiency depends on the wash program selected and load size, but using eco modes and full loads can further improve operating efficiency.
What does the E1 error mean on a Bellini dishwasher?
An E1 error usually indicates a water supply issue. This can occur if the water tap is turned off, the inlet hose is kinked, or there is low water pressure. Checking for blockages or bends in the hose and ensuring proper water flow often resolves the issue. If the problem continues, professional servicing may be required.
How do I reset the Bellini BDW504W dishwasher after an error?
To reset the dishwasher, switch it off at the power outlet or circuit breaker and wait one to five minutes before turning it back on. This allows the system to clear temporary electrical faults. If the error code reappears after restarting, it may indicate a persistent issue that requires further inspection.
Where are Bellini dishwashers manufactured?
Bellini appliances are generally manufactured overseas and supplied to the Australian market under the Bellini brand. Production commonly takes place in China, where many global appliance brands source their manufacturing. Brand focus is typically on offering affordable products with modern styling and practical functionality.
How do I clean the filter in the Bellini BDW504W dishwasher?
The filter is located at the bottom of the dishwasher tub and should be cleaned regularly to prevent drainage issues. Remove the lower rack, twist out the filter assembly, and rinse it under warm running water to remove food debris. Keeping the filter clean improves washing performance and helps prevent unpleasant odors.
What are the common problems with small dishwashers like this model?
Common issues include clogged filters, drainage blockages, water inlet problems, and spray arm obstructions. Most of these problems are maintenance-related and can be prevented through regular cleaning and proper loading. Using the correct detergent and avoiding overloading also helps maintain optimal performance.
Is a 45cm dishwasher big enough for a family?
A 45cm dishwasher is best suited for singles, couples, or small families of three. It typically holds around 9 place settings, which is sufficient for daily use in compact households. Larger families who generate more dishes may find a 60cm dishwasher more practical for handling bigger loads.
What are the advantages and disadvantages of using a dishwasher?
Dishwashers save time, reduce manual effort, and often use less water than hand washing when fully loaded. They provide consistent cleaning and sanitizing results. However, they require proper loading, regular maintenance, and electricity to operate. Smaller models may also have limited capacity compared to full-size units.


