
Commercial CE-2701 Motion Sensor Light Controller

Safety Information
PRECAUTIONS
Please read and understand this entire manual before attempting to assemble, install, or operate this motion sensor.
The motion sensor requires 120-volts AC.
Some codes require installation by a qualified electrician. This motion sensor is intended for use with a junction box marked for use in wet locations.
For proper operation, this light fixture should be:
- Installed outdoors on a wall or under an eave.
- Installed approximately 8 ft. (2.4 m) above the ground (if the motion sensor is mounted higher than recommended, aiming the sensor down will reduce the coverage area).
- For supply connection, use 18 AWG or larger wires suitable for at least 80°C.
- Use copper wire only.
Warning: Turn the power off at the circuit breaker or fuse. Place tape over the circuit breaker switch and verify that power is off at the light fixture.
Warning: “THIS PRODUCT MUST BE INSTALLED IN ACCORDANCE WITH THE APPLICABLE INSTALLATION CODE BY A PERSON FAMILIAR WITH THE CONSTRUCTION AND OPERATION OF THE PRODUCT AND THE HAZARDS INVOLVED.”
Warning: This device complies with Part 15 of the
FCC Rules.
Operation is subject to the following two conditions:
- This device may not cause harmful interference, and
- This device must accept any interference received, including interference that may cause undesired operation
Warning: Changes or modifications not expressly approved by the party responsible for compliance could void the user’s authority to operate the equipment.
CAUTION: “High Voltage – Disconnect power supply before servicing.” Burn hazard. Allow the bulbs to cool before touching.
This device complies with Part 15 of the FCC Rules. Operation is subject to the following two conditions: (1) this device may not cause harmful interference, and (2) this device must accept any interference received, including interference that may cause undesired operation.
Warning: Changes or modifications to this unit not expressly approved by the party responsible for compliance could void the
user’s authority to operate the equipment.
NOTE: This equipment has been tested and found to comply with limits for a Class B digital device, pursuant to Part 15 of the FCC Rules. These limits are designed to provide reasonable protection against harmful interference in a residential installation. This equipment generates, uses, and can radiate radio frequency energy and, if not installed and used in accordance with the instructions, may cause harmful interference to radio communications.
However, there is no guarantee that interference will not occur in a particular installation. If this equipment does cause harmful interference to radio or television reception, which can be determined by turning the equipment off and on, the user is encouraged to try to correct the interference by one or more of the following measures:
- Reorient or relocate the receiving antenna.
- Increase the separation between the equipment and the receiver.
- Connect the equipment into an outlet on a circuit different from that to which the receiver is connected.
- Consult the dealer or an experienced radio/TV technician for help.
Warranty
5-YEAR WARRANTY
Contact the Customer Service Team at 1-877-527-0313 or visit www.homedepot.com.
Specifications

Pre-Installation
PLANNING INSTALLATION
Before installing the motion sensor, ensure that all parts are present (see Hardware Included on page 4). If any part is missing or damaged, do not attempt to assemble, install, or operate this light fixture.
Estimated installation time: 30 minutes
TOOLS REQUIRED

PACKAGE CONTENTS


MOUNTING LOCATIONS
- Determine the mounting location – a wall or under an eave.
- Position the sensor head (A) in the general direction of the desired sensor coverage.

- Do not tilt the sensor head upward.
- Tilt the sensor head forward for a longer detection range.
- Tilt the sensor head downward to reduce the detection range.

Installation
Installing and Wiring the Motion Sensor
Warning: Turn the power off at the circuit breaker or fuse. Place tape over the circuit breaker switch and verify that power is off at the light fixture.
NOTE: Do NOT mix different types of bulbs operated by this motion sensor; for example, LED, CFL, or halogen. Further, do NOT mix dimmable and non-dimmable bulbs. Mixing bulbs may cause problems with the operation of the product.
CAUTION: Keep the sensor at least 1 in. (25 mm) away from the bulbs.
NOTE: In order to use the Hi-Lo accent and security lighting feature, you MUST use DIMMABLE bulbs!
For installation, the sensor head must be rotated as shown in the next two steps for proper operation.
- Remove the existing light fixture by removing the screws holding the cover plate to the junction box. Undo the wire nuts and remove the existing motion sensor (if applicable) by unscrewing it from the cover plate.
- Screw your new Commercial Electric motion sensor into the cover plate.
- Tighten the lock nut (1) and screw (2) if necessary.

- Connect the junction box wires to the light control wires. The red wire from the sensor should be attached to the black wire or wires coming from the light fixture and secured with a wire nut.
The white wires from the house wiring, the new motion sensor, and the light fixture should all be connected and secured with a wire nut.
The black wire from the new motion sensor should be connected to the black house wiring coming from the junction box and secured with a wire nut.
If applicable, attach the ground wire from your house to the ground screw on the light fixture, or to the ground wire coming from the fixture with a wire nut. - Replace the screws to reattach the light fixture to the junction box.

NOTE: Firmly pull on the mounting bracket to verify it is securely mounted to the junction box. If necessary, use the screws that were removed from the existing light fixture.
For a parallel switching connection, refer to the connection diagram for proper installation.
- One or more motion sensors can be wired to multiple LED light fixtures, so all lights will turn on at the same time when motion is detected by one of the sensors. The Total Wattage of all lights being used added together must not exceed 100W.
- Red wire from motion sensors should be attached to the black wire from light fixtures.
- White wire from the house wiring, motion sensors, and light fixtures should all be connected and secured with a wire nut.
- Black wire from motion sensors should be connected to the black house wiring and secured with a wire nut.
- Turn both functional adjustment knobs of all the connected motion sensors to the same position to avoid abnormal behaviors.

Caulking Around the Light Fixture
- Replace the gasket for your light fixture if the existing one is worn out or damaged.
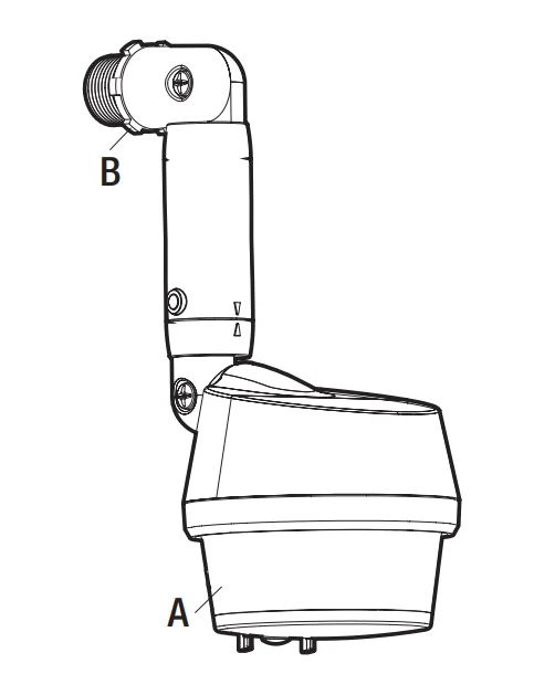
- Caulk around the canopy (B) and the mounting surface with silicone sealant (not included).

Operation
Lamp Adjustment
- Follow the instructions that came with your light fixture for mounting and adjusting the light fixture.
- Keep regular lamps at least 1 in. (25 mm) from the sensor. Halogen lamps should be kept at least 2 in. (51 mm) from the sensor.

Sensor Head Adjustment
- Rotate the motion sensor (A) so the controls face toward the ground.
- The sensor can be tilted down 110°, as well as rotated 80° left and 80° right.

Sensor Arm Adjustment
- If you are using bulbs or fixtures that interfere with the coverage of your 270° motion sensor, you can extend the arm of the sensor lower, so it will be below most bulbs and fixtures.

- If you are using another type of bulb or fixture that does not require the extended arm, you can retract the arm for a more compact look.

Testing and Adjusting the Motion Sensor
NOTE: The motion sensor will need to completely warm up (60 seconds) before beginning the setup process.
- Turn on the power and allow the motion sensor to warm up for about 60 seconds. Switch the knob to Test to go into TEST mode. Regardless of whether it is day or night, the lights will come on for approximately 2-3 seconds every time the sensor detects motion.
- Perform a “walk test” to adjust the sensor coverage area. Walk in an arc across the front of the motion sensor (A).
- Watch the light. The light will come on, indicating motion has been detected.
- Stop, wait for the light to turn off, and then begin walking again.
- Continue this process until the detection zone has been established.
- Adjust the sensor up, down, or side to side to change the motion sensor (A) detection zone to your desired coverage area.
- After completing the testing, switch the knob to your desired setting, and the sensor is ready to go.

Control The Detection Range
- To shorten the detection distance, tilt the sensor head downward.

Adjusting the HI/LO Light Level
HI-level security lighting and LO-level accent lighting.

- OFF: HI-LO feature is off. Work with the motion sensor after dark at 100% brightness.
Dusk-to-dawn timer:
Lights will come on automatically at dusk, at proximately 25%brightnesse,s s a,, stay on until dawn. Lights will come on at 100% brightness when motion is detected after dark. At dawn, the lights will shut off completely.
(Timer Mode):
The “Seasonally Adjusted Timer” will turn on the lights at 25% brightness at dusk and then turn them off in the middle of the night hours. This is calculated automatically by the sensor. The lights will come on at 100% brightness when the sensor detects motion after dark.
NOTE: If the light or bulbs are not dimmable, the HI-LO function will automatically be turned off by the sensor, even if the knob is turned to one of the HI-LO settings. This replacement motion sensor may not be suitable for all light fixtures in the market, such as metal halogen and high-pressure sodium lights.
Adjust the Dusk Learn
If desired, you can set the level of darkness at which the sensor becomes active and at which the HI-LO feature comes on in the “LO” accent mode.

- Press once: To learn the current level of darkness and set this as your new “Dusk” level. The lights will flash twice after 10 seconds to confirm that your new dusk level has been set.
- Press twice within 5 seconds: Back to factory default setting 0~10 Lux. The lights will flash twice to indicate that the dusk level has been reset to the factory setting.
Adjusting the Time

TEST mode
- This will allow you to test the sensor and make any necessary adjustments to the coverage area that you want the sensor to see.
ECO mode
- The motion sensor lighting is set to minimize power usage. Lights turn on with motion for 10 seconds and continue to stay on as long as motion is detected. The lights will dim to warn that they will be shutting off soon.
ON-TIME
- 1 min, 5 min, or 10 min. Lights stay for the time set, after motion is no longer detected.
Using Manual Override Mode
Manual mode overrides the motion sensor and “ON-TIME” control, so the lights will operate in “ON” mode at full brightness. This feature only works at night for 6 hours.
The motion sensor will reset to motion-sensing mode. Manual mode can be toggled on and off using a wall switch.
- To manually turn the lights “ON”, turn the light switch OFF and back ON again between 0.2 seconds to 1.5 seconds.
- To cancel the manual override mode, turn the light switch OFF and back ON again between 0.2 seconds to 1.5 seconds.

NOTE: If the power to the light fixture is off for more than 5 seconds, allow the motion sensor to warm up prior to switching to manual mode.
Care and Cleaning
- To prolong the original appearance, clean with water and a soft, damp cloth only.
- Do not use paints, solvents, or other chemicals on this light fixture. They could cause a premature deterioration of the finish. This is not a defect in the finish and will not be covered by the warranty.
- Do not spray with a hose or power washer.
Troubleshooting




For more manuals by Commercial Electric, visit ManualsLibraryy
Commercial CE-2701 Motion Sensor Light Controller- FAQs
How do I reprogram my CE-2701 motion sensor light?
Turn the light switch on and off four times quickly. When the light turns on, switch it off for 5–7 seconds, then turn it back on. This resets and reprograms the sensor to its default mode.
How do I reset the CE-2701 motion sensor light?
Switch the power off for 30 seconds at the circuit breaker or wall switch. Turn it back on and wait for the light to activate. This refreshes the motion sensor and clears any errors.
How can I adjust the sensitivity of the motion sensor?
Locate the sensitivity dial or switch on the sensor housing. Turn it clockwise to increase range and counterclockwise to decrease it. Adjust gradually to avoid false triggers.
What should I do if my motion sensor light isn’t working?
Check the power connection, bulb, and sensor lens for dirt or obstructions. Reset the device and test it at night. If it still doesn’t respond, adjust the SENS or LUX settings.
How do I change the motion sensor light duration?
Use the TIME dial to control how long the light stays on after motion is detected. Turning toward “+” increases time (up to 10 minutes), while “–” shortens it.
Can I make my motion sensor light stay on all the time?
Yes. Find the “Always On” or “Manual Override” switch (if available) on the controller. Turning it on will keep the light permanently lit until you switch it back to Auto mode.
Do I need to keep the wall switch on for the sensor to work?
Yes. The wall switch must remain on so the sensor can automatically detect motion and control the light. Turning the switch off disables motion detection.
How do I test if my CE-2701 sensor light is working properly?
Walk through the sensor’s detection area while facing it. If the light turns on, it’s functioning correctly. If not, clean the lens, check connections, and ensure the LUX level isn’t too low for daytime testing.







