
Dirt Devil Easy Steamer Vacuum Cleaner
IMPORTANT SAFETY INSTRUCTIONS
When you use an appliance, basic precautions should be followed, including the following:
- READ ALL INSTRUCTIONS BEFORE USING THE APPLIANCE.
- ALWAYS FOLLOW THESE SAFETY INSTRUCTIONS.
- BRING CLEANER TO UPRIGHT POSITION WHEN USING THE HOSE AND ATTACHMENTS.
- DO NOT LEAVE CLEANER UNATTENDED WHEN PLUGGED IN.
- WARNING: DO NOT USE SHARP OBJECTS TO CLEAN OUT THE HOSE SINCE THEY COULD CAUSE DAMAGE.
- OCCASIONALLY REMOVE BRUSH AND CLEAN DEBRIS FROM END CAPS TO KEEP BRUSH ROTATING SMOOTHLY.
- WARNING – FULLY ASSEMBLE CLEANER BEFORE OPERATING.
READ ALL INSTRUCTIONS BEFORE USING THE APPLIANCE.
WARNING: TO REDUCE THE RISK OF FIRE, ELECTRIC SHOCK OR INJURY:
- Connect to a properly grounded outlet only. See Grounding Instructions.
- Do not leave appliance when plugged in. Unplug from outlet when not in use and before servicing.
- Do not use outdoors. Electrical shock could occur.
- Do not immerse. To reduce the risk of electric shock – use indoors only, and use only on carpet moistened by cleaning process.
- Do not allow to be used as a toy. Close attention is necessary when used by or near children.
- Use only as described in this manual. Use only manufacturer’s recommended attachments.
- Do not use with damaged cord or plug. If appliance is not working as it should, has been dropped, damaged, left outdoors, or dropped into water, return it to a service center for inspection.Call 1-800-321 -1 134 for the nearest service center.
- Do not pull or carry by cord, use cord as handle, close a door on cord, or pull cord around sharp edges or corners.
- Do not run appliance over cord. Keep cord away from heated surfaces.
- Do not unplug by pulling on cord. To unplug, grasp the plug, not the cord.
- Do not handle plug or appliance with wet hands.
- Do not put any objects into openings. Do not use with any opening blocked; keep free of dust, lint, hair, and anything that may reduce air flow.
- Keep hair, loose clothing, fingers, and all parts of body away from openings and moving parts.
- Do not pick up anything that is burning or smoking, such as cigarettes, matches, or hot ashes.
- Do not use without dirty water reservoir in place.
- Turn off all controls before unplugging.
- Use extra care when cleaning on stairs.
- Do not use to pick up flammable or combustible liquids, such as gasoline, or use in areas where they may be present.
- Keep the vacuum cleaner on the floor. Only the hand-held vacuum cleaners may be set on furniture.
- Turn off the rotating brush when doing above floor cleaning.
- Turn off the rotating brush when doing above floor cleaning.
- Do not use an extension cord with this vacuum cleaner.
- Store the vacuum cleaner indoors. Put the vacuum cleaner away after use to prevent tripping accidents.
- Using improper voltage may result in damage to the motor and possible injury to the user. Proper voltage is listed on the cleaner plate.
- Use only Dirt Devila Carpet & Rug Shampoo
SAVE THESE INSTRUCTIONS
GROUNDING INSTRUCTIONS
This appliance must be grounded. If it should malfunction or breakdown, grounding provides a path of least resistance for electric current to reduce the risk of electric shock. This appliance is equipped with a cord having an equipment-grounding conductor and grounding plug. The plug must be inserted into an appropriate outlet that is properly installed and grounded in accordance with all local codes and ordinance

FEATURE DESCRIPTIONS
Front View

Back View


FEATURES
Front View
- Non-Slip Grip'” Handle
- Clean Solution Reservoir Latch
- Clean Solution Reservoir
- Dirty Water Tank Latch
- Dirty Water Tank Handle
- Brush Roll
- Dirty Water Tank
- Hose Attachment Door
- Dirty Water Tank Lid
- Vacuum OnIOff Switch
- Brush Roll OnIOff Switch
- Handle Screw
Back View
- Power Cord
- Carrying Handle
- Quick Cord Release
- Attachment Water Supply Port
- Handle Release Pedal
- Cord Hook
- Cord Clip
- Solution Spray Trigger
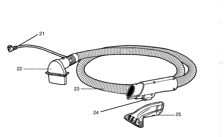
Attachments
- UpholsteryIStair Base Water Supply Connector
- UpholsteryIStair Hose Adapter
- UpholsteryIStair Hose
- UpholsteryIStair Trigger
- UpholsteryIStair Attachment
HOW TO ASSEMBLE

HOW TO ASSEMBLE: TOOLS REQUIRED: PHILLIPS SCREWDRIVER
- Stand base in upright position. Push midsection onto base by aligning tabs’ on the backside of midsection and the pockets on the backside of base (Diagram 1).
- Place the 2 large nuts into recess located on the back of the left and right sides of the base. Place the 1 small nut into recess located in the middle back of the base. While holding nut in place, insert screw through front of midsection and tighten.
- NOTE: Make sure the power cord is out of the way to avoid pinching.
- Slide upper handle down onto unit. Place nut into recess in back of upper handle. While holding nut in place, insert screw through front of upper handle and tighten (Diagram 2).
- Route cord above upper cord hook and snap into cord clip on upper handle.
PREPARING THE CARPETIUPHOLSTERY:
IMPORTANT: DO NOT USE THE EASY STEAMERTM AS A DRY VACUUM.
- Vacuum carpet/upholstery thoroughly. Use a Dirt Devil” vacuum cleaner with a revolving brush roll for best results.
- Vacuum upholstery with cleaning tool attachments, using a crevice tool to reach into folds and creases.
- Remove as much furniture from the room as Dossible. If unable to remove the furniture. lace ~lastic or foil under and around the legs . . until the carpet has dried completely
CHECK CLEANING CODE ON UPHOLSTERY:
NOTE: If upholstery is not marked, seek professional assistance.
- Use only on upholsterylfabric marked:
- W (wet clean)
- SNV (solvent/dry or wet clean)
- Do NOT clean upholsterylfabric marked
- S (solvent/dry clean only).
- Check the cushion foam color. If the foam is a dark color, it may bleed through and discolor the fabric
CHECK FOR COLOR FASTNESS:
Before cleaning carpethpholstery, test for color fastness. Dampen a white cloth with solution.Test a small area in a closet or under a cushion. Gently rub the cloth over the area. Check each color for color bleeding. If the cloth remains clean, it should be safe to clean the carpet/upholstery
HELPFUL HINTS FOR CLEANING CARPETIUPHOLSTERY:
- Do not oversaturate carpethpholstery with cleaning solution while using Easy Steamer'”.
- For heavily soiled areas, additional applications may be necessary.
- Allow plenty of time to dry carpethpholstery thoroughly.
- Wipe cleaning solution from woodwork and wood to prevent any damage.
- Try not to walk on carpet until it is completely dry.
- After carpet is thoroughly dry, vacuum the carpet using a cleaner with a revolving brushroll.
- Before cleaning, determine where you will start and end, making sure not to walk over previously cleaned areas.
AFTER CLEANING:
- Allow carpet to dry completely. Try not to walk on the carpet until it is dry.
- If you need to walk on the carpet, place white towels on the areas you want to walk.
- If the carpet is not dry and the furniture must be placed back in the room, use plastic or foil under the furniture to prevent staining the carpet.
- Thoroughly clean the dirty water tank with hot tap water. See page 9.
WARNING: DO NOT STORE EASY-STEAMER IN GARAGE OR AREA WHERE UNIT COULD FREEZE.
HOW TO OPERATE

HOW TO OPERATE
REMOVE AND REPLACE SOLUTION RESERVOIR:
- Grasp solution reservoir under handle and press handle release lever upward (Diagram 1).
- Tilt solution reservoir away from cleaner and remove (Diagram 2).
- Unscrew measuring cap from back side of solution reservoir (Diagram 3). Fill measuring cap with solution 2 times, (approximately 4 oz.)(Diagram 4). Fill remaining solution reservoir with hot tap water (Diagram 5). Replace measuring cap. .. –
NOTE: Use only Dirt DevilmCarpet & Rug Shampoo. Using other cleaning solutions may cause excessive foaming. Excessive foam will cause the float to shut off the vacuum prematurely. Using other cleaners will void your warranty.
- Place bottom of solution reservoir into cleaner and position until the lever snaps into place (Diagram 6).
CARPET CLEANING
NOTE: Never leave unit unattended with power on. Turn OFF when emptying and filling reservoir. Do NOT oversaturate the carpet.
IMPORTANT: FOR BEST CLEANING RESULTS USE STEADY, MODERATE FORWARD AND BACKWARD MOTION.
- Plug cord into electrical outlet.
- Turn power and brushroll switches “on”. Switches located on front of cleaner above solution reservoir (Diagram 7).
- The power switch controls the solution pump and vacuum motor.
- The brushroll switch turns the brushroll on and off when the power switch is on.
- Step on handle release pedal (Diagram 8), to put unit in cleaning position.
- While depressing solution spray trigger, pull unit in backward motion (Diagram 9). Release trigger and push unit forward in same path to remove dirty water and solution from carpet. (For heavily soiled areas, repeat if necessary).
- When dirty water reaches the max fill line on dirty water tank, empty dirty water (See page 9).
IMPORTANT: IF THE SOUND OF THE MOTOR CHANGES TO A HIGH PITCH, THIS INDICATES THE DIRTY WATER TANK IS FULL AND MUST BE EMPTIED. A VISUAL INDICATOR IS WHEN THE BLUE FLOAT HAS RISEN TO THE TOP OF THE DIRTY WATER TANK.
ABOVE FLOOR CLEANING
ABOVE FLOOR CLEANING
- Put cleaner in its upright position.
- Remove tools from poly bag. Assemble accordingly. Follow instructions below.
UPHOLSTERYISTAIR ATTACHMENT ASSEMBLY:
- Connect the upholstery attachment to the trigger adaptor (Diagram 2).
- REMOVE THE HOSE ATTACHMENT DOOR from the top of the dirty water tank and store in safe place (Diagram 3). lnsert the hose adaptor into the dirty water tank (Diagram 4) and connect the base water supply connector into the fitting on the lower left side of handle facing cleaner (Diagram 5 & 5a).
ATTACHMENT USAGE:
- Turn brushroll off when tools are in use. Switch located on front of cleaner (Diagram 1). Turn power switch on.
- While depressing solution spray trigger (Diagram 6), pull attachment in backward motion. Release trigger and push attachment forward in same path to remove dirty water and solution from upholstery. (For heavily soiled areas, repeat if necessary.) NOTE: Do NOT over saturate the upholstery.
IMPORTANT: FOR BEST CLEANING RESULTS USE STEADY, MODERATE FORWARD AND BACKWARD MOTION.
- Make sure upholstery is thoroughly dry before use.
- When finished using attachments, replace hose attachment door onto dirty water tank.
NOTE: If the hose attachment door is not replaced, there will be no suction through the nozzle and the unit will not operate properly.
STORING TOOLS:
lnsert hose and tools into resealable polybag. Store for next use.
HOW TO TRANSPORT UNIT:
- Grasp the carrying handle on the back of the unit to move unit from room to room (Diagram 7).
- DO NOT TRANSPORT THE EASY STEAMER'” WITH EITHER THE SOLUTION RESERVOIR OR DIRTY WATER TANK FULL
EMPTYING AND CLEANING DIRTY WATER TANK:

EMPTYING AND CLEANING DIRTY WATER TANK:
Your Easy Steamer Deep Cleaner is equipped with a shut off valve within your dirty water tank. When the dirty water tank becomes full, the blue float (viewed from top of tank) will rise, shutting off the air flow thru the nozzle.
NOTE: The float in your Easy Steamer is the blue piece in the dirty water tank lid, and will shut off the suction when the dirty water tank is full. For best results, use smooth, steady motion keeping the nozzle flat against the carpeting. Tipping the cleaner and breaking the seal of the nozzle and carpeting will cause the float to rise and shut off the suction. Once the float is activated, empty the dirty water tank. If the dirty water tank does not appear full, turn the power switch off and wait for the float to settle and reset. If the float repeatedly shuts off the suction, empty the dirty water tank. For best results, use only Dirt Devil” Carpet & Rug Shampoo. Other Solutions may generate excessive foam which will cause the float to rise prematurely and shut off the suction. Use two capfuls (4 ounces) of Dirt Devil” Carpet & Rug Shampoo per fill up of the clean water reservoir. A higher concentration of shampoo may cause excessive foaming.
NOTE: You will hear a noticeable change in the pitch of the cleaner. This indicates a need to empty the dirty water tank.
WARNING: TO REDUCE THE RISK OF INJURY FROM MOVING PARTS – UNPLUG BEFORE SERVICING.
EMPTYING DIRTY WATER TANK
- Grasp top of dirty water tank handle and push latch to release (Diagram 1).
- Grasp handle and pull tank out of base (Diagram 2).
- Remove dirty water tank lid (Diagram 3).
- Remove hose attachment door (See page 8, Diagram 6).
- To empty dirty water tank, grasp handle with one hand and nozzle with the other and empty into sink (Diagram 4).
- Replace dirty water tank lid and hose attachment door.
CLEANING DIRTY WATER TANK
- Rinse dirty water tank and filter with hot tap water (Diagram 5).
- Wipe and let dry thoroughly before storing to prevent mildew from forming.
NOTE: Do not use any chemicals when cleaning.
PLACING DIRTY WATER TANK IN BASE OF CLEANER
- Lift front base of cleaner off carpeting with one hand.(Diagram 6).
- Grasp handle and hook front of dirty water tank into base of cleaner, making sure front of dirty water tank is resting on the base (Diagram 7). The Dirty Water Tank has 3 tabs on the underside which MUST latch into the underside of the base of the cleaner. It is very important to lift the base of the cleaner off of the carpeting and hook the nozzle to the base so that the nozzle is flush with the base of the cleaner (Diagram 7a). Failure to install the Dirty Water Tank correctly (Diagram 7b), will result in poor dirty water pickup. The Dirty Water Tank will need to be emptied once or twice per fill up of the Clean Water Tank.
- While making sure the front of the dirty water tank is resting on the base, place the rear of the tank into the base of the cleaner. Push handle down until it latches (Diagram 8).
NOTE: Do not store cleaner with solution in reservoir or dirty water in dirty water tank. Mineral deposits and mildew can form which will affect the performance of your Easy Steamer'”.
BELT OR BRUSH REMOVAL & REPLACEMENT

TO REMOVE BELT
- Flip cleaner remov on its side to expose nozzle base (Diagram 1)
- To remove belt cover use Phillips screwdriver to remove the three screws. Arrows (Diagram 2) show location of screws.
- Grasp belt cover near brushroll and lift out (Diagram 3).
- Grasp brushroll with one hand, using other hand to keep tension on belt when removing (Diagram 4).
- Lift up when pulling out.
- Remove belt (Diagram 5). Dispose of old belt.
NOTE: Endcaps are removable. Be sure to put back in place before reinserting brushroll.
TO REPLACE BELT
- Place belt on motor shaft (Diagram 6), then slip brushroll through belt. Place belt in area of brushroll without bristles.
- With belt in place, pull and slide brush roll into nozzle (Diagram 7), making sure that the brushroll end caps are in the correct orientation (Diagram 7a).
IMPORTANT: ROTATE BRUSHROLL MANUALLY TO MAKE SURE BELT IS NOT TWISTED OR PINCHED. - Replace belt cover by inserting end furthest from brush roll first (Diagram 8). Then place front of belt cover into position. Secure by replacing the three screws.
TROUBLE SHOOTING GUIDE

For more manuals by Dirt Devil, visit ManualsLibraryy
Dirt Devil Easy Steamer Vacuum Cleaner-FAQs
How does the Dirt Devil Easy Steamer work?
The Easy Steamer is a carpet shampooer and vacuum in one. It releases cleaning solution when you pull the trigger, then vacuums up dirty water as you push it forward.
How do I use the Dirt Devil Easy Steamer?
Step on the handle-release pedal at the back.
Roll forward, then pull back while pressing the trigger to release shampoo.
Release the trigger and push forward to vacuum up the dirty water.
Can the Dirt Devil vacuum water?
Some wet/dry models (like the 16V Hand Vacuum) can pick up liquid spills, but most standard vacuums cannot.
How long does a Dirt Devil vacuum last?
With proper care, it can last 5–10+ years, depending on usage and maintenance.
Why is my Dirt Devil vacuum losing suction?
Common causes:
Clogged hose or filter
Full dirt cup
Worn-out belt (if brush roll isn’t spinning)
How do I reset my Dirt Devil vacuum?
Locate the reset button (usually near the power cord) and press it to restore function.
How do I clean the Dirt Devil filter?
Remove and tap out debris
Washable filters can be rinsed (let dry fully before reusing)
Replace non-washable filters when dirty
How long does it take to charge a cordless Dirt Devil?
Dead battery: ~2–4 hours
Partial use: Less time (LED indicator shows when fully charged)
Can I use tap water in the Dirt Devil steamer?
Yes, but demineralized water is recommended to prevent mineral buildup.
How do I know if my vacuum has good suction?
Check air watts (AW):
160–180 AW: Good for cordless models
200+ AW: Strong suction for deep cleaning
