
Dyna Glo Series Propane Construction Heater

Specifications
| sPeciFications | |||||||
| Model No. | RMC-‐FA40 DG/DGD/ DGP/DGP-‐01 | RMC-‐FA50 DG/DGD/DGP-‐01 RMC-‐FA50A | RMC-‐FA60 DGD/DGP/DGP-‐01 | RMC-‐FA100 DG/DGD/DGP/DGP–‐ 01 | RMC-‐FA125 DGD/DGP/DGP-‐01 | RMC-‐FA150 DG/DGD RMC-‐FA150A | |
| Input RaFng | 40,000 BTU/hr | 30,000 BTU/hr 50,000 BTU/hr | 30,000 BTU/hr 60,000 BTU/hr | 70,000 BTU/hr 100,000 BTU/hr | 70,000 BTU/hr 125,000 BTU/hr | 120,000 BTU/hr 150,000 BTU/hr | |
| Type of Gas | Propane | Propane | Propane | Propane | Propane | Propane | |
| Gas Supply Pressure to Regulator Maximum | Cylinder Pressure | Cylinder Pressure | Cylinder Pressure | Cylinder Pressure | Cylinder Pressure | Cylinder Pressure | |
| Minimum (for purpose of Input Adjustment) | 5psig | 5psig | 5psig | 5psig | 5psig | 5psig | |
| Manifold Pressure | 11″ W.C | 11″ W.C | 11″ W.C | 11″ W.C | 11″ W.C | 11″ W.C | |
| Gas ConsumpFon | 1.9lbs/hr | 1.4lbs/hr 2.3lbs/hr | 1.4lbs/hr 2.8lbs/hr | 3.3lbs/hr 4.6lbs/hr | 3.3lbs/hr 5.8lbs/hr | 5.6lbs/hr 7.0lbs/hr | |
| Electrical Input | 120V, 60Hz, 1Ø | 120V, 60Hz, 1Ø | 120V, 60Hz, 1Ø | 120V, 60Hz, 1Ø | 120V, 60Hz, 1Ø | 120V, 60Hz, 1Ø | |
| Amperage | Load | 0.68amps | 0.65amps | 0.65amps | 0.7amps | 0.7amps | 0.7amps |
| Fan | Unload Load | 3550rpm 3000rpm | 3570rpm 3300rpm | 3570rpm 3300rpm | 3580rpm 3300rpm | 3580rpm 3300rpm | 3580rpm 3300rpm |
| IgniFon | Piezo/Manual Spark | ConMnuous Spark | ConMnuous Spark | ConMnuous Spark | ConMnuous Spark | ConMnuous Spark | |
| Spark Gap | 0.16″ (4mm) | 0.16″ (4mm) | 0.16″ (4mm) | 0.16″ (4mm) | 0.16″ (4mm) | 0.11″ (2.8mm) | |
| Size (LxWxH) | 19.3″x8.3″x15.2″ (490x211x386)mm | 19.3″x8.3″x15.2″ (490x211x386)mm | 19.3″x8.3″x15.2″ (490x211x386)mm | 25.6″x12.7″x15.6″ (650x323x396)mm 25.6″x11.8″x16.1″ (650x300x409)mm | 25.6″x12.7″x15.6″ (650x323x396)mm 25.6″x11.8″x16.1″ (650x300x409)mm | 25.6″x11.8″x16.1″ (650x300x409)mm | |
| Weight | 13.7lbs/14lbs (6.2kg/6.35kg) | 14.3lbs (6.48kg) | 14.3lbs (6.48kg) | 21.5lbs/21lbs/20.8lbs (9.75kg/9.5kg/9.4kg) | 21.5lbs/21lbs/20.8lbs (9.75kg/9.5kg/9.4kg) | 21.2lbs (9.6kg) | |
GENERAL SAFETY INSTRUCTIONS
Accidents are always tragic, especially because so many of them could have been prevented with little care and judgment. There are some basic good practices, we hope you will follow for the safe use of your heater.
IMPORTANT SAFETY INSTRUCTIONS
- Children should be carefully supervised, when they are in the area.
- Always maintain proper clearance from combustible materials. Minimum clearance from combustibles:
- Side – 24” (61cm)
- Top – 36” (91cm)
- Front – 72” (1.8M). Floor – combustible. Not for use on finished floors.
- The heater must be placed on level and stable surface.
- Never place anything including clothes or other flammable items on the heater.
- The appliance area shall be kept clear and free from combustible materials, gasoline and other flammable vapours and liquids.
- Do not modify or operate a heater that has been modified. Adequate clearance for accessibility and for combustion & ventilation air supply must be maintained at all times when the heater is operating.
- Service and repair should be done by a qualified service person. The heater should be inspected before each use and at least annually by a qualified person. More frequent cleaning may be required as necessary. Do not service while hot or operating.
- Never connect a heater to an unregulated gas supply.
- The heater is shipped from the factory for LP (Propane) gas. This heater is for use with propane gas only; do not convert the heater to any other gas. Installation must conform to local codes or, in their absence, to the standard for the Storage and Handling of Liquefied Petroleum Gases AN SI/NFPA 58 and the Natural Gas and Propane Installation Code CSA B149.1
- The minimum and maximum inlet pressures to the regulator from the gas tank are 5 psi and bottle pressure, respectively. Use only the regulator & hose assembly provided with the heater. Inspect the regulator/hose assembly prior to each use of the heater. If there is excessive abrasion or wear, or hose is cut, replace with regulator/hose assembly listed on the parts list prior to using this heater.
- Gas supply connections should be checked using a 50/50 solution of liquid dish soap and never use a flame to check for gas leaks.
- The electrical connection & grounding must comply with National Electrical Code. AN SI/NFPA 70 or in Canada CSA C22.1, Canadian Electrical Code, Part 1. Use only a properly grounded three (3) prong receptacle.
- Do not restrict inlet or outlet by any means. The flow of combustion and ventilation air is not to be obstructed.
- Forced air heaters should not be directed toward any propane or gas container within 20 feet (6M) of the exit nozzle. The heater should also be located at least 6 (1.8M) feet away from any propane gas container (regulations in Canada are 10 feet (3M)).
- The propane cylinder supply system must be arranged to provide for vapour withdrawal from the
operating cylinder.
PRODUCT FEATURES
- Portable & Stable
- 100% Safety Shutoff System
- Wind Resistant & Rain Protected
- Adjustable Input Ratings
- Continuous Spark Ignition or (Except FA40)
UNPACKING HEATER
- Remove the heater from the carton.
- Remove all protective packing applied to the heater for shipment.
- Retain cartons and packaging material until the unit is operated and found in good condition.
- Check the heater for any shipping damage. If the heater shows any external or internal If damage, promptly inform the dealer/distributor where you purchased the heater.
Assembly Components and Instructions for RMC-FA100 DGD and RMC-FA125 DGD
Tools required for assembly:
- Phillips head screw driver and adjustable wrench
- Assembling the CordWrap Attachments:
Parts Required:- Screw ST3.5×10, (4 pieces in the Accessories bag),
- CordWrap Attachment 2pcs
Place the cord wrap attachment as shown, then use Phillips screwdriver to tighten the screws and secure the cord wrap attachments.
- Regulator and Hose Connection:
See the figure on the right. Connect the hose tightly to the heater using a wrench. Please also refer to page 8 in the manual.
Tools required for assembly: Phillips head screw driver and adjustable wrench
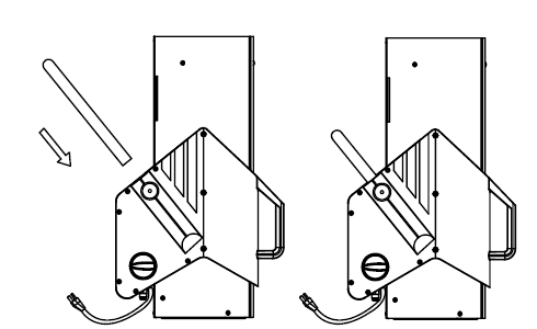
- Assemble the Leg:
- Parts Required: Leg 1 pc
Place the heater as shown, insert the leg into holes of the base, then adjust to the desired height.
- Parts Required: Leg 1 pc
- Assemble the Height Control Screw:
- Parts Required: Height Control Screw 2 pcs
Turn the Height Control Screw clockwise to lock it. Turn the Height Control Screw counterclockwise to unlock it.
- Parts Required: Height Control Screw 2 pcs
- Assembling the Cord Wrap Attachments:
- Parts Required: Screw ST3.5X10, (4 pc in the Accessories bag), and Cord Wrap Attachment 2 pc)
Place the cord wrap attachment as shown, then use Phillips screwdriver to tighten the screws and secure the cord wrap attachments.
- Parts Required: Screw ST3.5X10, (4 pc in the Accessories bag), and Cord Wrap Attachment 2 pc)
- Regulator and Hose Connection:
See figure on right. Connect the hose tightly to the heater using a wrench. Please also refer to page 8 in the manual
INFORMATION ON SIZE * CAPACITY OF PROPANE GAS CYLINDERS:
The chart below shows the number and size of propane tanks needed to run this heater. *Less gas is vaporized at lower temperatures. You may need two or more 100 pound tanks or one larger tank in colder weather. (See the parts list for your model of heater to get the specified regulator assembly.)
| Temperature (°F) at tank | number of Tanks | ||
| 40,000-60,000 BTu/h | 100,000 – 125,000 BTu/h | 150,000 BTu/h | |
| above 32°F | 1 – 20lb | 2 – 100lb | 2 – 100lb |
| 32°F | 1 – 20lb | 2 – 100lb | 2 – 100lb |
| 20°F | 1 – 20lb | 2 – 100lb | 3 – 100lb |
| 10°F | 1 – 20lb | 3 – 100lb | 3 – 100lb |
| -10°F | 2 – 20lb | use larger Tank | use larger Tank |
| -20°F | 1 – 100lb | use larger Tank | use larger Tank |
The propane (LP) gas tank must also be equipped with the following:
- A collar to protect the Propane gas valve.
- A shutoff valve terminating a Propane gas cylinder valve outlet as specified in the American National Standards for Compressed Gas Cylinder Valve Outlets and Inlet Connections.
- A safety relief valve having direct communications with the vapor space of the tank.
- An arrangement of vapor withdrawal.
The propane (LP) gas pressure regulator and hose assembly supplied with this heater must be used without alteration.
The hose assembly shall be visually inspected prior to each use of the heater. If it is evident that there is excessive abrasion or wear, or the hose is cut, it must be replaced prior to the heater being put into operation. The replacement hose assembly shall be that specified by the manufacturer.
INSTALLATION OF THE PROPANE GAS TANK
IMPORTANT: You must use a propane/LP gas supply cylinder that is compatible with the connection device provided with the hose and regulator.
- Provide propane/LP supply system (see size/capacity, page 7).
- Connect the fuel gas fitting hose/regulator assembly to the propane LP tank(s). Turn the fuel fitting counterclockwise into the threads on the tank. Tighten firmly using a wrench. Some models have a hand wheel that can be used to tighten the fitting. This hand wheel can be slid off the nut so that a wrench can also be used to tighten the fitting.
IMPORTANT: Position the regulator so that the hose leaving the regulator is in a horizontal position (see Figure 1) - Connect a hose to the heater inlet. Tighten firmly using a wrench. You must use the regulator supplied with the heater.
- Open propane/LP supply valve on propane/LP tank(s) slowly. NO TE: If not opened slowly, the excess flow device in the regulator may stop gas flow. If this happens, close the propane/LP supply valve, wait one minute (or until you hear a click), and open it again slowly.
- Check all connections for leaks. Apply a 50/50 solution of liquid dish soap and water to gas joints.
Bubbles forming show a leak that must be corrected. - Close propane / LP supply valve before attempting to repair the connection.
Refilling the Propane Gas Tank
ALL NEW CYLINDERS MUST BE PURGED BEFORE THE FIRST FILLING.
- Turn heater gas valve knob and gas tank valve to OFF position.
- Propane tank valve equipped with the old style fitting has LE FT HANDED THREAD S. Turn POL fitting CLOCKWISE to loosen. Protect the POL fitting when disconnected from the tank.
- Have tank filled by your local Propane gas supplier.
- Fasten full Propane tank and connect POL fitting to tank valve by turning counterclockwise.
- With heater gas valve knob still in the OFF position, turn ON tank valve and check for leaks with soap solution.
PROPANE SAFETY
Propane is safe to use when properly handled. Careless handling of the Propane gas tank could result in fire and/or an explosion. Therefore:
- Always keep the tank/cylinder securely fastened in an upright position.
- Avoid tipping the tank on its side when connected to a regulator, since this may cause damage to the diaphragm in the regulator.
- Handle valves with care.
- Never connect an unregulated Propane tank to a construction heater.
- Do not subject the Propane tank to excessive heat.
- Tightly close the gas shutoff valve on the Propane tank after each use.
- The POL fitting must be protected when disconnected from the propane tank.
- Never store a Propane gas tank inside a building or in the vicinity of any gas-burning appliance.
THE DISCONNECTED TANK MUST NEVER BE STORED IN A BUILDING, GARAGE OR ANY OTHER ENCLOSED AREA.
leak checking
Check all gas connections with a soap solution to be sure they are tight and leak-proof.
- The installation of your heater must meet all local codes and/or gas utility requirements or, in the absence of local codes, with the Storage and Handling of Liquefied Petroleum Gases, ANSI/ NFPA 58 and the Natural and Propane Installation Code, CSA B149.1.
- The minimum clearances to combustible construction: Side – 24” (61cm); Top – 36” (91cm); Front – 72” (1.8M); Floor – combustible, must be maintained at all times.
- The hose assembly should be visually inspected prior to each use of the heater. If it is evident that there is excessive abrasion or wear, or the hose is cut, it must be replaced prior to the heater being put into operation.
- The replacement hose assembly shall be that specified by the manufacturer (Refer to parts list).
LIGHTING INSTRUCTIONS
WARNING: Motor and fan must be running before lighting, during operation and shutdown, in order to prevent a flame-out condition which could result in personal injury or property damage.
- Connect the power cord to a properly grounded three (3) prong 120V, 60Hz, single-phase receptacle.
- Turn gas valve knob clockwise to OFF position.
- Wait five (5) minutes to clear any gas. Then smell for gas, if you don’t smell gas, go to the next step.
- Turn gas supply ON by turning the Propane tank valve counterclockwise.
- Push in and turn gas control knob counterclockwise to “LOW /IGN ”. This will light the burner. If needed, keep pressing control knob until the burner lights and keep depressing and turning from OFF to LOW /IGN on Piezo electric spark models. (“HIGH /IGN ”: In case of FA40 series)
- Keep the valve knob depressed for at least 30 seconds after lighting the burner. After 30 seconds release valve knob.
- If the burner does not stay lit, repeat the lighting procedure.
- When burner is lit, turn gas valve knob counterclockwise to desired setting. (All models, except FA40 series).
SHUTDOWN INSTRUCTIONS
WARNING: Motor and fan must be running before lighting, during operation, and at shutdown, in order to prevent a flame-out condition which could result in personal injury or property damage.
Turn gas valve knob clockwise to OFF position. Turn the gas supply OFF by turning the Propane tank valve clockwise to close. Disconnect the power cord once the heater has cooled to ambient temperature.
TEST FIRING HEATER
Test fire your construction heater, following the lighting instructions applicable to the gas control system employed. Leak test all gas connections with soap solution. Soap bubbles indicate gas leakage. DO NOT use a match or flame to test for gas leaks.
STORAGE
Never store a Propane gas tank inside a building or in the vicinity of any gas or oil-burning appliance. When the Propane tank is not disconnected from the construction heater, the gas tank and heater must be stored outdoors in a well-ventilated area, out of the reach of children. If for any reason the heater is to be stored indoors, the tank must be disconnected and stored outdoors in a well-ventilated area out of reach of children, in accordance with the standard for the Storage and Handling of Liquefied Petroleum Gases, ANSI / NFPA 58 and CSA B149.1, Natural Gas and Propane Installation Code. The plastic tank valve plug supplied with your tank must be tightly installed when the tank is disconnected from the heater.
MAINTENANCE INSTRUCTIONS
- Turn the unit off, allow the heater to fully cool, and disconnect the propane hose before performing any Maintenance functions. Unplug the unit from the 120V receptacle.
- Keep the unit clean and keep the inside of the torpedo housing debris-free.
- Have the unit checked by a qualified technician at least once a year, preferably prior to the heating season.
TROUBLESHOOTING
| PROBLEM | POSSIBLE CAUSE | CORRECTIVE ACTION |
| 1. The fan does not turn when the electrical connection is made. | 1. No electric power to the heater. | 1. Check the current to an electric outlet. If the voltage is correct, check the power cord and extension cord for cuts and breaks. 2. Be sure that housing is not damaged. Make sure there are no obstructions to the fan. 3. Straighten blade(s) to match others. 4. Replace motor. |
| 2. Fan blade contacts the inside of the heater housing. | ||
| 3. Fan blade(s) bent 4. Fan motor defective. | ||
| 2. Heater will not fire. | 1. No spark at the ignitor. 2. Improper spark gap. 3. Bad electrode. | 1. Check ignitor wire. Re-attach or tighten if loose. Check the Spark module. Replace if necessary. 2. Set gap (See specifications for gap). 3. Replace Spark Plug. |
| 3. The heater quits while running. | 1. The internal temperature is too high, causing the limit switch to shut down the operation. 2. Damaged Control Valve. 3. Dust or debris build-up inside of heater. | 1. If the output of the heater is restricted, the internal temperature becomes too high. Move the heater away from any obstructions. 2. Replace Control Valve. 3. Clean the inside of the heater. |
WARRANTY
LIMITED WARRANTY:
This limited warranty is extended to the original retail purchaser of this Forced Air/Convection/Radiant Heater and warrants against any defect in materials and workmanship for a period of one (1) year from the date of retail sale. GHP Group, Inc., at it’s option, will either provide replacement parts or replace or repair the unit, when properly returned to the retailer where purchased or one of our service centers as directed by GHP Group, Inc., within one (1) year of retail purchase. (Shipping costs, labour costs, etc. are the responsibility of the purchaser.)
DUTIES OF THE OWNER:
This heating appliance must be operated under the written instructions furnished with this heater. This warranty shall not excuse the owner from properly maintaining this heater by the written instructions furnished with this heater. A bill of sale, canceled check, or payment record must be kept to verify the purchase date and establish the warranty period. The original carton should be kept in case of warranty return of the unit.
WHAT IS NOT COVERED:
- Damage resulting from the use of improper fuel.
- Damage caused by misuse or use contrary to the owner’s manual and safety guidelines.
- Damage caused by a lack of normal maintenance.
- Fuses
- Use of non-standard parts or accessories.
- Damage caused in transit. Freight charges on warranty parts or heaters to and from the factory shall be the responsibility of the owner.
This warranty does not imply or assume any responsibility for consequential damages that may result from the use, misuse, or lack of routine maintenance of this heating appliance. A cleaning fee and the cost of parts may be charged for appliance failures resulting from a lack of maintenance. This warranty does not cover claims that do not involve defective workmanship or materials. FAILURE TO PERFORM GENERAL MAINTENANCE (INCLUDING CLEANING) WILL VOID THIS WARRANTY. THIS LIMITED WARRANTY IS GIVEN TO THE PURCHASER IN LIEU OF ALL OTHER WARRANTIES, EXPRESSED OR IMPLIED, INCLUDING BUT NOT LIMITED TO THE WARRANTIES OF MERCHANTABILITY OF FITNESS FOR A PARTICULAR PURPOSE. THE REMEDY PROVIDED IN THIS WARRANTY IS EXCLUSIVE AND IS GRANTED IN LIEU OF ALL OTHER REMEDIES. IN NO EVENT WILL GHP GROUP, INC. BE LIABLE FOR INCIDENTAL OR CONSEQUENTIAL DAMAGES.
Some states do not allow limitations on how long an implied warranty lasts, so the above limitation may not apply to you. Some states do not allow the exclusion or limitation of incidental or consequential damages so the above limitation or exclusion may not apply to you.
CLAIMS HANDLED AS FOLLOWS:
- Contact your retailer and explain the problem.
- If the retailer is unable to resolve the problem, contact our Customer Service Department. detailing the heater model, the problem, and proof of date of purchase.
- A representative will contact you. DO NOT RETURN THE HEATER TO GHP GROUP, INC. unless instructed by our Representative. This warranty gives you specific legal rights, and you may also have other rights which vary from state to state.
For more manuals by Dyna Glo, visit ManualsLibraryy
Dyna Glo Series Propane Construction Heater-FAQs
How does a Dyna-Glo propane heater work?
Dyna-Glo propane heaters use blue flame technology to distribute heat evenly, much like a home’s central heating system. They operate at 99.9% efficiency and run on propane gas only.
Why does my Dyna-Glo heater keep shutting off?
The most common reason is low fuel. If your propane level is low, the gas flow becomes insufficient, which can cause the heater to shut off.
What should I do if my propane heater won’t ignite?
Check and clean the igniter area. Dust or debris can prevent a proper spark. Make sure the igniter is producing a visible spark. If not, it may need to be adjusted or replaced.
Are Dyna-Glo propane heaters safe for indoor use?
Yes, Dyna-Glo wall heaters are designed for safe indoor use as supplemental heating sources.
How long does a propane tank last with a Dyna-Glo heater?
A standard 20 lb propane tank can typically run the heater for 9–10 hours. Duration may vary depending on heater size, efficiency, and usage conditions.
How long does 1 kg of propane last?
One kilogram of propane can produce about 13.6 kWh of energy, which is enough to power a cooker for approximately 81.6 hours.
Why is my heater running continuously through the night?
This may be due to a dirty air filter. Clogged filters reduce airflow and force the unit to overwork. Check and replace your filter regularly.
How do I reset my propane heater?
Turn off the main gas supply, leaving the pilot line on. Relight the pilot using a match at the pilot jet. Then restore power at the circuit breaker and turn the main gas supply back on.






