
Fridja F1200 Clothes Steamer Pro

INTRODUCTION
Thank you for purchasing this Fridja Clothes Steamer Pro! This product has been designed and manufactured to give you years of trouble-free service. Please take time to read these instructions before use; they have been written to ensure you get the very best from your purchase.
TECHNICAL SPECIFICATIONS
- Model Number: f1200
- Net Weight: 6.1 kg
- Water Tank Capacity: 3.0 Litres
- Input Voltage: 220-240 V 50/60 Hz
- Output Power: 2200W
- Instruction Booklet: 1.1
SAFETY INFORMATION
- Using distilled or demineralised water in your Clothes Steamer Pro is highly advisable for optimal performance and longevity. Hard tap water can cause limescale buildup, which clogs internal components and reduces efficiency. Over time, this can lead to malfunctions and necessitate costly repairs or even replacement. Filtered water, by contrast, is free from these impurities, helping to maintain the steamer’s performance and ensuring it continues to produce consistent, high-quality steam.
- Filtered water also enhances garment care by preventing mineral deposits and residues that can stain clothes. This ensures your garments remain spotless and fresh after steaming. Additionally, using filtered water reduces the need for frequent maintenance, allowing for a more reliable and efficient steaming experience. In summary, filtered water is a simple and effective way to protect both your Clothes Steamer Pro and your wardrobe.
- Always follow basic safety precautions when using electrical appliances. Ensure the voltage matches your local network, and keep the supply cord away from heat or sharp edges. If the supply cord is damaged, it must be replaced by a qualified engineer to avoid hazards. Steam is hot, so take care to avoid scalding and unplug the unit after use or during maintenance. Avoid shaking the appliance during use to prevent hot water splashes, and never immerse the unit in water or other liquids.
- Use the appliance only on a stable, heat-resistant surface, and allow accessories to cool before handling. Avoid tilting the appliance during operation to prevent water spillage. Ensure proper cooling and draining before storing or refilling the steamer. Never add unapproved chemicals or detergents to the water, as this may damage the appliance or make it unsafe. Always check the water level before and during use, and never operate the steamer without filling the water storage tank.
- Do not use the steamer on steam-sensitive materials such as suede, velvet, leather, vinyl, plastic, or any other materials that may be damaged by steam. If unsure, test first on a small, discreet part of the material.
- Only move the appliance by the base unit, and do not force the wheels if they are stuck. Turn off the unit and drain the water tank before inspecting.
- By following these guidelines, you can ensure safe and effective use of your Clothes Steamer Pro, keeping both the appliance and your clothes in excellent condition.
YOUR FRIDJA STEAMER
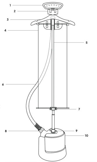
- Steamer Head
- Steamer Head Holder
- Clothes Hanger
- Fabric Ironing Board
- Telescopic Pole
- Fabric Steam Hose
- Ironing Board Fixture
- Screw-In Connector
- Pole Connector Nut
- Removable Water Tank

HOW TO ASSEMBLE
For a YouTube video on how to assemble the Fridja f1200, please scan this QR code or go to this link: https://www.fridja.com/f1200overview. Carefully unpack all parts of the f1200 steamer.
1. Assemble the telescopic pole
The thinnest part is the top. Extend the telescopic pole to its full length, twisting each segment clockwise to lock it. Add the ironing board fixture (7).
2. Attach the pole to the steamer base
Connect the pole to the steamer’s base. Simply insert the pole into the aluminium base at the bottom, turning clockwise.
3. Install the clothes hanger and hook
Place the hanger and hook at the top of the telescopic pole. The steam head holder slots into the hanger.
4. Insert the short metal rod (with plastic protectors on the sides)
Insert the short metal rod with plastic protectors on the ends into the flexible ironing board. Slide it into the side of the flexible ironing board with the smaller gap in the middle.
5. Insert the metal rod (without plastic protectors on the side) to form the hanger
Insert the other metal rod (without plastic protectors) into the other half, the one with the larger gap in the middle. This will form the bottom of your hanger where the pegs will go. Install the metal rod without plastic protectors into the hanger. After, secure the bottom of the ironing board using the ironing board fixture.
6. Connect the steam hose to the base
Screw the fabric hose to the base of the f1200.
7. Secure the hose
Finally, attach the hose to the steam outlet at the top of the steamer. Twist clockwise for a secure fit. Then hang the steam head on the steam head holder (2). You’re now ready to steam!
HOW TO OPERATE
1. Set Up The Steamer
Place your steamer on a stable, dry surface. Remove the water tank, unscrew the cap, and fill it with demineralised or filtered water. Be careful not to tilt the steamer to avoid leaks.
2. Switch on
Turn on the steamer by pressing the on/off switches. Choose level one for light steam or level two for maximum steam. Allow 45 seconds for it to warm up.
3. Start steaming
You’re now ready to use your steamer.
4. Turn off
After use, simply switch the steamer off by turning the button to the off position.
TIPS ON STEAMING
Using a steamer takes practice, but once you master it, the results are very satisfying. Here are some detailed instructions to help you achieve the best results.
- Preparation: Ensure your steamer is filled with water and turned on. Wait for it to fully heat up.
- Positioning: When using the steamer, avoid pressing the steamer head directly against the clothes. This can block the steam, preventing creases from disappearing and causing water marks on your clothes.
- Technique: Instead, lean the steamer head forward, allowing only the top curve to touch the fabric. Maintain a small gap for the steam to escape and reach the clothing. This ensures that the steam can penetrate the fabric effectively without leaving water spots.
- Handling the Fabric: With your other hand, keep the material taut. This helps the steam penetrate the fabric and remove wrinkles more efficiently. Pull the fabric gently to avoid stretching or distorting it.
- Steaming Motion: Move the steamer up and down slowly to remove creases effectively. Start from the top of the garment and work your way down. This method ensures that any wrinkles are smoothed out evenly.
- Difficult Areas: For stubborn creases or thicker fabrics, you may need to pass the steamer over the area a few times. Be patient and allow the steam to work through the material.
- Finishing Up: Once you have finished steaming, let the garment hang for a few minutes to dry and set. This will help maintain the smooth appearance.
By following these steps and practicing regularly, you’ll find that using a steamer becomes an easy and efficient way to keep your clothes looking fresh and wrinkle-free.
ACCESSORIES
Fabric Brush Attachment (Upholstery Brush)
Enhance your fabric care routine with the Clothes Steamer Pro’s versatile brush attachments. The fabric brush is perfect for refreshing and removing lint from bedding, sofas, and cushions, ensuring a clean and polished look. Additionally, the bristle brush is ideal for wool, providing gentle yet effective care for your woollen garments and accessories.
Heatproof Glove
Enhance your fabric steaming with the heatproof ironing glove. Wear the glove on the hand not holding the steamer head to easily make fabrics or garments taut. Keeping the material taut helps remove creases faster, ensuring a smooth, wrinkle-free finish.
Descaling Crystals
To ensure optimal performance and longevity of your steamer, please use the included descaling crystals regularly. Detailed instructions on how to use them can be found in the manual on the next page.
CAUTION: To avoid injury, do not fit attachments whilst the unit is operational or hot.
HOW TO DESCALE
1. Remove the Water Tank and Hose
First, take off the water tank and detach the hose. This will give you access to the steamer’s interior and make the descaling process easier.
2. Drain the steamer
Empty any remaining water from the steamer by opening the drainage valves located on the back and underneath the base.
3. Add a pinch of descaling crystals
In the space beneath where the tank sits, mix a pinch of descaling crystals with 200 millilitres of water. You do not need a lot of descaling crystals!
4. Tilt and shake
Gently tilt your steamer back and forth. This movement will help loosen and dissolve mineral buildup like magnesium and calcium, visible as brown particles in the water.
5. Empty through the drain valve
Dispose of the remaining water through the drain valve located at the bottom of the steamer, near the buttons.
6. Repeat as necessary
Repeat this process several times until the water you pour out is clear and free from brown particles. This regular cleaning will help maintain your steamer’s efficiency and longevity.
STORAGE TIPS
Proper storage of a clothes steamer helps maintain its condition and ensures it’s ready for use when needed. After each use, allow the steamer to cool down completely before storing. Empty any remaining water from the tank to prevent mineral build-up. Avoid putting pressure on the hose. Keep the steamer in a cool, dry place away from direct sunlight and dust. If possible, store it in its original box to protect it from dirt and moisture. Regular, careful storage will help your clothes steamer last longer and work more effectively.
TROUBLESHOOTING

PLUG SAFETY
The appliance is fitted with a 13 amp plug. In the event of having to change the fuse in the plug supplied, a 13 amp ASTA-approved (BS 1363) fuse must be used. Should the plug need to be replaced for any reason, proceed as described below. The wires in the mains lead are coloured in accordance with the following code:
- The wire coloured green and yellow must be connected to the terminal marked with the letter “E” or by the Earth symbol or coloured green and yellow. Under no circumstances should either the Neutral or Live be connected to the earth terminal.
- The wire coloured blue or black must be connected to the terminal “N”. Under no circumstances should either the Earth or Live be connected to the Neutral terminal.
- The wire coloured brown or red must be connected to the terminal marked “L”. Under no circumstances should either the Earth or Neutral be connected to the Live terminal.
- Upon completion, there must be no cut or stray strands of wire present, and the cord clamp must be secure over the outer sheath. If in doubt, please contact a qualified engineer for advice.

WARRANTY AND GUARANTEE
Thank you for purchasing a Fridja product! This guarantee applies to goods purchased directly from Fridja Ltd. If you bought your steamer from a third-party retailer, please contact them directly for any issues or queries regarding your purchase.
Warranty Activation
To activate your warranty and enjoy continued support, please register your product by following these simple steps:
- Scan the QR code using your smartphone camera or a QR scanning app to access our official registration page.

- Complete the registration form with your product and personal details, ensuring all information is accurate to activate your warranty.
- Review and submit your information by clicking ‘Submit’ to finalise the registration process.
Upon successful registration, you will receive a confirmation email shortly, which includes your warranty details and other important information regarding your product.
Full Terms and Conditions
For detailed information on the terms and conditions of your purchase and guarantee, please visit – https://www.fridja.com/returns-policy.
Assistance
For any assistance, please visit – https://www.fridja.com/help. Keep your purchase receipt safe. It may be required for future warranty claims.
For More Manuals By Fridja, Visit ManualsLibraryy.
Fridja F1200 Clothes Steamer Pro-FAQ
What is the Fridja F1200 Clothes Steamer Pro?
The Fridja F1200 Clothes Steamer Pro is a powerful 2200W standing garment steamer designed for fast and efficient wrinkle removal. It features a large 3-litre water tank and heats up in approximately 35 seconds, making it suitable for both quick touch-ups and larger laundry loads. The steamer delivers consistent, penetrating steam that works on a wide range of fabrics, from delicate silk to heavier materials like linen.
Is the Fridja F1200 Clothes Steamer Pro good?
Fridja steamers are generally well regarded for their build quality and performance, and the F1200 is considered a premium model within the range. With its strong 2200W heating element and large tank capacity, it is suitable for home users who want reliable, consistent results. It is particularly valued for its fast heat-up time, durable design, and ability to handle both delicate and thicker fabrics effectively.
Is steaming better than ironing?
Steaming and ironing serve slightly different purposes. Steaming is ideal for gently removing wrinkles from delicate fabrics like silk, wool, lace, and cashmere without direct contact. Ironing, on the other hand, is better for achieving crisp creases on cotton and linen. The Fridja F1200 is excellent for quick de-wrinkling and refreshing garments, but if you need sharp pleats or structured finishes, an iron may still be preferable.
How do you use the Fridja F1200 Clothes Steamer Pro?
To use the F1200, fill the 3L water tank, switch the unit on, and wait around 35 seconds for it to heat up. Hang your garment on a hanger and gently run the steam head vertically along the fabric. Keep the hose straight and avoid tilting the unit excessively. Allow garments to dry briefly before wearing to ensure the best finish and prevent dampness.
Where is Fridja made?
Fridja products are designed in London, United Kingdom. Manufacturing takes place in both China and the UK, depending on the product and production requirements. The brand focuses on combining British design standards with global manufacturing capabilities to deliver reliable home appliances, including garment steamers, juicers, and fabric care products.
What fabrics should not be steamed?
While steamers are safe for many fabrics, materials like suede and velvet require caution because excessive moisture can damage their texture. Certain plastics or synthetic materials may also react poorly to high heat. It is always recommended to check the garment care label before steaming and test a small, hidden area first if you are unsure.
What are the disadvantages of using a clothes steamer?
A clothes steamer may not produce sharp creases like a traditional iron, which can be a drawback for formal shirts or trousers. It can also leave garments slightly damp immediately after use. Additionally, some fabrics are sensitive to moisture or heat. However, steamers generally pose less risk of scorching because there is no direct hot plate touching the fabric.
What are common problems with garment steamers?
One of the most common issues with steamers is scale buildup caused by mineral deposits from water, which can reduce steam output over time. Other problems include leaks from improper assembly or inconsistent steam due to blockages. Regular cleaning and occasional descaling help maintain strong performance and extend the lifespan of the Fridja F1200.
Can steamers remove wrinkles effectively?
Yes, garment steamers are designed specifically to remove wrinkles by relaxing fabric fibers with hot steam. The Fridja F1200 produces continuous, high-powered steam that penetrates fabric to smooth out creases quickly. While it may not create sharp pressed lines like an iron, it is highly effective for everyday wrinkle removal and refreshing clothes.
Can you use tap water in the Fridja F1200 Clothes Steamer Pro?
The F1200 is designed to work with tap water, but if you live in a hard water area, mineral buildup may occur faster. Using filtered or distilled water can help reduce scale accumulation and maintain optimal steam performance. Regular descaling is recommended to keep the steamer functioning efficiently and to prolong its internal components.



