
Hunter 44110 Programmable Thermostat

IMPORTANT INFORMATION
- This thermostat is designed to work on the following systems:
Gas –Standing Pilot
Gas –Electronic Ignition
Gas –Fired Boilers
Gas-Millivolt Systems
Oil-Fred Boilers
Oil-Fred Furnace
Electric Furnace
Electric Air Conditioning
This thermostat will NOT control single-stage or multi-stage heat pumps or 1101220 V baseboard electric heating systems. - Temperature RangeThis thermostat can be programmed between 45T and 95T (TC and 35(). It will display room temperatures from 30T to 99T (O’C and 3TC). “HI” will be displayed if the temperature is higher than 99’F (3TC), and “LO” will be displayed if the temperature is lower than 30’F (CC). This thermostat will automatically cut-off in Heat mode if the temperature rises above 95T (35’C), and automatically cut-off in Cool mode if the temperature drops below 40T (CC).
- Compressor Protection This thermostat provides a 3.5 minute delay after shutting off the cooling system before it can be restarted. This feature will prevent damage to your compressor caused by rapid cycling. It does not prevent a rapid compressor restart due to short power outages.
- Battery WarningTwo fresh AA alkaline batteries should provide well over one year of service. However, when the batteries become drained, the Low Battery Indicator will flash on the display. When this message occurs, install new alkaline batteries. You have approximately 1 minute to change the batteries and keep thermostat’s clock and program settings. Once the batteries have become too low to ensure proper operation, your system will be turned Off, and the display will be cleared except for flashing Low Battery Indicator on the LCD display.
FEATURES

ENERGY STAR@ PARTNER
As an ENERGY STARS Partner, Hunter Fan Co. has determined that this programmable thermostat meets the ENERGY STARS guidelines for energy efficiency.

INSTALLATION
What You Need
This thermostat includes two #8 slotted screws and two wall anchors for mounting. To install your thermostat, you should have the following tools and materials.
- Slotted Screwdriver(s)
- Small Philips screwdriver
- Hammer
- Electric drill and 3/16″ bit
- Two 1.5 V (AA) size alkaline batteries
Remove Old Thermostat
- IMPORTANT! Turn off the power to the furnace at the main power panel or at the furnace.
- Remove existing thermostat cover and thermostat. See Figure 1. Some thermostats will have screws or other locking devices that must first be removed. Once the wall mounting plate is exposed, look for wires.If wires are not visible, they may be connected to the back of the wall plate. Again, look for screws, tabs, etc. Some models have doors that open to expose wires and mounting screws. See Figure 1.
Typical Home Thermostats

Wire Labeling
- Each wire coming from the wall to the existing thermostat is connected to a terminal point on that thermostat. Each of these terminal points is usually marked with a code letter as shown in Table A below.
- The number of wires in your system can be as few as two (for heat only systems), as many as eight, or any number in between. If you follow the labeling procedures correctly, you do not have to be concerned about how many wires there are.
- There is often no terminal marking on the existing thermostat of two wire, heat only systems. Just connect either of the wires to the RH terminal, then connect the other wire to the W terminal to complete the circuit.
- IMPORTANT! BEFORE DISCONNECTING ANY WIRES APPLY THE SELF-ADHESIVE LABELS PROVIDED TO THE WIRE AS SHOWN IN TABLEA BELOW. (For example, attach the label marked W to the wire that goes to the W or H terminal on your existing thermo- stat.) IGNORE THE COLOR OF THE WIRES since these do not al- ways comply with the standard.

Wire Labeling (Continued)
After labeling wires disconnect them from the existing thermostat terminals. Remove existing wall plate. To make sure wires do not fall back into wall opening, you may want to tape them to the wall. If hole in wall is larger than necessary for wires, seal this hole with insulating material so that no hot or cold air can enter the back of the thermostat from the wall. This air could cause a false thermostat reading.

NOTE: Do not connect a “Common” wire (sometimes labeled “C”) to any terminal on this thermostat. Tape up the wire and do not use. This wire provides electricity to non- battery powered thermostats.
Mount Wall plate and Thermostat
Remove the wall plate from your thermostat by pressing the release tab on the bottom of the thermostat. See Figure 2.

Position wall plate on wall and pull existing Wires through large opening. Then level for appearance. Mark holes for plastic anchors provided, if your existing holes do not line up With those on the Hunter wall plate. Drill holes With 3/16″ bit and gently tap anchors into the holes until flush With wall. Reposition wall plate to wall, pulling Wires through large opening. Insert mounting screws provided into wall anchor and tighten. See Figure 3.
Connect Wires and Mount Thermostat to Wall plate
- Match and connect the labeled wires to the appropriate coded terminal screws on the wall plate. (See figure 4, 5.) Ignore any wires which may be present, but which were not connected to the old thermostat.
- Refer to the Wiring Diagrams below to be sure your system is wired correctly.
- Be sure to tighten the terminal screws securely, otherwise a loose wire could cause operational problems with your system or thermostat.
- Push excess wire back into the hole to prevent interference when installing the thermostat to the wall plate
- Make sure the System Switch is set to OFF, and the Fan Switch is set to AUTO.
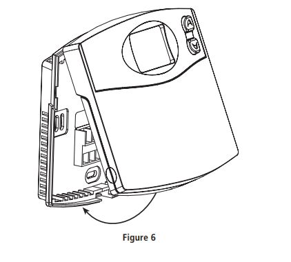
- Insert the bottom tab on the thermostat body into the slot at the bottom of the wall plate. Press the top of the thermostat body to snap it into the wall plate. Refer to Figure 6.
- Insert the two AA size alkaline batteries, observing the polarity marked inside the battery compartment.
- Switch on the main power at the panel or furnace.

Wiring Diagrams


X – No Connection
Selector Switches
In order for this thermostat to control your system, the system type must be specified by the selector switches on the printed circuit board inside the thermostat.
Heating System Selector (HG – HE switch)
The factory position for this switch is in the “HGH position. Leave it in this position if you have a gas furnace or an oil burner. If you have an electric furnace, test to see whether the Heat and Fan come on as expected after installation. If the Fan operation is normal, leave it in the “HG” position. If the Fan does not come on within a minute of the thermostat calling for heat, change the switch position to ” HE”. The system selector has no effect in the cooling mode.
Auto Recovery selector (DISABLE/ENABLE)
Your thermostat is set from the factory with the Auto Recovery Feature enabled, which complies with the EP ENERGY STARE Program. If you prefer to use normal recovery, slide the switch to the DISABLE position.

F’ / C Selection (Fahrenheit / Celsius)
Your thermostat is set for FZ mode from the factory. To change to C mode, follow these steps:
- Press and hold the Up key.
- Use a paper clip to press the reset key.
- Once all the LCD segments tum on, release the Up key.
OPERATION
Setting Day and Time
- The LCD will show this information when batteries are first installed, or after the Reset button is pressed. The temperature will update after a few seconds.
- During time and day setting mode, the temperature and program displays will go blank.
- Example: Set the Thermostat to the current time of 2:16 pm on Saturday. Refer to the Steps below.

STEP 1
Press to enter time and day setting mode. The current hour and the AM I PM indicator will be flashing.
Press to change the Hour up or down to the current hour. Note the AM I PM indicator, as the display will change at 12 AM and 12 PM.
STEP 2
Press again to change from hour setting to minute setting. The current minute will be flashing.
Press to change the Minute up or down to the current minute.
Setting Day and Time (Continued)
STEP 3
Press again to change from minute setting to day setting. The current day will be flashing.
Press to change the Day up or down to the current day.
STEP 4
Press again to change back to the normal display.
NOTE: You may press hold/return at any time during Day and Time setting to return to the normal display.
12 Hr. / 24 Hr. Time Format
Your thermostat is set from the factory in normal 12 (AM / PM) time format. To change to 24 hour (military) time, press program at any time while the Hour, Minute, or Day is flashing to toggle between the 12 hour and 24 hour formats. The AM / PM indicator will not be dis- played in 24 hour mode. Both the current time and all programs will automatically change to the selected format.
PROGRAMMING
The following time and temperature settings are pre-programmed into the thermostat:

- All 7 days of the week have the same default programs.
Personal Program Schedule
You can revise the factory programs to match your own schedule. Use this Personal Program Schedule to determine which times and temperature settings match your comfort and energy saving requirements. Use a pencil so you can revise your records each time you change your program settings.
Heating

Cooling

Revising Programs
Familiarize yourself with manually changing programs, so that you can easily modify the programs as your comfort needs change. Follow the steps below to change the program times and temperatures.
NOTE
- The program time can be set in 10-minute increments.
- The program temperature can be set in increments of 1 OF (1 oc).
- After 15 seconds without a key press, the thermostat will return to normal display mode.
- When setting the program time, note the AM / PM indicator.
STEP 1:
Slide the System Switch to the HEAT or COOL position to program the corresponding system.
NOTE: If the System Switch is in the OFF position, the last position used will be programmed.
STEP 2
Press to enter program mode. COOL will be displayed on the LCD.
STEP 3
The Program hour and AM or PM indicator are flashing. Press to change the hour.
STEP 4
Press again to change to the minute position. The current minute will be flashing.
Press to change the minute.
STEP 5
Press again to change to the program temperature. The current temperature will be flashing.
Press to change the temperature.
STEP 6
Press again to move to the next program number.- Repeat Steps 3 through 5 to change the remaining Weekday and Weekend programs. (There are a total of 8 programs.)
After cycling through all 8 programs, press again to return the display to normal.- Hold/Return: Press at any time to exit the Program Mode.
Reviewing Programs
To review your program settings, press program repeatedly to cycle through the programs. You can also make changes at any time.
System Selector Switch
The System Selector switch on the front of the thermostat determines the operating mode of the thermostat. You may select COOL, OFE HEAT.
NOTE: Anytime you install or remove the thermostat from the wall plate, slide the System Selector to the OFF position to prevent the possibility of a rapid system On-off.
Fan Switch
The Fan switch should normally be located in the AUTO position. The Fan will be turned on along with normal operation of your system. In a normal gas or oil furnace, the Fan will be turned on by your furnace after its warm-up delay. For electric heat, air conditioning, and heat pump operation, the Fan will turn on with the system. To run the Fan on continuously, slide the Fan switch to the ON position. 
Temporary Manual Override
To temporarily change the current set temperature without affecting your program:
Press and hold for about 1 second to enter Manual Override mode. When display flashes, you can release the key.
Press again to change to your desired Set Temperature. Hold the key for 2 seconds to fast-advance the Set Temperature.
- Hold/Return: Press to return to normal mode, or wait 5 seconds for it to return automatically.
- The current program number will flash to signify the Temporary Override.
- At the next program change time, the Temporary Override is cancelled, and the next program temperature becomes the setpoint temperature.

TO end the Temporary Manual Override
- Hold/Return: Press, then press again. This will return the set temperature to the current program set temperature.
Permanent Override
To hold your Manual Override for vacation or just an extended period of time:
- Hold/Return: Press to make the current program temperature the HOLD temperature. HOLD will be displayed on the LCD, and the Program number will disappear.
Follow the Temporary Manual Override instructions above to change the Permanent Manual Override temperature.- Hold/Return: You can confirm the held set temperature by pressing for less than 1 second.

To end the Permanent Manual Override
- hold/return: Press again. The thermostat will return to the current program, and the HOLD display will be canceled.
Filter Change Indicator
Your thermostat measures the number of hours your heating and cooling system has been in use. To maximize your system’s performance and energy efficiency, change or clean your filter regularly.
- When the total system runtime for heat and cool reaches 400 hours, the Filter Change Indicator will flash as a reminder to check your system’s filter.
- Filter: After changing or cleaning the system’s filter, press and hold the Filter Key for 3 seconds. The display will blink, and the timer will be reset to zero.

SPAN Setting Mode
Your thermostat is set at the factory to cycle at IOF (0.50C) above and below the set temperature. (Span = 2) This setting has been designed to provide a comfortable room temperature under most all conditions. However, if you find your system cycling too fast or too slow, then the Span can be adjusted to modify the cycle time.
Press and hold BOTH for three seconds. The display will flash, and SPAN will be displayed on the LCD.
Press to raise the Span to 3. This setting INCREASES the cycle time by allowing your system to run LONGER.
Press to lower the Span to 1 . This setting DECREASES the cycle time by causing your system to run SHORTER.
The Span settings remain the same for both HEAT and COOL. The Span can be changed at any time, and is independent of program times or temperatures. When batteries are installed in the thermostat, or the Reset key is pressed, the Span is reset back to setting 2.
Low Battery Warning
Your thermostat has a two-stage low battery warning system. When the batteries are first detected to be weak, the first stage low battery warning is indicated by battery symbol flashing on the LCD display. At your earliest convenience, you need to replace the batteries with 2 new AA alkaline batteries.
When the batteries become too weak for normal operation, the thermostat enters the second stage low battery warning which shuts down the thermostat. In this condition, “BATT” flashes alone on the display, and the thermostat will turn your system Off. Your system will remain shut-off until the batteries are replaced.

Auto Recovery
Hunter’s Auto Recovery feature meets the ENERGY STAR@ guidelines for energy efficiency by allowing the heating or cooling system to recover gradually from an energy-saving setpoint temperature to a comfort setpoint temperature. Auto Recovery calculates how early to turn your system back On, so that the room temperature is already comfortable by the start of the comfort temperature program period. Auto Recovery works in both Heat and Cool modes.
- When the thermostat is in Auto Recovery mode, the display will alternate “RECO” with time, and the program indicator will flash.
- Auto Recovery can be disabled by sliding the Recovery switch on the circuit board to disable.
- Auto Recovery will not operate if Permanent hold or Temporary hold is in operation.
- Auto Recovery can be canceled manually if HOLD / RETURN is pressed during the recovery process.
- Auto Recovery will be canceled and change to Temporary Manual Override mode if the setpoint is adjusted during the recovery process.

Error Mode
If the thermostat is unable to control your system due to an unexpected battery problem, the thermostat will enter Error Mode. In this condition, the thermostat flashes “Err” on the LCD display, and shuts off your system. To correct this problem, replace the batteries with 2 new AA alkaline batteries, even if you have recently replaced them. Next, use a paper clip to press the RESET button next to the keypad. You will need to reprogram your thermostat and confirm normal operation. If Error Mode returns, please call Hunter Technical support at 1-888-830-1326 for further information.
Auto Cut Off
Your thermostat will automatically cut-off in Heat mode if the room temperature rises above 950F (350C). It will cut-off in Cool mode if the room temperature drops below 400F (CC). Note that if your system has malfunctioned and no longer responds to thermostat controls, the Auto Cut-Off will have no effect.
TROUBLESHOOTING


For more manuals by Hunter visit, ManualsLibraryy
Hunter 44110 Programmable Thermostat-FAQs
How do you reset a Hunter 44110 thermostat?
Use a paperclip to press the reset button and restore the thermostat to its original factory settings.
Why is my Hunter thermostat not reading the correct temperature?
Replace the batteries first. Then check if the thermostat is level and clean. Dirty air filters in your HVAC system may also cause incorrect temperature readings.
How do I turn off the program on my Hunter thermostat?
1. Press the Schedule button once.
2. Use the arrow buttons to select “Off” and press Done/Home.
3. The screen will show “Updated!” and return to the home screen. Adjust the temperature as needed.
What does “re co” mean on the Hunter thermostat?
It indicates the thermostat has entered recovery mode, which activates when reaching a set temperature or after a power surge.
What is recovery mode on a thermostat?
Recovery mode adjusts your HVAC system to bring your home back to the set temperature after being off or in energy-saving mode.
How do I troubleshoot my thermostat?
1. Reset the thermostat.
2. Clean out any dust or corrosion.
3. Test the power and wiring.
4. Adjust the heat anticipator if necessary.
Is it better to have the fan set to “On” or “Auto” on a thermostat?
AUTO is more energy-efficient as the fan only runs when the system is active. It also helps with better dehumidification during summer.
Where is the thermostat sensor located?
The sensor is near the evaporator coils and monitors indoor air as it moves toward the return vents.
Why does my thermostat keep running?
A malfunctioning thermostat may not accurately detect the home temperature, causing the HVAC system to keep running even after reaching the desired setting.
How do you clear a programmable thermostat?
Find the reset button on the thermostat (you may need to remove the panel). Press and hold the button for 5 seconds to reset it.






STEP 2







