
Moss Air Tabletop Humidifier Air Purifier

Product Specification
- Model Name: MAIR-A
- Size: 75mm x 251mm x 110mm
- Battery Capacity: 1800mAh
- Power Supply: Type-C
- Input: 5V _ 1.5A
- Water Bottle Capacity: 320ml
- Spray Amount: 40ml/hr.
- Main Materials: ABS, Pc
- Product Weight: 600g
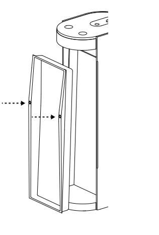
Product Diagram
- A. Buttons B. Control ball main position C. Control ball D. Mist hole E. Front cover
- F. Moss filter
- G. Water level sensor
- H. Water tank
- I Cotton filter cover
- J. Input port K. Water level window
- L. Water tank release button M. USB type-C cable
- N. Cotton filte

Running Instructions


- Power On – Press and hold the On/Off button for 3 seconds.
(The battery indicator will light and change color from White > Blue > Red> Green, and the device will run)
- Power Off – Press and hold the On/Off button for 3 seconds.
(The front light of the device will flicker 3 times, and the power will be turned off.)
Battery Indicator Light


- Do Not Use Fast Chargers. Use a single-output charger with a maximum of 5V/2A
Cleaning, maintenance guidelines & precautions
- Do Not Use Fast Chargers. Use a single-output charger with a maximum of 5V/2A. Using a fast charger may damage the product.
- The magnetic ball can be swallowed by children/pets, so keep it out of reach of children/pets or prevent them from playing with it.
- As the magnetic ball is strongly magnetic, be careful not to damage it by attaching it to or crashing it into other electronic products, furniture, or appliances.
- When using the humidifier for a long period of time, white foreign substances may build up on the oscillator due to the limestone content of tap water
- When cleaning the product, turn off the power and wipe the oscillator with a soft cotton swab (only use a cotton swab). Use vinegar to remove white foreign substances and inhibit their buildup.
- Wipe the humidifier with a soft, dry cloth.
- Using dirty water will cause damage and odors.
- If it is not going to be used for a long time or will be stored for a long period, separate the water bottle, filter, etc, and dry them well before storing.
- Clean any debris from the nozzle before storing the device for an extended period.
- When used for a long period of time, limestone deposited on the oscillator may block the micro-holes of the oscillator and cause a malfunction.
- Any malfunction caused by a limestone buildup on/in the oscillator is not eligible for free A/S
Moss Filter Maintenance Precautions
- The moss in the filter is not edible.
- When kept in a dry place and out of direct sunlight in its original packaging, the filter can be stored for 6 months.
- Do not store the moss in humid/damp spaces without access to light, as this may cause problems. Please store it in a dry place.
- If you spray water over the moss manually, spray evenly over the entire moss filter about once a day.
- We recommend spraying just enough to prevent water from running out.
- After spraying, do not place the moss filter in a dark place until it is dry.
- Repeated manual spraying/ excessive watering while the moss is not dry may retard moss growth.
- If you have overwatered the moss, we recommend detaching the moss panel, drying it for a day, and then reattaching it to the main body.
- We recommend you handle the moss gently with clean hands. If you touch the moss when it’s completely dry without spraying, the moss may crumble. We recommend handling the moss after spraying.
- If the moss filter becomes contaminated, wash it under running water with a showerhead, etc., to remove contaminants, then leave it vertically to drain well and dry it in the sun.
- Be careful not to use too strong a water pressure. This may cause the moss to get detached.
- If you’re storing detached moss, completely dry the moss on the moss panel and store it out of direct sunlight.
- The change in color over time is a natural phenomenon, just like autumn leaves.
Product Warranty
AS Policy
- A free repair service is only available for performance defects that arise during normal use. The free aftercare service is available, from the date of purchase, for 1 year for the main body and 6 months for the moss filter.
- Repair fees will be invoiced for damage caused by customer negligence, such as damage due to impact or submerging. Within 30 days of the date of purchase, Shipping costs are covered by the company. From 30 days after the date of purchase: Shipping costs are covered by the customer (round-trip shipping costs
AS Request
- Contact Mosslab Customer Service at [email protected] to request after-sales service (A/S). Please ensure the product is securely packaged to prevent damage during transit. Include the completed product warranty card and send it to the customer service center.
- Turn the power off and press the Water Tank Release Button to remove the water tank

- Detach the Cotton Filter Cover. Take the cotton filter out and soak the entire filter for over 30 seconds.
- Reassemble the cotton filter and cover the main body

- Re-attach the water tank to the main body, make sure it clicks and attaches properly.

- It can be used wirelessly when the battery is charged. It can also be used wired after connecting it to a power adapter, computer, or power bank through a USB cable.
- Press the power button on the left to run the humidifier. The product will run until the water in the water tank reaches a low level.
- You can turn the LED On/off using the LED button on the right.
- You can use the LED lamp function without engaging the humidifier.
- When used for a long period of time, limestone deposited on the oscillator may block the micro-holes of the oscillator and cause a malfunction. (Any malfunction caused by a limestone buildup on/in the oscillator is not eligible for free A/S
Trouble shooting

Safety Precautions
- Please read all of the information below to ensure safe use of this product.
- Do not ingest the magnetic ball, and be aware of the damage that may be caused by it.
- Do not submerge the product or pour water into the mist holes.
- Do not overfill the water tank. Water leakage into the humidifier can cause a malfunction.
- Do not use liquids such as aroma oil, etc., in place of water. This may cause a malfunction.
- Do not put hot water in the tank.
- Do not directly inhale the mist.
- Do not use the product in direct sunlight or near a heater.
- Avoid directly exposing furniture, walls, or appliances to the mist.
- Place the device on a flat and stable surface.
- Do not run the humidifier for a long period without water. This may shorten the life of the oscillator.
- Do not place any hard or sharp items on the surface of the oscillator.
- Make sure to turn off the power supply to the humidifier before refilling with water, changing the filter, or cleaning.
- Do not touch the switch, power adaptor, or power plug with a wet hand
- Prevent children or pets from misusing the product.
- If a problem occurs while using the product, contact our Customer Service Center.
- Using any repairer other than our official service center will render you ineligible for the free repair service even within the warranty period.
- Condensation may build around the product depending on the environment within which it is used
- Please soak the filter adequately before using the product
- Arbitrary disassembly, modification, or repair of this product is prohibited.
- Do not charge products with excess voltage.
- Do not throw the product onto a fire.
- Do not charge the product on any combustible material such as a rug, blanket, etc.
- The product has a built-in battery. Please follow your local government’s recycling policy.
- When discarding the product, do not burn.
- An explosion or fire may break out due to excessive heat.
- To prevent the battery from overheating due to a short circuit, please discharge the product completely before discarding
For more manuals by Mosslab, visit ManualsLibraryy
Moss Air Tabletop Humidifier Air Purifier-FAQs
What are the benefits of the Moss Air humidifier?
The Moss Air humidifier has a dual function:
Purifies air by filtering dust, allergens, and pollutants.
Increases humidity while converting CO₂ into oxygen, creating a healthier living space.
How does a humidifier improve air quality?
While it doesn’t remove contaminants like mold, a humidifier:
Reduces dryness, easing congestion and dry skin.
Moistens nasal passages, helping the body fight bacteria and viruses.
How does the moss panel work in air purification?
Absorbs dust, allergens, and harmful particles.
Converts CO₂ into oxygen, improving air freshness.
Does a humidifier help with breathing?
Yes! It:
Prevents dry nasal passages and throat irritation.
Reduces congestion, making breathing easier.
Can a humidifier reduce dust in the air?
It doesn’t eliminate dust but helps by:
Making airborne particles heavier so they settle faster.
Reducing dust circulation, improving air quality.
Is moss effective for air purification?
Yes! Moss:
Absorbs pollutants like dust and metals.
Naturally converts CO₂ into oxygen.
Acts as a living air filter.
Do humidifiers help with allergies?
Yes, by:
Reducing dryness that irritates sinuses.
Minimizing dust mites (when humidity is kept at 40-50%).
Can humidifiers help with dry skin?
Absolutely! They:
Restore moisture to dry air, preventing skin irritation.
Soothe cracked lips and dry nasal passages.
How do I clean a tabletop humidifier?
Regular cleaning prevents bacteria buildup:
Empty and rinse the tank daily.
Use vinegar or mild detergent for deep cleaning.
Replace filters/moss as recommended.
Does a humidifier kill bacteria?
No, but some models (like warm mist humidifiers) can reduce germs.
Regular cleaning is essential to prevent mold/bacteria growth.



