
Nordson Universal TruFlow Divider

TruFlow Applicator

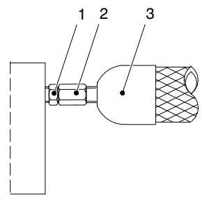
- TruFlow (Flow Splitter)
- Encoder
- TruFlow applicator (UTA …) (here: SpeedCoat)
- Optical fiber cable
Flow Divider

- TruFlow (Flow Splitter)
- Encoder
- Flow Divider
- Optical fiber cable
Flow Meter

- Optical fiber cable
- TruFlow (Flow Splitter)
- Body
Principle of Operation
A TruFlow applicator or a Flow Divider enables adhesive application at a precise speed with a desired application weight. Flow Dividers separate the material current into 2, 3, 4, 6, or 8 different material streams. This enables a single melter to be used to supply different applications.

The Flow Splitter does not need a motor to convey the material. The metering wheels in the interior are driven by the material that the melter supplies. The material channels in the body of the applicator or the pump block distribute the stream of material. If the material in one of the outlets ceases to flow, the encoder shaft will turn irregularly or not at all, or the optical fibers will cease transmitting signals to the control unit. A fault indication appears on the connected electrical cabinet.
TruFlow Applicator or Flow Divider in Closed-loop Control
Measuring Speed with Encoders or Optical Fibers
The current speed of the TruFlow is transmitted to the controller with a high‐resolution encoder or optically using optical fiber cables. The signal is compared to the current pilot voltage of the customer’s machine and of the melter. The control circuit enables optimum material application. The minimum speed of the mechanical encoder is 10 g/min. Optical detection of the rotation allows flow rates as small as 5 g/min to be measured (TruFlow low flow). The optical fiber cables have to be connected to the TruFlow Flow Detection System to be able to do this. Refer to the separate manual for additional information. The data can be displayed on a control panel or can be sent to a PC for analysis.

Description of Components / Functioning
Heating
TruFlow applicators and Flow Dividers are heated with electrical heater cartridges. The temperature is continuously measured by temperature sensors and is controlled with electronic temperature controllers.
Filter Cartridge

The adhesive flows from the inside of the filter cartridge to the outside. Thus, dirt particles remain trapped in the filter cartridge.
Pressure Sensor

Pressure sensors are used to electronically compile the adhesive pressure in the inlet and outlet of a Flow Divider, or less frequently, in a TruFlow applicator. Refer to the manual Pressure Sensor.
Maximum pressure

Drain Valve

Drain valves are used to relieve the adhesive pressure in a TruFlow applicator or Flow Divider. They should be installed such that the adhesive can escape from the bottom. They are opened with a screwdriver. Do not loosen the screw completely!
Control Modules
The control modules open and close the material supply to the nozzle by raising or lowering the nozzle stem. A compression spring ensures that the control module outlet is closed when control air pressure drops, preventing material from being applied. Applies to all control modules: The number of control modules is a factor of the greatest application width possible.

Special Features
The Speed-Coat control module is opened by lowering the nozzle stem. The adhesive is sucked back into the control module when the nozzle stem moves up. This ensures that the adhesive is cut off properly. Two nozzles are attached under a UM50 control module. They have to be the same type.
UM Application Nozzles
UM25 and UM50 control modules can accommodate different nozzles, either directly or using an adapter. These nozzles can create various spray applications with the aid of separately supplied spray air. Controlled Fiberization (CF), Meltblown, Summit, and SureWrap.

- Universal CF nozzle
- Meltblown nozzle
- Summit nozzle
- Sure Wrap nozzle
UM Adapter Plates
Adapter plates allow the application pattern to be changed quickly. The various adapter plates differ from one another in the arrangement of the control modules.
Solenoid Valve
All control modules are equipped with solenoid valves that switch the air supply. The solenoid valves differ from one another, depending on the control module used. Special instructions apply to some solenoid valves; refer to, e.g., Installation.
Special Features
Air Heater
The spray air is heated in the air heater to a temperature just below the processing temperature. This prevents cold air from harming the adhesion properties of the material.
Heat Exchanger
In the heat exchanger, the adhesive flows through long, winding channels, facilitating uniform heat transfer. The warm adhesive is heated to the processing temperature in the heat exchanger.
CC nozzle

The Control Coat (CC) nozzle consists of the two halves of the material nozzle (1), the two halves of the air nozzle (2), and the shim plate (3). The material flows through the material nozzle. The spray air flows through the air nozzle. The spray air spreads the adhesive out like a curtain before it reaches the substrate.
ID Plate

The ID plate contains all of the important information on the Universal TruFlow applicator or the Flow Divider.

Product Configuration
The configuration code and the table indicate the components of this product that can be configured.

Installation
Unpacking
Unpack carefully. Then check for damage caused during transport. Reuse packaging materials or dispose of them properly according to local regulations.
Transport
Flow Splitters, TruFlow applicators, Flow Dividers, and Flow Meters are valuable parts produced with the greatest precision. Handle very carefully! Use the original packaging when possible.
Storage
Do not store outside! Protect from humidity and dust. Protect Flow Splitters, TruFlow applicators, Flow Dividers, and Flow Meters from damage. Use the original packaging when possible.
Disposal
When your Nordson product has exhausted its purpose and/or is no longer needed, dispose of it properly according to local regulations.
Mounting
Do not set up in a potentially explosive atmosphere! Protect from vibration. Remove transport protection (if present). Check all plug and screw connections for tightness. Provide sufficient clearance around the melter.
Installing
When installing the TruFlow applicator. Flow Divider or Flow Meter, observe these points to avoid greater effort later.
- Protect from humidity, vibrations, dust, and drafts.
- Ensure access to parts relevant for maintenance and operation.
- Install the TruFlow applicator in the parent machine. To achieve optimum adhesive application, during assembly, ensure that the distance and, when appropriate, the angle between the nozzle and the substrate can be varied.
- When installing, ensure that cables, air hoses, and heated hoses cannot be bent, pinched, torn off, or otherwise damaged.
- Protect the solenoid valves from excessive temperatures.
Exhausting Adhesive Vapors
Ensure that adhesive vapors do not exceed the prescribed limits. Exhaust material vapors if necessary. Ensure sufficient ventilation of the installation location.
Protecting Solenoid Valves from Heat
If the operating temperature recommended by Nordson for the TruFlow applicator is complied with and the ambient temperature of the solenoid valves is below 80 °C / 176 °F, the temperature of the solenoid valves will not exceed 80 °C / 176 °F. When in doubt, install heat deflectors to prevent the solenoid valves from overheating.
Electrical Connections
Laying Cable: Ensure that cables do not touch rotating and/or hot components. Do not pinch cables and check regularly for damage. Replace damaged cables immediately!
Electrically Connecting TruFlow Applicator or Flow Divider
Connect the applicator or Flow Divider cable harnesses (e.g., heater and valve control) to the respective receptacles of the electrical cabinet or the heated hose. Refer to the system plan and wiring diagram.
Installing and Connecting the Encoder
Connect the encoder to the encoder shaft on the Flow Splitter. Connect the signal line to the electrical cabinet.
Attaching and Connecting Optical Fiber Cables

- Insert the optical fiber cables in the respective openings on the Flow Splitter.
- Connect the optical fiber cables to the Flow Detection system.
- Connect the Flow Detection system to the electrical cabinet.
Refer to the separate manual TruFlow Flow Detection System for additional information.
Connecting Solenoid Valves
Depending on the specific design of the application system, the solenoid valves on the control modules are controlled either by an external power supply, e.g. control unit, or through the valve control lines of the heated hose. Secure the voltage plug with the clamp if necessary.
Pneumatic Connections
Nordson recommends using dry, controlled, and non-lubricated compressed air.
Operation with Nonlubricated Compressed Air
When a TruFlow applicator is connected to a compressed air system in which the compressed air has previously been lubricated, simply ceasing to lubricate the air is not sufficient. The oil remaining in the compressed air supply will reach the solenoid valves and the control modules and wash out the original lubricant/oil from these parts, substantially decreasing the service life of the units.
Conditioning Compressed Air
The quality of the compressed air must be at least class 2 as stipulated by ISO 8573-1. This means:
- Max. particle size 1 m
- Max. particle density 1 mg/m3
- Max. pressure dewpoint -40 °C
- Max. oil concentration 0.1 mg/m3.
Connecting Compressed Air
- Connect the customer’s air supply to the inlet of an air conditioning unit.

- Connect the control modules to the air conditioning unit.
![]()
Connecting Heated Hose
Connecting

If cold adhesive can be found in the hose connection (1, 2), these components must be heated until the adhesive softens (approx. 80 °C, 176°F).
- First, connect the hose (3) electrically to the unit.
- Heat the unit and hose until the adhesive softens (approx. 80 °C /176 °F).
- Screw the heated hose.
Disconnecting
Relieving Pressure
- Set motor speed(s) to 0 min-1 (rpm); switch off motor(s).
- Place a container under the TruFlow applicator nozzle or under the pressure relief valves/drain valves of the Flow Divider.
- Manually operate the solenoid valves of the TruFlow applicator or open the pressure relief valves/drain valves of the Flow Divider to allow adhesive to flow out. Collect the adhesive in the container.
- Properly dispose of adhesive according to local regulations.
Using the Second Open-End Wrench

Use a second open‐end wrench when connecting and disconnecting the hose. This prevents the hose connection on the unit from turning.
Operation
The equipment is operated using the control panel in the respective electrical cabinet or with a connected PC. For this reason, no further instructions can be specified here. Refer to the manual for the TruFlow application system electrical cabinet.
Setting Temperatures
The temperatures required are set on the melter.

Setting Spray Air Pressure
The spray air pressure is set to suit each application on an air conditioning unit. The air conditioning unit with a pressure control valve is not part of the TruFlow applicator. Nordson will assume no warranty or liability for damage caused by an
Incorrect pressure setting.
Setting Application
Before beginning adjustments, the distance between the application nozzle and the substrate must be set between 10 and 20 mm. The material is usually applied vertically to the substrate. Sometimes, though, the application result may be better if the material is applied at a slight angle, deviating 5° to 7° from vertical application. The optimum spray result must be determined by trial and error.
Starting Up TruFlow Flow Detection System
When a TruFlow applicator or Flow Divider with optical fiber cables is used, the corresponding Flow Detection system must be properly started up and utilized. This is the only way to monitor the motion of the TruFlow gears and thus their functioning. Refer to the separate manual for melter types VersaBlue and VersaBlu Plus, specifically the ‘Operation’ section, ‘Chapter Pattern Controller Function – Switching Booster Feature On or Off’.
Maintenance
Relieving Pressure
- Set the motor speed of the unit feeding the material to 0 min-1; switch off the motor(s).
- Place a container under the TruFlow applicator nozzle or under the pressure relief valves or drain valves of the Flow Divider.
- Manually operate the solenoid valves of the TruFlow applicator or open the pressure relief valves/drain valves of the Flow Divider to allow adhesive to flow out. Collect the adhesive in the container.
- Properly dispose of material according to local regulations.
Maintenance Table

Electrical and Pneumatic Connecting Lines
Visual Inspection for External Damage
Visual Inspection for External Damage
Checking for Leakage
Flow Splitters are equipped with a self-sealing shaft seal. Adhesive may drip out of the seal. The shaft seal must then be replaced.
Replacing Shaft Seal
- Detach the encoder.
- Unscrew the pressure piece.
- Carefully remove the seal. Do not use sharp tools! Ensure that the sealing surfaces are not damaged. The seal is no longer needed and can be disposed of.
- Clean the sealing surfaces (e.g., with a wooden or brass spatula). Do not burn out.
- Insert the shaft seal. Position it properly (arrow).
- Attach the pressure piece.
- Install the encoder.
TruFlow Applicator
External Cleaning
External cleaning prevents impurities created during production from causing the unit to malfunction.
- Electrically heat the applicator until the adhesive is liquid.
- Thoroughly remove warm adhesive with a cleaning agent and/or a soft cloth.
- Remove dust, fluffs, etc. with a vacuum cleaner or a soft, lint-free cloth.
Troubleshooting
Introduction
Troubleshooting tables are intended as an orientation for qualified personnel. They cannot, however, replace targeted troubleshooting with the aid of wiring diagrams and measuring instruments. They also do not include all possible problems, only those that most typically occur. The following problems are not included in the troubleshooting tables:
- Faults in installation
- Faults in operation
- Defective cables
- Loose plug and screw connections.
In the column Corrective action, the remark that defective parts should be replaced is generally not included.
Troubleshooting Table

Technical Data
General Data

Temperatures

Air Pressure

Electrical Data

FOR MORE MANUALS BY NORDSON, VISIT MANUALSLIBRARYY
Nordson Universal TruFlow Divider-FAQs
What is the Nordson Universal TruFlow Divider used for?
The TruFlow Divider evenly distributes hot melt adhesive or fluid material from a single source to multiple outlets, ensuring precise and consistent flow in production systems.
How do I install the TruFlow Divider?
Mount the divider securely on a flat surface using the provided brackets. Connect inlet and outlet hoses according to flow direction indicators, and verify all fittings are tight before operation.
Can the TruFlow Divider handle different adhesive viscosities?
Yes. The divider is designed to manage various viscosities, but flow accuracy depends on maintaining proper temperature, pressure, and material compatibility.
How do I clean or maintain the TruFlow Divider?
Depressurize the system, disconnect power and hoses, then flush the divider with an approved cleaning fluid. Regularly inspect seals and ports for buildup or wear.
What causes uneven adhesive distribution?
Uneven flow often results from clogged ports, air entrapment, or incorrect pressure settings. Cleaning and recalibrating the system usually restore balance.
How can I adjust the flow ratio in the TruFlow Divider?
Use the built-in adjustment screws or flow control valves (if equipped) to fine-tune flow rates between outputs, following the calibration procedure in the user manual.
Is the TruFlow Divider compatible with other Nordson systems?
Yes. It integrates seamlessly with Nordson’s hot melt hoses, guns, and control modules, supporting flexible configuration in existing production setups.
What safety precautions should I take during operation?
Always wear protective gear, avoid touching heated components, and ensure the system is fully depressurized before maintenance or disassembly.

