
Nordson VersaPail VP020 Bulk Melter-Heated
Installation Practices
- Install the equipment in accordance with the instructions provided in this document and in the documentation provided with auxiliary devices.
- Ensure that the equipment is rated for the environment in which it will be used. This equipment has not been certified for compliance with the ATEX directive or as nonincendive and should not be installed in potentially explosive environments.
- Ensure that the processing characteristics of the material will not create a hazardous environment. Refer to the Material Safety Data Sheet (MSDS) for the material.
- If the required installation configuration does not match the installation instructions, contact your Nordson representative for assistance.
- Position the equipment for safe operation. Observe the requirements for clearance between the equipment and other objects.
- Install lockable power disconnects to isolate the equipment and all independently powered auxiliary devices from their power sources.
- Properly ground all equipment. Contact your local building code enforcement agency for specific requirements.
- Ensure that fuses of the correct type and rating are installed in fused equipment.
- Contact the authority having jurisdiction to determine the requirement for installation permits or inspections.
Operating Practices
- Familiarize yourself with the location and operation of all safety devices and indicators.
- Confirm that the equipment, including all safety devices (guards, interlocks, etc.), is in good working order and that the required environmental conditions exist.
- Use the personal protective equipment (PPE) specified for each task. Refer to Equipment Safety Information or the material manufacturer’s instructions and MSDS for PPE requirements.
- Do not use equipment that is malfunctioning or shows signs of a potential malfunction.
Maintenance and Repair Practices
- Allow only personnel with appropriate training and experience to operate or service the equipment.
- Perform scheduled maintenance activities at the intervals described in this document.
- Relieve system hydraulic and pneumatic pressure before servicing the equipment.
- De-energize the equipment and all auxiliary devices before servicing the equipment.
- Use only new Nordson-authorized refurbished or replacement parts.
- Read and comply with the manufacturer’s instructions and the MSDS supplied with equipment cleaning compounds. NOTE: MSDSs for cleaning compounds that are sold by Nordson are available at www.nordson.com or by calling your Nordson representative.
- Confirm the correct operation of all safety devices before placing the equipment back into operation.
- Dispose of waste, cleaning compounds, and residual process materials according to governing regulations. Refer to the applicable MSDS or contact the authority having jurisdiction for information.
- Keep equipment safety warning labels clean. Replace worn or damaged labels.
Introduction
Intended Use
Bulk melters of the series VersaPail and VersaDrum – hereafter also referred to as bulk melter – may be used only to melt and convey suitable materials, e.g., thermoplastic hot melt adhesives. When in doubt, seek permission from Nordson. Any other use is considered to be unintended. Nordson will not be liable for personal injury and/or property damage resulting from unintended use. Intended use includes the observance of Nordson safety instructions. Nordson recommends obtaining detailed information on the materials to be used.
Unintended Use – Examples –
The bulk melters may not be used under the following conditions:
- In a defective condition
- With the electrical cabinet door open
- In a potentially explosive atmosphere
- With unsuitable operating/processing materials
- When the values stated under Technical Data are not complied with
- With damaged or unsuitable containers
Prohibited Containers
VersaPail VP020
ATTENTION: In VersaPail VP020 bulk melters, do not use any containers that are not at least 370 mm (20 l) high.
VersaDrum VD200
ATTENTION: In VersaDrum VD200 bulk melters, do not use any containers that are not at least 875 mm (200 L) high. When containers that do not meet the minimum height requirement are used, there is a risk of serious injury from being crushed between the platen and the upper edge of the container. This risk is particularly high when using 50-liter containers in VersaDrum VD200 bulk melters. Also refer to page 9-2, Suitable Containers.
Unintended Use – Examples – (contd.)
The bulk melters may not be used to process the following materials:
- Explosive and flammable materials
- Erosive and corrosive materials
- Food products
Do not use the platen:
- As a press
- To lift loads
- To heat objects
Area of Use
The bulk melter is designed for use in industrial areas. When using in industrial areas and in small businesses, the system may cause interference in other electrical units, e.g., radios.
Residual Risks
In the design of the melter, every measure was taken to protect personnel from potential danger. However, some residual risks cannot be avoided. Personnel should be aware of the following:
- Risk of burns from hot material
- Risk of burns from hot bulk melter components
- Risk of burns when conducting maintenance and repair the work for which the bulk melter must be heated up
- Risk of burns when attaching and removing heated hoses
- Material fumes can be hazardous. Avoid inhalation. If necessary, exhaust material vapors and/or provide sufficient ventilation of the location of the bulk melter (Refer to page 3-3, Exhausting Material Vapors)
- Risk of pinching parts of the body between the platen and the container. Ensure that, during operation, no one else is near the bulk melter
- The safety valve may malfunction due to hardened or charred material
ID Plate

Year of Construction
The year and month of production are indicated in the serial number on the ID plate.
Note on Manual
- The position numbers in the illustrations do not correspond to the position numbers in the technical drawings and parts lists. Refer to the separate document, Parts List, for details.
- Features that the customer may not have purchased – depending on the configuration of the bulk melter – are also described in the section Operation. In this case, they are not visible on the control panel. In some cases, the sequence of the control panel screens may differ from the description.
- Some of the illustrations in this manual may deviate from the actual equipment due to ongoing technical development or a different configuration.

Definition of Term(s)
Bulk Melter / Melter
The term Bulk melter is also used in the manual. The term Melter is used on the control panel.
Drum / Pail / Container
The term Container is used regardless of size. The term Container is used on the control panel.
Valves
Valves have different names in Nordson literature, depending on their function and use. These include:
- Safety valve and Pressure restrictor valve: Valves that limit pressure for safety reasons. The term Safety valve is usually used in conjunction with material pressure.
- Pressure control valve: A valve used to set or control pressure. Depending on the model, the pressure can be set manually, electrically, or pneumatically.
Key-to-line
Key-to-line is also referred to as Automatic mode in Nordson literature.
IPC
Abbreviation for Industrial Personal Computer, used here in the sense of system control.
ACO
Abbreviation for Automatic changeover. To prevent interruption of the material supply in an application system, two bulk melters can be combined to form an ACO system. The ACO system enables continuous operation, with at least one bulk melter always active.
Master/Slave
- Master: controlling bulk melter
- Slave: controlled bulk melter
Two bulk melters linked to form an ACO system have a master/slave relationship. In a field bus network, a single bulk melter, as well as each bulk melter in an ACO system, acts on its own as a field bus slave that is controlled by the field bus master.
Description of the Bulk Melter
VersaPail and VersaDrum differ from one another in the size of the container. VersaPail is for 20-liter containers (pails) and VersaDrum for 200-liter containers (drums).
VersaPail
- Air filter (air inlet)
- Pressure controller Motor
- Main switch
- Selector Raise/Lower Platen
- Button Two-hand control
- Control panel
- Light tower
- Hose holder
- Motor
- Pneumatic cylinder
- Platen
- Container clamp (option)

Fig. 2-2
- Switch Container detection
- Switch Platen position (3x)
- Hose receptacles (interfaces XS10, XS11)
- Assembly handgun receptacles (interfaces XS18, XS19)
- Pressure control valve the Pneumatic cylinder working pressure
- Interface Standard I/O (XS2)
- Cable duct Power supply

VersaDrum
- Air filter (air inlet)
- Main switch
- Selector Raise/Lower Platen
- Button Two-hand control
- Control panel
- Pressure controller Motor
- Light tower
- Hose holder
- Motor
- Platen
- Pneumatic cylinder
- Container clamp (in this case: high container jacket for cardboard containers, option)

Fig. 2-4
- Switch Container detection
- Switch Platen position (3x)
- Swiveling drip tray (option)
- Exhaust hood (option, accessory)
- Interface Standard I/O (XS2)
- Cable duct Power supply
- Additional hose receptacles (number according to configuration)

Platen
Fig. 2-5
- Melting plate
- Sealing ring
- Automatic aeration valve (option)
- Air relief valve Pump
- Air relief valve Container
- Pump
- Hose connection

VersaDrum
Fig. 2-6
- Sealing ring
- Melting plate
- Aeration valve
- Pump
- Air relief valve Pump
- Hose connection
- Air relief valve Container

Note: Only the lower sealing ring is on the platen with models for cardboard containers (box 16 = F).
Functioning / Concepts
Raising and Lowering Platen
The pneumatic cylinders raise and lower the platen. When lowering the platen, a two-hand control must be operated for safety reasons until the platen is in the container.
Deaerating Container
The air relief valve Container must be opened manually to allow air to escape when the platen is lowered into the container.
Aerating Container
To prevent a vacuum from forming when the platen is lifted out of the container, the container must be aerated. This is done automatically or manually, depending on the model.
Platen Position
A switch rod activates the switches (1, 2, and 3) one after the other, triggering the following switching functions:
- Switching functions when lowering:
- Switches from two-hand lowering mode to normal lowering mode when the platen sealing ring is completely submerged in the container (switch 1)
- Activates the Adhesive level low indication (switch 2)
- Activates the Container empty indication (switch 3)
- Switching functions when raising:
- Switches off automatic container aeration (switch 1)

Temperature Control
The bulk melter electronically controls the temperature of various components of the bulk melter itself (platen, pump) as well as connected components of an entire application system.
Overtemperature Shutdown
The overtemperature shutdown feature protects the bulk melter and the material from overheating. For overtemperature shutdown, the heater and motor are switched off.
Undertemperature Interlock
The undertemperature interlock prevents the bulk melter motor from being switched on as long as the material is too cold and thus too thick. This could damage the pumps.
Standby
Standby serves to protect the material and to save energy during breaks in production. The temperature setpoints are reduced by a standby value.
Heatup Guided by Reference Channel
Heatup guided by reference channel prevents individual temperature channels from reaching their setpoint long before the slowest temperature channel (pump heater or first hose = reference channel). It prevents hot melt material from charring in hoses/guns and the build-up of material expansion pressure during heat-up. It also helps to save energy.
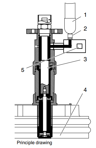
Melting Process and Material Flow
The material is melted only directly below the melting plate (4). A piston pump (3) feeds the melted material to the hose connection (2). From there, it flows through a hose (1) to an applicator or an assembly handgun.
Air Relief Valve
The air relief valve (5) is used to relieve the pump of air upon initial startup and every time the container is changed. Refer to pages 4-11, Deaerating Pump.
Controlling Material Quantity and Pressure
Pneumatic control pressure and piston pump transmission ratio (42:1) determine the material pressure. The control pressure can be set manually on a pressure controller (1).

ATTENTION: Verify that the subsequent system components are designed to accommodate the material pressure!
Motor Startup Protection
The motor startup protection prevents the motor from starting up on its own after heat-up or after a fault. The bulk melter enters startup protection only after the heatup phase ends or there is no longer a fault, and at this time, all required motor enables have been granted.
Integrating into a Production System
The bulk melter can exchange control signals with components of a production system via various interfaces:
- Interface Standard I/O (XS2): The interface provides various inputs and outputs. Refer to pages 3-7, Connecting Standard I/O Interface.
NOTE: Processing of input signals at interface Standard I/O (XS2) can be switched off. Refer to pages 4-16, Selecting Control Options.
The following features/configurations allow the bulk melter to be controlled by a higher-ranking control unit:
Field Bus Interface
NOTE: Also refer to the separate manual, Field Bus on Nordson Melters with IPC.
Box 22:
- D: Profibus-DP
- N: ControlNet
- E: EtherNet/IP
- P: Profinet I/O
NOTE: Processing of input signals at the field bus interface can be switched off. Refer to pages 4-16, Selecting Control Options.
Installation
ATTENTION: Allow only qualified personnel to perform the following tasks. Follow the safety instructions here and in the entire documentation.
Installation Personnel’s Experience
The instructions contained in this section are intended for personnel with experience/authorization in the following fields:
- Application methods with hot melt adhesive or similar materials
- Industrial electrical wiring of power and control lines
- Industrial mechanical installation
- General knowledge of process control
Transport
Refer to page 9-5, Dimensions and Weights for weight.
- Use only suitable transport devices:

Box 26:
- X: Use a lift truck or forklift. Do not lift with a crane.
- W: Fasten the eye-bolts (1) to the base plate. Lift with a crane.
- If possible, use the pallet on which the bulk melter was delivered, and fasten the bulk melter to the pallet.
- Protect from damage, moisture, and dust with suitable packing material.
- Avoid jolts and vibrations.
Storage
Do not store the bulk melter outside! Protect from humidity, dust, and extreme temperature fluctuations (formation of condensation).
Unpacking
Unpack carefully and check for damage caused during transport. Save pallets and fastening, and packing material for later use or dispose of properly according to local regulations.
Lifting (Unpacked Unit)
Refer to page 9-5, Dimensions and Weights for the weight.
Box 26:
- X: Use a lift truck or forklift. Do not lift with a crane.
- W: Fasten the eye-bolts (1) to the base plate. Lift with a crane.

Setting Up
- Set up only in an environment that corresponds to the stated Degree of Protection. Refer to page 9-1, General Data. Do not set up in a potentially explosive atmosphere!
- Protect from vibration. Remove transport protection (if present).
- Protect the control panel from direct sunlight. The UV rays reduce the serviceable life of the liquid crystals.
- Ensure that there is sufficient clearance around the system, especially above it. Refer to page 9-5, Dimensions and Weights for dimensions.
- Observe the minimum hose bending radius (Refer to the hose manual).
Exhausting Material Vapors
Ensure that material vapors do not exceed the prescribed limits. Always observe the safety data sheet (MSDS) for the material to be processed. If necessary, exhaust material vapors and/or provide sufficient ventilation of the location of the system. On bulk melters with an exhaust hood, material vapors are suctioned off directly from the container.
NOTE: The exhaust hood can be added later. Refer to pages 3-17, Exhaust Hood.
NOTE: The exhaust hood must be connected to the customer’s exhaust device. Refer to page 9-3, Exhaust Hood (Accessory).
Screwing on Light Tower (Option)
The light tower is not attached upon delivery of the bulk melter. Use the two included screws to fasten the light tower to the top of the melter tower.
NOTE: The light tower can be added later. Refer to pages 3-21, Light Tower.
Electrical Connections – General Information
ATTENTION: Risk of electrical shock. Failure to observe may result in personal injury, death, or equipment damage.
Observe when Using Residual Current Circuit Breakers
Local regulations in some industrial branches require residual current circuit breakers. Then observe the following points:
- Residual current circuit breakers are to be installed only between the power supply and the bulk melter.
- Use only inverter-compatible residual current circuit breakers.
Laying Cable
ATTENTION: Use only temperature-resistant cable in warm areas of the equipment. Ensure that cables do not touch rotating and/or hot melter components. Do not pinch cables and check regularly for damage. Replace damaged cables immediately!
CAUTION: Lay the CAN bus cable with a bending radius > 60 mm (2.4 in).
CAN Bus: Securing Plug Connections
Tighten the hexagon nut (1, if there is one) with 0.6 Nm torque. Nordson recommends the torque wrench made by Murr Elektronik, Murr article number 7000-99102-0000000.
Connecting Standard I/O Interface (XS2)
The Standard I/O interface (XS2) of the master in an ACO system controls both bulk melters.
General Notes
- To conform with a European standard regarding electromagnetic compatibility (EMC), only shielded cable may be connected. The shield must be connected to ground in compliance with the standard regarding electromagnetic compatibility.
- Inductive loads (e.g., solenoid valves) connected to the system must be equipped with a protective device (e.g., recovery diode) that disables the inductive voltage generated when an inductive load is switched off.
- The permitted voltage deviation is 10%.

Observe for Edge-controlled Signals
Example of Standby
If standby is switched on via the interface (rising edge), it can be switched off with the seven-day clock or by the operator on the control panel (Who-touched-me-last). If standby is then to be switched on again via the interface, it must first be switched off (falling edge), then on again via the interface.
Inputs Pin 4, 5, and 6
The Standard I/O interface inputs all motors ON/OFF (collective enable), and the enable motor can be disabled. Refer to pages 4-17, Enable at Standard I/O Interface (XS2).
For More Manuals By Nordson, Visit ManualsLibraryy.
Nordson VersaPail VP020 Bulk Melter-Heated-FAQs
Q1. What is the Nordson VersaPail VP020 used for?
The VersaPail VP020 is designed to melt and dispense adhesives, sealants, and other heat-sensitive bulk materials stored in pails.
Q2. How does the heated bulk melter operate?
It heats the material in the pail using a platen and temperature-controlled system, then pumps it out for application through a hose and applicator.
Q3. What size pails are compatible with the VP020?
The unit is typically designed for 20-liter (5-gallon) pails, ensuring easy material changeovers and consistent performance.
Q4. How do I start up the melter safely?
Check that the pail is properly seated, set the temperature according to the material requirements, and wait for the system to reach operating temperature before dispensing.
Q5. How do I adjust the temperature settings?
Temperature is controlled through the integrated panel. Follow the material supplier’s recommended heating range to avoid degradation or overheating.
Q6. What maintenance does the VP020 require?
Routine maintenance includes cleaning the platen, checking seals, inspecting hoses, and ensuring temperature sensors are functioning correctly.
Q7. What safety precautions should I follow during use?
Always wear protective gloves and eyewear, keep the unit away from flammable materials, and never touch heated surfaces during operation.
Q8. How do I troubleshoot if the melter is not dispensing material?
Check the pail level, verify that the heater has reached the correct temperature, and inspect hoses or nozzles for blockages. If issues persist, follow the troubleshooting guide in the manual.












