
Seville Classics 10127 UltraSlimLine Oscillating Tower Fan

Important Safety Instructions
READ & SAVE THESE INSTRUCTIONS
When using electrical appliances, basic precautions should always be followed to reduce the risk of fire, electric shock, and injury.
- Use this fan only as directed in this manual. Non-recommended use may cause fire, shock, or injury.
- This fan is intended for personal use INDOORS. It is NOT designed for commercial, industrial or outdoor use. DO NOT USE FAN OUTDOORS.
- Do NOT place a fan in or near a window, to avoid contact with the outdoor elements and to avoid exposure to direct sunlight. Rain may create an electrical hazard. Do NOT immerse the fan, plug, or cord in water or liquid. Do NOT spray with water or liquid.
- Operate the fan on a dry, level surface.
- This plug is designed to reduce the risk of shock by only fitting into a polarized outlet one way. If the plug does not fully fill in an outlet, try reversing the plug. If it still does not fit, contact a qualified electrician. Do not attempt to OVERRIDE this safety feature.
- A loose plug/outlet connection may cause overheating and distortion of the plug. Contact a qualified electrician to replace a loose or worn outlet.
- Always turn the fan off and unplug it when transporting it to another location and before cleaning.
User Servicing Instructions
- Always unplug this product before installing or replacing fuses.
- Grasp the plug and remove it from the replacement or other outlet device. Do not unplug by pulling on the cord.
- Open the fuse cover (Fig.1) by sliding open the fuse access cover on top of the plug b using your thumb or a flathead screwdriver to side the cover down towards the prongs.

- NOTE: Ensure that the fuse cover is completely open before attempting to remove the fuse. Remove the fuse carefully by using a small screwdriver to pry the fuse out of the compartment by the metal ends of the fuse (Fig.2)

- NOTE: Ensure that the fuse cover is completely open before attempting to remove the fuse. Remove the fuse carefully by using a small screwdriver to pry the fuse out of the compartment by the metal ends of the fuse (Fig.2)
- Place the plug on a solid flat surface. Insert a new 5 Amp, 125 Volt fuse into the fuse compartment and use a small screwdriver to secure the metal ends of the fuse into the compartment.
- Close the fuse cover (Fig.3) by sliding the fuse access cover on top of the plug.

- CAUTION: Risk of fire. Replace fuse only with 5 Amp, 125 Volt fuse.
- Risk of fire. Do not replace the attachment plug, Contains a safety device (fuse, AFCI, LCDI) that should not be removed. Discard the product if the attachment plug is damaged.
Parts List


STEP 1

- Turn the base upside down. Firmly lock the BASE-front B onto the BASE-back the four posts. by aligning the four holes onto the four posts
- SUGGESTION:
- When attaching the base to the bottom of the fan, place the FOAM PACKING block from the top of the box on the floor upside down. Thon, place the top of the fan into the FOAM PACKING block to secure the top of the tank from moving until attaching the bottom base. This will give you a more secure platform for assembly and
STEP 2

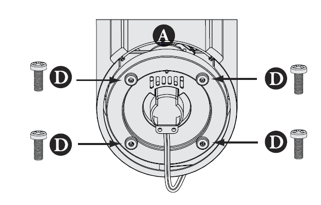
- Remove the 4 Fan-Body SCREWS ® from the center post on the bottom of the FAN-body A
Fan Assembly
STEP 3

- Pass the Power Cord through the center hole of the BASE. Align the BASE front with the FAN front and insert the four pasts on the FAN body into our holes on the top of the BASE. It will only go one way, Place the 4 Fan Body SCREWS into the holes through the bottom of the base and securely tighten.
STEP 4
- Run the power cord through the guide on the bottom of the BASE back by fucking the cord under the tabs. Set the fan upright on the base and it is ready for use.

- See further instructions on use, care, and safety
Control Panel

ON/OFF: Turns fan ON & OFF
Speed Selection: Allows four different speed settings
Timing Selection: There are 15 settings, in 1/2-hour increments. Time increases with each touch of the button. 12 hours, 1 hour, 1-12.2 hours, etc. to a maximum time setting of 7- 1/2 hours.- The LED Indicators on the control panel are marked 0.5h, 1h, 2h, 4h. The total of the In LEDs in the total time period.
Selection of Wind: Allow for increasing different wind modes:
Normal Wind:- The Normal Wind mode is simply the ECD), Lon, Medium & High fan speed settings.
Sleeping Wind:- The Sleeping Wind allows you to set a speed and that speed will gradually lower to ECO. The air flows as an evening breeze slowing to a light night breeze
- ECO Sleeping Wind
- Low Sleeping Wind
- The air Now begins at low for half an hour and then drops to ECO
- Medium Sleeping Wind
- The airflow begins at medium speed for a half hour then drops to ECO
- High Sleeping Wind
- The airflow begins at High speed for a half hour then drops to Medium speed for half an hour, then to Low for half an hour, and finally crops to ECO)
- Natural Wind
- The Natural Wind mode automatically selects wind speed randomly as you would find outdoors. The speeds are graphically described below.
- ECO Natural Wind – The wind sellings will repeat the following 80-second wind cycle with O0 being the most common

- Low Natural Wind – The wind settings will repeat the following 80 second wind cycle with Low speed being the most common.

- Medium Natural Wind – The wind settings will repeat the following 80 second wind cycle with Medium speed being the most common

- High Natural Wind – The wind settings will repeat the following 80 second wind cycle with High speed being the most common.

ULTRASlimlineTM Remote Control for Tower Fan
To use your remote, point the top end directly at the front of the fan aiming at the little window just below the control panel on the top of the fan.

Power Button -Turns fan ON & OFF
Speed Mode – Changes wind speed from Low to Medium to High to ECO
Wind Mode – Changes the wind mode from- Normal Wind to Natural Wind to Sleeping Wind. Normal Wind is indicated by no icon appearing in the upper left hand corner of the display.
Natural Wind is indicated by a blinking triangle icon appearing in the upper left hand corner of the display.
Sleeping Wind is indicated by a solid triangle icon appearing in the upper left hand corner of the remote.
Timer – Changes the time the fan is on from 0.5 hr up to a maximum of 7.5 hr, in 0.5 hr increments.
Oscillation – Turns the fan oscillation ON or OFF- Note
- This equipment has been tested and found to comply with the limits for Class B digital devices, pursuant to part 15 of the FCC Rules. These limits are designed to provide reasonable protection against harmful interference in a residential installation. This equipment generates, uses, and can radiate radio frequency energy, and if not installed and used in accordance with the instructions, may cause harmful interference to radio or television reception, which can be determined by turning the equipment off and on. The user is encouraged to try to correct the interference by one or more of the following measures:
- Reorient or relocate the receiving antenna.
- Increase the separation between the equipment and the receiver.
- Connect the equipment to an outlet on a circuit different from that to which the receiver is connected.
- Consult the dealer or experienced radio/TV technician for help
Batteries

- The remote control operates on 2 AAA batteries.
- DO NOT MIX OLD AND NEW BATTERIES
- DO NOT MIX ALKALINE, STANDARD (CARBON-ZINC) OR RECHARGEABLE (NICKEL-CADMIUM) BATTERIES.
- It is recommended that the batteries be removed should the remote not be in use for an extended time.
- Install the two “AAA” batteries as shown on the drawing
Storage & Cleaning Instructions
- 1) To clean your fan, first turn it OFF & UNPLUG it.
- 2) Use a soft cloth to wipe the housing. DO NOT use water, gasoline, polish, or any chemical solution. Do NOT soak or immerse the fan in water or liquid.
- 3) You can use a vacuum cleaner (narrow hose attachment or with a brush attachment) to clean all intake and exhaust vents. This will remove dirt and lint that may accumulate
over time. DO NOT ATTEMPT TO TAKE FAN APART. - 4) For a Super Clean, we suggest you take the fan outdoors and use a “can of compressed air”
- 5) Store in a dry place away from excessive heat and direct sunlight.
For more manuals by Seville Classics visit, ManualsLibraryy
Seville Classics 10127 UltraSlimLine Oscillating Tower Fan-FAQs
What speed settings does the Seville tower fan have?
The fan offers five speed settings: Eco, Low, Medium-Low, Medium, Medium-High, and High, along with 115-degree oscillation for optimal airflow.
How much energy does the Seville tower fan use?
This fan features an energy-efficient DC motor that consumes up to 25 watts on the highest speed setting.
Which direction should a fan rotate for cooling?
For a cooling effect, a ceiling fan should spin counterclockwise in summer, pushing air downward to create a breeze.
Can I leave my tower fan on all night?
It’s not recommended to leave a fan running overnight or unattended. Older fans may overheat, so ensure your home has working smoke alarms and consider replacing aging fans.
Do tower fans improve air conditioning efficiency?
Yes! Tower fans enhance air circulation and help distribute cool air more evenly, making them a great complement to air conditioners.
Why is my Seville Classics fan not working?
If the fan isn’t rotating, check for blockages and lack of lubrication. If no obstructions are found, lubricating the motor may help restore functionality.
What is sleep mode on a tower fan?
In sleep mode, the fan gradually reduces speed over time, eventually running at low speed for a quieter, more comfortable sleeping environment.
What’s the difference between a tower fan and a pedestal fan?
1. Tower fans are compact and designed for small to medium rooms, offering vertical airflow.
2. Pedestal fans have adjustable height and horizontal oscillation, making them ideal for larger spaces with broader coverage.








