
Smart Radiator Thermostat X Adapter Selection

Included in the package

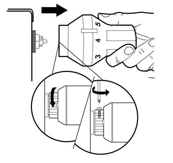
Unmount the existing thermostatic valve head

Use the adapter selection tool

- Use the adapter selection tool included in the package to find the correct adapter.
Identify the connection type

- If the valve has threads, proceed to section A. If it has clamps, proceed to section B.
Valves with threads
No adapter required


- Extend the metal nut of the Smart Radiator Thermostat X and screw it onto the valve.
M28 x 1.5


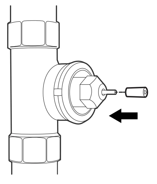
- A. Select the right pin extender for your valve.

- Push the selected pin extender into the adapter.

- C. Mount the assembled adapter so it fully covers the valve thread.

Valves with clamps
Danfoss RAVL


- Pull the adapter slightly open and close it firmly over the rim of the valve.
Danfoss RA



- A. Push the adapter as far as possible towards the radiator until there is no visible gap.

- Secure the adapter with the screw at the top.
Danfoss RAV


- A. Fit the pin extender onto the valve pin.

- B. Firmly place the adapter over the rim of the valve, then secure it with the top screw.
Caleffi


- Pull the adapter slightly open and close it firmly over the rim of the valve.
Giacomini


- A. Fit the pin extender into the front of the adapter.

- B. Push the adapter firmly onto the valve.
Need help?

- Need help?
+44 20 3893 2159
No matching adapter?
For more manuals by tado˚, visit ManualsLibraryy
Smart Radiator Thermostat X Adapter Selection-FAQs
How do I connect the Smart Radiator Thermostat X?
To connect the Smart Radiator Thermostat X, first install the correct adapter on your radiator valve. Attach the thermostat securely, insert batteries, and power it on. Then connect it to the mobile app via Wi-Fi or Bluetooth and follow the setup instructions to complete pairing.
What is a smart radiator thermostat?
A smart radiator thermostat is an advanced valve that automatically controls the heat output of a radiator. It allows you to adjust temperature remotely, create schedules, and manage each room independently using a smartphone app or voice assistant.
How do I choose the correct adapter for my radiator?
Select the adapter based on your radiator valve type (such as M30, Danfoss, or others). Check the valve size and thread compatibility. Using the correct adapter ensures a tight fit and proper communication between the thermostat and the radiator valve.
How do I know which radiator valve size I need (10mm or 15mm)?
Most homes use 15mm radiator valves, which are standard. To be sure, measure your pipe diameter or check your existing valve specifications before selecting an adapter.
What are the disadvantages of smart thermostats?
Some limitations include higher upfront cost, dependency on Wi-Fi for full functionality, and possible compatibility issues with older heating systems or uncommon valve types.
What are the advantages of using a smart radiator thermostat?
Smart thermostats improve comfort and reduce energy consumption. They allow remote control, scheduling, automation, and better temperature management, helping lower heating bills over time.
Can I install the Smart Radiator Thermostat X myself?
Yes, most users can install it themselves. Simply remove the old valve head, attach the correct adapter, and mount the thermostat. The process usually does not require professional tools or plumbing work.
What is the best temperature setting for a smart thermostat?
A comfortable and energy-efficient setting is usually around 18°C to 21°C for heating. You can adjust temperatures based on room usage, time of day, and personal comfort preferences.
What size is the Smart Radiator Thermostat X?
The Smart Radiator Thermostat X is typically compact, around 67 × 67 × 49 mm. Its small size allows easy installation without taking up much space or interfering with surrounding fixtures.





