
Trubolt 0711016 Electronic Deadbolt Keypad

INSTALLATION INSTRUCTIONS
ELECTRONIC DEADBOLT WITH KEYPAD
Do NOT use electric screwdriver, only hand tighten screws with Phillips head screwdriver. DO NOT OVER TIGHTEN SCREWS.
DRILLING HOLE IN DOOR
Please read and understand this entire manual before attempting to assemble, operate or install the product.
- MARK DOOR FOR DRILLING
Note: If your door has pre-drilled holes, skip to step 3 C- a. Start 36” from the floor. Fold and apply the template (page 17) to the high edge of the door.
- b. Mark center hole on door face through guide on template for 2-3/8” (60 mm) or 2-3/4” (70 mm) backset.

- DRILLING HOLES
- a. Drill 2-1/8” hole through door face as marked for lock set.
- b. Drill a 1” hole in the center of the door edge for the latch.

- MARKING THE JAMB HOLE LOCATION
- a. Insert latch in hole, keeping it parallel to the face of the door. Mark the outline and remove the latch.
- b. Chisel 1/8” deep or until latch face is flush with door edge.
- c. Insert latch and tighten screws.

- INSTALL DEADBOLT STRIKE PLATE
- a. Mark template from edge of jamb and locate strike opening.
- b. Drill 1” hole 1 3/16” deep in door jamb on center line of screws.
- c. Outline outside edges of strike. Chisel 1/6” deep for strike or until flush.
- d. Install strike and tighten screws (A).

INSTALLATION OVERVIEW

GETTING STARTED
For troubleshooting tips and “how-to videos,” visit www.truboltlocks.info
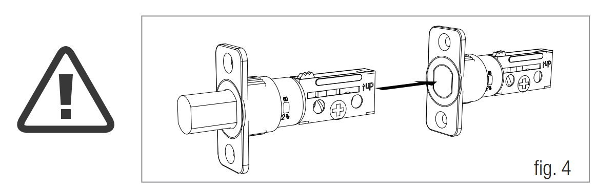
- ADJUSTING THE DEADBOLT LATCH BACKSET (Deadbolt is shipped with the backset set at 2-3/8”)
- Measure the backset (Backset is the Distance between the edge of the door and the center of the Lock)
To convert from 2-3/8” (60mm) backset to 2-3/4” (70 mm) backset- a. Hold latch with numbers facing forward and thumb pressing on the bolt
- b. Rotate the cylinder cover Clockwise
- c. Pull and twist the extension plate out
- d. Rotate the cylinder cover counterclockwise so that the marking aligns with the 2-3/4” position indicator
NOTE: Do not extend Cylindrical Cover past 2-3/4”
- Measure the backset (Backset is the Distance between the edge of the door and the center of the Lock)
- TO CONVERT FROM 2-3/4” (70 MM) BACKSET TO 2-3/8” (60MM) BACKSET
- a. Hold latch with numbers facing forward and thumb pressing on the bolt
- b. Rotate the cylinder cover Clockwise
- c. Push and twist the extension plate in
- d. Rotate the cylinder cover counterclockwise so that the marking aligns with the 2-3/8” position indicator

- INSTALLING THE DEADBOLT LATCH (need Phillips head screwdriver)
- a. Insert Deadbolt Latch into door edge hole with the word UP and the arrow on the extension plate facing UP. Cross shaped spindle connector will be at the bottom of the Deadbolt Latch.
- b. Make sure the face plate sits flush with the door. Do not force the latch into the mortise flush. Chisel out excess material if necessary for a flush fit.
- c. Using two screws (A) provided, screw the latch into the door with a hand held screwdriver. DO NOT OVER-TIGHTEN.

- Deadbolt Latch must be retracted when installing

- IDENTIFYING YOUR DOOR HANDING
Stand outside the door- a. If the hinges are on the left, your door is Left Handed
- b. If the hinges are on the right, your door is right-handed

- INSTALLING THE EXTERIOR ASSEMBLY
Work with the Door Open for easy access- a. Unpack the Exterior Assembly. Use care not to scratch the green circuit board during handling and installation.
- b. Check that the rubber gasket is properly seated on the Exterior Assembly. ( see figure 6 )
- c. Insert the Exterior Assembly onto the door with the tailpiece going through the Deadbolt Latch cross-shaped spindle connector in the VERTICAL POSITION. Route the Control Wire through the door below
the Deadbolt Latch. (see figure 6)
NOTE: TAILPIECE MUST BE POSITIONED VERTICALLY
NOTE: Unpack the Interior Assembly. Remove the battery cover by sliding it upward. Locate the one screw holding the Mounting Plate to the Interior Assembly. Remove the screw to release the Mounting Plate from the Interior Assembly.
- SECURING THE EXTERIOR ASSEMBLY TO THE DOOR
- a. From the side marked “This side against the door”, route the Control Wire through the rectangular slot in the Mounting Plate
- b. Place Mounting Plate against the door with the tailpiece passing through the center hole in the three-hole set
- c. Secure the Mounting Plate to the Exterior Assembly using Screw B (2 ea)
- d. Hand tighten with a screwdriver, leaving loosely connected
- e. Check that the Rubber Gasket is properly aligned and correct as necessary.
- f. Check the vertical alignment of the lock
- g. Tighten with a handheld screwdriver. DO NOT OVER-TIGHTEN

- OPTIONAL INSTALLATION
- a. Using a 1/16” drill bit, drill a pilot hole in your door using the Mounting Plate upper hole as a guide (see Figure 8a)
- b. Insert Screw A and tighten
NOTE: LOCK AND UNLOCK USING THE KEY TO SEE IF THE DEADBOLT LATCH IS OPENING AND CLOSING EASILY.
- INSTALLING THE INTERIOR ASSEMBLY
- a. Set the Entry Switch for Left or right-handed door
- Gently move the switch to “L” for Left-Handed Door
- Gently move the Switch to “R” for a right-handed door

- a. Set the Entry Switch for Left or right-handed door
- SET THE INTERIOR KNOB POSITION FOR LEFT OR RIGHT HANDED DOORS
- a. The knob goes in the VERTICAL position for Right Handed Doors
- b. The knob goes in the HORIZONTAL position for Left Handed Doors

- ATTACH THE CONTROL WIRE TO THE INTERIOR ASSEMBLY
- a. Use care to attach the Control Wire to the interior Wire Connector.
- b. Do not force Plug onto Wire Connector.
- c. The Plug has two alignment tabs on the smooth side of the Wire Connector.
- d. The Plug is inserted with the smooth side facing left into the Wire Connector and pressed into place.

- Position the Interior Assembly over the tailpiece and push the Interior Assembly against the door
- Using Screw C (2 ea) and Screw D (1 ea), attach the Interior Assembly to the Mounting
DO NOT OVER TIGHTEN SCREWS
- Insert 4 AA high-quality Alkaline batteries into the Battery Compartment in the direction noted +/- on the Compartment. The Lock will beep 2 times, the Keypad will illuminate blue, and the Tru-Bolt button will flash green twice to signify that it has received power.
NOTE: DO NOT touch the keypad until the blue light turns off. DO NOT use rechargeable batteries or non-alkaline batteries. - Slide the Battery Cover down into the track on the Interior Assembly to cover the batteries

- With the Door Open
- a. Test the Lock using the interior turn piece, bolt should move smoothly
- b. Test the lock using the Keypad, to lock press
and then press “1234”
to unlock.
Trouble Shooting
| Issue | Solution |
| Latch Working Backwards – Lock unlocks when lock button is pushed or locks when unlock button or code is pushed. | The direction of the entry switch is set to an incorrect setting. Remove the interior assembly and move the entry switch to the opposite direction • Check that your entry switch is set in the correct position, left or right-handed door If Correct • Rotate Turn knob and reinstall interior assembly retest again while holding interior assembly in place |
| Interior knob will not turn. | Knob or vertical tailpiece is installed in incorrect position. Remove interior assembly and reposition the Interior Knob. With the Deadbolt retracted, verify that the tailpiece is vertical. |
| The lock will not function electronically. | • Check that all batteries are fresh high high-quality Alkaline Batteries • Check for proper polarity (+ -) of all batteries • Check that the Control Wire is attached to the Interior Assembly |
| Lock gives an error signal when opening or locking, and the deadbolt will not extend or retract completely when the door is closed. | Unlock door using key or interior knob. While the door is open, check that the deadbolt latch operates smoothly. Check for proper alignment of the strike plate, adjust as needed to assure there is no binding against the deadbolt latch. |
| The latch is sticking. | Installation screws of the lock may be too tight and have to be loosened • Remove Interior Assembly • Slightly loosen the Mounting Plate Screws • Lock and unlock using the Key • Reattach Control Wire and Interior Assembly |
| The lock freezes, and the keypad does not react. | Manually turn the Thumbturn Knob, lock and unlock twice, this should reset the lock. |
Go to the Programming Directions to set your code and make your lock secure.
PROGRAMMING AND OPERATING INSTRUCTIONS

Batteries (not included)
Electronic lock requires (4) High Quality AA Alkaline batteries. When all 4 batteries are installed in the correct position, hear 2 beeps and the keypad will illuminate blue. DO NOT TOUCH the keypad until the keypad light goes off.
Symbol Key
Lock / Clear
Unlock / Enter
Programing Code
User Code (4-8 digits)
User ID (01-50, 2 digits)
Locking and Unlocking
- TO UNLOCK THE LOCK
Using Keypad: Enter a valid User Code (default code is 1234) and press
and hear 1 beep, and the lights will turn green. - TO LOCK THE LOCK
Using Keypad: Press
and then hear 2 beeps, and the lights turn red.
Basic Functions
- DELETE ALL USER CODES (Make sure latch is extended)
IMPORTANT: This will delete the user codes but not the programming code. Enter the following:
Hear 1 beep, and the Light Indicator illuminates green - TO ADD A NEW USER CODE (you can add up to 50 new user codes)
The User Code must be a 4-8 digit combination. Each User Code is then linked to a User ID (which is any number between 01-50) to identify an individual User Code. (User ID 1-9 should be entered as 01-09 so they are 2 digits)
For example, to add the User ID – 08 to User Code – 5678, enter the following:
Hear 1 beep and the Light Indicator illuminates green
NOTE: When a NEW USER CODE is set, the default factory code (1234) is deleted for safety. - DELETE ONE EXISTING OR PRESET USER CODE (Make sure latch is extended)
The unit comes with a factory User ID = 01 for User Code = 1234.
IMPORTANT: To delete 1 User Code, the lock must have more than 1 User Code in its database.
Hear 1 beep, and the Light Indicator illuminates green
Advanced Functions
- CHANGE CURRENT OR PRESET PROGRAMMING CODE
Factory default Programming Code = 123456, this is the master password for your lock. All programming functions require this code. Follow the sequence below to change the Programming Code to your custom 6 digit combination.
Hear 1 beep, and the Light Indicator illuminates green - SET OR CANCEL AUTO LOCK
You can set the lock to automatically close after each time the lock is opened. Time value range = 20 – 900 seconds, enter the following:
Hear 1 beep and Light Indicator illuminates green
To cancel Auto Lock, set the time to 00, enter the following:
Hear 1 beep and the Light Indicator illuminates green - TEMPORARILY DISABLE AUTO LOCK
- Disable: While in Auto-Lock mode, unlock door using, within 10 seconds you must turn the locking knob by hand to the locked position, wait more than 2 seconds then turn the locking knob back to the unlock position. The Auto-Lock mode is now disabled.
- Restore: To restore the Auto-Lock function, you can turn the locking knob by hand to the locked position, wait more than 2 seconds or press the
Lock button on the keypad.
- TURN ON AND OFF SOUND
You can “mute” or turn the “sound on” on your lock by entering the following. (Factory setting is sound on)
- Sound Off (1) – Light Indicator illuminates green
- Sound On (2) – Hear 1 beep, and the Light Indicator illuminates green
- CREATE A TEMPORARY CODE
Temporary access for house sitter, contractor, cleaning company, etc. Use one of the 50 available User Codes and give it out for temporary access, and delete it when it is no longer required. See steps 3 and 4 on page 13. - RESTORE TO FACTORY SETTINGS (Make sure latch is retracted – unlocked)
To reset the lock to the original factory settings, including the Programming Code and all User Codes, remove one battery for 10 seconds. Reinsert the battery, hear a long and short beep, then immediately press
3 times within 3 seconds. The lock will beep, and the light indicator will turn green. - VACATION MODE
With Vacation Mode enabled, the system enters into low-power consumption mode. During this mode, all buttons and functions, including the remote control, will be invalid until they are re-enabled (see steps below).
Hear 1 beep and the Light Indicator illuminates green, then lock the door
Disable: To disable the Vacation Mode, you must press and hold for more than 3 seconds, then input to unlock the door. Vacation Mode is now disabled.
NOTE: If you only press the button for more than 3 seconds but do not input, the system will remain in Vacation Mode.
Audio and Visual Message Guide
| Unlock / Valid programming: | 1 long beep and the LED illuminates green |
| Lock: | 2 short beeps and the LED illuminates red |
| Invalid Programming: | 2 short beeps and LED flashes red twice |
| Low Voltage: | Beeps for 5 seconds (7/9 times, depending on operation is unlock/lock) |
| Super Low Voltage: | 4 short beeps and LED flashes red four times |
| 4 Incorrect code entry attempts: | 2 short beeps and the LED illuminates red each attempt |
| Power on: | 1 long beep and 1 short beep, and the LED illuminates green |
| Chip Reset: | 1 long beep and 1 short beep, and the LED illuminates green (may occur several times or once in a while) |
| Lock Error: | 3 long beeps, LED flashes red three times |
| Repeat operation after Lock Error: | 2 short beeps three times, LED flashes red six times |
Attention:
When the battery is under low voltage, the lock will give the (Low Battery Warning: Beeps and LED flashes red for 5 seconds). During this time, your lock can still work. However, once the voltage is lower than 4.3V (called Super-Low Voltage), the operation of the locking and unlocking will not work; a user must replace the batteries immediately.
Limited 1-Year Electronic Warranty
Limited Lifetime Mechanical and Finish Warranty
This Tru-Bolt® product comes with a 1-Year Limited Warranty on Electronic Parts and a Limited Lifetime Mechanical and Finish Warranty against defects in materials and workmanship under normal use to the original residential user. Simply bring this product with the original sales receipt back to your nearest MENARDS® retail store. At its discretion, Tru-Bolt® agrees to have the product or any defective part[s] repaired or replaced with the same or similar Tru-Bolt® product or part[s] free of charge. This warranty is nontransferable, and applies to the original purchaser only, as long as the original purchaser occupies the residential premises upon which the product[s] were originally installed. Proof of purchase and ownership is required for the warranty to be in effect. Requests for credit for defective items must be made to any Menards® retail store. This warranty DOES NOT COVER removal and reinstallation of product[s], scratches, abrasions, deterioration due to the use of paints, solvents or other chemicals, abuse, misuse, or product[s] used in commercial applications, does not cover any losses, injuries to persons/property or costs, and shipping and freight expenses required to return product[s] to nearest Menards® retail store. In no event shall Tru-Bolt® be liable for any special, incidental or consequential damages. Customers will receive instructions as to the disposition of the defective item[s]. Menards® reserves the rights, which may vary from state to state. If this product[s] is considered a consumer product, please be advised that some local and state laws do not allow limitations on incidental or consequential damages or how long an implied warranty lasts, so that the above limitations may not fully apply. Refer to your local laws for your specific rights under this warranty.
Package Warranty:
Limited Lifetime Mechanical & Finish Warranty:
This Tru-Bolt® product[s] comes with a 1-Year Limited Warranty on Electronic Parts and a Limited Lifetime Mechanical and Finish Warranty against defects in materials and workmanship under normal use to the original residential user. Simply bring this product[s] with the original sales receipt back to your nearest MENARDS® retail store and we’ll replace it with the same or a similar Tru-Bolt® product or part. See installation instructions for full terms and conditions.
For more manuals by Trubolt, visit ManualsLibraryy
Trubolt 0711016 Electronic Deadbolt Keypad-FAQs
How secure are electronic keypad deadbolts?
Keypad deadbolts offer strong security features such as two-factor authentication, personalized entry codes, and even biometric access. Many models also provide alerts if someone tries to tamper with the lock.
How does keyless entry work?
Keyless entry systems use a short-range radio transmitter inside a remote. When the remote is within 5–20 meters of the lock and a button is pressed, it sends a signal that unlocks or locks the door electronically.
Why is my electronic keypad not working?
The most common issue is a dead battery. Most keypads operate on 9V or 12V batteries. Try replacing the battery to restore functionality.
How do I program a car key for keyless entry?
Insert the key into the ignition, turn it to the “On” position (without starting the engine), and leave it for about 10 minutes. Turn it off and repeat two more times. On the final cycle, the key should be programmed.
What’s a quick way to unlock a stuck deadbolt?
Spraying WD-40 into the keyhole can help loosen internal components. Let it sit for a few minutes, then try turning the key again.
Are keypad deadbolts effective against burglars?
Yes. Keyless locks increase security by allowing unique or temporary access codes and often include features like tamper alerts, making unauthorized access more difficult.
What is an automatic deadbolt?
An automatic deadbolt engages itself when the door closes, working alongside a nightlatch to provide double-locking security without manual intervention.
What are the benefits of a deadbolt lock?
Deadbolts provide superior protection against forced entry, making them ideal for exterior doors. They’re more secure than spring bolt or latch-based locks.










NOTE: Unpack the Interior Assembly. Remove the battery cover by sliding it upward. Locate the one screw holding the Mounting Plate to the Interior Assembly. Remove the screw to release the Mounting Plate from the Interior Assembly.
NOTE: LOCK AND UNLOCK USING THE KEY TO SEE IF THE DEADBOLT LATCH IS OPENING AND CLOSING EASILY.



