
Vevor TYGJ0062 Hitch Mount Cargo Carrier

Safety & Warning
- Read and understand this entire manual before assembling, installing, operating, or servicing this product. Failure to follow these warnings and instructions can cause death, personal injury, or damage to valuable property.
- Adhere to all Department of Transportation (D.O.T.) requirements when using this product. Use ropes and tie downs (not included) to securely hold all cargo in place.
- For the vehicle that will support the Cargo Carrier, read all pertinent vehicle instructions and warnings provided in the manual. Make sure the vehicle’s engine is OFF, with the parking brake set, before loading or unloading the Cargo Carrier.
- This Cargo Carrier must be attached to a 2’’x2’’ Class III or Class IV hitch receiver. The hitch must be properly installed by a qualified service technician and be certified to support the weight of this Cargo Carrier and its contents (500 Lbs. capacity).
- Use as intended only. Do not modify the Carrier and do not use this product for purposes other than it was designed.
- Do not overload the Cargo Carrier. Never exceed the maximum weight capacity of 500 Lbs.
- When assembly is complete, check and test all vehicle systems, including lights and brakes; make sure no damage occurred during product installation.
- Frequently check the condition of the Cargo Carrier and the vehicle’s hitch receiver. Make sure all components are in good condition. If the Cargo Carrier or hitch receiver becomes damaged through accident, or if any weld damage is noted, the product should be replaced. Check to make sure that all hardware is tightly secured in place. Keep the Cargo Carrier clean.
- Use common sense when working. Stay alert and concentrate when setting up and using the Cargo Carrier.
- Never work while under the influence of alcohol, drugs, or medications.
- While assembling and using the Cargo Carrier, keep the workspace clean and well-lit. Keep spectators and children out of the work area.
- Dress appropriately. Never wear loose-fitting clothing or jewelry when working. Contain long hair, and keep hair, clothing, and gloves away from moving parts.
- Be aware of the danger of dynamic loading. This situation arises when a load is dropped onto the Carrier, resulting in a short-term excessive load. Dynamic loading can result in damage and failure of the Carrier and/or hitch receiver, and personal injury to the person loading the Carrier.
- Never load people or animals into the Cargo Carrier. Keep children and spectators well clear when loading and using this product.
- Weight inside the Cargo Carrier should be evenly distributed, with heavier items positioned towards the center of the Carrier.
- Note the position of the vehicle’s exhaust pipes before setting up the Cargo Carrier. Make sure exhaust pipes are not in the Cargo Carrier; flammable goods in the Cargo Carrier could catch on fire due to heat from the exhaust. If this risk exists on your vehicle, do not use the Cargo Carrier.
- Do not ride in a vehicle being loaded or unloaded. Load and unload the vehicle slowly, according to manual instructions.
- Do not use if the carrier is higher than 12.5″ from the bottom of the ramp.
- Do not exceed 55 MPH while the carrier is attached.
- Remove the ramp and secure the load before moving.
- This product is not a toy. Do not allow children to play with or near this item.
- Wear ANSI-approved safety goggles and heavy-duty work gloves during use. Prior to transporting a load, make sure the ramp of the carrier is in its upright position and locked in place with the Pins and Lock Pins.
- Both feet of the Carrier’s Ramp must rest flat on a solid, level, and flat surface when loading and unloading an object.
- Maintain product labels and nameplates. These carry important safety information. If unreadable or missing, please contact the customer service team for help.
- Store the Carrier out of reach of children and do not allow people unfamiliar with the Carrier or these instructions to use the Carrier. Use of a carrier by untrained people may not be safe.
- Maintain the Carrier. Check for misalignment or binding of moving parts, breakage of parts, and any other condition that may affect the Carrier’s operation. If damaged, have the Carrier repaired before use. Many accidents are caused by poorly maintained equipment.
Specifications

Package Contents




Installation Guide:
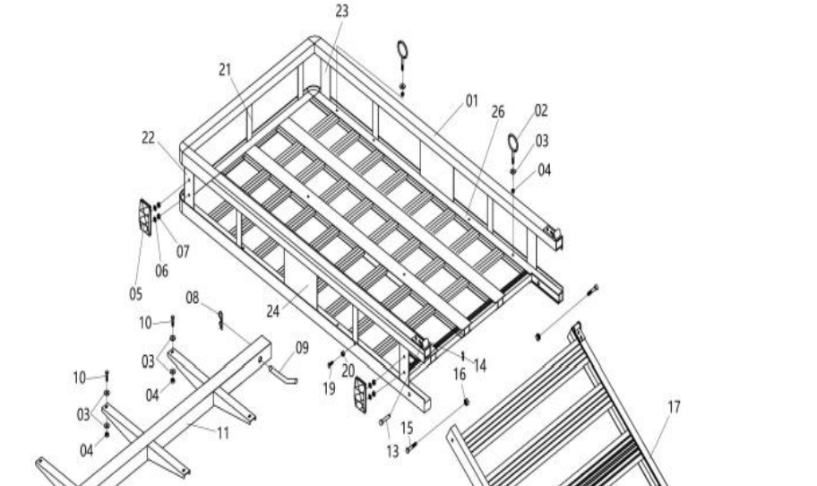
- Set the main frame (26) on a flat, secure work area able to support the weight of the Carrier.
- Use bolts (19) and Nuts (20) to connect all supports (21, 22, 23, 24) to the main frame (26). Note: Do not over-tighten bolts and make sure supports with reflector (5) are on the same side.
- Use the small bolts (19) and nuts (20) to connect the U-brace (1) to the top of the supports. Note: Make sure the ends of the U-brace face the open side.
- Tighten all bolts and nuts until the carrier bed frame is secure.
- With assistance, flip over the Carrier Bed frame and use bolts (10), washers (3), and nuts (4) to fasten the hitch bar (11) to the carrier bed’s underside. Note: Make sure the hitch bar extension is OPPOSITE the side of the bed with the reflectors. Make sure all bolts are tightened securely.
- Use the washers (3) and nuts (4) to attach a Tie-Down Hook (2) to each corner of the carrier bed. Note: Make sure all bolts are tightened securely.
- Use bolts (15) and lock nuts (16) to attach the ramp (17) to the open side of the carrier bed. Note: Do not over-tighten connections. There should be enough give to allow the ramp to pivot freely.
- Swing the ramp up, and use the lock pins (13) and R-Pins (14) to lock the ramp in the upright position.
- With assistance, lift the carrier up and insert the hitch bar into the receiver hitch. Align the hole in the hitch bar with the hole in the receiver hitch.
- Insert the hitch pin (9) through the holes in both hitches and fasten in place using the hitch lock pin (8).
Support and E-Warranty Certificate
www.vevor.com/support
For More Manuals By Vevor, Visit ManualsLibraryy.
Vevor TYGJ0062 Hitch Mount Cargo Carrier-FAQs
Q1. What is a hitch mount cargo carrier used for?
It provides extra storage space on road trips, camping, or outdoor adventures by securely carrying gear outside the vehicle.
Q2. What kind of hitch do I need for this carrier?
The Vevor TYGJ0062 requires a standard 2-inch receiver hitch, which is the most common type used for cargo carriers.
Q3. How much weight can the Vevor TYGJ0062 carry?
This model supports up to 500 lbs of distributed weight, making it suitable for heavy luggage, camping equipment, and tools.
Q4. Are hitch-mounted cargo carriers safe?
Yes, when properly installed, they are safe and stable. They keep cargo low, improving balance compared to roof boxes.
Q5. Can I still open my trunk with the carrier installed?
This depends on your vehicle design. Some vehicles allow trunk access, while others may need the carrier removed.
Q6. What are the benefits of using this hitch cargo carrier?
It expands storage space, keeps gear secure, prevents overloading inside the vehicle, and is easier to load than rooftop carriers.
Q7. How do I maintain the carrier?
Clean it with mild soap and water after trips, check for rust, and apply lubricant to bolts and hitch pins as needed.
Q8. How does the Vevor TYGJ0062 attach to the vehicle?
It slides into the hitch receiver and is secured with a hitch pin or lock to prevent movement or theft.
