
VIZIO M-Series M215a-J6 Sound Bar

IMPORTANT SAFETY INSTRUCTIONS
Your Unit is designed and manufactured to operate within defined design limits, and misuse may result in electric shock or fire. To prevent your Unit from being damaged, the following rules should be observed for its installation, use, and maintenance. Please read the following safety instructions before operating your Unit. Keep these instructions in a safe place for future reference.
- Heed all warnings.
- Follow all instructions.
- Do not use this Unit near water.
- Clean only with a dry cloth.
- Do not block any ventilation openings. Install in accordance with the manufacturer’s instructions.
- Do not install near any heat sources such as radiators, heat registers, stoves, or other units (including amplifiers) that produce heat.
- Do not defeat the safety purpose of the polarized or grounding-type plug. A polarized plug has two blades with one wider than the other. A grounding type plug has two blades and a third grounding prong. The wide blade or the third prong are provided for your safety. If the provided plug does not fit into your outlet, consult an electrician for replacement of the obsolete outlet.
- Protect the power cord from being walked on or pinched, particularly at the ends where the plug is located, near convenience receptacles, or where they exit from the Unit.
- Only use attachments/accessories specified by the manufacturer
- Use only with the stand, tripod, or bracket specified by the manufacturer, or sold with the Unit. When a cart is used, use caution when moving the cart/Unit combination to avoid injury from tip-over.
- Unplug this Unit during lightning storms or when unused for long periods of time.
- Refer all servicing to qualified service personnel. Servicing is required when the Unit has been damaged in any way, such as when the power supply cord or plug is damaged, liquid has been spilled or objects have fallen into the Unit, the Unit has been exposed to rain or moisture, does not operate normally, or has been dropped.
- To reduce the risk of electric shock or component damage, switch off the power before connecting other components to your Unit.
- Unplug the power cord before cleaning your Unit. A damp cloth is sufficient for cleaning. Do not use a liquid or a spray cleaner on your Unit. Do not use abrasive cleaners.
- Always use the accessories recommended by the manufacturer to ensure compatibility.
- When moving your Unit from an area of low temperature to an area of high temperature, condensation may form in the housing. Wait before turning on your Unit to avoid causing fire, electric shock, or component damage.
- Slots and openings in the back and bottom of the Unit are provided for ventilation. To ensure reliable operation of your Unit and to protect it from overheating, be sure these openings are not blocked or covered. Do not place your Unit in a bookcase or cabinet unless proper ventilation is provided.
- Never push any object into the slots and openings on your Unit. Do not place any objects on the top of your Unit. Doing so could short-circuit parts, causing a fire or electric shock. Never spill liquids on your Unit.
- Do not block the subwoofer ports. Allow for 1-2 inches of space around all sides for ventilation.
- WARNING: Exposure to loud sounds can damage your hearing, causing hearing loss and tinnitus (ringing or buzzing in the ears). With continued exposure to loud noises, ears may become accustomed to the sound level, which may result in permanent damage to hearing without any noticeable discomfort.
- When connected to a power outlet, power is always flowing into your Unit. To totally disconnect power, unplug the power cord.
- Do not overload power strips and extension cords. Overloading can result in fire or electric shock.
- The wall socket should be located near your Unit and be easily accessible.
- Keep your Unit away from moisture. Do not expose your Unit to rain or moisture. If water penetrates into your Unit, unplug the power cord and contact your dealer. Continuous use in this case may result in fire or electric shock.
- Do not use your Unit if any abnormality occurs. If any smoke or odor becomes apparent, unplug the power cord and contact your dealer immediately. Do not try to repair your Unit yourself.
- Avoid using dropped or damaged appliances. If your Unit is dropped and the housing is damaged, the internal components may function abnormally. Unplug the power cord immediately and contact your dealer for repair. Continued use of your Unit may cause fire or electric shock.
- Do not install your Unit in an area with heavy dust or high humidity. Operating your Unit in environments with heavy dust or high humidity may cause fire or electric shock.
- Ensure that the power cord and any other cables are unplugged before moving your Unit.
- When unplugging your Unit, hold the power plug, not the cord. Pulling on the power cord may damage the wires inside the cord and cause a fire or electric shock. When your Unit will not be used for an extended period of time, unplug the power cord.
- To reduce the risk of electric shock, do not touch the connector with wet hands.
- Insert the remote control batteries in accordance with instructions. Incorrect polarity may cause the battery to leak, which can damage the remote control or injure the operator.
- Read and follow all warnings printed on the Unit.
- WARNING: This equipment is not waterproof. To prevent a fire or shock hazard, do not place any container filled with liquid near the equipment (such as a vase or flower pot) or expose it to dripping, splashing, rain, or moisture.
- CAUTION: Danger of explosion or fire if batteries are mistreated. Replace only with the same or specified type.
- Do not leave the batteries exposed to direct sunlight for a long period of time with doors and windows closed. Do not disassemble the batteries or dispose of them in fire.
- If the main wall plug or the appliance coupler is disconnected, the disconnected device will remain readily operable upon reconnection to an appropriate power source.
- No open flames, such as lighted candles, should be placed on the Unit.
- The ventilation should not be impeded by covering the ventilation openings with items such as newspapers, tablecloths, curtains, etc.
- The equipment shall be used at a maximum 35 degree C ambient temperature.
WARNING: To reduce the risk of fire or electric shock, do not expose this Unit to rain or moisture.
Package Contents

Controls & Connections

*Only use this port to connect a Voice Assistant device. See Connecting to a Voice Assistant on page 21 for more information.


Back of Subwoofer

First-time Setup
- Choose the best possible connection cable type and connect it to your TV.* (Not all cables are included.)
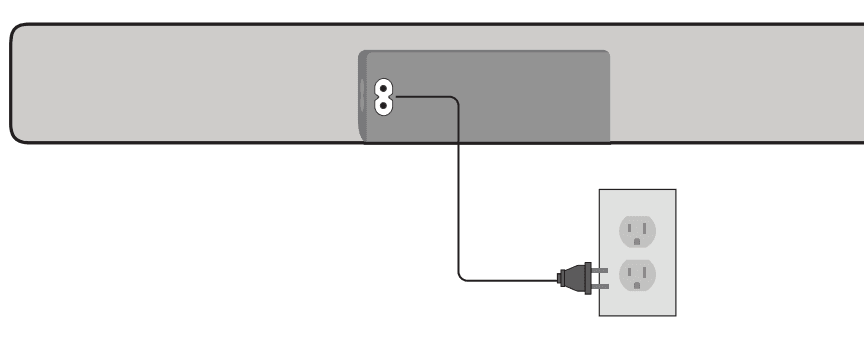
*Not all TVs have the audio outputs shown. To connect the sound bar directly to your other devices (Blu-ray player, game system, etc.), see your device’s user manual. - Connect the power cable to the sound bar AC IN as shown. Plug the power cable into an electrical outlet.


- Connect the power cable to the subwoofer.

- Plug the power cable into a power outlet.

- The subwoofer should automatically power on and link to the sound bar when plugged in. The LED will glow to solid to confirm.

- Remove the battery cover by gently sliding it away from the remote.

- Insert the included batteries and gently slide the battery cover back into place.

- After turning on both your TV and sound bar, it will automatically begin searching for an active input.* The LED indicator on the front of the sound bar will begin cycling in different colors through inputs until an audio source is detected.** You can press the INPUT button to switch between audio sources. For example, if you connected your TV to HDMI (ARC), set the sound bar to HDMI eARC.
- *Occurs only during first-time setup.
- **Auto detect function only occurs once when the sound bar is first powered on. To enable this feature again, you must do a Factory Reset (see the Using Button Combinations on page 17 for more information) or press and hold the INPUT button for 3 seconds.

Using the Remote

Proper Placement
For the best surround sound experience, position the sound bar and subwoofer as shown. The sound bar should be close to ear level.
Mode & Level Settings
Press each setting button and use the Up/Down buttons to access the different settings. Each setting will be displayed on the remote control’s LCD display. The LED indicators will behave differently with each function.
| Function | LED Behavior | Description | ||||
| Equalizer Mode EQ | Movie
Music
Direct | Game | Press the EQ button and use the Up/Down buttons to toggle between preset equalizer settings: Movie, Music, Direct, and Game. Note: Movie mode is on by default. | |||
| Bass Level Bass | Two center LEDs indicate bass level 0. | LEVEL > Bass > Use the Next/Previous buttons to increase/decrease the bass level. The LED indicators will move to the top with increasing level and to the bottom with decreasing level. | ||||
| Treble Level Treble | Two center LEDs indicate treble level 0 | LEVEL > Treble > Use the Next/Previous buttons to increase/decrease the treble level. The LED indicators will move to the top with increasing level and to the bottom with decreasing level. | ||||
| Dialogue Level Dialogue | LED at the bottom indicates dialogue level 0. | LEVEL > Dialogue > Use the Next/Previous buttons to increase/decrease the dialogue level. The LED indicators will move to the top with increasing level and to the bottom with decreasing level. | ||||
| Subwoofer Level Sub Lvl | Two center LEDs indicate the subwoofer level is 0. | LEVEL > Sub Lvl > Use the Next/Previous buttons to increase/decrease the level of the subwoofer. The LED indicators will move to the top with increasing level and to the bottom with decreasing level. Note: Decreasing the level to the minimum turns off the subwoofer. |
| Function | LED Behavior | Description | ||||||||||
| Info | — | SETUP > Info > OK to have the sound bar verbally announce the current sound bar input and audio type being played with corresponding LED indicators. | ||||||||||
| Info | ||||||||||||
| Auto VA | Both | BT | AUX | Off | SETUP > Auto VA > Use the Next/Previous buttons to toggle between connecting the sound bar to a Voice Assistant through both, Bluetooth (BT), AUX or off. Refer to Connecting to a Voice Assistant on page 21 for more information. Note: Default setting is AUX. | |||||||
| Auto VA | ||||||||||||
| Eco Power Mode | ←Eco Power Mode On | SETUP > EcoPwr > Use the Next/Previous buttons to enable/disable Eco Power Mode. When ON, the sound bar will go into standby after a period of inactivity. The sound bar will automatically turn off when no audio signal is detected. Off disables this feature. Note: Default setting is Off | ||||||||||
| Eco Pwr | Eco Power Mode Off→ | |||||||||||
|
Input Search |
The LED indicator color will change per specific input. | SETUP > Input Search > OK to initiate an automatic input detection sequence. This is the same as a long key press of the INPUT button on the remote. Specific inputs will show a different LED color: | ||||||||||
| Input Srch | • AUX In: Green • AUX VA: Violet • Digital Optical: Red | • HDMI In: Yellow • HDMI (eARC): Magenta | ||||||||||
| Program Remote Learn | Waiting to learn: Flash from bottom to top and back continuously. | SETUP > PrgRemote > Use the Next/Previous buttons and OK button to toggle and select and program your TV remote to control the Volume Down, Volume Up, and Mute functions on your sound bar. See the Programing the Sound Bar on page 18 section for more information. | ||||||||||
| Prg Remote | ||||||||||||
| Power LED | ←Power LED On |
| SETUP > PwrLED > Use the Next/Previous buttons and OK button to enable/disable the Power LED. Voice notifications will also be enabled/disabled. | |||||||||
| PwrLED | Power LED On→ | |||||||||||
| Function | LED Behavior | Description | |||
| AV Delay | LED at the bottom indicates no delay. | SETUP > AV Delay > Use the Next/Previous buttons to increase/decrease the amount of audio delay. The LED indicators will move to the top with increasing audio delay level. | |||
| AV Delay | |||||
| Reset Audio or Reset All |
All LEDs will flash 3 times when settings are reset. | SETUP > Reset Audio or Reset All > Use the Next/Previous buttons to reset either Audio or All settings. Press the OK button to select.
Audio – Only audio settings, such as bass and treble levels, will be reset. All – All paired Bluetooth devices will be unpaired and all settings will be lost. All programmed IR remotes will also be removed. See the Factory Reset on page 17 for more information. | |||
| Reset All | |||||
| Speaker Test | — | SETUP > Spkr Test > OK to activate the speaker test function. A voice will begin calling out each speaker beginning with left (Left, Right, and subwoofer-white noise). If any of these are missing, check the connection and run the speaker test function again. | |||
| Spkr Test | |||||
| VIZIO Remote | ←Remote On→ | SETUP > VZtvRmt > Use the Next/Previous buttons to enable/disable VIZIO TV Remotes. When enabled (On), you can use a VIZIO TV remote control to turn on the sound bar (using the TV Volume Up button) and control volume. | |||
| VZtvRmt | Remote Off | ||||
| DTS TruVolume | ←TruVolume On | EFFECT > TruVol > Use the Next/Previous buttons to enable/disable TruVolume. When enabled (On), TruVolume provides a consistent and comfortable volume level for a more enjoyable listening experience. Note: The default setting is Off. | |||
| TruVolume Off→ | |||||
| TruVol | |||||
| Function | LED Behavior | Description | ||
| DTS Virtual:X | ←Virtual:X On | EFFECT > VRT:X > Use the Next/Previous buttons to enable/disable Virtual:X. When enabled (On), all inputs will produce a virtual sound technology that simulates the effect of having overhead sound. When disabled (Off), all sources will playback without virtualization. | ||
| VRT :X | Virtual:X Off→ | |||
| Night Mode | ←Night Mode On | EFFECT > Night > Use the Next/Previous buttons to enable/disable Night Mode. When enabled (On), the sound bar will lower bass frequency levels to provide a quieter environment (ideal for apartment living and homes with sleeping children). Note: Night mode will be set to Off after a power cycle. | ||
| Night | Night Mode Off→ | |||
| Dolby Audio, Dolby Atmos, or DTS audio format is detected. | Dolby Atmos: Green Dolby Audio: White DTS Audio: Amber | Dolby Audio and DTS are available on the HDMI eARC, HDMI In, and Digital Optical inputs. Dolby Atmos is available on HDMI eARC and HDMI In when connected to supported devices and streaming services.
When a Dolby or DTS signal is detected, the bottom indicator LED will light up for 5 seconds before fading away. | ||
Using Button Combinations
There are other functions that are triggered by different button combinations on the sound bar.
| Function | LED Behavior | Description | ||
|
Factory Reset |
All LEDs will flash 3 times |
Reset the sound bar to the factory default settings. To perform a Factory Reset, Press and Hold the Bluetooth and Volume Down (—) buttons for 5 seconds.
Note: This will erase all settings and preferences that you have set. | ||
|
VIZIO TV Remote Control | ←Enable VIZIO TV remote |
Enable/disable the use of a VIZIO TV remote control to power on and adjust the volume of the sound bar. To enable/disable this function, Press and Hold the Power and Volume Up ( + ) buttons for 5 seconds. | ||
| Disable VIZIO TV remote→ | ||||
|
Eco Power Mode | ←Enable Eco Power |
| When the Eco Power mode setting is enabled, the sound bar will automatically power down after a period of inactivity. When disabled, the sound bar will remain powered on until you turn it off. To enable/disable this function, Press and Hold the Power and Volume Down (—) buttons for 5 seconds.
Note: The Eco Power Mode setting is OFF by default. | |
| Disable Eco Power→ | ||||
Programming the Sound Bar
You can program your sound bar to accept TV remote IR commands.
- Press the SETUP button on the remote, then use the Up/Down buttons to navigate to Prg Remote.
- Use the Next/Previous buttons to toggle through Learn Vol -, Learn Vol +, and Learn Mute.
Function LED Behavior Description Learn Volume Down
Waiting to learn: Flash from bottom to top and back continuously.
Press the OK button to put the sound bar into learning mode. While the sound bar is in learning mode, press the Volume Down button on the TV remote control.
Learn Vol- Learn Volume Up
Press the OK button to put the sound bar into learning mode. While the sound bar is in learning mode, press the Volume Up button on the TV remote control.
Learning confirmed: All of the LEDs will blink twice.
Learn Vol+ Learn Mute
Press the OK button to put the sound bar into learning mode. While the sound bar is in learning mode, press the Mute button on the TV remote control.
Learn Mute
Bluetooth Pairing
To pair the sound bar with a Bluetooth device:
- Press and hold the Bluetooth button on the sound bar or remote control for five (5) seconds.
- Search for the sound bar (VIZIO M215a) using your Bluetooth device. For more information, refer to the user documentation that came with the device.
- Now you can play audio from your Bluetooth device. Volume can be controlled on both your source device and the sound bar.

Using Bluetooth Mode
- Your sound bar supports music streaming from devices with Bluetooth capability. (Device compatibility will vary; see your device’s documentation for more information.)
- Once you have paired your source device to the sound bar, your device should remain paired (within range).
- If the source is changed back to Bluetooth, any paired Bluetooth device will reconnect automatically.
- If the input is changed, the Bluetooth device will disconnect.
Maximizing Signal
A Bluetooth signal has a range of up to 30 feet. Keep in mind that Bluetooth is a compressed audio format, so streamed music may lose some integrity when compared to a wired connection. Try the following. if your sound quality is less than optimal:
- If you hear any break-up or disconnect while streaming music from your device, move the source device closer to the sound bar.
- Be sure that there are no solid obstructions in the line-of-sight between the sound bar and the source device.
- Other wireless devices can affect Bluetooth range, including wireless security cameras, wireless video baby monitors, cordless phones, and microwave ovens. Turning off or moving these devices may improve Bluetooth range.
Connecting to a Voice Assistant
Your sound bar can connect to a Voice Assistant (VA) device through an AUX VA or Bluetooth connection. Once connected, your sound bar will now act as the VA speaker. Features and Benefits:
- Voice Assistant Dedicated Input: VA can be active on the sound bar even if the sound bar is set to a different input with audio playing.
- Auto Muting: If playing audio from the sound bar, the VA will play over the source audio for 10 seconds. If continued after the 10 seconds, the VA audio will mute the source audio. Once the VA audio is stopped, the source audio will resume.
Setup Tips:
- If the VA audio is too low, adjust the volume from the VA device.
- If the start of the response from the VA is cut off, enable “Start of Request” from your VA app settings.
- To disable the VA function, use the display remote to turn the Auto VA feature to OFF. Refer to Auto VA on page 14 for more information.
Connecting to a Voice Assistant
Turn on the AUTO VA Settings:
- Press the Setup button and use the up/down buttons to go to the AUTO VA setting.
- Use the left/right buttons to change the setting to AUX/BT or BOTH (depending on how you connect).
Using the AUX VA Port to Connect
(If there is no AUX port on the VA device, use a Bluetooth connection instead.)
- Use a 3.5mm audio cable to connect the AUX VA port on the sound bar to an AUX port on your voice assistant device.

For more manuals by VIZIO, visit ManualsLibraryy
VIZIO M-Series M215a-J6 Sound Bar-FAQs
How do I access the settings on my VIZIO sound bar?
Press the Menu button on the remote, then use the Up/Down arrows to scroll through sound bar settings. Changes will be shown on the remote’s display, and the LED indicators will adjust based on your selections.
How can I stop my sound bar from turning off automatically?
To disable Eco Power mode (which shuts off the sound bar after inactivity), press and hold the Power and Volume Down buttons for 5 seconds.
How do I change the sound mode or equalizer?
Press the EQ button to switch between sound presets like Movie, Music, Dialogue, and Game. For bass or treble, press the BASS or TREB button, then use Next/Previous to adjust levels.
Can I use the sound bar without HDMI ARC?
HDMI ARC is recommended, but the sound bar can still work with optical or AUX connections if your TV doesn’t support ARC.
What does the “Height” setting do on the sound bar?
The Height setting controls the soundbar’s 3D audio effects. Choose from On, Off, or Virtual to simulate overhead sound using the front speakers.
How do I find my VIZIO TV’s IP address?
Press Menu on your remote, go to System > System Information, and scroll to find your IP address.
Can I control the sound bar with my smartphone?
Yes, use the VIZIO mobile app to control your 2024 sound bar models wirelessly.
What is Auto VA on my VIZIO sound bar?
Auto VA (Voice Assistant) lets you connect voice assistants via Bluetooth, AUX, both, or turn it off completely.

*Not all TVs have the audio outputs shown. To connect the sound bar directly to your other devices (Blu-ray player, game system, etc.), see your 








